DWL-3200AP - Punto de acceso inalámbrico D-LINK - Manual de uso y guía de instrucciones gratis

Encuentra gratis el manual del aparato DWL-3200AP D-LINK en formato PDF.

📄 37 páginas Español ES 💬 Pregunta IA 8 preguntas ⚙️ Especif.
Notice D-LINK DWL-3200AP - page 19
Ver el manual : Français FR English EN Español ES Português PT
Tipo de producto Punto de acceso inalámbrico
Normas Wi-Fi 802.11g, 802.11b, 802.11a
Velocidad máxima 54 Mbps (802.11g), 108 Mbps (802.11a)
Frecuencia 2.4 GHz y 5 GHz
Puertos Ethernet 4 puertos 10/100 Mbps
Alimentación eléctrica 12 V DC, 1 A
Dimensiones aproximadas 22.5 x 22.5 x 4.5 cm
Peso 1.2 kg
Funciones principales Punto de acceso, puente, repetidor
Seguridad WEP, WPA, WPA2
Mantenimiento y limpieza Limpiar con un paño suave, evitar productos químicos
Piezas de repuesto y reparabilidad Disponibilidad variable, consultar al fabricante para las piezas
Compatibilidades Compatible con la mayoría de los enrutadores y dispositivos Wi-Fi
Garantía 2 años

Preguntas frecuentes - DWL-3200AP D-LINK

¿Cómo restablecer el D-LINK DWL-3200AP a la configuración de fábrica?
Para restablecer el D-LINK DWL-3200AP, presione el botón de reinicio ubicado en la parte posterior del dispositivo durante aproximadamente 10 segundos hasta que la luz de alimentación parpadee.
¿Por qué mi D-LINK DWL-3200AP no se conecta a mi red?
Verifique que el D-LINK DWL-3200AP esté configurado con los parámetros de red correctos, incluyendo el SSID y la clave de seguridad. Asegúrese también de que el dispositivo esté dentro del alcance del enrutador.
¿Cómo configurar el D-LINK DWL-3200AP en modo punto de acceso?
Acceda a la interfaz de gestión web del D-LINK DWL-3200AP a través de un navegador, inicie sesión, luego seleccione 'Modo de operación' y elija 'Punto de acceso'. Configure los parámetros según sus necesidades.
¿Mi D-LINK DWL-3200AP se está sobrecalentando?
Asegúrese de que el dispositivo esté bien ventilado y no esté colocado en un espacio confinado. Si el dispositivo se calienta demasiado, apágalo y déjalo enfriar antes de volver a encenderlo.
¿Cómo actualizar el firmware del D-LINK DWL-3200AP?
Descargue la última versión del firmware desde el sitio de D-LINK. Inicie sesión en la interfaz de gestión web del dispositivo, vaya a 'Administración', luego 'Actualización de firmware' y siga las instrucciones.
¿Por qué la conexión inalámbrica es inestable?
Verifique si hay interferencias de otros dispositivos electrónicos o redes inalámbricas vecinas que afecten la conexión. Cambie el canal inalámbrico en la configuración del dispositivo para mejorar la estabilidad.
¿Cómo configurar el D-LINK DWL-3200AP para una red de invitados?
En la interfaz de gestión, vaya a 'Red inalámbrica', active la 'Red de invitados' y defina los parámetros de seguridad y acceso que desea aplicar.
¿Qué hacer si no puedo acceder a la interfaz de gestión web?
Verifique que su computadora esté conectada a la misma red que el D-LINK DWL-3200AP. Intente usar la dirección IP predeterminada (generalmente 192.168.0.1) en su navegador.

Preguntas de los usuarios sobre DWL-3200AP D-LINK

0 pregunta sobre este aparato. Responde a las que conoces o haz la tuya.

Hacer una nueva pregunta sobre este aparato

L'email reste privé : il sert seulement à vous prévenir si quelqu'un répond à votre question.

Aún no hay preguntas. Sé el primero en hacer una.

Descarga las instrucciones para tu Punto de acceso inalámbrico en formato PDF gratis! Encuentra tus instrucciones DWL-3200AP - D-LINK y toma tu dispositivo electrónico nuevamente en la mano. En esta página están publicados todos los documentos necesarios para el uso de su dispositivo. DWL-3200AP de la marca D-LINK.

MANUAL DE USUARIO DWL-3200AP D-LINK

Punto de acceso inalámbrico gestionable

Requisitos del sistema:

Requisitos-minimos delsystema:

  • Unidad de CD-ROM.
  • Ordenadores con sistemas operativos Windows, Macintosh o basados en Linux.
  • Adaptador Ethernet instalado Internet Explorer version 6.0 o Netscape Navigator version 7.0 y superiores.

Containido del paquete

D-LINK DWL-3200AP - Containido del paquete - 1

D-LINK DWL-3200AP - Containido del paquete - 2

D-LINK DWL-3200AP - Containido del paquete - 3

D-LINK DWL-3200AP - Containido del paquete - 4

D-LINK DWL-3200AP - Containido del paquete - 5

D-LINK DWL-3200AP - Containido del paquete - 6

D-LINK DWL-3200AP - Containido del paquete - 7

Punto de acceso inalámbrico gestionable D-Link AirPremier™ DWL-3260AP
Unidad base Power over Ethernet.
Adaptador de alimentación DC 48 V, 0,4 A
Cable de alimentación
Manual y garantía en el CD-ROM.
Guía de instalación<rápida.
Cable Ethernet.
Placa de montaje

Note: El uso de una fuente de alimentación condistincto voltaje a la incluida con el DWL-3260APuede serperjudicial yanular la garantíade este producto.

Si falta algo nuo de这些东西 componentes, contacte con su proveedor.

Instalación del hardware

D-LINK DWL-3200AP - Instalación del hardware - 1

D-LINK DWL-3200AP - Instalación del hardware - 2

D-LINK DWL-3200AP - Instalación del hardware - 3

Aviso: DWL-3260AP dispone de una antenna integrada; si necesita usar una antenna externa,onga el botón en Ext. y conecte la antenna.

Conexión de los cables de alimentación y Ethernet

El punto de acceso recibe la alimentacion a trovés del cable Ethernet o de un adaptorado de alimentacion externo. Además, este producto está pensado sólo para instalarlo en enternos A, como define IEEE 802.3af, Power over Ethernet (PoE).

D-LINK DWL-3200AP - Conexión de los cables de alimentación y Ethernet - 1

Oportunidades de alimentacion del punto de acceso:

Oportun 1: Conectarlo a un conmutador inalámbrico D-Link u otro conmutador acorde con 802.3af PoE.

Oportun 2: Usar launidad base PoE para conectarlo a un conmutador que carezca de你能 capacitacion PoE.

Opinion 3: Conectarlo a una toma electrica por medio del adaptordo de alimentacion incluido con el producto.

Note: Este producto y todos los equipos interconectados han de instalarse en interiores, incluidas todas las conexiones LAN asociadas.

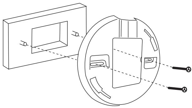
InstalaciónFsica del punto de acceso: (optional)

D-LINK DWL-3200AP - InstalaciónFsica del punto de acceso: (optional) - 1

Instalación en caja de conexiones:

1.Fije el ángulo a la caja de conexiones.
2.Fije el DWL-3260AP al angulo de montaje.

D-LINK DWL-3200AP - Instalación en caja de conexiones: - 1

Instalación en paredo techo:

1.Monte el ángulo en la posición adecuada sobre la pared o el techo.
2.Fije el punto de acceso al ángulo de montaje de la pared o del techo.

Asistencia Técnica

D-Link Latin América pone a disposicion de sus clientes, specifications, documentation y software mas reciente atramés de是我国 Sitio Web www.dlinkla.com

El servicios de soporte技术和icnicoiene presencia ennumeros paiges de la
Region Latino Americ, y presta asistencia gratuite a todos los clientes de D-Link, en forma Telefonica e internet, a trovés de la casilla soporte@dlinkla.com

Soporte Tecnico Help Desk Argentina:

Telfono: 0-800 122 35 465 Lunes a Viernes 09:00 am a 22:00 pm

Soporte Técnico Help Desk Chile:

Teléfono: 800 8 35465 Lunes a Viernes 08:00 am a 21:00 pm

Soporte Técnico Help Desk Colombia:

Telfono: 01-800 952 54 65 Lunes a Viernes 07:00 am a 20:00 pm

Soporte Técnico Help Desk Ecuador:

Teléfono: 1800-035465 Lunes a Viernes 07:00 am a 20:00 pm

Soporte Técnico Help Desk El Salvador:

Telfono: 800-6137 Lunes a Viernes 06:00 am a 19:00 pm

Sopporté Técnico Help Desk Guatemala:

Teléfono: 1800-300 0017 Lunes a Viernes 06:00 am a 19:00 pm

Soporte Técnico Help Desk Panamá:

Telfono: 00-800 052 54 65 Lunes a Viernes 07:00 am a 20:00 pm

Soporte Técnico Help Desk Perú:

Teléfono: 0800-00 968 Lunes a Viernes 07:00 am a 20:00 pm

Soporte Técnico Help Desk Venezuela:

Telfono: 0-800-100 5767 Lunes a Viernes 08:00 am a 21:00 pm

D-LINK DWL-3200AP - Asistencia Técnica - 1

Asistente de manual
Powered by Anthropic
Esperando tu mensaje
Información del producto

Marca : D-LINK

Modelo : DWL-3200AP

Categoría : Punto de acceso inalámbrico