48228541 - Storage box MILWAUKEE - Free user manual and instructions
Find the device manual for free 48228541 MILWAUKEE in PDF.
User questions about 48228541 MILWAUKEE
0 question about this device. Answer the ones you know or ask your own.
Ask a new question about this device
Download the instructions for your Storage box in PDF format for free! Find your manual 48228541 - MILWAUKEE and take your electronic device back in hand. On this page are published all the documents necessary for the use of your device. 48228541 by MILWAUKEE.
USER MANUAL 48228541 MILWAUKEE
Cat. No. / No de cat.
48-22-8541, 48-22-8542
46" HIGH CAPACITY STEEL STORAGE CHEST &
46" HIGH CAPACITY STEEL STORAGE CABINET
COFFRE DE RANGEMENT EN ACIER GRANDE CAPACITÉ DE 1,16 m (46") ET CABINET DE RANGEMENT EN ACIER GRANDE CAPACITÉ DE 1,16 m (46")
CAJA DE ALMACENAMIENTO DE ACERO DE GRAN CAPACIDAD DE 1,16 m (46") Y GABINETE DE ALMACENAMIENTO DE ACERO DE GRAN CAPACIDAD DE 1,16 m (46")
IMPORTANT SAFETYINSRUCIONS
AWARNING READ ALL SAFETY WARNINGS AND ALL INSTRUCTIONS. Failure
to follow the warnings and instructions may result in serious injury. Save all warnings and instructions for future reference.
WORK AREA SAFETY
- Use the chest/cabinet and accessories in accordance with these instructions and in the manner intended, taking into account the working conditions. Use of the chest/cabinet for operations different from those intended could result in a hazardous situation.
- Keep work area clean and well lit. Cluttered or dark areas invite accidents.
- Fully assemble the chest/cabinet according to the assembly instructions. Do not leave off any pieces.
- Chest must be fastened by screws through connectors after it has been placed on top of cabinet.
- Do not modify the chest/cabinet in any way. Use only specifically recommended accessories. Drilling holes or modifying the chest/cabinet will lower the load capacity, which can cause the chest/cabinet to collapse, resulting in injury.
- Lock wheels when chest/cabinet is not being moved. Unlocked wheels can allow the chest/cabinet to move unexpectedly.
- Keep the chest/cabinet on a level surface. Do not load, unload, or park chest/cabinet on an incline. The chest/cabinet may become unbalanced and tip, resulting in injury.
- Always balance the chest/cabinet load to avoid tipping. Unbalanced chests/cabinets are more likely to tip when being moved or when using the chest/ cabinet work surfaces. Evenly distribute the weight front to back and side to side. Place more than half the total load weight on the bottom cabinet when possible. To help prevent the chest/cabinet from tipping, load the product starting with the bottom drawers.
- Do not exceed the maximum product weight, including contents. Do not exceed the maximum weight for each drawer. Overloaded chests/cabinets can tip, collapse, or damage drawer slides.
- Do not open more than one drawer at a time. Chest/cabinet may tip, causing injury.
- Keep children and bystanders away while loading, unloading, and moving chest/cabinet. Distractions can cause you to lose control.
-Only lift the chest/cabinet according to the instructions in this manual. Never lift by the side handle. Other methods may be dangerous, resulting in injury. - Only transport the chest/cabinet when empty Properly secure when transporting.
- Do not mount the chest/cabinet on a truck bed or any other moving object.
- Lock both the lid and all drawers before rolling the chest/cabinet. The drawers could come open and make the chest/cabinet unstable and tip.
- Only roll the chest/cabinet short distances by using the handle provided.
- Secure all items before rolling the chest/cabinet. Loose items could shift, causing the chest/cabinet to become unstable.
- Do not use drawers as steps. Do not stand on the chest/cabinet. Chest/cabinet will tip, causing injury.
-
Be careful when closing the chest top cover. Remove hands before closing the top cover.
-
Do not use chest/cabinet in explosive atmospheres, such as in the presence of flammable liquids, gases or dust. This equipment has internal arcing or sparking parts. Chest/cabinet should not be located in a recessed area or below floor level.
- Chest/cabinet plugs must match the outlet. Never modify the plug in any way. Do not use any adapter plugs with earth (grounded) chest/ cabinet power strips. Unmodified plugs and matching outlets will reduce risk of electric shock.
- Avoid body contact with earthed or grounded surfaces such as pipes, radiators, ranges and refrigerators. There is an increased risk of electric shock if your body is earthed or grounded.
- Maintain chest/cabinet. Check for misalignment or binding wheels, breakage or bending of drawer slides or other parts and any other condition that may affect the chest/cabinet's operation. Do not use damaged chest/cabinet.
Always use common sense and be cautious when using tools. It is not possible to anticipate every situation that could result in a dangerous outcome. Do not use this tool if you do not understand these operating instructions or you feel the work is beyond your capability; contact Milwaukee Tool or a trained professional for additional information or training. - Maintain labels and nameplates. These carry important information. If unreadable or missing, contact a MILWAUKEE service facility for a free replacement.
- Have your chest/cabinet serviced by a qualified repair person using only identical replacement parts. Visit a local authorized service center for repairs. Components, such as the power strip, are not user replaceable. This will ensure that the safety of the chest/cabinet is maintained.
Federal Communications Commission
WARNING: Changes or modifications to this unit not expressly approved by the party responsible for compliance could void the user's authority to operate the equipment.
This device complies with Part 15 of the FCC Rules. Operation is subject to the following two conditions: (1) this device may not cause harmful interference, and (2) this device must accept any interference received, including interference that may cause undesired operation.
NOTE: This equipment has been tested and found to comply with the limits for a Class B digital device, pursuant to Part 15 of the FCC Rules. These limits are designed to provide reasonable protection against harmful interference in a residential installation. This equipment generates, uses and can radiate radio frequency energy and, if not installed and used in accordance with the instructions, may cause harmful interference to radio communications. However, there is no guarantee that interference will not occur in a particular installation. If this equipment does cause harmful interference to radio or television reception, which can be determined by turning the equipment off and on, the user is encouraged to try to correct the interference by one or more of the following measures:
- Reorient or relocate the receiving antenna.
- Increase the separation between the equipment and receiver.
- Connect the equipment into an outlet on a circuit different from that to which the receiver is connected.
- Consult the dealer or an experienced radio/TV technician for help.
GROUNDING
WARNING Improperly connecting the grounding wire can result in the risk of electric shock. Check with a qualified electrician if you are in doubt as to whether the outlet is properly grounded. Do not modify the plug provided with the chest/cabinet. Never remove the grounding prong from the plug. Do not use the chest/cabinet if the cord or plug is damaged. If damaged, have it repaired before use. If the plug will not fit the outlet, have a proper outlet installed by a qualified electrician.
Chests/Cabinets with Three Prong Plugs Chests/cabinets marked "Grounding Required have a power strip with a three wire cord and three prong grounding plug. The plug must be connected to a properly grounded outlet (See Figure A). If the power strip should electrically malfunction or break down, grounding provides a low resistance path to carry electricity away from the user, reducing the risk of electric shock.
The grounding prong in the plug is connected through the green wire inside the cord to the grounding system in the power strip. The green wire in the cord must be the only wire connected to the power strip's grounding system and must never be attached to an electrically "live" terminal.
Your power strip must be plugged into an appropriate outlet, properly installed and grounded in accordance with all codes and ordinances. The plug and outlet should look like those Fig.A in Figure A.

SYMBOLOGY




not open more than one drawer at a Chest/cabinet may tip, causing injury.

careful when closing the chest top er. Remove hands before closing cover.
Chest must be fastened by screws through connectors after it has been placed on top of cabinet.
Lock wheels when chest/cabinet is not
being moved. Unlocked wheels can allow the chest/cabinet to move unexpectedly.

not use drawers as steps. Chest/ met may tip, causing injury.

Lock both the lid and all drawers before using the chest/cabinet.
SPECIFICATIONS
Cat. No. 48-22-8541, 48-22-8542*
Two-slide drawer capacity. 100 lbs. (45.4 kg)
Four-slide drawer capacity 200 lbs. (90.7 kg)
Total capacity. 2500 lbs. (1134 kg)
AC input volts 120
Hertz 60
Watts 1875
Recommended Ambient Operating
Temperature .0°F to 104°F (-18°C to 40°C)
- Items may be sold separately.
FUNCTIONAL DESCRIPTION

- Top chest
- Utility hook
- Chest mat
- Tool hanger
- Rolling cabinet
- Bottle opener
- Cabinet corner extrusion
- Key
- Front bumper
10.Rigid caster - Tool organizer
- Drawer slide
-
Swivel caster with brake
14.Shelf hinge bracket
15.Storage shelf
16.Rear bumper -
Charger mounts
18.Power strip (14 AWG, 1.8 m)
19.Cord storage bracket
20.Side handle
21.Grommet
22.Bracket
23.Paper towel holder bracket
24.Paper towel holder rod
25.Chest corner extrusion - Gas lift strut
ASSEMBLY
CAUTION
Be sure to follow the assembly instructions for the appropriate
chest/cabinet. Do not use power tools to assemble chest/cabinet. Tighten bolts with hand wrenches.
Tools Required (Not Included)





Phillips screwdriver
Safety goggles
10 mm Wrench
13 mm Wrench
Hardware Included
NOTE: Items not shown in actual size. Hardware lengths are approximate.
| Hardware Item Description Quantity | ||
| AA | Bolt M6 x 16L 10 | |
| BB | Steel washer 16 | |
| CC | Bolt M8 x 12L 16 | |
| DD | Screw M4 x 12L 20 | |
| EE | Screw M6 x 12L 8 | |
| FF | Screw M4 x 16L 20 | |
| GG | Nut M6 2 | |
| HH | Shoulder bolt M6 x 8L 2 | |
| II | Nylon washer 2 | |
| JJ | Screw M6 x 16L 2 | |
| Item | Description | Quantity |
| Side handle | 1 | |
| Tool hanger | 1 | |
| 6" Swivel caster with brake | 2 | |
| 6" Rigid caster | 2 | |
| Bracket | 2 | |
| Shelf hinge bracket 2 | ||
| Front bumper 8 | ||
| Rear bumper 2 | ||
| Chest corner extrusion 2 | ||
| Cabinet corner extrusion 2 | ||
| Cord storage bracket 4 | ||
| Utility hook 2 | ||
| Paper towel holder bracket | 2 | |
| Paper towel holder rod 1 | ||
| Bottle opener 1 |
NOTE: Begin product assembly close to the final intended location of your chest/cabinet. This product is heavy and may be difficult to move after assembly.
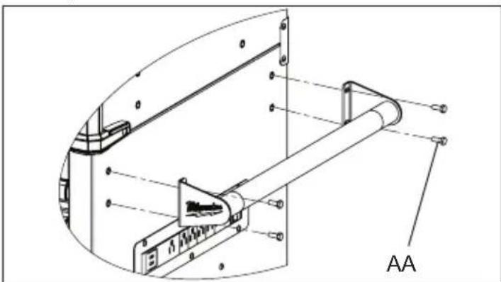
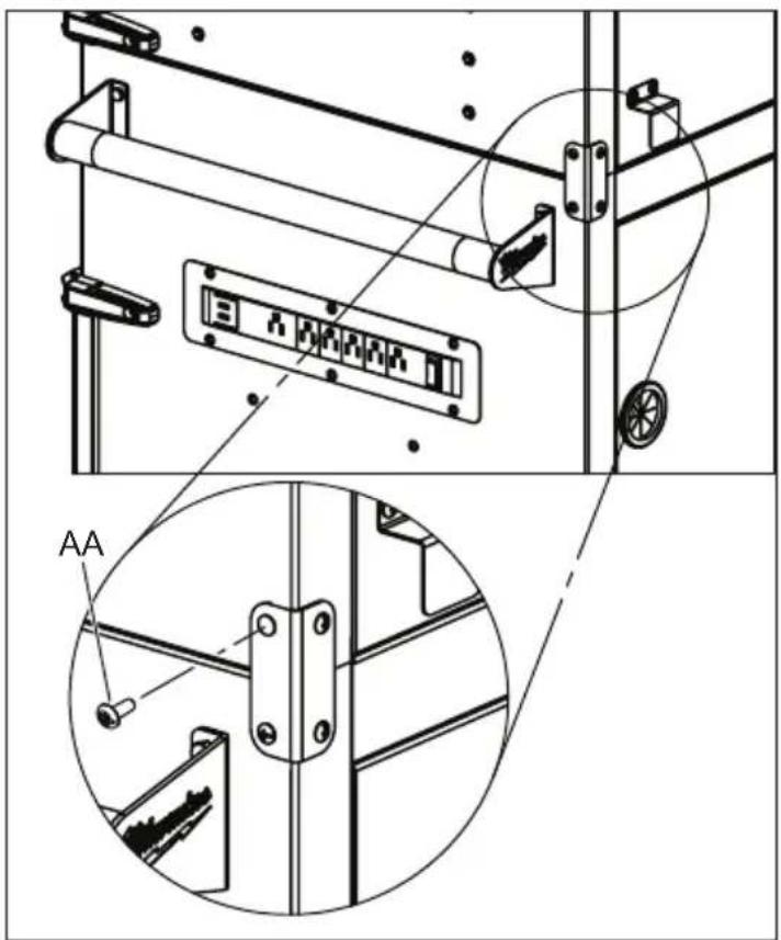
Attaching the Side Handle
Attach the side handle to the rolling cabinet using four bolts (AA). The side handle can be attached to either side of the rolling cabinet, but must match the end where the swivel casters are installed.
NOTE: The holes in the cabinet are tapped and do not require nuts.

Installing the Casters
CAUTION
Two people may be required to complete installation.
Do not overtighten the screws.
- Ensure all cabinet drawers are securely locked into place using the key lock on the rolling cabinet.
- Lay the rolling cabinet on its back. Use the packaging material to protect the finish.
-
Mount the two swivel casters with brake to the rolling cabinet using four bolts (CC) and washers (BB) per caster. The swivel casters with brake must be installed on the end of the cabinet with the side handle.
-
Mount the two rigid casters to the opposite end of the rolling cabinet using four bolts (CC) washers (BB) per caster.
- Tighten all bolts securely with a wrench.
- Return the rolling cabinet to its upright position.

NOTE: The casters may come preinstalled. To switch caster placement, follow steps 1-2 before removing casters. Remove casters, retain hardware, and then complete steps 3-6.
Installing the Chest onto the Cabinet
CAUTION Two people may be required to complete installation.
- Place the top chest on top of the rolling cabinet.
NOTE: The holes in the cabinet are tapped and do not require nuts. - Attach the two brackets to the back of the product to secure the top chest to the rolling cabinet. Place the brackets over the holes and secure with four screws (DD) per bracket.
- Tighten all screws securely with a Phillips screwdriver.

Installing the Printer Liners and Mat
Place the drawer liners in appropriately sized drawers and the mat in the chest lid area to protect the surface.
Installing the Corner Extrusions and Bumpers
Place the front bumpers on both ends of the extrusion by sliding the extrusion into the cavity of the bumpers. Attach the front bumpers with extrusions using two screws (FF) per bumper. Attach the two rear bumpers to the back of the lower cabinet using two screws (FF) per bumper.

Installing the Cord Storage Brackets
Attach the brackets to the back of the chest and cabinet with two screws (DD) per bracket. Orient the brackets with one pointed up and one pointed down so that the power outlet cord can be wrapped around the brackets for storage.
Installing the Storage Shelf
Attach the shelf hinge brackets to the right cabinet using two bolts (AA) for each bracket. Attach the storage shelf to the brackets using one washer (II), nut (GG) and bolt (HH) on each end.

Installing the Tool Hanger
Attach the tool hanger to the left end of the chest using two bolts (AA).
Installing the Utility Hooks and Paper Towel Holder
Attach the utility hooks and paper towel holder to either end of the chest using two screws (EE) for each hook and bracket.
Installing the Bottle Opener
Attach the bottle opener to the left side of the cabinet using two screws (JJ).
Installing the Power Cord
Locate the power cord inside one of the right-hand drawers. Untie the power cord and gently pull the cord plug through the grommet.
OPERATION
WARNING To avoid injury or property damage, do not exceed maximum shelf capacity. Use care when moving chest/cabinet on incline or rough surface. Chest/cabinet may tip if weight is not evenly distributed front to back and side to side. Place more than half the total load weight on the bottom cabinet when possible.
Locking and Unlocking the Chest/Cabinet
NOTE: The drawers must be fully closed before locking/unlocking the unit.
Insert the key. Turn it fully left to lock, or fully right to unlock. Always remove the key after locking and unlocking.
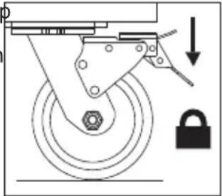
Using the Caster Brakes
To lock the swivel casters, step down on the levers marked ON. Be sure to lock both casters to prevent chest/ cabinet from rolling or swiveling. To unlock casters, push down on the levers marked OFF.

Moving the Chest/Cabinet on an Incline or Rough Surface
Take care that the chest/cabinet does not tip or become unbalanced when moving it on an incline or rough surface. Do not exceed an incline of 10 degrees. Lock the chest/cabinet and secure all items before moving.
Rolling the Chest/Cabinet
The chest/cabinet is only intended for rolling short distances. Only roll the chest/cabinet using the handle. Do not push or pull chest/cabinet by the frame or product may tip. Do not modify the chest/cabinet in any way. Drilling holes or modifying the chest/ cabinet will lower the load capacity, which can cause the chest/cabinet to collapse, resulting in injury. Lock the chest/cabinet and secure all items before rolling.
Lifting the Chest/Cabinet
The cabinet and chest/cabinet combo are not intended to be lifted. However, if you need to lift, empty the chest/cabinet and then place straps or forks inside and next to casters. Do not lift loaded chests/cabinets. Never lift by the side handle. Be sure all bystanders are moved away before lifting chest/cabinet.
Mounting Chargers
The rolling cabinet comes equipped with four preinstalled charger mounting bosses, located below the power strip. The charger mounts are suitable for holding MILWAUKEE M18™ & M12™ Multi Voltage chargers as well as M18™ chargers. To mount a charger, install a screw (DD) into each boss, then slide the charger's key-hole slots over the screws. Slide the charger toward the floor to lock it onto the screws.
Removing the Drawers
- Fully extend and empty the drawer.
- Depending on the side, either lift or lower the release lever on both sides so the slides can ride over the stops. Pull out to remove.

Installing the Drawers
- Pull the slides and slide carrier out until fully extended.
- Hold the slide on the cabinet while aligning it with the slide on the drawer.
- Slightly insert one side and repeat for the other side.
- Slowly push the drawer until it is fully closed to engage the slide.
- Open and close the drawer to verify proper operation.
MAINTENANCE
WARNING To reduce the risk of injury, contact MILWAUKEE Corporate After Sales
Service Technical Support for ALL repairs and replacement parts.
Maintaining the Chest/Cabinet
Keep your chest/cabinet in good repair by adopting a regular maintenance program. Before use, examine the general condition of your chest/cabinet. Check for loose screws, misalignment, binding of wheels, broken parts and any other condition that may affect its safe operation. Do not use a damaged chest/cabinet.
Maintaining the Casters
Grease the casters annually using high quality bearing grease.

Maintaining the Drawers
- Periodically clean the drawers with a mild detergent and water.
- Remove grease and oil in drawer with a standard, nonflammable cleaning fluid.
- The use of drawer liners is recommended to protect the finish inside the drawers and make the drawers easier to clean. Drawer liners can be cleaned with soap and water.
- Lubricate the slides semi-annually with general purpose grease or equivalent.

Cleaning
This steel product has been coated with industrial powder coating for a durable finish. To help protect the powder coated finish, do not allow harsh chemicals (oil, grease or other chemical) to remain on the powder coating surface. Use a glass cleaner to clean and maintain all surfaces of powder coating. Keep the chest/cabinet handles and wheels clean, dry and free of oil or grease. Use only mild soap and a damp cloth to clean your chest/cabinet since certain cleaning agents and solvents are harmful to plastics. Some of these include: gasoline turpentine, lacquer thinner, chlorinated cleaning solvents, ammonia and household detergents containing ammonia. Never use flammable or combustible solvents around chests/cabinets.
Service
For service and repair information, including the ordering of service parts, call our Corporate After Sales Service Technical Support line at 1-800-SAWDUST, or visit our website at www.milwaukeeetool.com.
ACCESSIONS
WARNING
Modifying the chest/cabinet to accept other accessories may be
hazardous, resulting in injury or property damage. Use only specifically recommended accessories according to the manufacturer's instructions.
For a complete listing of accessories, go online to www.milwaukeetool.com or contact a distributor.
SERVICE - UNITED STATES
1-800-SAWDUST (1.800.729.3878)
Monday-Friday, 7:00 AM - 6:30 PM CST
or visit www.milwaukeetool.com
^p Contact Corporate After Sales Service Technical Support with technical, service/repair, or warranty questions.
Email: metproductsupport@milwaukeetool.com
Become a Heavy Duty Club Member at www.milwaukeetool.com to receive important notifications regarding your tool purchases.
SERVICE - CANADA
Milwaukee Tool (Canada) Ltd
1.800.268.4015
Monday-Friday, 7:00 AM - 4:30 PM CST
or visit www.milwaukeetool.ca
LIMITED WARRANTY USA & CANADA
Every MILWAUKEE steel storage chest and cabinet are warranted to the original purchaser only to be free from defects in material and workmanship. Subject to certain exceptions, MILWAUKEE will repair or replace any part on a chest or cabinet which, after examination, is determined by MILWAUKEE to be defective in material or workmanship for a period of three (3) years after the date of purchase. Return of the chest or cabinet to the place of purchase is required. A copy of the proof of purchase should be included with the return product. This warranty does not apply to damage that MILWAUKEE determines to be from repairs made or attempted by anyone other than MILWAUKEE authorized personnel, misuse, alterations, abuse, normal wear and tear, lack of maintenance, or accidents.
Warranty Registration is not necessary to obtain the applicable warranty on a MILWAUKEE steel storage chest or cabinet. The manufacturing date of the product will be used to determine the warranty period if no proof of purchase is provided at the time warranty service is requested. If you feel your product has a warranty defect, or if you need information on a service/replacement part, please contact MILWAUKEE at 1.800. SAWDUST for instructions.
ACCEPTANCE OF THE EXCLUSIVE REPAIR AND REPLACEMENT REMEDIES DESCRIBED HEREIN IS A CONDITION OF THE CONTRACT FOR THE PURCHASE OF EVERY MILWAUKEE PRODUCT. IF YOU DO NOT AGREE TO THIS CONDITION, YOU SHOULD NOT PURCHASE THE PRODUCT. IN NO EVENT SHALL MILWAUKEE BE LIABLE FOR ANY INCIDENTAL, SPECIAL, CONSEQUENTIAL OR PUNITIVE DAMAGES, OR FOR ANY COSTS, ATTORNEY FEES, EXPENSES, LOSSES OR DELAYS ALGEGED TO BE AS A CONSEQUENCE OF ANY DAMAGE TO, FAILURE OF, OR DEFECT IN ANY PRODUCT INCLUDING, BUT NOT LIMITED TO, ANY CLAIMS FOR LOSS OF PROFITS. SOME STATES DO NOT ALLOW THE EXCLUSION OR LIMITATION OF INCIDENTAL OR CONSEQUENTIAL DAMAGES, SO THE ABOVE LIMITATION OR EXCLUSION MAY NOT APPLY TO YOU. THIS WARRANTY IS EXCLUSIVE AND IN LIEU OF ALL OTHER EXPRESS WARRANTYORIES, WRITTEN OR ORAL. TO THE EXTENT PERMITTED BY LAW, MILWAUKEE DISCLAIMS ANY IMPLIED WARRANTYIES, INCLUDING WITHOUT LIMITATION ANY IMPLIED WARRANTY OF MERCHANTABILITY OR FITNESS FOR A PARTICULAR USE OR PURPOSE; TO THE EXTENT SUCH WARRANTYER IS NOT PERMITTED BY LAW, SUCH IMPLIED WARRANTYES ARE LIMITED TO THE DURATION OF THE APPLICABLE EXPRESS WARRANTY AS DESCRIBED ABOVE. SOME STATES DO NOT ALLOW LIMITATIONS ON HOW LONG AN IMPLIED WARRANTY LASTS, SO THE ABOVE LIMITATION MAY NOT APPLY TO YOU, THIS WARRANTYY GIVES YOU SPECIFIC LEGAL RIGHTS, AND YOU MAY ALSO HAVE OTHER RIGHTS WHICH VARY FROM STATE TO STATE.
This warranty applies to product sold in the U.S.A. and Canada only. Please consult the 'Find a Service Center Search' in the Parts & Service section of MILWAUKEE's website www.milwaukeetool.com or call 1.800.SAWDUST (1.800.729.3878) to locate your nearest MILWAUKEE factory Service Center location.
INSTRUCTIONS IMPORTANTES CONCERNANT LA SECURITE
AVENTISSEMENT
LIRE TOUTES LES REGLES ET INSTRUC
Federal Communications Commission
Milwaukee Tool (Canada) Ltd 1.800.268.4015
Monday-Friday, 7:00 AM - 4:30 PM CST
www.milwaukeeetoole.ca
GARANTIE LIMITEE - AUX ETATS-UNIS ET AU CANADA
Federal Communications Commission
13135 West Lisbon Road
Brookfield, WI 53005 USA
58148646d3 Printed in China
EasyManual