HFF 1864XMN - Freezer HOOVER - Free user manual and instructions
Find the device manual for free HFF 1864XMN HOOVER in PDF.
User questions about HFF 1864XMN HOOVER
0 question about this device. Answer the ones you know or ask your own.
Ask a new question about this device
Download the instructions for your Freezer in PDF format for free! Find your manual HFF 1864XMN - HOOVER and take your electronic device back in hand. On this page are published all the documents necessary for the use of your device. HFF 1864XMN by HOOVER.
USER MANUAL HFF 1864XMN HOOVER
natural_image
Two vertical panels with checkmark and cross symbols, no text or labels presenttext_image
Technical diagram showing a mechanical component with labeled parts and an arrow indicating direction, alongside a magnified view of the component.text_image
Technical diagram showing a door lock mechanism with labeled components and directional arrows indicating movement or force.text_image
Technical diagram showing a mechanical assembly with labeled components and a magnified detail view.text_image
Diagram showing a circular structure with labeled points L and H, and an arrow indicating direction, alongside a separate rectangular object with a downward arrow.natural_image
3D mechanical assembly diagram showing a component before and after modification, with no visible text or symbols.natural_image
3D mechanical component before and after assembly, showing a bracket with mounting holes (no text or symbols)natural_image
3D rendering of a computer monitor with a close-up view showing internal components (no text or symbols)natural_image
3D rendering of a mechanical cabinet with two blue drawers, labeled 'Cerniera' at the bottom (no other text or symbols)natural_image
3D CAD model of a computer refrigerator with visible door, front panel, and internal compartments (no text or symbols)text_image
Diagram showing a computer rack with labeled components and red circles highlighting areas of interest, likely illustrating a system or storage setup.4. ISTRUZIONI PER L'USO
PANNELLO DI COMANDO

text_image
A Super FRZ. B ON/OFF -88°C 1 2 3 C DThank you for purchasing this product.
Before using your refrigerator, please carefully read this instruction manual in order to maximize its performance. Store all documentation for subsequent
use or for other owners. This product is intended solely for household use or similar applications such as:
- the kitchen area for personnel in shops, offices and other working environments
- on farms, by clientele of hotels, motels and other environments of a residential type
- at bed and breakfasts (B & B)
- for catering services and similar applications not for retail sale.
This appliance must be used only for purposes of storage of food, any other use is considered dangerous and the manufacturer will not be responsible for any omissions. Also, it is recommended that you take note of the warranty conditions. Please, to obtain the best possible performance and trouble free operation from your appliance it is very important to carefully read these instructions. Failure to observe these instructions may invalidate your right to free service during the guarantee period.
SAFETY INFORMATION
This guide contains many important safety information. Please, we suggest you keep these instructions in a safe place for easy reference and a good experience with the appliance.
The refrigerator contains a refrigerant gas (R600a: isobutane) and insulating gas (cyclopentane), with high compatibility with the environment, that are, however, inflammable.

Caution: risk of fire
If the refrigerant circuit should be damaged:
- Avoid opening flames and sources of ignition.
Thoroughly ventilate the room in which the appliance is situated.
WARNING!
- Care must be taken while cleaning/carrying the appliance to avoid touching the condenser metal wires at the back of the appliance, as you might injure your fingers and hands or damage your product.
- This appliance is not designed for stacking with any other appliance. Do not attempt to sit or stand on top of your appliance as it is not designed for such use. You could injure yourself or damage the appliance.
- Make sure that mains cable is not caught under the appliance during and after carrying/moving the appliance, to avoid the mains cable becoming cut or damaged.
- When positioning your appliance take care not to damage your flooring, pipes, wall coverings etc. Do not move the appliance by pulling by the lid or handle. Do not allow children to play with the appliance or tamper with the controls. Our company declines to accept any liability should the instructions not be followed.
- Do not install the appliance in humid, oily or dusty places, nor expose it to direct sunlight and to water.
- Do not install the appliance near heaters or inflammable materials.
-
If there is a power failure do not open the lid. Frozen food should not be affected if the failure lasts for less than 20 hours. If the failure is longer, then the food should be checked and eaten immediately or cooked and then refrozen.
-
If you find that the lid of the chest freezer is difficult to open just after you have closed it, don't worry. This is due to the pressure difference which will equalize and allow the lid to be opened normally after a few minutes.
- Do not connect the appliance to the electricity supply until all packing and transit protectors have been removed.
- Leave to stand for at least 4 hours before switching on to allow compressor oil to settle if transported horizontally.
- This freezer must only be used for its intended purpose (i.e. storing and freezing of edible foodstuff).
- Do not store medicine or research materials in the Wine Coolers. When the material that requires a strict control of storage temperatures is to be stored, it is possible that it will deteriorate or an uncontrolled reaction may occur that can cause risks.
- Before performing any operation, unplug the power cord from the power socket.
- On delivery, check to make sure that the product is not damaged and that all the parts and accessories are in perfect condition.
- If in the refrigeration system a leak is noted, do not touch the wall outlet and do not use open flames. Open the window and let air into the room. Then call a service center to ask for repair.
- Do not use extension cords or adapters.
- Do not excessively pull or fold the power cord or touch the plug with wet hands.
- Do not damage the plug and/or the power cord; this could cause electrical shocks or fires.
- If the supply cord is damaged, it must be replaced by the manufacturer, its service agent or similarly qualified person in order to avoid a hazard.
- Do not place or store inflammable and highly volatile materials such as ether, petrol, LPG, propane gas, aerosol spray cans, adhesives, pure alcohol, etc. These materials may cause an explosion.
- Do not use or store inflammable sprays, such as spray paint, near the Wine Coolers. It could cause an explosion or fire.
- Do not place objects and/or containers filled with water on the top of the appliance.
• We do not recommend the use of extension leads and multi-way adapters. - Do not dispose of the appliance on a fire. Take care not to damage, the cooling circuit/pipes of the appliance in transportation and in use. In case of damage do not expose the appliance to fire, potential ignition source and immediately ventilate the room where the appliance is situated.
- The refrigeration system positioned behind and inside the Wine Coolers contains refrigerant. Therefore, avoid damaging the tubes.
- Do not use electrical appliances inside the food storage compartments of the appliance, unless they are of the type recommended by the manufacturer.
-
Do not damage the refrigerant circuit.
-
Do not use mechanical devices or other means to accelerate the defrosting process, other than those recommended by the manufacturer.
- Do not use electrical appliances inside the food storage compartments, unless they are of the type recommended by the manufacturer.
- Do not touch internal cooling elements, especially with wet hands, to avoid cracks or injuries.
- Maintain the ventilation openings in the appliance enclosure or in the built-in structure, free of obstruction.
- Do not use pointed or sharp-edged objects such as knives or forks to remove the frost.
- Never use hairdryers, electrical heaters or other such electrical appliances for defrosting.
- Do not scrape with a knife or sharp object to remove frost or ice that occurs. With these, the refrigerant circuit can be damaged, the spill from which can cause a fire or damage your eyes.
- Do not use mechanical devices or other equipment to hasten the defrosting process.
- Absolutely avoid the use of open flame or electrical equipment, such as heaters, steam cleaners, candles, oil lamps and the like in order to speed up the defrosting phase.
- Never use water wash the compressor position, wipe it with a dry cloth thoroughly after cleaning to prevent rust.
- It is recommended to keep the plug clean, any excessive dust residues on the plug can be the cause fire.
- The product is designed and built for domestic household use only.
- The guarantee will be void if the product is installed or used in commercial or non-residential domestic household premises.
- The product must be correctly installed, located and operated in accordance with the instructions contained in the User Instructions Booklet provided.
- The guarantee is applicable only to new products and is not transferable if the product is resold.
- Our company disclaims any liability for incidental or consequential damages.
- The guarantee does not in any way diminish your statutory or legal rights.
- Do not perform repairs on this Wine Coolers. All interventions must be performed solely by qualified personnel.
SAFETY CHILDREN!
- If you are discarding an old product with a lock or latch fitted to the door, ensure that it is left in a safe condition to prevent the entrapment of children.
- This appliance can be used by children aged from 8 years and above and by persons with reduced physical, sensory or mental capabilities or with a lack of experience and knowledge; provided that they have been given adequate supervision or instruction concerning how to use the appliance in a safe way and understand the hazards involved.
Children should not play with the appliance. Cleaning and user maintenance should not be made by children without supervision.
1. PRODUCT DESCRIPTION

text_image
Balcony Display control panel Air duct components Flap Glass shelf DrawerYour appliance is equipped with:
- 1 balcony
- 1 flap
- 6 drawers
The most energy-saving configuration requires drawers, food box and shelves to be positioned in the product, please refer to the above pictures.
2. INSTALLATION INSTRUCTIONS
Location
When selecting a position for your Fridge/Freezer you should make sure the floor is flat and firm, and the room is well ventilated with an average room temperature of between 10^ C and 43^ C. Avoid locating your Fridge/Freezer near a heat source, egg, cooker, boiler or radiator. Also, avoid direct sunlight in out-buildings or sun lounges. If you are placing your Fridge/Freezer in an out-building such as a garage or annex ensure that the Fridge/Freezer is placed above the damp course, otherwise condensation will occur on the Fridge/Freezer cabinet. Never place the Fridge/Freezer in a wall recessed or into fitted cabinets or furniture when your Fridge/Freezer is working, the grille at the back may become hot and the sides warm. It must therefore be installed so that the back of the Fridge/Freezer has at least 9cm (31/2") of free space and the sides have 10 cm (3/4"). Do not drape the Fridge/Freezer with any covering.
Leveling the Fridge/Freeze
If the Fridge/Freezer is not level, the door and magnetic seal alignment will be affected and may cause you Fridge/Freezer to work incorrectly. Once the Fridge/Freezer is placed in its final location, adjust the leveling feet at the front by turning them.

text_image
Two vertical panels with checkmark and cross symbols, likely indicating approval or cancellation statusCleaning before use
Wipe the inside of the Fridge/Freezer with a weak solution of bicarbonate of soda. Then rinse with warm water using a damp sponge or cloth. Wash the baskets and shelves in warm soapy water and dry completely before replacing in the Fridge/Freezer.
Before plugging in
Check that you have a socket which is compatible with the plug supplied with the Fridge/Freezer.
DO NOT SWITCH ON UNTIL FOUR HOURS AFTER MOVING THE FRIDGE/FREEZER. The coolant fluid needs time to settle. If the appliance is switched off at any time, wait 30 minutes before switching back on to allow the coolant fluid to settle.
Before filling your Fridge/Freezer
Before storing foods in your Fridge/Freezer, turn the Fridge/Freezer on and wait for 24 hours, to make sure it is working properly and to allow the Fridge/Freezer to fail to the correct temperature.
Energy saving tips
- The appliance should be located in the coolest area of the room, away from heat producing appliances or heating ducts, and out of the direct sunlight.
- Let hot foods cool to room temperature before placing in the appliance. Overloading three spoil.
- Be sure to wrap foods properly, and wipe containers dry before placing them in the appliance. This cuts down on frost build-up inside the appliance. Appliance storage bin should not be lined with aluminium foil, wax paper or paper toweling.
- Liners interfere with cold air circulation, making the appliance less efficient.
- Organize and label food to reduce door openings and extended searches. Remove as many items as needed at one time, and close the door as soon as possible.
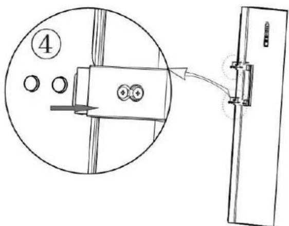
➢ Door handle installation
Before installation of accessories, it shall be ensured that the freezer is disconnected from power.
Tools to be provided by the user: cross screwdriver
- Remove the insert pin ①.

text_image
Diagram showing a mechanical component with labeled parts and an arrow indicating direction, alongside a magnified view of the component.- Adjust the handle ③ to the installing hole and tighten screw ②.

text_image
Technical diagram showing a door lock mechanism with labeled components and directional arrows indicating movement or assembly.- Cover the nut cap ① of handle hole.

text_image
Technical diagram showing a door lock mechanism with labeled components and a magnified view of the component.▶ Leveling feet
Before installation of accessories, it shall be ensured that the freezer is disconnected from power.

text_image
L H- Turn the feet clockwise to raise the freezer;
- Turn the feet counterclockwise to lower the freezer;
- Adjust the right and left feet based on the procedures above to a horizontal level.
➢ Door right-left change
Before installation of accessories, it shall be ensured that the freezer is disconnected from power.
Tools: cross screwdriver and 5/16" socket and ratchet.
- Remove the two nut caps and two hinge cover plates from the top beam (open the door toward right)

text_image
Left cover plate Nut cap Right cover plate- Remove decorating components from the top beam

text_image
Top beam decoration Top beam decoration Wiring bundles- Remove the two bolts fixed with hinges, pull the hinges out from one side and dismantle the door at the same time. As last, take the hinges out from the door

text_image
Bolts Hinge- Reassemble the lower hinge axis: dismantle the original hinge axis and assemble it at the graphic position

natural_image
3D mechanical assembly diagram showing a bracket with threaded pins and a green arrow indicating motion (no text or symbols)- Reassemble the upper hinges axis: dismantle the hinge axis and assemble by rotating it from the other end of the screw hole.

natural_image
3D mechanical component before and after assembly, showing a bracket and mounting holes (no text or symbols)- Install the upper hinges fixed leg (on the left) at the right side

natural_image
Diagram showing a computer monitor with ports and a close-up of its cable (no text or symbols present)- Install the lower hinge at the right side of the refrigerator

text_image
Lower hinge- Install the upper hinges into the relative axle holes on the right (upon the door) at first, then place the door on the lower hinges, press upper hinges into hinge fixed legs and fix the upper hinges at last.

natural_image
3D CAD model of a computer cabinet with open door and internal compartments (no text or symbols visible)- Install top-beam decoration, nut caps and hinge cover plates.

text_image
Diagram showing server rack setup with highlighted components and a close-up view of the internal rack.4. USE INSTRUCTIONS
CONTROL BOARD

text_image
A Super FRZ. B ON/OFF -88°C 1 2 3 C DIn the first power-on, your appliance is set to -18^ . After that, every time you start the fridge, it will run in accordance with the memorized temperature.
When the door is under open state, the display will shine all the time and it will stop shining thirty seconds after the door is closed or key operation.
Start-up and shutdown
To turn on or off the freezer, press for 3 seconds, the setting button

Under shut down mode, all the keys will stop responding, and compressor, except ON/OFF key (B key).
Temperature adjustment
To adjust the temperature of your freezer, you must press the setting button
and
at the same time. The temperature will flash, you can then set the temperature between -16 and -24 °C.
Once you have selected the desired temperature, 5 seconds later, the freezer will set to the desired temperature. The selected temperature icon lights up. You can also validate your
choice by pressing one of the 2 keys: or.


Fast freezing mode
To enter fast freezing mode, press the SET key for 3 seconds.

The freezing mode icon will be displayed:
By pressing this function, your freezer will operate at a temperature of -24^ . The display screen will show the defaulting quick-frozen time (6 hours). Press temperature regulation keys
or to change quick-frozen time. Adjustment range is between 6 hours to 48 hours.
If you do not press any key in five seconds and the setting will take effect automatically and
show “—24°C”. Within 5 seconds, you can press Super FRZ key Super FRZ manually for affirmation and it will show “—24°C”. Then, the freezer will work under fast freezing mode.
To exit the fast-freezing mode, press the set button for 3 seconds or the temperature regulation keys or to select the desired temperature.
The temperature of the refrigerator is controlled by the control board. It is recommended to set at -18^ C.
Door-opening hint and door-opening alarming control
If refrigerating chamber door has been open for 120 seconds, it will ring warning bell, and the bell will ring per 2 seconds till the door is closed. Press any key to cancel the door-opening warning.
High temperature warning
When the temperature of the refrigerating chamber has been above -8^ for six hours, high temperature warning will ring. The buzzer will ring per second for ten times and then ten times every thirty minutes, and temperature display region will show failure code (E9); the ringing will stop when the temperature of the refrigerating chamber is below -12^ .
Press any key to cancel the warning buzzer (if it does not buzz after thirty minutes). But the failure code display state is not canceled, until the failure is solved.
Memory function
In the event of a power outage or shutdown of your device, it memorizes the last setting (temperature set or fast freezing function).
Error codes may appear on this control panel, please refer to the Maintenance and Service section for the corresponding faults.
3. FOOD CONSERVATION
FROZEN AND DEEP- FROZEN FOOD
Your domestic appliance enables you to freeze food, it lowers its core temperature rapidly and you can therefore keep it longer.
Deep-freezing is an industrial process that is quicker and more intense that domestic freezing.
The products you purchase from the shops are deep-frozen.
PREPARING FOOD FOR FREEZING
Freezing does not sterilise. It is therefore important to observe some simple hygiene rules when preparing your food for freezing: wash your hands before you touch the food and clean the kitchen tools you have just used before using them again.
Only freeze fresh, good quality food. Refer to the table "Food Freezing Guide" to know which products you can freeze and how long you can keep them.
Blanch fruit and vegetables before freezing them to preserve their color, smell, taste and vitamins: plunge them in boiling water for few moments.
Divide the food you wish to freeze into small individual portions corresponding to one meal each. Small portions freeze quicker at their core.
Pack the food hermetically so that they do not lose their flavor or dry up. Use plastic bags, polyethylene film, aluminum foil or special freezer containers for this. If you are using plastic bags, compress them to eliminate the air before sealing them hermetically.
Note on each package:
-The freezing date
-The consume-by date
-The type of food contained
-The number of portions contained
If you are purchasing deep-frozen food, pick it up last when you are shopping.
Check that:
- The packaging isn't damaged
- They are not covered in a layer of frost (which means that they have partially defrosted) Pack them in an isotherm bag or in newspaper. Transport them quickly and store them immediately. Comply with the maximum storage dates shown on the pack. Your appliance has a **** freezer compartment, this enables you to keep deep-frozen food in an optimal manner.
ARRANGING FOOD IN YOUR FREEZER
Do not put fresh food next to food that has already been frozen to avoid causing the frozen food to warm up.
The maximum weight of food that you can freeze over 24 hours is shown on the information plate (inside your appliance's refrigerator section near the bottom of the left-hand wall) under the heading: "CAPACITE DE CONGELATION/ FREEZING CAPACITY (kg/24h)".
DEFROSTING FOOD
You can defrost food in five different ways:
- By putting them in your appliance's refrigerator section for several hours
- By leaving them to defrost gently at ambient temperature
- In a conventional oven at a very low temperature (40/50°C)
- In a microwave oven
- By cooking them immediately
Defrosting them in the refrigerator is the slowest but safest method.
Never refreeze food once it has defrosted, even partially, without cooking it first.
We would advise you not to place any items you have just taken out of the freezer straight into your mouth (ice cream, ice cubes, etc.), they will be at a very low temperature and you risk frostbite. Avoid touching frozen or deep-frozen food with wet hands; you may stick to the food. We recommend that you only defrost food for immediate use.
4. CLEANING YOUR APPLIANCE
Defrosting
Your device is equipped with the no-frost system, so defrosting is done automatically.
No de-icing operation is therefore required.
Cleaning inside the Fridge/Freezer
After defrosting you should clean the Fridge/Freezer internally with a weak solution of bicarbonate of soda. Then rinse with warm water using a damp sponge or cloth and wipe dry.
Wash the baskets in warm soapy water and ensure they are completely dry before replacing in the Fridge/Freezer. Condensation will form on the back wall of the Fridge; however, it will normally run down the back wall and into the drain hole behind the salad bin.
Cleaning outside the Fridge/Freezer
Use standard non-abrasive detergent diluted in warm water to clean the Fridge/Freezer exterior.
The grille of the condenser at the back of the Fridge/Freezer and the adjacent components can be vacuumed using a soft brush attachment.
Do not use harsh cleaners, scouring pads or solvents to clean any part of the Fridge/Freezer
If you're going on vacation
If your appliance is not to be used for several months, remove all food, turn off and unplug the appliance from the outlet. Clean and dry the inside and outside of the appliance thoroughly.
Also leave the door open, blocking it if necessary, to prevent condensation, odors, mold.
Moving the unit
a. Location
Do not place your refrigerator / freezer near a heat source, for example. Stove, boiler or radiator. Also, avoid direct sunlight.
b. Refrigerator / Freezer Upgrade
Make sure the refrigerator / freezer is level. Use the rotatable adjustable feet at the front. If the refrigerator / freezer is not level, the doors and magnetic sealing alignments will be affected and may cause malfunctions.
c. Do not turn on the refrigerator / freezer for 4 hours
After any movement, it must not be connected for 4 hours. This delay allows the coolant to be adjusted.
d. Installation
Let your device breathe. Heat is released from the walls so it is important to leave a circulation of air around your device.
5. MAINTENANCE AND AFTER SALES SERVICE
Maintenance
This product should be serviced by an authorized engineer and only genuine spare parts should be used.
Under no circumstances should you attempt to repair the appliance yourself.
Repairs carried out by inexperienced persons may cause injury or serious malfunctioning. Contact the local store where your purchase was made.
When the appliance is not in use for long periods, disconnect from the electricity supply, empty all foods and clean the appliance, leaving the door ajar to prevent unpleasant smells.
Troubleshooting
Before calling after-sales Service, check to see if you can solve problems.
| Problems | Solutions |
| Power cut | If the internal temperature of the Freezer is -18°C or less when the power returns, your food is safe. The food in your Freezer will remain frozen for approx 15 hours with the door closed. Do not open the Freezer door more than necessary. |
| Unusual noises | √ Check the adjustment of the feet of your appliance and its stability.√ Check that it is not touching a wall.√ Check that all the movable parts (trays, racks, etc..) are securely in place. |
| The freezer does not get cold enough | √ Check if the temperature is correct. If this is not the case, adjust the temperature appropriately.√ Make sure that you have not placed a large amount of food or hot food in your appliance.√ Be careful not to open the door too often or leave it open.√ Check that the door is closed tightly.√ Keep your device away from heat sources.√ Make sure that the ventilation around the unit is respected. |
| Your appliance does not get cold at all | √ Check that your appliance is connected to the electrical supply.√ Check that the circuit-breaker for your house has not cut out and that the fuse has not blown or been unscrewed |
| Frost forms inside your appliance | √ Be careful not to open your appliance's door too often and not to leave it open. |
| some foods do not freeze completely | √ This is quite normal for food that contains a lot of sugar, fat or alcohol not to freeze completely and to remain partially soft (ice cream, fruit juice,etc.). |
| Frozen meat has white streaks | √ Check that your temperature is correctly set and is not at too low temperature√ Check that you haven't kept this meat too long in the freezer |
| The door is difficult to open | √ It is normal for the door to offer some resistance to being opened, particularly when you have just shut it: a slight under pressure forms in your appliance to ensure the door seals perfectly. All you have to do is wait a few seconds before re-opening. |
| The Fridge/Freezer is not working | √ Check that your appliance is connected to the electrical supply.√ Check that the circuit-breaker for your house has not cut out and that the fuse has not blown or been unscrewed |
| Condensation appears on the outside of the Fridge/Freezer | √ This may be due to a change in the room temperature. Wipe off any residue of moisture. If the problem continues contact the local store where your purchase was made. |
The failure indications below may appear:
| Code | what to do |
| E2 | This is a fault in the probe.Please contact customer service. |
| E5 | Frost sensor fault.Please contact customer service. |
| E6 | Communication error of the electronic card.Please contact customer service. |
| E7 | This is a fault in the room temperature sensor.Please contact customer service. |
| E9 | This is the high warning of the refrigerating chamber.Please contact customer service. |
| EC | This is a memory card fault.Please contact customer service. |
SCRAPPING OLD APPLIANCES

This appliance is marked according to the European directive 2012/19/EU on Waste Electrical and Electronic Equipment (WEEE).
WEEE contains both polluting substances (which can cause negative consequences for the environment) and basic components (which can be re-used). It is
important to have WEEE subjected to specific treatments, in order to remove and dispose properly all pollutants, and recover and recycle all materials.
Individuals can play an important role in ensuring that WEEE does not become an environmental issue; it is essential to follow some basic rules:
WEEE should not be treated as household waste.
WEEE should be handed over to the relevant collection points managed by the municipality or by registered companies. In many countries, for large WEEE,
home collection could be present.
In many countries, when you buy a new appliance, the old one may be returned to the retailer who has to collect it free of charge on a one-to-one basis, as long as the equipment is of equivalent type and has the same functions as the supplied equipment.
Conformity
By placing the mark CE on this product, we are confirming compliance to all relevant European safety, health and environmental requirements which are applicable in legislation for this product.
natural_image
Two vertical panels with checkmarks and an 'X' symbol, no text or labels presenttext_image
Technical diagram showing a mechanical component with labeled parts and an arrow indicating direction, alongside a magnified view of the component.text_image
Technical diagram showing a door lock mechanism with labeled components and directional arrow indicating assembly or connection.text_image
Technical diagram showing a mechanical assembly with labeled components and a magnified detail view.natural_image
3D mechanical assembly diagram showing a component being rotated, with no visible text or symbolsnatural_image
3D mechanical component before and after assembly, showing a curved bracket with mounting holes (no text or symbols)natural_image
Diagram showing a computer tower with a close-up view of its internal components, no text or symbols present.natural_image
3D rendering of a two-door refrigerator with blue insulation and black wheels (no text or symbols visible)natural_image
3D CAD model of a mechanical device with internal compartments and mounting features (no text or symbols visible)text_image
Diagram showing server rack installation with red circles highlighting components, likely illustrating disk partitioning or storage mechanism.3. INSTRUCTIONS D'UTILISATION
TABLEAU DE CONTRÔLE

text_image
A Super FRZ. B ON/OFF -88°C 1 2 3 C Dnatural_image
Two vertical panels with checkmark and cross symbols, no text or labels presenttext_image
Diagram showing a mechanical device with labeled components and an arrow indicating motion or force direction, alongside a magnified circular view.text_image
Technical diagram showing a mechanical assembly with numbered components and directional arrow indicating motion or force.text_image
Technical diagram showing a mechanical assembly with labeled components and a magnified detail view.Patas de nivelación
natural_image
3D mechanical assembly diagram showing a bracket with green and orange components before and after modification (no text or symbols)natural_image
3D mechanical component before and after assembly, showing a bracket with mounting holes (no text or symbols)natural_image
Diagram showing a computer tower with a close-up view of its internal components, no text or symbols present.natural_image
3D CAD model of a mechanical device with internal compartments and mounting features (no text or symbols visible)text_image
Diagram showing a computer rack with labeled components and red-circled annotations indicating location or status.10. INSTRUCCIONES DE USO
TABLERO DE CONTROL

text_image
A Super FRZ. B ON/OFF -88°C 1 2 3 C Dtext_image
Warning symbols including a waste bin, no warning sign, and flame hazard symbolnatural_image
Two vertical panels with checkmark and cross symbols, no text or labels presenttext_image
Diagram showing a mechanical device with labeled components and an arrow indicating direction, alongside a magnified view of the component.text_image
Technical diagram showing a mechanical assembly with labeled components and an arrow indicating connection to a vertical panel.text_image
Technical diagram showing a door lock mechanism with labeled components and a magnified inset view of the lock mechanism.Stellfüße
natural_image
3D mechanical assembly diagram showing a bracket with threaded pins and a green arrow indicating rotation (no text or symbols)natural_image
3D mechanical component before and after assembly, showing a bracket and mounting features (no text or symbols)natural_image
Diagram showing a computer tower with an inset image of a mechanical component (no text or symbols present)natural_image
3D CAD model of a server rack cabinet with internal compartments and mounting hardware (no text or symbols visible)text_image
Diagram showing a computer rack with two labeled components, highlighting red circles of interest on the top panel.text_image
Two vertical panels with checkmark and cross symbols, likely indicating approval or cancellation status.text_image
Diagram showing a mechanical assembly with labeled components and directional arrow, likely illustrating a process or assembly.text_image
Technical diagram showing a mechanical assembly with numbered components and an arrow indicating connection to a door panel.text_image
Technical diagram showing a door lock mechanism with labeled components and a magnified view of the lock mechanism.Pés de nivelamento
text_image
Diagram showing a circular structure with labeled points L and H, and an arrow pointing to a vertical panel with a black rectangle.natural_image
3D mechanical assembly diagram showing a bracket with threaded pins and a green arrow indicating rotation (no text or symbols)natural_image
3D mechanical component before and after assembly, showing a bracket with mounting holes (no text or symbols)natural_image
Diagram showing a computer tower with an inset close-up of its cable (no text or symbols present)natural_image
3D CAD model of a server rack cabinet with ventilation slots and storage compartments (no text or symbols visible)text_image
Diagram showing a server rack with labeled components and red-circled annotations indicating location or status.- in bed and breakfasts (B & B)
natural_image
Two vertical panels with checkmarks and a cross symbol, no text or labels presenttext_image
Technical diagram showing a mechanical assembly with labeled components and directional arrow indicating motion or forcetext_image
Technical diagram showing a door lock mechanism with labeled components and directional arrow indicating motiontext_image
Technical diagram showing a door lock mechanism with labeled components and a magnified view of the component.Stelvoetjes
text_image
Diagram showing a circular structure with labeled points L and H, and an arrow pointing to a rectangular object with a vertical line.natural_image
3D mechanical assembly diagram showing a component before and after modification, with no visible text or symbols.natural_image
3D mechanical assembly diagram showing a bracket with threaded pins and a green arrow indicating rotation (no text or symbols)natural_image
3D mechanical component before and after assembly, showing a bracket with mounting holes (no text or symbols)natural_image
Diagram showing a computer tower with a close-up view of its internal components, no text or symbols present.natural_image
3D CAD model of a server rack cabinet with internal compartments and mounting hardware (no text or symbols visible)text_image
Diagram showing server rack setup with zoomed-in view and component highlighted in red circles- farmy, v hotely, motely a jiné typy residencí
- noclehárny (B & B)
natural_image
Two vertical panels with checkmark and cross symbols, no text or labels presenttext_image
Technical diagram showing a mechanical assembly with labeled components and directional arrow indicating motion or forcetext_image
Technical diagram showing a mechanical assembly with numbered components and an arrow indicating connection to a vertical panel.- Nasad'te krytku matice ④ na otvor madla.

text_image
Technical diagram showing a mechanical assembly with labeled components and a close-up view of the component.text_image
Diagram showing a circular structure with labeled points L and H, and an arrow pointing to a vertical panel with a black rectangular object.natural_image
3D mechanical assembly diagram showing a bracket with threaded pins and a green arrow indicating direction (no text or symbols)natural_image
3D mechanical component before and after assembly, showing a bracket with mounting holes (no text or symbols)natural_image
3D rendering of a computer tower with a close-up view showing a mechanical component (no text or symbols visible)natural_image
3D CAD model of a computer or server unit with internal compartments and mounting points (no visible text or symbols)text_image
Diagram showing server rack setup with highlighted components and a close-up view of the internal rack.3. POKYNY PRO POUŽÍVÁNÍ
KONTROLNÍ PANEL

text_image
A Super FRZ. B ON/OFF -88°C 1 2 3 C Dnatural_image
Two vertical panels with checkmarks and an 'X' symbol, no text or labels presenttext_image
Technical diagram showing a mechanical component with labeled parts and an arrow indicating direction, alongside a magnified circular view.text_image
Technical diagram showing a mechanical assembly with labeled components and directional arrows indicating motion or force.text_image
Technical diagram showing a door lock mechanism with labeled components and a magnified view of the lock structure.Nóżka regulacyjna
natural_image
3D mechanical assembly diagram showing a component being rotated, with no visible text or symbolsnatural_image
3D mechanical component before and after assembly, showing a bracket with mounting holes (no text or symbols)natural_image
Diagram showing a computer tower with an attached mechanical component, before and after assembly (no text or symbols present)natural_image
3D CAD model of a mechanical device showing internal components and mounting features (no text or symbols visible)text_image
Diagram showing a computer rack with labeled components and red circles highlighting areas of interest, likely illustrating a system or storage setup.10. INSTRUKCJE DOTYCZĄCE OBSŁUGI
PANEL STEROWANIA

text_image
A Super FRZ. B ON/OFF -88°C 1 2 3 C D2. POKYNY NA INŠTALÁCIU
Umiestnenie
text_image
Two vertical panels with checkmark and cross symbols, likely indicating approval or cancellation status.text_image
Technical diagram showing a mechanical component with labeled parts and an arrow indicating direction, alongside a close-up view of the component.- Nastavte rukovat' ③ na montážny otvor a dotiahnite skrutku ②.

text_image
Technical diagram showing a mechanical assembly with numbered components and directional arrows indicating motion or force.- Nasad'te krytku matice ④ na otvor rukoväti.

text_image
Technical diagram showing a mechanical assembly with labeled components and a magnified detail view.text_image
Diagram showing a circular structure with labeled points L and H, and an arrow pointing to a vertical panel with a label 'I'.natural_image
Mechanical assembly diagram showing a metal bracket being rotated, with no visible text or symbolsnatural_image
3D mechanical component before and after assembly, showing a bracket with mounting holes (no text or symbols)- Namontujte pevný diel horného závesu (vl'avo) na pravú stranu.

natural_image
Diagram showing a computer monitor front panel before and after assembly, with a close-up of the device's internal structure (no text or symbols present)natural_image
3D CAD model of a computer or server unit with internal compartments and ventilation slots (no text or symbols visible)text_image
Diagram showing a computer rack with labeled components and red circles highlighting areas of interest, likely illustrating a system or storage setup.3. POKYNY NA POUŽÍVANIE
KONTROLNÝ PANEL

text_image
A Super FRZ. B ON/OFF -88°C 1 2 3 C DPri prvom zapnutí je spotrebič nastavený na -18 °C. Potom po každom d'alšom zapnutí bude mraznička spustená v súlade s uloženou teplotou.
FOR appliances without a 4-star compartment: this refrigerating appliance is not suitable for freezing foodstuffs
FOR a free standing appliance: this refrigerating appliance is not intended to be used as a built-in appliance
FOR Wine Coolers: this appliance is intended to be used exclusively for the storage of wine
FOOD STORAGE
Position different food in different compartments according to be below table
| Refrigerator compartment | Type of food |
| Door or balconies of fridge compartment | ·Foods with natural preservatives, such as jams, juices, drinks, condiments.·Do not store perishable foods |
| Crisper drawers (salad drawer) | ·Fruits, herbs and vegetables should be placed separately in the crisper bin·Do not store bananas, onions, potatoes, garlic in the refrigerator |
| Fridge shelf – middle | ·Dairy products, eggs |
| Fridge shelf – top | ·Foods that do no need coocking, such as ready-to-eat foods, deli meats, leftovers. |
| Freezer drawer(s)/tray | ·Foods for long-term storage·Bottom drawer for raw meet, poultry, fish·Middle drawer for frozen vegetables, chips.·Top tray for ice cream, frozen fruit, frozen baked goods. |
- It's suggested to set the temperature at 4^ in the fridge compartment, and, whether possible, at -18^ in the freezer compartment.
- For most food categories, the longest storage time in the fridge compartment is achieved with colder temperatures. Since some particular products (as fresh fruits and vegetables) may be damaged with colder temperatures, it is suggested to keep them in the crisper drawers, whenever present. If not present, maintain an average setting of the thermostat.
- For frozen food, refer to the storage time written on the food packaging. This storage time is achieved whenever the setting respects the reference temperatures of the compartment (one-star -6°C, two stars -12°C, three stars -18°
POSITIONING
Install the appliance at a location where the ambient temperature corresponds to the climate class indicated on the rating plate of the appliance:
- Extended temperate (SN): ‘this refrigerating appliance is intended to be used at ambient temperatures ranging from 10 °C to 32 °C’
- Temperate (N): ‘this refrigerating appliance is intended to be used at ambient temperatures ranging from 16 °C to 32 °C’
- Subtropical (ST): ‘this refrigerating appliance is intended to be used at ambient temperatures ranging from 16 °C to 38 °C’
- Tropical (T): ‘this refrigerating appliance is intended to be used at ambient temperatures ranging from 16 °C to 43 °C’
AVAILABILITY OF SPARE PARTS
“Thermostats, temperature sensors, printed circuit boards and light sources are available for a minimum period of seven years after placing the last unit of the model on the market. Door handles, door hinges, trays and baskets for a minimum period of seven years and door gaskets for a minimum period of 10 year, after placing the last unit of the model on the market”.
GUARANTEE
Minimum guarantee is: 2 years for EU Countries, 3 years for Turkey, 1 year for UK, 1 year for Russia, 3 years for Sweden, 2 years for Serbia, 5 years for Norway, 1 year for Morocco, 6 months for Algeria, Tunisia no legal warranty required.
TECHNICAL ASSISTANCE
To contact the technical assistance, visit our website: https://corporate.haier-europe.com/en/ Under the section “website”, choose the brand of your product and your country. You will be redirected to the specific website where you can find the telephone number and form to contact the technical assistance
For further information about the product, please consult https://eprel.ec.europa.eu/ or scan the QR on the energy label supplied with the appliance
EasyManual