HFF 1864XMN - Congelador HOOVER - Manual de utilização gratuito
Encontre gratuitamente o manual do aparelho HFF 1864XMN HOOVER em formato PDF.
Perguntas dos utilizadores sobre HFF 1864XMN HOOVER
0 pergunta sobre este aparelho. Responda às que conhece ou faça a sua.
Faça uma nova pergunta sobre este aparelho
Baixe as instruções para o seu Congelador em formato PDF gratuitamente! Encontre o seu manual HFF 1864XMN - HOOVER e retome o controlo do seu dispositivo eletrónico. Nesta página estão publicados todos os documentos necessários para a utilização do seu dispositivo. HFF 1864XMN da marca HOOVER.
MANUAL DE UTILIZADOR HFF 1864XMN HOOVER
SBRINAMENTO DEGLI ALIMENTI
Su aparato está equipado con:
• 1 balcón
- 1 aleta
- 6 cajones
Obrigado por adquirir este produto.
Antes de usar o seu frigorífico, por favor leia este manual de instruções cuidadosamente para maximizar o seu desempenho. Guarde toda a documentação para uso subsequente ou para outros proprietários. Este produto foi previsto apenas para uso doméstico ou aplicações semelhantes, tals como:
- a zona da cozinha para o pessoal em lojas, escritórios e outros ambientes de trabalho
- em quintas, pela clientela de hotéis, motéis e outros ambientes de tipo residencial
- em pensões (B & B)
- para serviços de catering e aplicações semelhantes que não para venda a retalho.
Este aparelho deve ser usado apenas para armazenar comida, qualquer outro uso é considerado perigoso e o fabricante não será responsável por qualsquer omissões. É também recomendado que anote as condições da garantia. Para obter o melhor desempenho possível e um funcionamento livre de problemas do seu aparelho, é muito importante que leia cuidadosamente estas instruções. Caso não cumpra estas instruções, poderá invalidar o seu direito a assistência gratuita durante o período de garantia.
INFORMAÇÕES DE SEGURANÇA
Este guia contém muitas informações de segurança importantes. Sugerimos que guarde estas instruções num local seguro para uma referência fácil e uma boa experiência com o aparelho.
O frigorífico contém um gás refrigerante (R600a: isobutano) e um gás isolante (ciclopentano), com alta compatibilidade com o ambiente, que são, contudo, inflamáveis.

Cuidado: risco de incêndio
Caso o circuito refrigerante esteja danificado:
- Evite chamas nuas e fontes de ignição.
Ventile cuidadosamente a divisão onde o aparelho está situado.
AVISO!
- Deve ter cuidado ao limpar/transportar o aparelho para evitar tocar nos fios metálicos do condensador na parte traseira do aparelho, já que poderá sofrer lesões nos seus dedos e mãos ou danificar o seu produto.
- Este aparelho não está concebido para ser empilhado com qualquer outro aparelho. Não tente sentar-se ou permanecer em pé no topo do seu aparelho, pois este não está concebido para tal utilização. Você pode magoar-se ou danificar o aparelho.
- Certifique-se que o cabo de alimentação não fica retido sob o aparelho durante ou após o transporte/movimentação do mesmo, para evitar que o cabo de alimentação seja cortado ou danificado.
- Ao posicionar o seu aparelho, tenha cuidado para não danificar o seu pavimento, canos, revestimentos de parede, etc. Não mova o aparelho puxando-o pela tampa ou pela pega. Não permita que crianças brinquem com o aparelho ou mexam nos comandos. A nossa empresa declina aceitar qualquer responsabilidade caso as instruções não sejam respeitadas.
- Não instale o aparelho em locais húmidos, oleosos ou poeirentos, nem o exponha à luz solar direta ou à água.
-
Não instale o aparelho próximo de aquecedores ou materiais inflamáveis.
-
Caso ocorra uma falha de energia não abra a tampa. A comida congelada não deverá ser afetada se a falha durar menos de 20 horas. Caso a falha seja mais prolongada, então a comida deve ser verificada e comida de imediato, ou cozinhada e então recongelada.
- Caso a tampa da arca congeladora seja difícil de abrir imediatamente depois de a ter fechado, não se preocupe. Isto deve-se à diferença de pressão que irá equilibrar-se e permitir que a tampa seja aberta normalmente após alguns minutos.
- Não ligue o aparelho à alimentação de energia até que todas as proteções de embalagem e de transporte tenham sido removidas.
- Deixe repousar durante pelo menos 4 horas antes de ligar, para permitir que o óleo do compressor estabilize, caso tenha sido transportado na horizontal.
- Este congelador só deverá ser utilizado para os fins previstos (i.e. armazenamento e congelação de géneros alimentícios).
- Não armazene medicamentos ou materiais de pesquisa nos Frigoríficos para Vinho. Quando pretender armazenar um material que exija um controlo rigoroso das temperaturas de armazenamento, é possível que se deteriore ou que ocorra uma reação descontrolada que pode causar riscos.
- Antes de realizar qualquer operação, desligue o cabo de alimentação da tomada.
- Aquando da entrega, certifique-se que o produto não está danificado e que todos os componentes e acessórios estão em perfeitas condições.
- Se reparar numa fuga no sistema de refrigeração, não toque na tomada de parede e não use chamas nuas. Abra a janela e deixe entrar ar no compartimento. Depois ligue a um centro de serviço para solicitar uma reparação.
- Não use extensões ou adaptadores.
- Não puxe ou dobre o cabo de alimentação excessivamente ou toque na ficha com as mãos molhadas.
- Não danifique a ficha e/ou o cabo de alimentação; isso pode causar choques elétricos ou incêndios.
- Se o cabo de alimentação estiver danificado, o mesmo deve ser substituído pelo serviço de assistência técnica do fabricante ou por um técnico qualificada para evitar perigo
- Não coloque ou armazene materiais inflamáveis e altamente voláteis como éter, petróleo, GPL, gás propano, latas de spray aerosol, adesivos, álcool puro, etc. Estes materiais podem provocar uma explosão.
- Não use ou armazene sprays inflamáveis, tais como tinta em spray, perto dos Frigoríficos para Vinho. Isso pode causar uma explosão ou incêndio.
- Não coloque objetos e/ou recipientes com água no topo do aparelho.
- Não recomendamos a utilização de extensões e adaptadores.
- Não elimine o aparelho através do fogo. Tenha cuidado para não danificar o circuito/tubos de refrigeração do aparelho durante o transporte e utilização. Em
caso de danos, não exponha o aparelho a uma fonte potencial de ignição e ventile de imediato a divisão onde o aparelho se situa.
- O sistema de refrigeração posicionado atrás e no interior dos Frigoríficos para Vinho contém refrigerante. Logo, evite danificar os tubos.
- Não use aparelhos elétricos no interior dos compartimentos para armazenamento de comida do aparelho, a não ser que sejam do tipo recomendado pelo fabricante.
- Não danifique o circuito de refrigeração.
- Não utilize dispositivos mecânicos ou outros meios para acelerar o processo de descongelação, que não os recomendados pelo fabricante.
- Não use aparelhos elétricos no interior dos compartimentos para armazenamento de comida do aparelho, a não ser que sejam do tipo recomendado pelo fabricante.
- Não tocar os elementos de refrigeração internos, especialmente com as mãos molhadas, pois pode sofrer queimaduras ou ferimentos graves.
- Mantenha as aberturas de ventilação no revestimento do aparelho ou na estrutura integrada, livres de obstruções.
- Não use objetos pontiagudos ou afiados tais como facas ou garfos para remover o gelo.
- Nunca use secadores de cabelo, aquecedores elétricos ou outros aparelhos similares para a descongelação.
- Não use uma faca ou um objecto afiado para remover o gelo que possa existir. Caso os utilize, o circuito de refrigerante pode danificar-se, e a fuga que daí decorrer pode causar um incêndio ou danificar os seus olhos.
- Não use dispositivos mecânicos ou outro equipamento para acelerar o processo de descongelamento.
- Evite completamente a utilização de chamas nuas ou equipamento elétrico, tais como aquecedores, máquinas de limpeza a vapor, velas, lâmpadas a óleo e similares de forma a acelerar a fase de descongelamento.
- Nunca use água para lavar a área do compressor, limpe-a com um pano seco cuidadosamente depois de limpar para evitar a ferrugem.
- Recomendamos que mantenha a ficha limpa, quaisquer resíduos de poeira excessivos na ficha podem causar um incêndio.
- O produto foi concebido e fabricado apenas para uso doméstico.
- A garantia será anulada caso o produto seja instalado ou utilizado em instalações comerciais ou não-residenciais.
- O produto deve ser instalado, localizado e operado corretamente de acordo com as instruções contidas no folheto de Instruções para o Utilizador fornecido.
- A garantia só é aplicável a produtos novos e não pode ser transferida caso o produto seja vendido novamente.
- A nossa empresa declina qualquer responsabilidade por danos incidentais ou consequentes.
- A garantia não diminui de qualquer forma os seus direitos estatutários ou legais.
- Não realize reparações neste Frigorífico para Vinhos. Todas as intervenções devem ser realizadas exclusivamente por pessoal qualificado.
SEGURANÇA DAS CRIANÇAS!
- Caso esteja a descartar um produto velho com um fecho ou trava instalado na porta, certifique-se que esta é deixada num estado seguro para evitar o aprisionamento de crianças.
- Este aparelho pode ser utilizado por crianças de idade igual ou superior a 8 anos e por pessoas com capacidades físicas, sensoriais ou mentais reduzidas ou falta de experiência e conhecimento, caso lhes tenha sido fornecida supervisão ou instruções relativas à utilização do aparelho de forma segura e desde que compreendam os perigos envolvidos.
- As crianças não devem brincar com o aparelho. A limpeza e manutenção pelo utilizador não deve ser realizada por crianças sem supervisão.
1. DESCRIÇÃO DO PRODUTO

text_image
Visor do painel de controlo Componentes da conduta de ar Aba Prateleira de vidro Gaveta ArmárioO seu aparelho está equipado com:
- 1 armário
- 1 aba
- 6 gavetas
A configuração mais energeticamente eficiente requer que as gavetas, a caixa e as prateleiras estejam dentro do frigorífico. Consulte as imagens acima.
2. INSTRUÇÕES PARA A INSTALAÇÃO
Localização
Ao selecionar uma posição para o Frigorífico/Congelador, deve certificar-se de que o chão é plano e firme e que a divisão é bem ventilada a uma temperatura ambiente de 10 °C e 43°C. Evite colocar o Frigorífico/Congelador perto de uma fonte de calor, por ex. fogão, caldeira ou radiador. Além disso, evite a luz direta do sol em edifícios exteriores ou áreas de descanso. Se colocar o seu Frigorífico/Congelador num edifício exterior, como uma garagem ou um anexo, certifique-se de que o mesmo está colocado em local seco, ou então pode ocorrer condensação no armário do Frigorífico/Congelador. Nunca coloque o Frigorífico/Congelador numa parede embutida ou num armário ou móvel montado quando o seu Frigorífico/Congelador estiver a funcionar, a grade na parte de trás pode ficar quente e as laterais aquecem também. Deve ser instalado com a parte de trás do Frigorífico/Congelador com, no mínimo, 9 cm (31/2") de espaço livre e as laterais com 10 cm (3/4"). Não tape o Frigorífico/Congelador com uma cobertura.
Se o Frigorífico/Congelador não ficar nivelado, a porta e o vedante magnético serão afetadas, o que pode resultar no mau funcionamento do Frigorífico/Congelador. Depois do Frigorífico/Congelador ser colocado no local final, ajuste os pés de nivelamento na frente, girando-os.

Limpar antes de usar
Limpe o interior do Frigorífico/Congelador com uma solução suave de bicarbonato de sódio. De seguida, enxaguar com água morna usando uma esponja ou um pano húmido. Lave as cestas e prateleiras com água morna e sabão e seque completamente antes de colocar no Frigorífico/Congelador.
Antes de ligar à corrente elétrica
Verificar se possui uma tomada compatível com a ficha fornecida com o Frigorífico/Congelador.
LIGAR, NO MINIMO QUATRO HORAS DEPOIS DE MOVIMENTAR O FRIGORÍFICO/CONGELADOR.
O fluido refrigerante precisa de tempo para se estabilizar. Se o aparelho estiver desligado a qualquer momento, aguarde 30 minutos antes de voltar a ligá-lo para permitir que o líquido refrigerante estabilize.
Antes de encher o seu Frigorífico/Congelador
Antes de colocar qualquer alimento no Frigorífico/Congelador, ligue-o e aguarde 24 horas para confirmar de que está a funcionar corretamente e para que atinja a temperatura correta.
Poupança de energia
- O equipamento deve estar localizado na parte mais fria da divisão, afastado de equipamentos que produzem calor ou condutas de aquecimento e da luz solar direta.
- Deixar os alimentos quentes arrefecer até à temperatura ambiente antes de os colocar no interior do congelador. Sobrecarga
- Certificar-se que os alimentos estão envoltos adequadamente e limpar os recipientes antes de os colocar no interior do equipamento. Isto reduz a acumulação de gelo dentro do equipamento.
As áreas de armazenamento do equipamento não podem ser forradas com papel de alumínio, papel vegetal ou toalhas de papel.
- Os revestimentos interferem na circulação de ar frio, tornando o equipamento menos eficiente.
Organizar e rotular os alimentos para reduzir a abertura das portas e as procuras longas. Tentar retirar todos os itens de que necessita ao mesmo tempo e fechar a porta logo que possível.
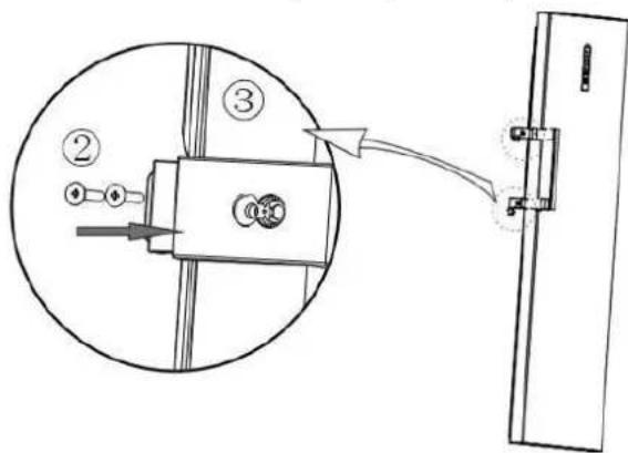
Instalação da pega da porta
Antes da instalação dos acessórios, confirmar se o congelador está desligado da corrente elétrica.
Ferramentas a fornecer pelo utilizador: chave de fendas em cruz
- Remover o pino de inserção ①.

- Ajustar a pega ③ com o orifício de instalação e apertar o parafuso ②.

- Colocar a tampa da porca ④ no orifício da pega.

Antes da instalação dos acessórios, confirmar se o congelador está desligado da
corrente elétrica.

- Rode os pés para a direita para levantar o frigorífico;
- Rode os pés para a esquerda para baixar o frigorífico;
- Ajuste o pé direito e esquerdo com base nos procedimentos acima descritos para um nivelamento horizontal.
Alterar a porta da direita para a esquerda
Antes da instalação dos acessórios, confirmar se o congelador está desligado da corrente elétrica.
Ferramentas: chave de fendas em cruz e uma tomada e catraca 5/16".
- Remova as duas tampas das porca e as duas coberturas da dobradiça da viga superior (abra a porta para a direita)

text_image
Placa de Tampa Placa de cobertura- Remover os componentes decorativos da viga superior

text_image
Decoração da viga superior Cablagem Decoração da viga superior- Remova os dois parafusos fixos com dobradiças, retire as dobradiças da porta e desmonte a porta em simultâneo Por último, tire as dobradiças da porta

text_image
Parafusos Dobradica- Volte a montar o veio da dobradiça inferior: desmonte o veio da dobradiça original e monte-o na posição do esquema

- Volte a montar o veio das dobradiças superiores: desmonte o veio da dobradiça e monte-o rodando a outra extremidade do orifício do parafuso.

- Instale a perna fixa das dobradiças superiores (à esquerda) no lado direito

- Instale a dobradiça inferior no lado direito do frigorífico

text_image
Dobradica inferior- Instale as dobradiças superiores nos orifícios respetivos do veio à direita (sobre a porta), depois coloque a porta nas dobradiças inferiores, pressione as dobradiças superiores sobre as pernas fixas da dobradiça e, por fim, fixe as dobradiças superiores.

- Instale as tampas decorativas, tampas da porca e as coberturas das dobradiças.

10. INSTRUÇÕES DE UTILIZAÇÃO
PLACA DE CONTROLO

text_image
A Super FRZ. B ON/OFF -88°C 1 2 3 C DNo primeiro arranque, o seu aparelho está definido para -18 °C. Depois disso, sempre que ligar o frigorífico, este funcionará de acordo com a temperatura memorizada.
Quando a porta está aberta, o visor fica ligado enquanto a porta está aberta, desligando 30 segundos depois da porta ser fechada.
Arranque e paragem
Para ligar ou desligar o congelador, pressione durante 3 segundos o botão de ajuste ON/OFF
No modo de desligamento, todas as teclas e o compressor deixam de responder, exceto a tecla ON/OFF (tecla B).
Ajuste da temperatura
Para ajustar a temperatura do seu congelador, deve pressionar o botão de configuração
e ao mesmo tempo. A temperatura pisca, sendo aqui possível definir a temperatura entre -16 e -24°C.
Depois de selecionar a temperatura desejada, 5 segundos depois, o congelador será ajustado para a temperatura pretendida. O ícone de temperatura selecionado acende.
Também é possível validar a sua escolha pressionando uma das 2 teclas: ou


Modo de congelação rápida
Para aceder ao modo de congelação rápida, pressione a tecla
SET durante 3 segundos. O ícone do modo de congelação

Ao pressionar esta função, o seu congelador funcionará a uma temperatura de -24 °C. O
visor mostra o tempo de congelação rápida padrão (6 horas). Pressione as teclas de ajuste da temperatura √ ou ∧ para alterar o período de congelação rápida. A gama de ajuste é entre 6 a 48 horas.
Se não pressionar nenhuma tecla em cinco segundos a configuração entra em efeito automaticamente e apresenta “-24°C”. No período de 5 segundos, pode pressionar a tecla

Super FRZ manualmente para validação e apresenta "-24°C". De seguida o congelador funcionará no modo de congelação rápida.
Para sair do modo de congelação rápida, pressione o botão SET Super FRZ durante 3 segundos ou as teclas de ajuste de temperatura ou para selecionar a temperatura pretendida.
A temperatura do refrigerador é controlada pelo painel de controle. É recomendado definir para -18 °C.
Dica de abertura de porta e controlo do alarme de abertura de porta
Se a porta da câmara do frigorífico estiver aberta durante 120 segundos, tocará a campainha de aviso durante 2 segundos até que a porta seja fechada. Pressione qualquer tecla para cancelar o aviso de abertura de porta.
Aviso de alta temperatura
Quando a temperatura da câmara de refrigeração estiver acima dos -8^ durante seis horas, o aviso de temperatura alta toca. A campainha toca dez vez por segundo e dez vezes a cada trinta minutos, e o visor da temperatura mostra o código de falha (E9); o toque parará quando a temperatura da câmara de refrigeração estiver abaixo dos -12^ .
Pressione qualquer tecla para cancelar a campainha de aviso (se a mesma não deixar de tocar após trinta minutos). Mas o estado de exibição do código de falha não é cancelado, até que a falha seja solucionada.
Função memória
Na eventualidade de uma falta de energia ou desligamento do dispositivo, este memoriza a última configuração (função de ajuste de temperatura ou congelamento rápido).
Códigos de erro podem aparecer neste painel de controle, consulte a secção Manutenção e Serviço para as falhas correspondentes.
11. CONSERVAÇÃO DE ALIMENTOS
ALIMENTOS CONGELADOS E ULTRACONGELADOS
O seu aparelho doméstico permite que congele alimentos, reduz a sua temperatura central rapidamente e, portanto, pode mantê-lo por mais tempo.
A ultracongelação é um processo industrial mais rápido e intenso do que a congelação doméstica. Os produtos que compra nas lojas são ultracongelados.
PREPARAÇÃO DOS ALIMENTOS PARA CONGELAÇÃO
A congelação não esteriliza. É importante observar algumas regras simples de higiene ao preparar os seus alimentos para congelar: lave as mãos antes de tocar nos alimentos e limpe os utensílios de cozinha que usou antes de os usar novamente.
Congelar apenas alimentos frescos e de boa qualidade. Consulte a tabela "Guia de Congelação de Alimentos" para saber quais os produtos que pode congelar e por quanto tempo é possível mantê-los.
Escalde frutas e legumes antes de as congelar para preservar a sua cor, cheiro, sabor e vitaminas: mergulhe-os em água a ferver durante alguns instantes.
Divida os alimentos que deseja congelar em pequenas porções individuais correspondentes a uma refeição cada. Pequenas porções congelam mais rapidamente no seu centro.
Embale os alimentos hermeticamente para que não percam o sabor ou sequem. Use sacos de plástico, película de polietileno, folha de alumínio ou recipientes de congelação especiais para isto. Se estiver a usar sacos plásticos, comprima os mesmos para eliminar o ar antes de os vedar hermeticamente.
Anotar em cada embalagem:
- A data de congelação
- A data de consumo
- O tipo de alimento
- O número de porções
Se compra alimentos ultracongelados, devem ser os últimos a pegar quando estiver a fazer compras. Confirme se:
- A embalagem não está danificada
- Não estão cobertos por uma camada de gelo (o que significa que foram parcialmente descongelados). Embrulhe-os num saco isotérmico ou num um jornal. Transporte-os rapidamente e guarde-os imediatamente. Cumpra as datas máximas de armazenamento apresentadas na embalagem. O seu aparelho tem um compartimento de congelação****, o que lhe permite manter os alimentos ultracongelados de uma forma ideal.
Não coloque alimentos frescos perto de alimentos que já tenham sido congelados para evitar que os alimentos congelados aqueçam.
O peso máximo de alimentos que pode congelar durante 24 horas é apresentado na placa de informações (na secção de frigorífico próximo da parte inferior da parede esquerda) com o título: "CAPACIDADE DE CONGELAÇÃO / CAPACIDADE DE ULTRACONGELAÇÃO (kg / 24h)".
DESCONGELAR ALIMENTOS
Pode descongelar alimentos de cinco formas diferentes:
- Colocando-os na parte do frigorífico durante várias horas
- Deixando-os descongelar lentamente à temperatura ambiente
- Num forno convencional a uma temperatura muito baixa (40/50 °C)
- Num forno micro-ondas
- Cozinhando-os imediatamente
Descongelar alimentos no frigorífico é o método mais lento mas é o mais seguro.
Nunca volte a congelar os alimentos depois de descongelar, mesmo que parcialmente, sem os cozinhar primeiro.
Aconselhamos a que não coloque quaisquer artigos que tenha acabado de retirar do congelador diretamente na boca (gelados, cubos de gelo, etc.), que estão a uma temperatura muito baixa e podem provocar queimaduras. Evite tocar alimentos congelados ou ultracongelados com as mãos molhadas; os alimentos podem colarse à sua pele. Recomendamos que descongele apenas alimentos para uso imediato.
12. LIMPAR O APARELHO
Descongelação
O seu dispositivo está equipado com o sistema no-frost, portanto, a descongelação é realizada automaticamente. Portanto, não é necessária nenhuma operação de descongelação.
Depois de descongelar deve limpar o interior do Frigorífico/Congelador com uma solução suave de bicarbonato de sódio. De seguida, enxaguar com água morna usando uma esponja ou um pano húmido e limpar até secar. Lave os cestos com água morna e sabão e verifique se estão completamente secos antes de os colocar novamente no Frigorífico/Congelador.
Será formada condensação na parede do fundo do frigorífico; no entanto, passa normalmente pela parede traseira e entra no orifício de drenagem atrás da caixa das saladas.
Use detergente normal não abrasivo diluído em água morna para limpar o exterior do Frigorífico/Congelador.
A grelha do condensador na parte de trás do Frigorífico/Congelador e os componentes adjacentes podem ser aspirados usando um acessório de escova macia.
Não use produtos de limpeza agressivos, esfregões ou solventes para limpar qualquer parte do Frigorífico/Congelador
Se vai de férias
Se o aparelho não for utilizado por vários meses, retire todos os alimentos e desligue o aparelho da tomada de corrente elétrica. Limpe e seque bem o interior e o exterior do aparelho. Deixe a porta aberta, bloqueando se necessário, para prevenir condensação, odores, bolor.
Movimentar a unidade
a. Localização
Não coloque o Frigorífico/Congelador perto de uma fonte de calor, por exemplo. Fogão, caldeira ou radiador. Além disso, evite a luz direta do sol.
b. Atualização Frigorífico/Congelador
Verifique se o Frigorífico/Congelador está nivelado. Use os pés giratórios ajustáveis na frente. Se o Frigorífico/Congelador não ficar nivelado, o alinhamento das portas e do vedante magnético será afetado, o que pode causar avarias.
c. Não ligue o Frigorífico/Congelador durante 4 horas
Após qualquer movimento, não deve ser ligado durante 4 horas. Este período permite que o refrigerante seja ajustado.
d. Instalação
Deixe o seu aparelho respirar. O calor é libertado das paredes e, por isso, é importante deixar uma boa circulação de ar em redor do equipamento.
13. MANUTENÇÃO E SERVIÇO PÓS-VENDA
Manutenção
Este produto deve ser reparado por um técnico autorizado e devem ser usadas apenas peças originais.
Em nenhuma circunstância o utilizador deve tentar reparar o aparelho.
As reparações realizadas por pessoas inexperientes podem provocar ferimentos ou avarias muito graves. Contacte o revendedor local onde realizou a sua compra.
Quando o aparelho não for utilizado durante um longo período, desligue-a da eletricidade, retire todos os alimentos e limpe o aparelho, deixando a porta entreaberta para evitar odores desagradáveis.
Resolução de problemas
Antes de ligar para o serviço pós-venda, verifique se pode solucionar os problemas.
| Problemas | Soluções |
| Corte de energia | Se a temperatura interna do Congelador for -18°C ou menos quando a energia voltar, os seus alimentos estão seguros. Os alimentos no Congelador permanecerão congelados durante aprox. 15 horas com a porta fechada. Não abrir a porta do congelador mais do que o necessário. |
| Ruídos estranhos | √ Verifique o ajuste dos pés do seu aparelho e a sua estabilidade.√ Verifique se não está a tocar na parede.√ Verifique se todas as partes móveis (bandejas, prateleiras, etc.) estão seguras. |
| O congelador não fica frio o suficiente | √ Verifique se a temperatura é a correta. Se este não for o caso, ajuste a temperatura adequadamente.√ Certifique-se de que não colocou uma grande quantidade de alimentos ou comida quente no seu aparelho.√ Tenha cuidado para não abrir a porta com demasiada frequência ou de a deixar aberta.√ Verifique se a porta está bem fechada.√ Mantenha o seu dispositivo afastado de fontes de calor.√ Certifique-se de que a ventilação em volta da unidade é respeitada. |
| O seu aparelho não fica frio | √ Verifique se o seu aparelho está ligado à alimentação elétrica.√ Verifique se o disjuntor em casa não foi abaixo ou se o fusível não fundiu ou está desapertado |
| Forma-se gelo no interior do seu aparelho | √ Cuidado para não abrir a porta com demasiada frequência ou de a deixar aberta. |
| alguns alimentos não congelam completamente | √ É muito normal que os alimentos que contêm muito açúcar, gordura ou álcool e não congelem completamente e permaneçam parcialmente macios (gelados, sumos de frutas, etc.) |
| A carne congelada apresenta listas brancas | √ Verifique se a temperatura está ajustada corretamente e se não está com a temperatura muito baixa√ Verifique se a carne não esteve durante muito tempo no congelador |
| A porta fecha com dificuldade | √ É normal que a porta ofereça alguma resistência à abertura, especialmente quando acabou de a fechar: uma ligeira sub pressão forma-se no seu aparelho para garantir que a porta veda perfeitamente. Tudo o que precisa fazer é esperar alguns segundos antes de a voltar a abrir. |
| O Frigorífico/Congelado r não funciona | √ Verifique se o seu aparelho está ligado à alimentação elétrica.√ Verifique se o disjuntor da casa não não foi abaixo ou se o fusível não fundiu ou está desapertado |
| Aparece condensação no exterior do Frigorífico/Congelador | √ Isto pode ser devido a uma mudança na temperatura ambiente.Limpe todos os resíduos de humidade. Se o problema persistir contacte o revendedor local onde realizou a sua compra. |
Podem aparecer as seguintes indicações de falha:
| Códi | O que fazer |
| E2 | Esta é uma falha na sonda.Contacte o serviço ao cliente. |
| E5 | Falha do sensor de congelação.Contacte o serviço ao cliente. |
| E6 | Erro de comunicação da carta eletrónica.Contacte o serviço ao cliente. |
| E7 | Esta é uma falha no sensor de temperatura da divisão.Contacte o serviço ao cliente. |
| E9 | Este é um aviso da câmara de refrigeração.Contacte o serviço ao cliente. |
| EC | Esta é uma falha do cartão de memória.Contacte o serviço ao cliente. |
ELIMINAÇÃO DE APARELHOS VELHOS

Os DEEE contêm substâncias poluentes (que podem causar consequências negativas para o ambiente) e componentes básicos (que podem ser reutilizados). É importante que os DEEE sejam submetidos a tratamentos específicos, de maneira a remover e eliminar adequadamente todos os poluentes, e recuperar e reciclar todos os materiais.
Os individuos têm um papel importante ao assegurar que os DEEE não se tornam num problema ambiental, é essencial seguir algumas regras básicas: Os DEEE não devem ser tratados como resíduos domésticos.
Os DEEE devem ser entregues nos pontos de recolha relevantes geridos pelo município ou por companhias registadas. Em muitos países, a recolha casa-a-casa, para DEEE de grandes dimensões, pode existir.
Em multos países, ao comprar um novo aparelho, o antigo pode ser devolvido ao comerciante que tem de o recolher sem qualquer custo, um-para-um, desde que o equipamento seja de tipo equivalente e tenha as mesmas funções que o equipamento fornecido.
Conformidade
Ao colocar a marca C€ neste produto, estamos a confirmar a conformidade com todos os requisitos de segurança, saúde e ambiente relevantes que são aplicáveis na legislação sobre este produto.
ALMACENAMIENTO DE ALIMENTOS
No caso dos aparelhos de armazenagem de vinhos: «Este aparelho destina-se exclusivamente à armazenagem de vinhos»
No caso dos aparelhos de instalação livre: «Este aparelho de refrigeração não se destina a ser utilizado como aparelho encastrável»
No caso dos aparelhos sem compartimento de quatro estrelas: «Este aparelho de refrigeração não é adequado para congelar géneros alimentícios»
ARMAZENAMENTO DE COMIDA
Posicione alimentos diferentes em compartimentos diferentes de acordo com a tabela abaixo
| Compartimentos do frigorífico | Tipo de alimento |
| Porta ou prateleiras do compartimento do frigorífico | Alimentos com conservantes naturais, como compotas, sumos, bebidas, condimentos.Não armazene alimentos perecíveis. |
| Gaveta dos frescos (gaveta de salada) | Frutas, ervas e legumes devem ser colocados separadamente no caixote do lixo.Não guarde bananas, cebolas, batatas e alho no frigorífico. |
| Prateleira do frigorífico - meio | Produtos lácteos, ovos |
| Prateleira do frigorífico - parte superior | Alimentos que não precisam ser cozinhados, como alimentos prontos para consumo, carnes de deli, sobras. |
| Gaveta (s)/ bandeja do congelador | Alimentos para armazenamento a longo prazo.Gaveta de baixo para carne crua, avcs, peixe.Gaveta do meio para legumes congelados, batatas fritas.Bandeja superior para gelado, frutas congeladas, produtos de panificação congelados. |
- Sugere-se definir a temperatura para 4 °C no compartimento do frigorífico e, se possível, para -18 °C no compartimento do congelador.
- Para a maioria das categorias de alimentos, o maior tempo de armazenamento no compartimento do frigorífico é conseguido com temperaturas mais frias. Uma vez que alguns produtos específicos (como frutas e legumes frescos) podem ser danificados com temperaturas mais frias, sugere-se mantê-los sempre nas gavetas dos frescos. Se não estiver presente, mantenha uma configuração média do termóstato.
- Para alimentos congelados, consulte o período de armazenamento indicado na embalagem do alimento. Este período de armazenamento é alcançado sempre que a configuração respeita as temperaturas de referência do compartimento (uma estrela -6 °C, duas estrelas -12 °C, três estrelas -18 °C).
POSICIONAMENTO
Instale este eletrodoméstico no local onde a temperatura ambiente corresponda à classe de temperatura indicada na chapa de características do eletrodoméstico:
- Temperada alargada (SN): «Este aparelho de refrigeração destina-se a ser utilizado a temperaturas ambientes compreendidas entre 10 °C e 32 °C»
- Temperada (N): «Este aparelho de refrigeração destina-se a ser utilizado a temperaturas ambientes compreendidas entre 16 °C e 32 °C»
- Subtropical (ST): «Este aparelho de refrigeração destina-se a ser utilizado a temperaturas ambientes compreendidas entre 16 °C e 38 °C»
- Tropical (T): «Este aparelho de refrigeração destina-se a ser utilizado a temperaturas ambientes compreendidas entre 16 °C e 43 °C»
DISPONIBILIDADE DE PEÇAS DE REPOSIÇÃO
Termóstatos, sensores de temperatura, placas de circuito impresso e fontes de luz, por um período mínimo de sete anos após a colocação no mercado da última unidade do modelo em causa; pegas de porta, dobradiças de porta, tabuleiros e cestos por um período mínimo de sete anos e vedantes de porta por um período mínimo de dez anos, após a colocação no mercado da última unidade do modelo em causa
GARANTIA
A garantia mínima é: 2 anos para os países da UE, 3 anos para a Turquia, 1 ano para o Reino Unido, 1 ano para a Rússia, 3 anos para a Suécia, 2 anos para a Sérvia, 5 anos para a Noruega, 1 ano para Marrocos, 6 meses para a Argélia, Tunísia nenhuma garantia legal necessária.”
ASSISTÊNCIA TÉCNICA
Para entrar em contato com a assistência técnica, visite nosso site: https://corporate.haier-europe.com/cn/. Na seção “website”, escolha a marca do seu produto e o seu país. Você será redirecionado para o site específico onde poderá encontrar o número de telefone e formulário para entrar em contato com a assistência técnica
Para mais informações sobre o produto, consulte https://eprel.ec.europa.eu/ ou digitalize o QR na etiqueta de energia fornecida com o aparelho
ManualFácil