LKG1841 - Fridge Leonard - Free user manual and instructions
Find the device manual for free LKG1841 Leonard in PDF.
User questions about LKG1841 Leonard
0 question about this device. Answer the ones you know or ask your own.
Ask a new question about this device
Download the instructions for your Fridge in PDF format for free! Find your manual LKG1841 - Leonard and take your electronic device back in hand. On this page are published all the documents necessary for the use of your device. LKG1841 by Leonard.
USER MANUAL LKG1841 Leonard
natural_image
Two abstract symbols: a solid black circle and a warning sign with exclamation mark (no text or labels)natural_image
Line drawing of a hand holding a wooden plank next to a shelf (no text or symbols)natural_image
Line drawing of a door handle with a scroll and an arrow indicating direction (no text or symbols)natural_image
Diagram showing a hand holding a tool inside a circular frame with rotational arrows, no text or symbols present.natural_image
Technical line drawing of a mechanical assembly with no visible text or symbolsnatural_image
Illustration of a hand using a tool to apply a curved arrow to a textured object, with no visible text or symbols.De deur sluiten
natural_image
Diagram showing a mechanical assembly with a tool inserted into a component and a device connected to it (no text or symbols present)
natural_image
Technical line drawing of a mechanical clamp or bracket assembly (no text or symbols)text_image
Technical diagram showing mechanical assembly with labeled parts and directional arrows indicating motion or assembly.Ventilatievereisten
text_image
Technical diagram illustrating mechanical assembly steps with magnified views and dimension labelstext_image
Technical diagram of a mechanical component with labeled parts 1 and 2
text_image
4 mm 44 mm
natural_image
Technical line drawing of a structural frame with two magnified insets showing detail details (no text or symbols)natural_image
Isometric line drawing of a 3D rectangular block with a curved arrow pointing to its top surface (no text or symbols)
text_image
Diagram illustrating a door lock mechanism with labeled components A through E, showing directional arrows and component placement.
text_image
Technical diagram showing mechanical assembly with labeled parts G and H, including two views of a cabinet or shelf structure.text_image
Hb Ha Hc Hd
text_image
ca. 50 mm 90° 21 mm 90° ca. 50 mm 21 mm
text_image
Ha Hc
text_image
8 mm Ha Hbtext_image
8 mm K Ha
text_image
Hb
text_image
Hb HdSafety instructions 18
Operation
First use 20
Daily use 20
Helpful hints and tips 22
Care and cleaning 23
What to do if... 25 20
Technical data 26
Installation
Environmental concerns 33
Subject to change without notice.

SAFETY INSTRUCTIONS
In the interest of your safety and to ensure the correct use, before installing and first using the appliance, read this user manual carefully, including its hints and warnings. To avoid unnecessary mistakes and accidents, it is important to ensure that all people using the appliance are thoroughly familiar with its operation and safety features. Save these instructions and make sure that they remain with the appliance if it is moved or sold, so that everyone using it through its life will be properly informed on appliance use and safety.
For the safety of life and property keep the precautions of these user's instructions as the manufacturer is not responsible for damages caused by omission.
Children and vulnerable people safety
- This appliance is not intended for use by persons (including children) with reduced physical, sensory or mental capabilities, or lack of experience and knowledge, unless they have been given supervision or instruction concerning use of the appliance by a person responsible for their safety. Children should be supervised to ensure that they do not play with the appliance.
- Keep all packaging well away from children. There is risk of suffocation.
- If you are discarding the appliance pull the plug out of the socket, cut the connection cable (as close to the appliance as you can) and remove the door to prevent playing children to suffer electric shock or to close themselves into it.
- If this appliance featuring magnetic door seals is to replace an older appliance having a spring lock (latch) on the door or lid, be sure to make that spring lock unusable before you discard the old appli-
ance. This will prevent it from becoming a death trap for a child.
General safety

Warning!
Keep ventilation openings, in the appliance enclosure or in the built-in structure, clear of obstruction.
- The appliance is intended for keeping foodstuff and/or beverages in a normal household and similar applications such as:
- staff kitchen areas in shops, offices and other working environments;
– farm houses and by clients in hotels, motels and other residential type environments; - bed and breakfast type environments;
– catering and similar non-retail applications.
- Do not use a mechanical device or any artificial means to speed up the thawing process.
- Do not use other electrical appliances (such as ice cream makers) inside of refrigerating appliances, unless they are approved for this purpose by the manufacturer.
- Do not damage the refrigerant circuit.
- The refrigerant isobutane (R600a) is contained within the refrigerant circuit of the appliance, a natural gas with a high level of environmental compatibility, which is nevertheless flammable.
During transportation and installation of the appliance, be certain that none of the components of the refrigerant circuit become damaged.
If the refrigerant circuit should become damaged:
- avoid open flames and sources of ignition
– thoroughly ventilate the room in which the appliance is situated
- It is dangerous to alter the specifications or modify this product in any way. Any damage to the cord may cause a short-circuit, fire and/or electric shock.

Warning! Any electrical component (power cord, plug, compressor) must be replaced by a certified service agent or qualified service personnel to avoid hazard.
- Power cord must not be lengthened.
- Make sure that the power plug is not squashed or damaged by the back of the appliance. A squashed or damaged power plug may overheat and cause a fire.
- Make sure that you can come to the mains plug of the appliance.
- Do not pull the mains cable.
- If the power plug socket is loose, do not insert the power plug. There is a risk of electric shock or fire.
-
You must not operate the appliance without the lamp cover (if foreseen) of interior lighting.
-
This appliance is heavy. Care should be taken when moving it.
- Do not remove nor touch items from the freezer compartment if your hands are damp/wet, as this could cause skin abrasions or frost/freezer burns.
- Avoid prolonged exposure of the appliance to direct sunlight.
- Bulb lamps (if foreseen) used in this appliance are special purpose lamps selected for household appliances use only. They are not suitable for household room illumination.
Daily Use
- Do not put hot pot on the plastic parts in the appliance.
- Do not store flammable gas and liquid in the appliance, because they may explode.
- Do not place food products directly against the air outlet on the rear wall. (If the appliance is Frost Free)
-
Frozen food must not be re-frozen once it has been thawed out.
-
Store pre-packed frozen food in accordance with the frozen food manufacturer's instructions.
- Appliance's manufacturers storage recommendations should be strictly adhered to. Refer to relevant instructions.
- Do not place carbonated or fizzy drinks in the freezer compartment as it creates pressure on the container, which may cause it to explode, resulting in damage to the appliance.
- Ice lollies can cause frost burns if consumed straight from the appliance.
Care and cleaning
- Before maintenance, switch off the appliance and disconnect the mains plug from the mains socket.
- Do not clean the appliance with metal objects.
- Do not use sharp objects to remove frost from the appliance. Use a plastic scraper.
- Regularly examine the drain in the refrigerator for defrosted water. If necessary, clean the drain. If the drain is blocked, water will collect in the bottom of the appliance.
Installation
Important! For electrical connection carefully follow the instructions given in specific paragraphs.
- Unpack the appliance and check if there are damages on it. Do not connect the appliance if it is damaged. Report possible damages immediately to the place you bought it. In that case retain packing.
- It is advisable to wait at least four hours before connecting the appliance to allow the oil to flow back in the compressor.
- Adequate air circulation should be around the appliance, lacking this leads to overheating. To achieve sufficient ventilation follow the instructions relevant to installation.
- Wherever possible the back of the product should be against a wall to avoid touching or catching warm parts (compressor, condenser) to prevent possible burn.
-
The appliance must not be located close to radiators or cookers.
-
Make sure that the mains plug is accessible after the installation of the appliance.
- Connect to potable water supply only (If a water connection is foreseen).
Service
- Any electrical work required to do the servicing of the appliance should be carried out by a qualified electrician or competent person.
- This product must be serviced by an authorized Service Centre, and only genuine spare parts must be used.
Environment Protection

This appliance does not contain gasses which could damage the ozone layer,
OPERATION
Switching on
Insert the plug into the wall socket. Turn the Temperature regulator clockwise to a medium setting.
Switching off
To turn off the appliance, turn the Temperature regulator to the "O" position.
Temperature regulation
The temperature is automatically regulated. To operate the appliance, proceed as follows:
- turn the Temperature regulator toward lower settings to obtain the minimum coldness.
- turn the Temperature regulator toward higher settings to obtain the maximum coldness.
FIRST USE
Cleaning the interior
Before using the appliance for the first time, wash the interior and all internal accessories with lukewarm water and some neutral soap so as to remove the typical smell of a brand-new product, then dry thoroughly.
DAILY USE
Freezing fresh food
The freezer compartment is suitable for freezing fresh food and storing frozen and deep-frozen food for a long time.
in either its refrigerant circuit or insulation materials. The appliance shall not be discarded together with the urban refuse and rubbish. The insulation foam contains flammable gases: the appliance shall be disposed according to the applicable regulations to obtain from your local authorities. Avoid damaging the cooling unit, especially at the rear near the heat exchanger. The materials used on this appliance marked by the symbol 🌐 are recyclable.
i A medium setting is generally the most suitable.
However, the exact setting should be chosen keeping in mind that the temperature inside the appliance depends on:
- room temperature
• how often the door is opened
• the quantity of food stored - the location of the appliance.
Important! If the ambient temperature is high or the appliance is fully loaded, and the appliance is set to the lowest temperatures, it may run continuously causing frost to form on the rear wall. In this case the dial must be set to a higher temperature to allow automatic defrosting and therefore reduced energy consumption.
Important! Do not use detergents or abrasive powders, as these will damage the finish.
To freeze fresh foods it is not necessary to change the medium setting.
However, for a faster freezing operation, turn the temperature regulator toward high-
er settings to obtain the maximum coldness.
Important! In this condition, the refrigerator compartment temperature might drop below 0°C. If this occurs reset the temperature regulator to a warmer setting.
Place the fresh food to be frozen on the top compartment.
Storage of frozen food
When first starting-up or after a period out of use, before putting the products in the compartment let the appliance run at least 2 hours on the higher settings.
If large quantities of food are to be stored, remove all drawers and baskets from appliance and place food on cooling shelves to obtain the best performance.

Warning! Make sure that foods do not exceed the load limit stated on the side of the upper section (where applicable)

Temperature Indicator

natural_image
Two black circular icons: one with a dot and arrow, the other with a warning symbol (no text or labels)Movable shelves

natural_image
Line drawing of a hand holding a wooden plank over a flat surface (no text or symbols)Important! In the event of accidental defrosting, for example due to a power failure, if the power has been off for longer that the value shown in the technical characteristics chart under "rising time", the defrosted food must be consumed quickly or cooked immediately and then re-frozen (after cooling).
Thawing
Deep-frozen or frozen food, prior to being used, can be thawed in the refrigerator compartment or at room temperature, depending on the time available for this operation.
Small pieces may even be cooked still frozen, directly from the freezer: in this case, cooking will take longer.
Cold accumulators
The freezer contains at least one cold accumulator which increases storage time in the event of a power cut or breakdown.
Important! This appliance is sold in France.
In accordance with regulations valid in this country it must be provided with a special device (see figure) placed in the lower compartment of the fridge to indicate the coldest zone of it.
The walls of the refrigerator are equipped with a series of runners so that the shelves can be positioned as desired.
Positioning the door shelves

natural_image
Technical line drawing of a door handle assembly with an arrow indicating direction (no text or symbols)To permit storage of food packages of various sizes, the door shelves can be placed at different heights.
To make these adjustments proceed as follows:
gradually pull the shelf in the direction of the arrows until it comes free, then reposition as required.
HELPFUL HINTS AND TIPS
Hints for energy saving
- Do not open the door frequently or leave it open longer than absolutely necessary.
- If the ambient temperature is high and the Temperature Regulator is set to low temperature and the appliance is fully loaded, the compressor may run continuously, causing frost or ice on the evaporator. If this happens, set the Temperature Regulator toward warmer settings to allow automatic defrosting and so a saving in electricity consumption.
Hints for fresh food refrigeration
To obtain the best performance:
• do not store warm food or evaporating liquids in the refrigerator
• do cover or wrap the food, particularly if it has a strong flavour
- position foods so that air can freely around it
Hints for refrigeration
Useful hints:
Meat (all types) : wrap in polythene bags and place on the glass shelf above the vegetable drawer.
For safety, store in this way only one or two days at the most.
Cooked foods, cold dishes, etc.: these should be covered and may be placed on any shelf.
Fruit and vegetables: these should be thoroughly cleaned and placed in the special drawer(s) provided.
Butter and cheese: these should be placed in special airtight containers or wrapped in aluminium foil or polythene bags to exclude as much air as possible.
Milk bottles: these should have a cap and should be stored in the bottle rack on the door.
Bananas, potatoes, onions and garlic, if not packed, must not be kept in the refrigerator.
Hints for freezing
To help you make the most of the freezing process, here are some important hints:
- the maximum quantity of food which can be frozen in 24 hrs. is shown on the rating plate;
- the freezing process takes 24 hours. No further food to be frozen should be added during this period;
- only freeze top quality, fresh and thoroughly cleaned, foodstuffs;
- prepare food in small portions to enable it to be rapidly and completely frozen and to make it possible subsequently to thaw only the quantity required;
- wrap up the food in aluminium foil or polythene and make sure that the packages are airtight;
- do not allow fresh, unfrozen food to touch food which is already frozen, thus avoiding a rise in temperature of the latter;
- lean foods store better and longer than fatty ones; salt reduces the storage life of food;
- water ices, if consumed immediately after removal from the freezer compartment, can possibly cause the skin to be freeze burnt;
- it is advisable to show the freezing in date on each individual pack to enable you to keep tab of the storage time.
Hints for storage of frozen food
To obtain the best performance from this appliance, you should:
- make sure that the commercially frozen foodstuffs were adequately stored by the retailer;
CARE AND CLEANING

Caution! Unplug the appliance before carrying out any maintenance operation.

This appliance contains hydrocarbons in its cooling unit; maintenance and re-charging must therefore only be carried out by authorized technicians.
Periodic cleaning
The equipment has to be cleaned regularly:
- clean the inside and accessories with lukewarm water and some neutral soap.
- regularly check the door seals and wipe clean to ensure they are clean and free from debris.
- rinse and dry thoroughly.
Important! Do not pull, move or damage any pipes and/or cables inside the cabinet. Never use detergents, abrasive powders, highly perfumed cleaning products or wax
Defrosting the refrigerator

natural_image
Diagram showing a hand holding a tool inside a circular device with rotational arrows, no text or symbols present- be sure that frozen foodstuffs are transferred from the foodstore to the freezer in the shortest possible time;
- not open the door frequently or leave it open longer than absolutely necessary;
- once defrosted, food deteriorates rapidly and cannot be refrozen;
- do not exceed the storage period indicated by the food manufacturer.
polishes to clean the interior as this will damage the surface and leave a strong odour.
Clean the condenser (black grill) and the compressor at the back of the appliance with a brush. This operation will improve the performance of the appliance and save electricity consumption.
Important! Take care of not to damage the cooling system.
Many proprietary kitchen surface cleaners contain chemicals that can attack/damage the plastics used in this appliance. For this reason it is recommended that the outer casing of this appliance is only cleaned with warm water with a little washing-up liquid added.
After cleaning, reconnect the equipment to the mains supply.
Frost is automatically eliminated from the evaporator of the refrigerator compartment every time the motor compressor stops, during normal use. The defrost water drains out through a drain hole into a special container at the back of the appliance, over the motor compressor, where it evaporates. It is important to periodically clean the defrost water drain hole in the middle of the refrigerator compartment channel to prevent the water overflowing and dripping on-to the food inside.
Defrosting the freezer
A certain amount of frost will always form on the freezer shelves and around the top compartment.
Defrost the freezer when the frost layer reaches a thickness of about 3-5 mm.

natural_image
Technical line drawing of a mechanical assembly with no visible text or symbolsImportant! About 12 hours prior to defrosting, set the Temperature regulator toward higher settings, in order to build up sufficient chill reserve for the interruption in operation.
To remove the frost, follow the instructions below:
- Switch off the appliance.
- Remove any stored food, wrap it in several layers of newspaper and put it in a cool place.

Caution! Do not touch frozen goods with wet hands. Hands can freeze to the goods.
- Leave the door open and insert the plastic scraper in the appropriate seating at the bottom centre, placing a basin underneath to collect the defrost water.

In order to speed up the defrosting process, place a pot of warm water in the freezer compartment. In addition, remove pieces of ice that break away before defrosting is complete.
-
When defrosting is completed, dry the interior thoroughly and keep the scraper for future use.
-
Switch on the appliance.
-
After two or three hours, reload the previously removed food into the compartment.
Important!
Never use sharp metal tools to scrape off frost from the evaporator as you could damage it.
Do not use a mechanical device or any artificial means to speed up the thawing process other than those recommended by the manufacturer.
A temperature rise of the frozen food packs, during defrosting, may shorten their safe storage life.
Periods of non-operation
When the appliance is not in use for long periods, take the following precautions:
- disconnect the appliance from electricity supply
-
remove all food
-
defrost (if foreseen) and clean the appliance and all accessories
- leave the door/doors ajar to prevent unpleasant smells.
If the cabinet will be kept on, ask somebody to check it once in a while to prevent
the food inside from spoiling in case of a power failure.
WHAT TO DO IF...

Warning! Before troubleshooting, disconnect the mains plug from the mains socket.
Only a qualified electrician or competent person must do the troubleshooting that is not in this manual.
Important! There are some sounds during normal use (compressor, refrigerant circulation).
| Problem Possible cause Solution | ||
| The appliance does not operate. The lamp does not operate. | The appliance is switched off. Switch on the appliance. | |
| The mains plug is not connected to the mains socket correctly. | Connect the mains plug to the mains socket correctly. | |
| The appliance has no power. | There is no voltage in the mains socket. | Connect a different electrical appliance to the mains socket. Contact a qualified electrician. |
| The lamp does not work. | The lamp is in stand-by. Close and | open the door. |
| The lamp is defective. | Refer to "Replacing the lamp". | |
| The compressor operates continually. | The temperature is not set correctly. | Set a higher temperature. |
| The door is not closed correctly. | Refer to "Closing the door". | |
| The door has been opened too frequently. | Do not keep the door open longer than necessary. | |
| The product temperature is too high. | Let the product temperature decrease to room temperature before storage. | |
| The room temperature is too high. | Decrease the room temperature. | |
| Water flows on the rear plate of the refrigerator. | During the automatic defrosting process, frost defrosts on the rear plate. | This is correct. |
| Water flows into the refrigerator. | The water outlet is clogged. Clean the water outlet. | |
| Products prevent that water flows into the water collector. | Make sure that products do not touch the rear plate. | |
| Water flows on the ground. | The melting water outlet does not flow in the evaporative tray above the compressor. | Attach the melting water outlet to the evaporative tray. |
| The temperature in the appliance is too low/high. | The temperature regulator is not set correctly. | Set a higher/lower temperature. |
| The temperature in the refrigerator is too high. | There is no cold air circulation in the appliance. | Make sure that there is cold air circulation in the appliance. |
| The temperature in the freezer is too high. | Products are too near to each other. | Store products so that there is cold air circulation. |
| Problem Possible cause Solution | ||
| There is too much frost. | Food is not wrapped correctly. | Wrap the food correctly. |
| The door is not closed correctly. | Refer to "Closing the door". | |
| The temperature regulator is not set correctly. | Set a higher temperature. | |
Replacing the lamp

natural_image
Illustration of a hand using a tool to lift a textured object, with arrows indicating motion (no text or symbols)Closing the door
- Clean the door gaskets.
-
If necessary, adjust the door. Refer to "Installation".
-
Disconnect the mains plug from the mains socket.
- Remove the screw from the lamp cover.
- Remove the lamp cover (refer to the illustration).
- Replace the used lamp with a new lamp of the same power and specifically designed for household appliances. (the maximum power is shown on the lamp cover).
- Install the lamp cover.
- Tighten the screw to the lamp cover.
- Connect the mains plug to the mains socket.
-
Open the door. Make sure that the lamp comes on.
-
If necessary, replace the defective door gaskets. Contact the Service Center.
TECHNICAL DATA
| Dimension of the recess | ||
| Height 1780 mm | ||
| Width 560 mm | ||
| Depth 550 mm | ||
| Rising Time 24 h | ||
| Voltage 230-240 V | ||
| Frequency | 50 Hz |
The technical information are situated in the rating plate on the internal left side of the appliance and in the energy label.
INSTALLATION

Read the "Safety Information" carefully for your safety and correct operation of the appliance before installing the appliance.
Positioning
Install this appliance at a location where the ambient temperature corresponds to the climate class indicated on the rating plate of the appliance:
| Climate class | Ambient temperature |
| SN +10°C to + 32°C | |
| N +16°C to + 32°C | |
| ST +16°C to + 38°C | |
| T +16°C to + 43°C |
Electrical connection
Before plugging in, ensure that the voltage and frequency shown on the rating plate correspond to your domestic power supply. The appliance must be earthed. The power supply cable plug is provided with a contact

natural_image
Technical line drawing showing a mechanical assembly with a tool and two directional arrows indicating motion (no text or symbols)
natural_image
Technical line drawing of a mechanical clamp or bracket assembly (no text or symbols)for this purpose. If the domestic power supply socket is not earthed, connect the appliance to a separate earth in compliance with current regulations, consulting a qualified electrician.
The manufacturer declines all responsibility if the above safety precautions are not observed.
This appliance complies with the E.E.C. Directives.
Door reversibility
The door of the appliance opens to the right. To open the door to the left, do these steps before you install the appliance.
- Loosen and remove the upper pin.
- Remove the upper door.
-
Remove the spacer.
-
Loosen the middle hinge.
- Remove the lower door.

text_image
Technical diagram showing mechanical assembly with labeled parts and directional arrows indicating motion or movement.Ventilation requirements

text_image
5 cm min. 200 cm² min. 200 cm²Installing the appliance

Caution! Make sure that the mains cable can move freely.

text_image
Technical diagram illustrating a mechanical assembly with labeled parts and directional arrows indicating motion or force.- Loosen and remove the lower pin. On the opposite side:
- Tighten the lower pin.
• Install the lower door. - Tighten the middle hinge.
- Install the spacer.
• Install the upper door. - Tighten the upper pin.
The airflow behind the appliance must be sufficient.
Do the following steps:
If necessary cut the adhesive sealing strip and apply it to the appliance as shown in figure.

text_image
Technical diagram of a mechanical component with labeled parts 1 and 2
text_image
4 mm 44 mm
natural_image
Technical line drawing of a structural frame with two magnified insets showing detail details (no text or symbols)Install the appliance in the niche.
Push the appliance in the direction of the arrow (1) until the upper gap cover stops against the kitchen furniture.
Push the appliance in the direction of the arrow (2) against the cupboard on the opposite side of the hinge.
Adjust the appliance in the niche.
Make sure that the distance between the appliance and the cupboard front-edge is 44 mm.
The lower hinge cover (in the accessories bag) makes sure that the distance between the appliance and the kitchen furniture is correct.
Make sure that the clearance between the appliance and the cupboard is 4 mm.
Open the door. Put the lower hinge cover in position.
Attach the appliance to the niche with 4 screws.

natural_image
Isometric diagram of a rectangular block with a curved arrow indicating direction (no text or symbols)
text_image
Diagram illustrating a door lock mechanism with labeled components A through E, showing directional arrows and component placement.
text_image
Technical diagram showing mechanical assembly with labeled parts G and H, including two views of a cabinet or shelf structure.Remove the correct part from the hinge cover (E). Make sure to remove the part DX, in the case of right hinge, SX in opposite case.
Attach the covers (C, D) to the lugs and the hinge holes.
Install the vent grille (B).
Attach the hinge covers (E) to the hinge.
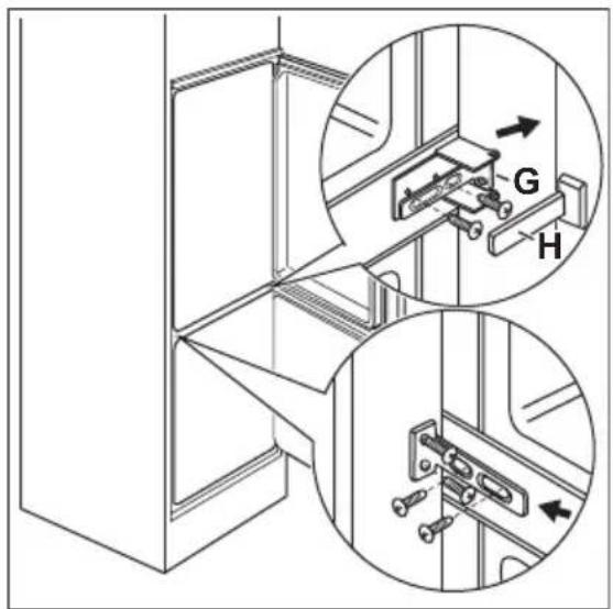
Connect the appliance laterally to the kitchen furniture sidewall:
- Loosen the screws of the part (G) and move the part (G) till the furniture sidewall.
- Tighten the screws of the part (G) again.
- Attach the part (H) to the part (G).

text_image
Hb Ha Hc HdDisconnect the parts (Ha), (Hb), (Hc) and (Hd).

text_image
ca. 50 mm 90° 21 mm 90° ca. 50 mm 21 mmInstall the part (Ha) on the inner side of the kitchen furniture door.

text_image
Ha HcPush the part (Hc) on the part (Ha).

text_image
8 mm Ha Hb
text_image
8 mm K Ha
text_image
HbOpen the appliance door and the kitchen furniture door at an angle of 90^ .
Insert the small square (Hb) into guide (Ha).
Put together the appliance door and the furniture door and mark the holes.
Remove the brackets and mark a distance of 8 mm from the outer edge of the door where the nail must be fitted (K).
Place the small square on the guide again and fix it with the screws supplied.
Align the kitchen furniture door and the appliance door by adjusting the part (Hb).

text_image
Hb HdPress the part (Hd) on the part (Hb). Do a final check to make sure that:
- All screws are tightened.
- The sealing strip is attached tightly to the cabinet.
• The door opens and closes correctly.
ENVIRONMENTAL CONCERNS
The symbol ☒ on the product or on its packaging indicates that this product may not be treated as household waste. Instead it should be taken to the appropriate collection point for the recycling of electrical and electronic equipment. By ensuring this product is disposed of correctly, you will help prevent potential negative
consequences for the environment and human health, which could otherwise be caused by inappropriate waste handling of this product. For more detailed information about recycling of this product, please contact your local council, your household waste disposal service or the shop where you purchased the product.
SOMMAIRE
natural_image
Two abstract symbols: a black circle with a horizontal line and a warning symbol with exclamation mark (no text or labels)natural_image
Line drawing of a hand holding a wooden plank next to a shelf (no text or symbols)natural_image
Technical line drawing of a door frame with a scroll and handle, showing an upward arrow (no text or symbols)natural_image
Diagram showing a hand holding a tool inside a circular frame with rotational arrows, no text or symbols present.natural_image
Technical line drawing of a mechanical assembly with no visible text or symbolsnatural_image
Illustration of a hand using a tool to apply a brush to a surface, showing motion arrows (no text or symbols)natural_image
Technical diagram showing a mechanical assembly with a tool and two directional arrows indicating motion (no text or symbols)
natural_image
Technical line drawing of a mechanical clamp or bracket assembly (no text or symbols)text_image
Technical diagram showing mechanical assembly with labeled parts and directional arrows indicating motion or movement.Ventilation
text_image
Technical diagram illustrating a mechanical assembly with magnified views and dimension labelstext_image
Technical diagram of a mechanical component with labeled parts 1 and 2
text_image
4 mm 44 mm
natural_image
Technical line drawing of a structural frame with two magnified insets showing detail details (no text or symbols)natural_image
Isometric diagram of a rectangular block with a curved arrow indicating direction (no text or symbols)
text_image
Diagram illustrating a door lock mechanism with labeled components A through E, showing directional arrows and component placement.
text_image
Technical diagram showing mechanical assembly with labeled parts G and H, including two views of a cabinet or shelf structure.text_image
Hb Ha Hc Hd
text_image
ca. 50 mm 90° 21 mm 90° ca. 50 mm 21 mm
text_image
Ha Hc
text_image
8 mm Ha Hbtext_image
8 mm K Ha
text_image
Hb
text_image
Hb Hdnatural_image
Two abstract symbols: a black circle with a horizontal line and a warning sign with exclamation mark (no text or labels)natural_image
Line drawing of a hand holding a wooden plank next to a shelf (no text or symbols)natural_image
Line drawing of a door handle with a scroll and an arrow indicating direction (no text or symbols)natural_image
Illustration of a hand holding a tool inside a circular frame with rotational arrows, no text or symbols present.natural_image
Technical line drawing of a mechanical assembly with no visible text or symbolsnatural_image
Illustration of a hand using a tool to lift a textured object, with arrows indicating motion (no text or symbols)Schließen der Tür
natural_image
Technical diagram showing a mechanical assembly with a tool and two directional arrows indicating motion (no text or symbols)
natural_image
Technical line drawing of a mechanical clamp or bracket assembly (no text or symbols)
text_image
Technical diagram showing mechanical assembly with labeled parts and directional arrows indicating movement or assembly.text_image
Technical diagram illustrating a folding or retraction process with labeled parts and directional arrows
text_image
Technical diagram of a mechanical component with labeled parts 1 and 2natural_image
Technical line drawing of a structural frame assembly with two magnified views (no text or symbols)
natural_image
Isometric line drawing of a 3D rectangular block with a curved arrow pointing to its top surface (no text or symbols)text_image
Diagram illustrating five labeled mechanical components (A, B, C, D, E) in a refrigerator or appliance assembly with directional arrows indicating movement.
text_image
Technical diagram showing mechanical assembly with labeled parts G and H, including two views of a cabinet or shelf structure.
text_image
Hb Ha Hc Hdtext_image
8 mm Ha Hbtext_image
8 mm K Ha
text_image
Hb
EasyManual