Bluetooth Car Kit BTCC002 - Built-in kit Gembird - Free user manual and instructions
Find the device manual for free Bluetooth Car Kit BTCC002 Gembird in PDF.
Download the instructions for your Built-in kit in PDF format for free! Find your manual Bluetooth Car Kit BTCC002 - Gembird and take your electronic device back in hand. On this page are published all the documents necessary for the use of your device. Bluetooth Car Kit BTCC002 by Gembird.
USER MANUAL Bluetooth Car Kit BTCC002 Gembird
natural_image
Abstract logo design featuring a stylized arrow and 'GE' letters, no readable text or symbols beyond the graphic elements.GEMBIRD®

text_image
GEMBIRD® Bluetooth® Hands Free Speaker PhoneBLUETOOTH CAR KIT
- Bluetooth carkit with excellent full-duplex sound quality
- Multi-link technology: connect two devices simultaneously
• One-touch button for answering, rejecting and redial calls - Up to 7.5 hours talking time and 800 hours of standby time, without charging
• Working distance up to 10 meters
Specifications
- Bluetooth v2.1+ EDR
- Operating Frequency Band: 2.4GHz \~ 2.48GHz unlicensed ISM band
• RF power class II: working distance is up to 10 m - Integrated echo cancellation and Noise suppressor
• Built in speaker and microphone - Battery type: rechargeable lithium-polymer battery 3.7 VDC, 750 mAH
• Charging time: up to 3 hours
• Talk time: up to 7.5 hours
• Standby time: more than 800 hours - Car charger: input DC 12-24 VDC; output 5.0 ± 0.2 VDC up to 1 A; black color
• Dimensions: 118 x 47 x 15 mm

flowchart
graph TD
A["Speaker"] -->|USB/USB/F| B["Car"]
C["Speaker"] -->|USB/USB/F| B
D["Car"] -->|USB/USB/F| B
E["Switch"] -->|USB/USB/F| B
F["Switch"] -->|USB/USB/F| B
G["Switch"] -->|USB/USB/F| B
H["Switch"] -->|USB/USB/F| B
I["Switch"] -->|USB/USB/F| B
J["Switch"] -->|USB/USB/F| B
K["Switch"] -->|USB/USB/F| B
L["Switch"] -->|USB/USB/F| B
M["Switch"] -->|USB/USB/F| B
N["Switch"] -->|USB/USB/F| B
O["Switch"] -->|USB/USB/F| B
P["Switch"] -->|USB/USB/F| B
Q["Switch"] -->|USB/USB/F| B
R["Switch"] -->|USB/USB/F| B
S["Switch"] -->|USB/USB/F| B
T["Switch"] -->|USB/USB/F| B
U["Switch"] -->|USB/USB/F| B
V["Switch"] -->|USB/USB/F| B
W["Switch"] -->|USB/USB/F| B
X["Switch"] -->|USB/USB/F| B
Y["Switch"] -->|USB/USB/F| B
Z["Switch"] -->|USB/USB/F| B

flowchart
graph TD
A["Car with Battery"] -->|Battery charging| B["Electric Car"]
C["Electric Car with Battery"] -->|Discharge| D["Electric Car"]
B -->|Electric Car with Battery| E["Electric Car"]
D -->|Electric Car with Battery| F["Electric Car"]

flowchart
graph TD
A["Device"] -->|4 s| B["Sound Icon"]
A -->|8 s| C["Sound Icon"]
B --> D["Blue (Red)"]
B --> E["Blue (Red)"]
C --> F["Blue (Red)"]
C --> G["Blue (Red)"]
H["GEMBIRD"] --> I["Blue (Red)"]
H --> J["Blue (Red)"]
style A fill:#f9f,stroke:#333
style B fill:#ccf,stroke:#333
style C fill:#cfc,stroke:#333
style D fill:#ffc,stroke:#333
style E fill:#ffc,stroke:#333
style F fill:#fcc,stroke:#333
style G fill:#fcc,stroke:#333
④

flowchart
graph LR
A["Smartphone with Bluetooth Off"] --> B["Bluetooth Signal"]
B --> C["Light Bulb Signal"]
C --> D["Smartphone with Bluetooth On Device, Devices Not Connected"]
D --> E["Now discoverable"]
⑤

text_image
BTCC-001 PN 0000
flowchart
graph TD
A["6: Power"] --> B["Hand pointing to a Bluetooth Bands Free Speaker Phone (Blue)"]
B --> C["4s: Pulse icon"]
C --> D["Power icon"]
E["7: Ours"] --> F["Hand pointing to a Bluetooth Bands Free Speaker Phone (Red)"]
F --> G["4s: Pulse icon"]
G --> H["Ours icon"]
⑧

natural_image
Black and white icon of a telephone handset emitting sound waves (no text or symbols)
text_image
GEMBIRD® + - %⑨


text_image
GEMBIRD® + - e Bluetooth I Am On Free Speaker Phone⑩

natural_image
Symbolic image of a classic rotary telephone crossed out by a diagonal line, representing interference or signal (no text present)
text_image
GEMBIRD® Bluetooth® Hands Free Speaker Phone + - 0.1 2 s⑪

natural_image
Close-up of a stylized eye with starburst effect and circular background (no text or symbols)
text_image
Icon showing a power button and a telephone with signal waves, likely representing wireless communication or notification.(Blue)


natural_image
Sequence of five starburst icons in a row, each containing a circle (no text or symbols)
(Blue) / (Red)

(Blue)
(Red)
(Blue)
(Red)
(Blue)
(Red)







(Blue)


natural_image
Three identical starburst patterns with circular eyes, arranged horizontally on a gray background (no text or symbols)
natural_image
Two battery icons with a diagonal line and a lightning bolt symbol (no text or labels)(Red)


natural_image
Five identical starburst icons with central circles, arranged horizontally (no text or symbols)
(Red)


natural_image
Sequence of five identical starburst icons with circular centers, arranged horizontally (no text or symbols)⑫

natural_image
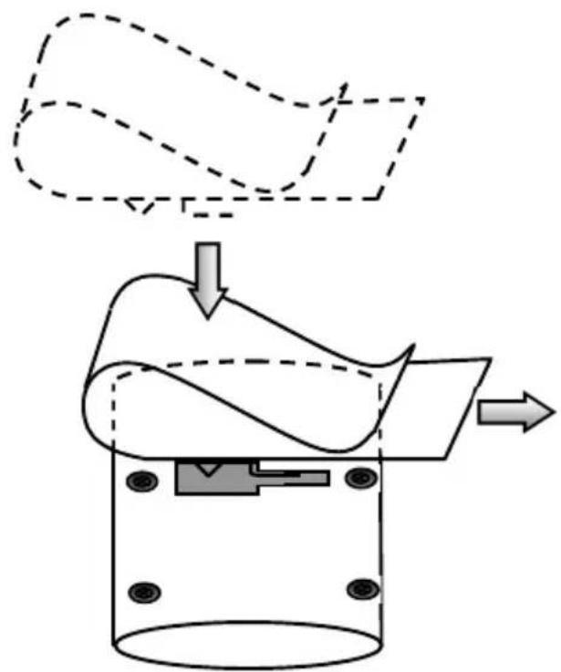
Diagram of a mechanical device with internal components and directional arrows, no text or symbols present
natural_image
Black eyeglasses with a curved, ribbon-like design on top (no text or symbols visible)
natural_image
Gray circular icon with an exclamation mark symbol (no text or numbers)
natural_image
Simple line drawing of a hand washing a box with water droplets falling (no text or symbols)
natural_image
Illustration showing a hand holding a tool, screwdriver, and a cross-shaped object with paper clips (no text or symbols)EC Declaration of Conformity
We hereby certify that the following product complies with all the relevant
Safety Requirements of § 4 EMVG and of the Directives 2006/95/EC; 93/68/EEC and 2004/108/EC.
Applicant :
Gembird Europe BV
Wittevrouwen 56,
1358CD, Almere, The Netherlands
Equipment :
Computer parts
BTCC-002
Model Nos. :
BTCC-002 Bluetooth v.2.1 + EDR car kit, class II
Product description :
European standards:
R&TTE ETSI 301489:2002; ETSI 30022:2000; 0 EN60950:2001;
The following manufacturer/WITHIN Europe is responsible for this declaration:
Gembird Europe BV
Wittevrouwen 56, 1358CD, Almere, The Netherlands
Tel: +31-(0)36-5211588. Fax: +31-(0)36-5347835
Director
The Netherlands / Oct. 31, 2011
Place and Date

Authorized signature
Waste disposal:

Do not deposit this equipment with the household waste. Improper disposal can harm both the environment and human health. For Information about waste collection facilities for used electrical and electronic devices, please contact your city council or an authorized company for the disposal of electrical and electronic equipment.
EasyManual