SC302BL - Dishwasher LADEN - Free user manual and instructions
Find the device manual for free SC302BL LADEN in PDF.
Download the instructions for your Dishwasher in PDF format for free! Find your manual SC302BL - LADEN and take your electronic device back in hand. On this page are published all the documents necessary for the use of your device. SC302BL by LADEN.
USER MANUAL SC302BL LADEN
- This appliance is intended to be used in household and similar applications such as
- staff kitchen areas in shops, offices and other working environments;
- farm houses and by clients in hotels, motels and other residential type environments;
- bed and breakfast type environments.
To ensure best use of your appliance, carefully read the operating instructions which contain a description of the product and useful advice. Keep these instructions for future reference.
I. After unpacking the appliance, make sure it is not damaged and that the door closes properly. Any damage must be reported to the dealer within 24 hours of delivery of the appliance.
2. Wait at least two hours before switching the appliance on, to ensure that the refrigerant circuit is fully efficient.
3. Installation and the electrical connection must be carried out by a qualified technician according to the manufacturer's instructions and in compliance with the local safety regulations.
4. Clean the inside of the appliance before using it.
SAFEGUARDING THE ENVIRONMENT
1. Packing
The packing material is 100% recyclable and bears the recycling symbol. For disposal, comply with the local regulations. Keep the packing materials (plastic bags, polystyrene parts, etc.) out of the reach of children, as they are a potential source of danger.
2. Scrapping/Disposal
The appliance is manufactured using recyclable material.
This appliance is marked in compliance with European Directive 2002/96/EC on Waste Electrical and Electronic Equipment (WEEE). By ensuring the correct disposal of this appliance, you can help prevent potentially negative consequences for the environment and the health of persons.
The symbol on the appliance, or on the accompanying documents, indicates that this appliance should not be treated as domestic waste but must be taken to a special collection centre for the recycling of electrical and electronic equipment. When scrapping the appliance, make it unusable by cutting off the power cable and removing the doors and shelves so that children cannot easily climb inside and become trapped.
Scrap the appliance in compliance with local regulations on waste disposal, taking it to a special collection centre; do not leave the appliance unattended even for a few days, since it is a potential source of danger for children.
For further information on the treatment, recovery and recycling of this product, contact your competent local office, the household waste collection service or the shop where you purchased the appliance.
Information:
This appliance does not contain CFCs. The refrigerant circuit contains R134a (HFC) or R600a (HC) (see the rating plate inside the appliance).
Appliances with Isobutane (R600a): isobutane is a natural gas without environmental impact, but is flammable. Therefore, make sure the refrigerant circuit pipes are not damaged.
This product may contain Fluorinated Greenhouse Gases covered by the Kyoto Protocol; the refrigerant gas is inside a hermetically sealed system.
Refrigerant gas: R134a has a Global Warming Potential of (GWP) 1300.
Declaration of conformity
- This appliance has been designed for preserving food and is manufactured in compliance with Regulation (CE) No. 1935/2004.

-
This appliance has been designed, manufactured and marketed in compliance with:
-
safety objectives of the "Low Voltage" Directive 2006/95/CE (which replaces 73/23/CEE and subsequent amendments);
- the protection requirements of Directive "EMC" 2004/108/EC.
Electrical safety of the appliance can only be guaranteed if it is correctly connected to an approved earthing system.

CLEANING, SANITIZATION AND MAINTENANCE OF THE ICE AND/OR WATER DISPENSER (if present)
Failure to follow the instructions regarding sanitizing can compromise the hygienic safety of the water dispensed.
- When using the appliance for the first time and every time the filter is changed, discard the first 9-14 litres of water, equivalent to 6-7 minutes of dispensing (not necessarily consecutive, but before initial consumption) and discard the ice produced in the first 24 hours.
- If the water dispenser has not been used for more than 4/5 days, it is advisable to clean the circuit and run off the first litre of water.
- Reposition the removable water dispenser (if present), ensuring your hands are hygienically clean.
-
Clean the ice bucket or drawer regularly but using only drinking water.
-
The filter must be changed when indicated on the control panel or when the ice/water dispenser has not been used for more than 30 days.
- With each filter replacement, sanitise the ice and/or water distribution system using a food grade disinfectant (with sodium hypochlorite), which does not alter the characteristics of the materials, or use the "Sanitising Kit" available from the After-Sales Service. Rinse with at least 2 litres of water before use.
- Only original spare parts supplied by the manufacturer should be used when replacing components in the ice and water dispenser.
- Any work on the appliance must be carried out by a qualified technician or the After-sales Service.
PRECAUTIONS AND GENERAL RECOMMENDATIONS
INSTALLATION
- The appliance must be handled and installed by two or more persons.

- Be careful not to
damage the floors (e.g. parquet) when moving the appliance.
- During installation, make sure the appliance does not damage the power cable.
- Make sure the appliance is not near a heat source.
- To guarantee adequate ventilation, leave a space on both sides and above the appliance and follow the installation instructions.
- Keep the appliance ventilation openings free.
- Do not damage the appliance refrigerant circuit pipes.
Install and level the appliance on a floor strong enough to take its weight and in a place suitable for its size and use. - Install the appliance in a dry and well-ventilated place. The appliance is arranged for operation in places where the temperature comes within the following ranges, according to the climatic class given on the rating plate. The appliance may not work properly if it is left for a long time at a temperature outside the specified range.
| Climatic Class | Amb. T. (℃) | Amb. T. (℉) |
| SN | From 10 to 32 | From 50 to 90 |
| N | From 16 to 32 | From 61 to 90 |
| ST | From 16 to 38 | From 61 to 100 |
| T | From 16 to 43 | From 61 to 110 |
- Make sure the voltage specified on the rating plate corresponds to that of your home.
- Do not use single/multi adapters or extension cords.
- For the water connection, use the pipe supplied with the new appliance; do not reuse that of the previous appliance.
- Power cable modification or replacement must only be carried out by qualified personnel or by After-sales Service.
- It must be possible to disconnect the appliance from the power supply by unplugging it or by means of a mains two-pole switch installed upstream of the socket.
SAFETY
- Do not store explosive substances such as aerosol cans with a flammable propellant in this appliance.
- Do not store or use petrol, flammable liquids or gas in the vicinity of this or other electrical
appliances. The fumes can cause fires or explosions.
- Do not use mechanical, electric or chemical means other than those recommended by the Manufacturer to speed up the defrost process.
- Do not use or place electrical devices inside the appliance compartments if they are not of the type expressly authorised by the Manufacturer.
- This appliance is not intended for use by persons (including children) with reduced physical, sensory or mental capabilities, or lack of experience and knowledge, unless they have been given supervision or instruction concerning use of the appliance by a person responsible for their safety.
- To avoid the risk of children becoming trapped and suffocating, do not allow them to play or hide inside the appliance.
- Do not swallow the contents (non-toxic) of the ice packs (in some models).
- Do not eat ice cubes or ice lollies immediately after taking them out of the freezer since they may cause cold burns.
USE
- Before carrying out any maintenance or cleaning operation, unplug the appliance or disconnect it from the power supply.
- All appliances equipped with an automatic icemaker and water dispenser must be connected to a water supply that only delivers drinking water (with mains water pressure of between 0.17 and 0.81 Mpa (1.7 and 8.1 bar)). Automatic ice-makers and/or water dispensers not directly connected to the water supply must be filled with drinking water only.
- Use the refrigerator compartment only for storing fresh food and the freezer compartment only for storing frozen food, freezing fresh food and making ice cubes.
- Do not store glass containers with liquids in the freezer compartment since they may break.
- Avoid storing unwrapped food in direct contact with internal surfaces of the refrigerator or freezer compartments.
The Manufacturer declines any liability if the above advice and precautions are not respected.
RECOMANDATION IN CASE OF NO USE OF THE APPLIANCE
Short vacation
There is no need to disconnect the appliance from the power supply if you will be away for less than three weeks. Use up perishable food, freeze other food.
If your appliance has an automatic ice maker:
- Turn it off.
- Shut off the water supply to the automatic ice maker.
- Empty the ice bucket.
Long vacation
Remove all the food if you are going away for three weeks or more. If your appliance has an automatic ice maker:
I. Turn it off.
2. Shut off the water supply to the automatic icemaker at least a day before.
3. Empty the ice bucket.
Fix some wooden or plastic wedges to the upper part of both doors with adhesive tape and leave the doors open enough for air to circulate inside both compartments. This will prevent odour and mould from setting in.
Moving
I. Take out all internal parts.
2. Wrap them well, and fix them together with adhesive tape so that they do not bang together or get lost.
3. Screw the adjustable feet so that they do not touch the support surface.
4. Close and fix both doors with adhesive tape and, again using adhesive tape, fix the power cable to the appliance.
Power failure
In the event of a power failure, call the local office of your electricity supply company and ask how long it is going to last. Note: Bear in mind that a full appliance will stay cold longer than a partially filled one.
If ice crystals are still visible on the food, it may be frozen again, although flavour and aroma may be affected.
If food is found to be in a poor condition, it is best to throw it away.
For power failures lasting up to 24 hours.
- Keep both doors of the appliance closed. This will allow the stored food to stay cold as long as possible.
For power failures lasting more than 24 hours.
- Empty the freezer compartment and arrange the food in a portable freezer. If this type of
freezer is not available and, likewise, no artificial ice packs are available, try to use up the food, which is more easily perishable.
- Empty the ice bucket.
MAINTENANCE AND CLEANING
Before any cleaning or maintenance operation, unplug the appliance from the mains or disconnect the electrical power supply.
Periodically clean the appliance with a cloth and a solution of lukewarm water and neutral detergent specifically for refrigerator interiors.
Never use detergents or abrasives. Never clean refrigerator parts with flammable fluids. The fumes can create a fire hazard or explosion.
Clean the outside of the appliance and the door seal with a damp cloth and dry with a soft cloth.
Do not use steam cleaners.
Clean the condenser using a vacuum cleaner, proceeding as follows: remove the front plinth (see installation manual) and proceed to clean the condenser.
Important:
- The buttons and control panel display must not be cleaned with alcohol or alcohol-derived substances, but with a dry cloth.
- The refrigeration system pipes are located near the defrost pan and can become hot. Periodically clean them with a vacuum cleaner.
REPLACING THE BULB
Always disconnect the appliance from the power supply before replacing any light bulbs.
How to replace the refrigerator compartment bulb.
- In some models a special bulb is used
- The bulb should not exceed 15W
- Bulb change instruction is put in the chart (PRODUCT SHEET)
TROUBLESHOOTING GUIDE
Before contacting After-sales Service...
Performance problems often result from little things you can find and fix yourself without tools of any kind.
Noises coming from your appliances are normal since it has a number of fans and engines to regulate performances that switch on and off automatically.
Some of the functional noises can be reduced through
-
Levelling the appliance and installing it on an even surface
-
Separating and avoiding contact between the appliance and furniture.
- Checking if the internal components are correctly placed.
- Checking if bottles and containers are not in contact with each other.
Some of the functional noises you might hear:
A hissing sound when switching on the appliance for the first time or after a long pause.
A gurgling sound when refrigerant fluid enters into the pipes.
Buzzing sound when water valve or fan start working.
A cracking sound when compressor starts or when ready ice drops into ice box Abrupt clicks when compressor switches on and off.
Automatic Ice maker noises (on some models):
- Since your appliance has an automatic ice maker, you may hear buzzing (from the water valve), trickling water and the clatter of the ice falling into the bucket.
The appliance is not working:
Is the power cable plugged into a live socket with the proper voltage?
- Have you checked the protection devices and fuses of the electrical system in your home?
If your automatic ice maker does not work (on some models):
- Has the freezer had enough time to become cold? With a new appliance this may take overnight.
Is the automatic ice maker ON/OFF button set to ON? - Make sure the lever of the automatic ice maker, inside the freezer compartment, is not turned to OFF, i.e. in the horizontal position (on some models).
Is the water turned on? Is water getting to the automatic ice maker? - Is there a water filter installed on the appliance (on some models)? This filter may be clogged or installed incorrectly. First, check the filter installation instructions to ensure that the filter was installed correctly and is not clogged. If installation or clogging is not a problem, call a qualified person or a technician.
If there is water in the defrost pan:
- This is normal in hot, damp weather. The pan can even be half full. Make sure the appliance is level so that the water does not overflow.
If the edges of the appliance cabinet, which come in contact with the door seal, are warm to the touch:
- This is normal in hot weather and when the compressor is running.
If the light does not work:
- Have you checked the protection devices and fuses of the electrical system in your home?
Is the power cable plugged into a live socket with the proper voltage? - Has the light bulb burnt out?
In the case of burnt-out bulbs:
I. Always unplug the appliance from the mains.
2. See chapter "Maintenance and Cleaning".
If the motor seems to run too much:
Is the condenser free of dust and fluff?
- Are the doors properly closed?
- Are the door seals properly fitted?
- On hot days or if the room is warm, the motor naturally runs longer.
- If the appliance door has been left open for a while or if large amounts of food have been stored, the motor will run longer in order to cool down the interior of the appliance.
- Motor running time depends on different things: number of door openings, amount of food stored, temperature of the room, setting of the temperature controls.
If the appliance temperature is too high:
- Are the appliance controls correctly set?
- Has a large amount of food been added to the appliance?
- Check that the doors are not opened too often.
- Check that the doors close properly.
- Make sure that air flow vents inside the compartment are not blocked, as this prevents the circulation of cold air.
If there is moisture build-up:
Make sure that air flow vents inside the compartment are not blocked, as this prevents the circulation of air.
- Make sure that the food is properly packaged. Dry any dampness on food containers before placing them in the appliance.
- Check that the doors are not opened too often. When the door is opened, humidity from the room air enters the appliance. The more often the door is opened, the faster humidity builds up, especially when the room itself is very humid.
- If the room is very humid, it is normal for moisture to build up inside the refrigerator.
If the doors do not open and close properly:
- Check that food packages are not blocking the door.
- Check that the internal parts or automatic ice maker are not out of position.
- Check that the door seals are not dirty or sticky.
- Ensure the appliance is level.
AFTER-SALES SERVICE
Before contacting After-Sales Service:
Switch the appliance on again to see if the problem has been solved. If it has not, disconnect the appliance from the power supply and wait for about an hour before switching on again. If, after performing the checks described in the Troubleshooting Guide and switching the appliance on again, your appliance still does not work properly, contact the After-sales Service, explain the problem.
Specify:
-
the model and appliance serial number (stated on the rating plate),
the nature of the problem, -
the Service number (the number after the word SERVICE on the data plate on the inside of the appliance),
- your full address,
- your telephone number and area code.
SERVICE
0000 000 00000

Note:
The direction of door opening can be changed. If this operation is performed by After-sales Service it is not covered by the warranty.
ELECTRICAL CONNECTION FOR GREAT BRITAIN AND IRELAND ONLY
Warning - this appliance must be earthed
Fuse replacement
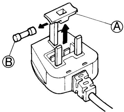
If the mains lead of this appliance is fitted with a BS I363A I3amp fused plug, to change a fuse in this type of plug use an A.S.T.A. approved fuse to BS I362 type and proceed as follows:

- Remove the fuse cover (A) and fuse (B).
- Fit replacement I3A fuse into fuse cover.
- Refit both into plug.
Important:
The fuse cover must be refitted when changing a fuse and if the fuse cover is lost the plug must not be used until a correct replacement is fitted.
Correct replacement are identified by the colour insert or the colour embossed in words on the base of the plug.
Replacement fuse covers are available from your local electrical store.
For the Republic of Ireland only
The information given in respect of Great Britain will frequently apply, but a third type of plug and socket is also used, the 2-pin, side earth type.
Socket outlet / plug (valid for both countries)
If the fitted plug is not suitable for your socket outlet, please contact After-sales Service for further instruction. Please do not attempt to change plug yourself. This procedure needs to be carried out by a qualified technician in compliance with the manufactures instructions and current standard safety regulations.
EasyManual