EWL1AX - Heat lamp ELECTROLUX - Free user manual and instructions
Find the device manual for free EWL1AX ELECTROLUX in PDF.
User questions about EWL1AX ELECTROLUX
0 question about this device. Answer the ones you know or ask your own.
Ask a new question about this device
Download the instructions for your Heat lamp in PDF format for free! Find your manual EWL1AX - ELECTROLUX and take your electronic device back in hand. On this page are published all the documents necessary for the use of your device. EWL1AX by ELECTROLUX.
USER MANUAL EWL1AX ELECTROLUX
WE'RE THINKING OF YOU
Thank you for purchasing an Electrolux appliance. You've chosen a product that brings with it decades of professional experience and innovation. Ingenious and stylish, it has been designed with you in mind. So whenever you use it, you can be safe in the knowledge that you'll get great results every time.
Welcome to Electrolux.
Visit our website for:

Get usage advice, brochures, trouble shooter, service information: www.electrolux.com

Register your product for better service: www.electrolux.com/productregistration

Buy Accessories, Consumables and Original spare parts for your appliance: www.electrolux.com/shop
CUSTOMER CARE AND SERVICE
We recommend the use of original spare parts.
When contacting Service, ensure that you have the following data available. The information can be found on the rating plate. Model, PNC, Serial Number.

Warning / Caution-Safety information

General information and tips

Environmental information
Subject to change without notice.
1. SAFETY INFORMATION
Before the installation and use of the appliance, carefully read the supplied instructions. The manufacturer is not responsible if an incorrect installation and use causes injuries and damages. Always keep the instructions with the appliance for future reference.
1.1 Children and vulnerable people safety

WARNING!
Risk of suffocation, injury or permanent disability. Electric shock.
- This appliance can be used by children aged from 8 years and above and persons with reduced physical, sensory or mental capabilities or lack of experience and knowledge if they are supervised by an adult or a person who is responsible for their safety.
- Do not let children play with the appliance.
- Keep all packaging away from children.
- Keep children and pets away from the appliance when it operates or when it cools down. Accessible parts are hot.
- If the appliance has a child safety device, we recommend that you activate it.
- Cleaning and user maintenance shall not be made by children without supervision.
1.2 General Safety
- Only a qualified person must install this appliance and replace the cable.
- Internally the appliance becomes hot when in operation. Do not touch the lamp that is in the appliance.
- Do not use a steam cleaner to clean the appliance.
-
Before maintenance cut the power supply.
-
Do not use harsh abrasive cleaners or sharp metals crapers to clean the glass door since they can scratch the surface, which may result in shattering of the glass.
- If the supply cord is damaged, it must be replaced by the manufacturer, an authorized Service or similarly qualified persons in order to avoid a hazard.
- Ensure that the appliance is switched off before replacing the lamp to avoid the possibility of electric shock.
- The handling of this device and of all other electrical devices requires the observance of some basic rules for your own safety as the following: don't expose the device to any weather influence as rain, etc.
WARNING!
During the switching on of the device high temperatures can be reached around the lamp.
Please check the surface before you start working there!
Don't put paper, cardboard, cloth, etc. between device and fireproof covering board, as they might catch fire.
During putting into operation insulation material may emit corresponding smells.
2. SAFETY INSTRUCTION
2.1 Installation

WARNING!
Only a qualified person must install this appliance.
- Remove all the packaging.
- Do not install or use a damaged appliance.
- Obey the installation instruction supplied with the appliance.
Always be careful when you move the appliance because it is heavy. Always wear safety gloves. - Keep the minimum distance from the
other appliances and units.
- Make sure that the appliance is installed below and adjacent safe structures.
- The appliance can not be placed in a niche of the ceiling or in a cavity.
2.2 Electrical connection

WARNING!
Risk of fire and electrical shock.
-
All electrical connections should be made by a qualified electrician.
-
The appliance must be earthed.
- Make sure that the electrical information on the rating plate agrees with the power supply. If not, contact an electrician.
Always use a correctly installed shockproof socket. - Do not use multi-plug adapters and extension cables.
- Make sure not to cause damage to the mains plug and to the mains cable. Contact the Service or an electrician to change a damaged mains cable.
- The shock protection of live and insulated parts must be fastened in such away that it cannot be removed without tools.
- Connect the mains cable tips to the mains cable only at the end of the installation. Make sure that there is access to the mains plug after the installation.
- Use only correct isolation devices: line protecting cut-outs, fuses (screw type fuses removed from the holder), earth leakage trips and contactors.
- The electrical installation must have an isolation device which lets you disconnect the appliance from the mains at all poles. The isolation device must have a contact opening width of minimum 3 mm.
- In case of care and maintaining works disconnect device from the electric circuit by switch ing off the main switch or quitting the voltage of the power supply.
- Connect heat lamp by means of safety plug to power supply system. Device is ready for operation.
Connected load: 240V, 250W
2.3 Use

WARNING!
Risk of injury, burns or electric shock or explosion.
- Always ensure during the use that the worktop is protected from direct contact with the light of the lamp (i.e. ceramic dish, etc...)
Device serves to keep warm food-short termed. - Warm keeping temperature depends on the distance between lamp and food.
The appliance is equipped with 250W
bulbs.
- Use this appliance in a household environment.
- Do not change the specification of this appliance.
Make sure that the ventilation openings are not blocked. - Do not let the appliance stay unattended during operation.
- Deactivate the appliance after each use.
- Do not operate the appliance with wet hands or when it has contact with water.
- Do not use the appliance as a work surface or as a storage surface.
- Do not put flammable products or items that are wet with flammable products in, near or on the appliance.

WARNING!
Risk of damage to the appliance.
- Don't touch hot bulb with unprotected hands.
- Do not cover device while heating.
2.4 Internal light
- The type of light bulb used for this appliance, is only to keep food warm. Do not use it for house lighting.

WARNING!
Risk of electric shock.
- Before replacing the lamp, turn off the appliance from the power supply.
- Only use lamps with the same specifications.
2.5 Disposal

WARNING!
Risk of injury or suffocation.
- Disconnect the appliance from the mains supply.
- Cut off the mains cable and discard it.
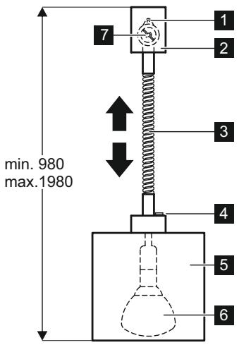
3. PRODUCT DESCRIPTION

1 Installing hole
Cover plate
3 Slip wire
4 Power switch
5 Lampshade
6 Heating lamp
7 Tension regulating
4. USE

WARNING!
Refer to the Safety chapters.

Put the plate with the food to keep warm underneath the lamp.
Lower down the lamp till 40~cm above the plate and switch on the lamp.
This distance from the plate will ensure to keep food warm.
For lower temperatures just rise up the warming lamp to your needs.
For gentle Defrost rise up the lamp to 70 cm from the plate.

Always ensure during the use that the worktop is protected from direct contact with the light of the lamp (i.e. ceramic dish, etc...)

Lamp must be used only above the food for a max period of 10/15 minutes to avoid the risk to overdry the food.

Do not position the lamp less than 30~cm above the plate. Risk to overcook the food.

Do not position the lamp less than 30 cm above the working top.

Risk to damage the worktop.
Do not leave the lamp unattended when On.
5. CARE AND CLEANING

WARNING!
Refer to the Safety chapters.
- Clean the front of the appliance with a soft cloth with warm water and a cleaning agent.
- To clean metal surfaces use a usual cleaning agent.
- Cleaning and maintenance should only be carried out by a competent person under the strict supervision of an adult. Never use abrasive cleaning materials on the appliance.

Stainless steel or aluminium appliances:
Clean the lamp with a wet sponge only. Dry it with a soft cloth.
Do not use steel wool, acids or abrasive materials, as they can cause damage to the lamp surface. Clean the control panel with the same precautions.
5.1 Removing the lamp

WARNING!
Be careful when you change the lamp. There is a risk of electrical shock.
- Disconnect the appliance with power switch (4).
- Unscrew with care counter clock wise the lamp.
- Screw clock wise the lamp and clean the transparent part with care.
6. WHAT TO DO IF...

WARNING!
Refer to the Safety chapters.
| Problem | Possible cause | Remedy |
| The lamp does not operate. | The lamp is defective. | Replace the lamp. |
| The switch does not operate. | The switch is defective. | Call the Service. |
| If you cannot find a solution to the problem yourself, contact your dealer or the service centre. | The necessary data for the service centre is on the rating plate. The rating plate is in the inner part of the lamp. | |
| We recommend that you write the data here: Model (MOD.) Product number (PNC) Serial number (S.N.) | ............................ ............................ ............................ ............................ | |
7. INSTALLATION
Weight of the lamp: 3 kg
Maximum pull strength: 20 kg

WARNING!
The person who is mounting the lamp should make sure that the fixing elements are right and suitable for the walls and ceiling he finds. The manufacturer declines any responsibility for damages caused by incorrect mounting.

WARNING!
Refer to the Safety chapters.
7.1
Make sure that the worktop below the lamp is made of an incombustible material not printed or painted.
Real wood and artificial worktop material can show colour changes if in direct contact with the light of the lamp.
7.2 Electrical installation

WARNING!
Only a qualified person must do the electrical installation.

The manufacturer is not responsible if you do not follow the safety precautions from the chapter "Safety Information".
7.3 Cable
Cable types applicable for installation or replacement: H07 RN-F, H05 RN-F, H05RRF, H05VV-F, H05V2V2-F (T90), H05BB-F.
For the section of the cable refer to the total power (on the rating plate) and to the table:
| Total power | Section of the cable |
| maximum 250W | 3 x 1 mm² |
The earth cord (green / yellow cable) must be 2 cm longer than phase and neutral cables (blue and brown cables).
7.4 Safety distance
Keep a minimum distance of 40~cm from the center of the warming lamp to any flammable, backprinted or backpainted surfaces.

8. ENVIRONMENT CONCERNS
Recycle the materials with the symbol .Put the packaging in applicable containers to recycle it.
Help protect the environment and human health and to recycle waste of electrical
and electronic appliances. Do not dispose appliances marked with the symbol with the household waste. Return the product to your local recycling facility or contact your municipal office.
SOMMAIRE
- CONSIGNES DE SECURITÉ 10
- INSTRUCTIONS DE SECURITE 12
3.DESCRIPTION DE L'APPAREIL 13 - UTILISATION 14
- ENTRETIEN ET MAINTENANCE 14
- GUIDE DE DÉPANNAGE 15
- INSTALLATION 15
- EN MATIERE DE PROTECTION DE L'ENVIRONNEMENT 16
EasyManual