EWL1AX - Lampada riscaldante ELECTROLUX - Manuale utente e istruzioni gratuiti
Trova gratuitamente il manuale del dispositivo EWL1AX ELECTROLUX in formato PDF.
Domande degli utenti su EWL1AX ELECTROLUX
0 domanda su questo apparecchio. Rispondi a quelle che conosci o fai la tua.
Fai una nuova domanda su questo apparecchio
Scarica le istruzioni per il tuo Lampada riscaldante in formato PDF gratuitamente! Trova il tuo manuale EWL1AX - ELECTROLUX e riprendi in mano il tuo dispositivo elettronico. In questa pagina sono pubblicati tutti i documenti necessari per l'utilizzo del tuo dispositivo. EWL1AX del marchio ELECTROLUX.
MANUALE UTENTE EWL1AX ELECTROLUX
Rischio di scosse elettriche.
- INFORMAZIONI PER LA SICUREZZA 18
- ISTRUZIONI DI SICUREZZA 20
- DESCrizIONE DEL PRODOTTO 21
- UTILIZZO 22
5.PULIZIA E CURA 22 - RISOLUZIONE DEI PROBLEMI 23
- INSTALLAZIONE 23
- ASPETTI AMBIENTALI 24
PENSATI PER VOI
Grazie per aver acquistato un'apparecchiatura Electrolux. Avete scelto un prodotto che ha alle spalle decenni di esperienza professionale e innovazione. Ingegnoso ed elegante, è stato progettato pensando a voi. Quindi, in qualsiasi momento desiderate utilizzarlo, potete esser certi di ottenero sempre i migliorori risultati.
Benvenuti in Electrolux.
Visitate il nostro site web per:

Ricevere consigli, scaricare i nostri opuscoli, eliminare eventuali anomalie, ottenere informazioni sull'assistenza.
www.electrolux.com

Registrar il vosto prodotto e ricevere un servizio migliorare: www.electrolux.com/productregistration

Acquistare accessori, materiali di consumo e ricambi originali per la vostra apparecchiatura: www.electrolux.com/shop
SERVIZIO CLIENTI E MANUTENZIONE
Consigliamo sempre l'impiego di ricambi originali.
Quando si contatta l'Assistenza, accertarsi di disporre dei seguenti dati.
Le informazioni si trovano sulla targhetta di identificazione. Modello, numero dell'apparecchio (PNC), numero di serie.

Avverenza / Attenzione - Importanti Informazioni di Sicurezza
Informazioni e consigli generali

Informazioni in materia di sicurezza ambientale
Con riserva di modifiche.
1. INFORMAZIONI PER LA SICUREZZA
Leggere attendamente le istruzioni fornite prima di installare e utilizzato l'apparecchiatura. Il produttore non è responsabile se un'installazione ed un uso non corretto dell'apparecchiatura provocano lesioni e danni. Tenere sempre le istruzioni a portata di mano in caso di necessità durante l'utilizzo.
1.1 Sicurezza dei bambini e delle persone vulnerabili

ATTENZIONE!
Rischio di soffocamento, lesioni o invalidità permanente.
- Questa apparecchiatura既可以 essere usata da bambini a partire dagli 8 anni e da adulti con limitate disponibilità fisiche, sensoriali o mentali o con scarsa esperienza o conoscenza sull'uso dell'apparecchiatura, se sorvegliati o se sono stati istruiti relativamente all'uso dell'apparecchiatura e hanno capito i rischi coinvolti.
- Non consentire ai bambini di giocare con l'apparecchiatura.
- Tenere i materiali di imballaggio al di fuori della portata dei bambini.
- Tenere i bambini e gli animali domestici lontano dall'apparecchiatura durante il funzionamento o raffreddamento. Le parti accessibili sono incandescenti.
- Se l'apparecchiatura dispone di un dispositivo di sicurezza per i bambini, consigliamo di attivarlo.
- La pulizia e gli interventi di manutenzione non devono essere eseguiti dai bambinienza supervisione.
1.2 Avverenze di sicurezza generali
-
L'installazione dell'apparecchiatura e la sostituzione del cavo devono essere svolte unicamente da personale qualificato.
-
All'interno l'apparecchiatura si scalda nelle est in funzione. Non toccare la lampada dell'apparecchiatura.
- Prima di eseguire qualsiasi intervento di manutenzione, scollegare l'apparecchiatura alla rete elettrica.
- Assicurarsi che l'apparecchiatura sia spenta prima di sostituire la lampadina per evitare la possibilità di scosse elettriche.
- Non usare una pulitrice a vapore per pulire l'apparecchiatura.
- Non utilizzato detergenti abrasivi o raschietti di metallo per pulire il vetro della porta per non rigare la superficie e causare la rottura del vetro.
- Se il cavo di alimentazione è danneggiato, deve essere sostituito dal produttore, da un technique autorizzato o da una persona qualificata per evitare situazioni di pericololo.
- Maneggiare ed utilizzato quello prodotto come tutti gli altri prodotti elettrici osservando la segunte regola per la propria sicurezza: non esporre il prodotto a nessuna influenza ambientale (pioggia, etc).

ATTENZIONE!
Durante il funzionamento la lampada raggiunge alte temperature.
Assicurarsi che il calore emesso dall'apparecchiatura non entri mai in fatto diretto con la superficie di lavoro.
Rischio deterioramento superficie.
Non introdurre carta, cartone, stracci, materiale plastico o materiale infammabile tra la lampada e il portalampada poiché tale materiale potrebbe incendiarsi.
Durante il primo utilizzato, l'apparecchiatura potrebbe emettere cattivi odori.
2. ISTRUZIONI DI SICUREZZA
2.1 Installazione

ATTENZIONE!
L'installazione dell'apparecchiatura deve essere svolta unicamente da personale qualificato.
- Rimuovere tutti i materiali di imballaggio.
Non installment e'utilizzare l'apparecchiatura se è danneggiata. - Attenersi alle istruzioni fornite insieme all'apparecchiatura.
- Prestare sempre attenzione in fase di spostamento dell'apparecchiatura, dato che è molto pesante. Indossare sempre di quanti di sicurezza.
- É necessario rispettore le distanze minime dalle autres apparecchiature.
- Assicurarsi che l'apparecchiatura sa installata molto e vicino a parti adeguamente anticorate a una struttura fissa.
L'apparecchiatura non deve essere installata in una nicchia del soffitto, né all'interno di una cavity.
2.2 Collegamento elettrico ATTENZIONE!

Rischio di incendio e scossa elettrica.
- Tutti i collegamenti elettrici dovrebbero essere realizzati da un elettricista qualificato.
- L'apparecchiatura deve disporre di una messa a terra.
- Verificare che i dati elettrici riportati sulla targhetta del modello corrispondano a quelli dell'impiano. In caso contrario, contattare un elettricista.
- Utilizzato sempre una presa antishock elettrico correttamente installata.
- Non utilizzato prese multiple e prolunghe.
- Accertarsi di non danneggiare la spina e il cavo. Qualora il cavo elettrico debba essere sostituito, l'intervento dovrà essere effettuato dal nostro Centro di assistenza autorizzato.
Servirsi unicamente di dispositivi di isolamento adeguati. Interruttori automatici, fusibili (quelli a tappo devono essere rimossi dal
portafusibile), sganciatori per correnti di guasto a terra e relé.
L'impiano elettrico delve essere dotato di un dispositivo di isolamento che consenta di scollegare l'apparecchiatura alla presa di corrente a tutti i poli. Il dispositivo di isolamento delve ave una larghezza dell'apertura di contatto non inferiore ai 3mm
- In caso di manutenzione, montaggio o smontaggio dell'apparecchiatura, scollegare l'interruttore principale di rete.
- Collegare l'apparecchiatura alla rete con morsetti o presa di sicurezza.
L'apparecchiatura è predisposta per funzionare con carico da 240V, 250W.
2.3 Utilizzo

ATTENZIONE!
Rischio di lesions, ustioni, scosse elettriche o esplosioni.
- Assicurarsi sempre durante l'uso che il piano di lavoro sa protetto dall'irradiazione diretta della lampada (i.e. piatto in ceramica).
- Il dispositorio serve per mantenere caldo il cibo per brevi periodi di tempo.
- La temperatura dipende alla distanza tra il pietto e l'apparecchiatura.
- La lampada ha una potenza di 250W.
Utilizzato l'apparecchiatura in un ambiente domestico. - Non apportare modifiche alle specifiche di esta apparecchiatura.
- Accertarsi che le fessure di ventilazione non siano ostruite.
Non lasciare mai l'apparecchiatura incustodita durante il funzionamento. - Specnere l'apparecchiatura dopo agli utilizzato.
Non mettere in funzione l'apparecchiatura con le mani umide o quando c'è un contatto con l'acqua.
Non appoggiare o tenere liquidi o materiali inflammabili, né oggetti lavoramente incendiabili sull'apparecchiatura, al suo interno o nelle immediate vicinanze.

ATTENZIONE!
Vi è il rischio di danneggiare l'apparecchiatura.
- Toccare la lampada solo con appositi quanti.
Non coprir il disposativo quando è in uso.
2.4 Lampada
- Le lampadine utilizzate in questa apparecchiatura sono lampade speciali per elettrodomestici. Non usarle per l'illuminazione di casa.

ATTENZIONE!
Rischio di scosse elettriche.
- Prima di sostituire la lampadina, spegnere l'interruttore (4).
- Servirsi unicamente di lampadine con le stesse specifiche tecniche.
2.5 Smaltimento

ATTENZIONE!
Rischio di lesions o soffocamento.
- Staccare la spina dall'alimentazione elettrica.
- Tagliare il cavo di rete e smaltirlo.
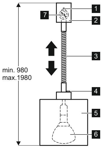
3. DESCrizIONE DEL PRODOTTO

1 Foro di anticoraggio
2 Calotta
3 Cavo allungabile
4 Pulsante accensione/spegnimento
5 Portalampada
6 Lampada
Regolatore di tensione
4. UTILIZZO

ATTENZIONE!
Fare riferimento ai capitoli sulla sicurezza.

Mettere il piatto con il cibo da mantenere caldo sotto l'apparecchiatura.
Abbassare l'apparecchiatura fino a circa 40 cm dal pietto ed accenderla.
Questa distanza assicurerà il mantenimento in caldo del cibo.
Per temperature più basse è simplicamente necessario sollevare l'apparecchiatura.
Per scongelare sollevare
l'apparecchiatura sino a circa 70 cm dal piatto.

Assicurarsi sempre durante l'uso, che il piano di lavoro sa protetto dall'irraggiamo diretto della lampada (i.e. piatto in ceramicica).

L'apparecchiatura deve essere usata unicamente per mantenere in caldo il cibo per brevi periodi di tempo (10/15 minuti).

Non posizionare
l'apparecchiatura a meno di 30 cm dal piano di lavoro. Rischio di seccare/asciugare il cibo.

Non posizionare
l'apparecchiatura a meno di 30 cm dal piano di lavoro. Rischio di danneggiare il piano di lavoro.

Non lasciare mai
l'apparecchiatura accesa sanza la presenza di qualcuno.
5. PULIZIA E CURA

ATTENZIONE!
Fare riferimento ai capitoli sulla sicurezza.
-
La pulizia e la manutenzione dell'apparecchiatura deve avvenire ad opera di persona competenti e con la supervisione di un attività.
-
Pulire l'apparecchiatura solo con una spugna umida e asciugare con un panno morbido.

Non usare lana di vetro, acidi o materiali abrasivi per la pulizia. Potrebbero causare danni alla superficie dell'apparecchiatura.
5.1 Rimozione lampada

ATTENZIONE!
Prestare attenzione quando si sostituisce la lampada. Pericolo di scosse!
- Spagnere l'apparecchiatura operando sull'interruttore (4).
- Svitare con delicatezza in senso antiorario la lampada alla sede.
- Avvitare in senso orario la lampada e pulire con cura la parte trasparente.
6. RISOLUZIONE DEI PROBLEMI

ATTENZIONE!
Fare riferimento ai capitoli sulla sicurezza.
| Problema | Possible causa | Rimedio |
| L'apparecchiatura non si accende. | La lampada è difettosa. | Sostituire la lampada. |
| Il pulsante accensione/spegnimento non funziona. | Il pulsante accensione/spegnimento è difettoso. | Contattare l'assistenza tecnica. |
| Se non trovi una soluzione ai problemi contatta il centro assistenza. | I dati necessari per il centro assistenza sono all'interno dell'apparecchiatura. | |
| Raccomandiamo di segnarsi i seguenti dati:Model (MOD.)Product number (PNC)Serial number (S.N.) | ............ | |
7. INSTALLAZIONE
Peso dell'apparecchiatura: 3 kg Massima portata cavo: 20 kg

ATTENZIONE!
Fare riferimento ai capitoli sulla sicurezza.

ATTENZIONE!
Assicurarsi che il fissaggio dell'apparecchiatura al soffitto sia fatto con elementi di anticoraggio adatti al tipo di soffitto. Il produttore declina qualiasi responsabilità per danni causati da un montaggio non corretto.
7.1
Assicurarsi che il piano di lavoro sia di materiale non infiammabile, né verniciato o stampato.
Alcuni materiali potrebbero col tempo scolorirsi se l'apparecchiatura fosse usata ripeturamente a diretto contatto con la superficie di lavoro.
7.2 Connessione elettrica

ATTENZIONE!
L'installazione deve avvenire ad opera di un tecnico qualificato.

Il produttore non è responsabile se non vengono rispetto le avventenze nei capitoli dedicati alla sicurezza.
7.3 Cavo
Tipi di cavo adatti per l'installazione o la sostituzione: H07 RN-F, H05 RN-F, H05RRF, H05 VV-F, H05 V2V2-F (T90), H05BB-F.
Per la sezione del cavo fare riferimento alla potenza totaleindicata nella targa matricola e nella seguente ravola:
| Potenza totale | Sezione del cavo |
| maximum 250W | 3 x 1 mm² |
Il cavo per la messa a terra (cavo verde/giallo) deve essere 2 cm più lungo dei cavi di fase e neutro (cavo blu e marrone).
7.4 Distanza di sicurezza
Mantenere una distanza minima di 40 cm dal centro della apparecchiatura a qualsi Superficie inflammabile, stampata o verniciata.

8. ASPETTI AMBIENTALI
Riciclare i materiali con il symbolo.
Buttare l'imballaggio negli apposti
contentitori per il ricismaggio.
Aiutare a proteggere l'ambiente e la
salute umana e a riciclare rifui di derivanti
da apparecchiature elettriche ed
elettroniche.
Non smaltire le appearecchiature che riportano il symbolo insieme ai normali rifiuti domestici. Portare il prodotto al punto di ricerclaggio più vicino o contattare il comune di residenza.

ManualeFacile