BEE455120M - Built-in oven AEG-ELECTROLUX - Free user manual and instructions

Find the device manual for free BEE455120M AEG-ELECTROLUX in PDF.

📄 32 pages English EN 💬 AI Question
Notice AEG-ELECTROLUX BEE455120M - page 3
View the manual : Français FR English EN

User questions about BEE455120M AEG-ELECTROLUX

0 question about this device. Answer the ones you know or ask your own.

Ask a new question about this device

L'email reste privé : il sert seulement à vous prévenir si quelqu'un répond à votre question.

No questions yet. Be the first to ask one.

Download the instructions for your Built-in oven in PDF format for free! Find your manual BEE455120M - AEG-ELECTROLUX and take your electronic device back in hand. On this page are published all the documents necessary for the use of your device. BEE455120M by AEG-ELECTROLUX.

USER MANUAL BEE455120M AEG-ELECTROLUX

Thank you for choosing this AEG product. We have created it to give you impeccable performance for many years, with innovative technologies that help make life simpler features you might not find on ordinary appliances. Please spend a few minutes reading to get the very best from it.

Visit our website for:

AEG-ELECTROLUX BEE455120M - 1

Get usage advice, brochures, trouble shooter, service information:

www.aeg.com/webselfservice

AEG-ELECTROLUX BEE455120M - 2

Register your product for better service:

www.registeraeg.com

AEG-ELECTROLUX BEE455120M - 3

Buy Accessories, Consumables and Original spare parts for your appliance:

www.aeg.com/shop

CUSTOMER CARE AND SERVICE

Always use original spare parts.

When contacting our Authorised Service Centre, ensure that you have the following data available: Model, PNC, Serial Number.

The information can be found on the rating plate.

Warning / Caution-Safety information
(1) General information and tips
Environmental information

Subject to change without notice.

1. SAFETY INFORMATION

Before the installation and use of the appliance, carefully read the supplied instructions. The

manufacturer is not responsible for any injuries or damages that are the result of incorrect installation or usage. Always keep the instructions in a safe and accessible location for future reference.

1.1 Children and vulnerable people safety

  • This appliance can be used by children aged from 8 years and above and persons with reduced physical, sensory or mental capabilities or lack of experience and knowledge if they have been given supervision or instruction concerning the use of the appliance in a safe way and understand the hazards involved.
    Children between 3 and 8 years of age and persons with very extensive and complex disabilities shall be kept away unless continuously supervised.
  • Children of less than 3 years of age should be kept away unless continuously supervised.
  • Do not let children play with the appliance.
  • Keep all packaging away from children and dispose of it appropriately.
  • Keep children and pets away from the appliance when it operates or when it cools down. Accessible parts are hot.
  • If the appliance has a child safety device, it should be activated.
  • Children shall not carry out cleaning and user maintenance of the appliance without supervision.

1.2 General Safety

  • Only a qualified person must install this appliance and replace the cable.
  • WARNING: The appliance and its accessible parts become hot during use. Care should be taken to avoid touching heating elements.
  • Always use oven gloves to remove or put in accessories or ovenware.
  • Before carrying out any maintenance, disconnect the appliance from the power supply.

  • Ensure that the appliance is switched off before replacing the lamp to avoid the possibility of electric shock.

  • Do not use a steam cleaner to clean the appliance.
  • Do not use harsh abrasive cleaners or sharp metal scrapers to clean the glass door since they can scratch the surface, which may result in shattering of the glass.
  • If the mains power supply cable is damaged, it must be replaced by the manufacturer, its Authorised Service Centre or similarly qualified persons to avoid an electrical hazard.
  • To remove the shelf supports first pull the front of the shelf support and then the rear end away from the side walls. Install the shelf supports in the opposite sequence.
  • The means for disconnection must be incorporated in the fixed wiring in accordance with the wiring rules.

2. SAFETY INSTRUCTIONS

2.1 Installation

AEG-ELECTROLUX BEE455120M - Installation - 1

WARNING!

Only a qualified person must install this appliance.

  • Remove all the packaging.
  • Do not install or use a damaged appliance.
  • Follow the installation instructions supplied with the appliance.
    Always take care when moving the appliance as it is heavy. Always use safety gloves and enclosed footwear.
  • Do not pull the appliance by the handle.
  • Keep the minimum distance from other appliances and units.
  • Install the appliance in a safe and suitable place that meets installation requirements.
  • The appliance is equipped with an electric cooling system. It must be operated with the electric power supply.

2.2 Electrical connection

AEG-ELECTROLUX BEE455120M - Electrical connection - 1

WARNING!

Risk of fire and electric shock.

  • All electrical connections should be made by a qualified electrician.
    The appliance must be earthed.
  • Make sure that the parameters on the rating plate are compatible with the electrical ratings of the mains power supply.
    Always use a correctly installed shockproof socket.
  • Do not use multi-plug adapters and extension cables.
  • Make sure not to cause damage to the mains plug and to the mains cable. Should the mains cable need to be replaced, this must be carried out by our Authorised Service Centre.
  • Do not let mains cables touch or come near the appliance door, especially when the door is hot.
  • The shock protection of live and insulated parts must be fastened in

such a way that it cannot be removed without tools.

  • Connect the mains plug to the mains socket only at the end of the installation. Make sure that there is access to the mains plug after the installation.
  • If the mains socket is loose, do not connect the mains plug.
  • Do not pull the mains cable to disconnect the appliance. Always pull the mains plug.
  • Use only correct isolation devices: line protecting cut-outs, fuses (screw type fuses removed from the holder), earth leakage trips and contactors.
  • The electrical installation must have an isolation device which lets you disconnect the appliance from the mains at all poles. The isolation device must have a contact opening width of minimum 3 mm.
  • This appliance complies with the E.E.C. Directives.

2.3 Use

AEG-ELECTROLUX BEE455120M - Use - 1

WARNING!

Risk of injury, burns and electric shock or explosion.

  • This appliance is for household use only.
  • Do not change the specification of this appliance.
    Make sure that the ventilation openings are not blocked.
  • Do not let the appliance stay unattended during operation.
  • Deactivate the appliance after each use.
  • Be careful when you open the appliance door while the appliance is in operation. Hot air can release.
  • Do not operate the appliance with wet hands or when it has contact with water.
  • Do not apply pressure on the open door.
  • Do not use the appliance as a work surface or as a storage surface.
  • Open the appliance door carefully. The use of ingredients with alcohol can cause a mixture of alcohol and air.

  • Do not let sparks or open flames to come in contact with the appliance when you open the door.

  • Do not put flammable products or items that are wet with flammable products in, near or on the appliance.

AEG-ELECTROLUX BEE455120M - WARNING! - 1

WARNING!

Risk of damage to the appliance.

  • To prevent damage or discoloration to the enamel:

  • do not put aluminium foil directly on the bottom of cavity of the appliance.

  • do not put water directly into the hot appliance.
  • do not keep moist dishes and food in the appliance after you finish the cooking.
  • be careful when you remove or install the accessories.

  • Discoloration of the enamel or stainless steel has no effect on the performance of the appliance.

  • Use a deep pan for moist cakes. Fruit juices cause stains that can be permanent.
  • This appliance is for cooking purposes only. It must not be used for other purposes, for example room heating.
    Always cook with the oven door closed.
  • If the appliance is installed behind a furniture panel (e.g. a door) make sure the door is never closed when the appliance is in operation. Heat and moisture can build up behind a closed furniture panel and cause subsequent damage to the appliance, the housing unit or the floor. Do not close the furniture panel until the appliance has cooled down completely after use.

2.4 Care and cleaning

AEG-ELECTROLUX BEE455120M - Care and cleaning - 1

WARNING!

Risk of injury, fire, or damage to the appliance.

  • Before maintenance, deactivate the appliance and disconnect the mains plug from the mains socket.

Make sure the appliance is cold. There is the risk that the glass panels can break.
- Replace immediately the door glass panels when they are damaged. Contact the Authorised Service Centre.
- Clean regularly the appliance to prevent the deterioration of the surface material.
- Clean the appliance with a moist soft cloth. Only use neutral detergents. Do not use any abrasive products, abrasive cleaning pads, solvents or metal objects.
If you use an oven spray, follow the safety instruction on it's packaging.
- Do not clean the catalytic enamel (if applicable) with any kind of detergent.

2.5 Internal lighting

AEG-ELECTROLUX BEE455120M - Internal lighting - 1

WARNING!

Risk of electric shock.

  • The type of light bulb or halogen lamp used for this appliance is for

3.PRODUCT DESCRIPTION

3.1 General overview

AEG-ELECTROLUX BEE455120M - General overview - 1

household appliances only. Do not use it for house lighting.

  • Before replacing the lamp, disconnect the appliance from the power supply.
  • Only use lamps with the same specifications.

2.6 Service

  • To repair the appliance contact an Authorised Service Centre.
  • Use original spare parts only.

2.7 Disposal

AEG-ELECTROLUX BEE455120M - Disposal - 1

WARNING!

Risk of injury or suffocation.

  • Disconnect the appliance from the mains supply.
  • Cut off the mains electrical cable close to the appliance and dispose of it.
  • Remove the door catch to prevent children or pets from becoming trapped in the appliance.

1 Control panel
2 Knob for the heating functions
3 Power lamp / symbol
4 Display
5 Control knob (for the temperature)
6 Temperature indicator / symbol
7 Plus Steam
8 Heating element
9 Lamp
10 Fan
11 Shelf support, removable
Cavity embossment
13 Shelf positions

3.2 Accessories

AEG-ELECTROLUX BEE455120M - Accessories - 1
Wire shelf

For cookware, cake tins, roasts.

AEG-ELECTROLUX BEE455120M - Accessories - 2
Combi pan

For cakes and biscuits. To bake and roast or as a pan to collect fat.

AEG-ELECTROLUX BEE455120M - Accessories - 3
Telescopic runners

For shelves and trays.

4. CONTROL PANEL

4.1 Buttons

Sensor field / ButtonFunctionDescription
MINUSTo set the time.
CLOCKTo set a clock function.
+PLUSTo set the time.
®PLUS STEAMTo turn on the True Fan Cooking PLUS function.

4.2 Display

AEG-ELECTROLUX BEE455120M - Display - 1

A. Clock functions
B. Timer
C. Clock function

5. BEFORE FIRST USE

AEG-ELECTROLUX BEE455120M - BEFORE FIRST USE - 1

WARNING!

Refer to Safety chapters.

AEG-ELECTROLUX BEE455120M - WARNING! - 1

To set the Time of day refer to "Clock functions" chapter.

5.1 Initial Cleaning

Remove all accessories and removable shelf supports from the oven.

6. DAILY USE

AEG-ELECTROLUX BEE455120M - DAILY USE - 1

WARNING!

Refer to Safety chapters.

6.1 Retractable knobs

To use the appliance press the knob. The knob comes out.

6.2 Setting a heating function

  1. Turn the knob for the heating functions to select a heating function.
  2. Turn the control knob to select the temperature.

The lamp turns on when the oven operates.

  1. To turn off the oven, turn the knob for the heating functions to the off position.

6.3 Heating functions

Oven function

Application

AEG-ELECTROLUX BEE455120M - Application - 1

The oven is off.

Off position

AEG-ELECTROLUX BEE455120M - Application - 2

Light

To turn on the lamp without a cooking function.

AEG-ELECTROLUX BEE455120M - Application - 3

Refer to "Care and cleaning" chapter.

Clean the oven and the accessories before first use.

Put the accessories and the removable shelf supports back to their initial position.

Oven function Application

AEG-ELECTROLUX BEE455120M - Oven function Application - 1

AEG-ELECTROLUX BEE455120M - Oven function Application - 2

True Fan Cooking / True Fan Cooking LUS / Aqu Cleaning

To bake on up to three shelf positions at the same time and to dry food.

Set the temperature 20 - 40^ lower than for Conventional Cooking.

To add humidity during the cooking. To get the right colour and crispy crust during baking. To give more juiciness during reheating. For more information about Aqua Cleaning, refer to "Care and cleaning" chapter.

AEG-ELECTROLUX BEE455120M - Oven function Application - 3

Pizza Setting

To bake pizza. To make intensive browning and a crispy bottom.

AEG-ELECTROLUX BEE455120M - Oven function Application - 4

To bake and roast food on one shelf position.

Conventional Cooking (Top / Bottom Heat)

AEG-ELECTROLUX BEE455120M - Oven function Application - 5

Bottom Heat

To bake cakes with crispy bottom and to preserve food.

Oven functionApplication
DefrostTo defrost food (vegetables and fruit). The de-frosting time depends on the amount and size of the frozen food.
Moist Fan Bak-ingThis function is designed to save energy during cooking. For the cooking instructions refer to "Hints and tips" chapter, Moist Fan Baking. The oven door should be closed during cooking so that the function is not interrupted and to ensure that the oven operates with the highest energy efficiency possible. When you use this function, the temperature in the cavity may differ from the set temperature. The residual heat is used. The heating power may be reduced. For general energy saving recommendations refer to "Energy Efficiency" chapter, Energy Saving. This function was used to comply with the energy efficiency class according to EN 60350-1.
GrillingTo grill flat food and to toast bread.
Turbo GrillingTo roast larger meat joints or poultry with bones on one shelf position. To make gratins and to brown.

AEG-ELECTROLUX BEE455120M - Oven function Application - 6

The lamp may turn off automatically at a temperature below 60^ during some oven functions.

6.4 Setting the function:True Fan Cooking PLUS

This function allows to improve humidity during the cooking.

AEG-ELECTROLUX BEE455120M - Setting the function:True Fan Cooking PLUS - 1

WARNING!

Risk of burns and damage to the appliance.

Released humidity can cause burns:

  • Do not open the oven door when the function works.
  • Open the oven door with care after the function stops.

AEG-ELECTROLUX BEE455120M - WARNING! - 1

Refer to "Hints and tips" chapter.

  1. Fill the cavity embossment with tap water.

AEG-ELECTROLUX BEE455120M - WARNING! - 2

The maximum capacity of the cavity embossment is 250 ml. Fill the cavity embossment with water only when the oven is cold.

AEG-ELECTROLUX BEE455120M - WARNING! - 3

CAUTION!

Do not refill the cavity embossment with water during cooking or when the oven is hot.

  1. Put food in the oven and close the oven door.
  2. Set the function:
  3. Press: Plus Steam
    It works only with the function: True Fan Cooking PLUS.
    The indicator turns on.
  4. Turn the control knob to select a temperature.

  5. Turn the knob for the heating functions to the off position, press Plus Steam to turn off the oven. The indicator turns off.

  6. Remove water from the cavity embossment.

AEG-ELECTROLUX BEE455120M - CAUTION! - 1

WARNING!

Make sure that the oven is cold before you remove the remaining water from the cavity embossment.

7. CLOCK FUNCTIONS

7.1 Clock functions table

Clock functionApplication
TIME OF DAYTo set, change or check the time of day.
|→|DURATIONTo set how long the appliance operates.
→|ENDTo set when the appliance deactivates.
|→|→|TIME DELAYTo combine DURATION and END function.
MINUTE MINDERTo set countdown time. This function has no effect on the operation of the appliance. You can set the MINUTE MIND-ER at any time, also when the appliance is off.

7.2 Setting the time. Changing the time

You must set the time before you operate the oven.

The ① flashes when you connect the appliance to the electrical supply, when there was a power cut or when the timer is not set.

Press the + or - to set the correct time.

After approximately five seconds, the flashing stops and the display shows the time of day you set.

To change the time of day press ① again and again until ① starts to flash.

7.3 Setting the DURATION

  1. Set an oven function and temperature.
  2. Press ① again and again until starts to flash.
  3. Press + or - to set the DURATION time.

The display shows | |

  1. When the time ends, || flashes and an acoustic signal sounds. The appliance deactivates automatically.
  2. Press any button to stop the acoustic signal.
  3. Turn the knob for the oven functions and the knob for the temperature to the off position.

7.4 Setting the END

  1. Set an oven function and temperature.
  2. Press ① again and again until starts to flash.
  3. Press + or - to set the time. The display shows
  4. When the time ends, flashes and an acoustic signal sounds. The appliance deactivates automatically.
  5. Press any button to stop the signal.
  6. Turn the knob for the oven functions and the knob for the temperature to the off position.

7.5 Setting the TIME DELAY

  1. Set an oven function and temperature.
  2. Press ① again and again until starts to flash.
  3. Press + or - to set the time for DURATION.
  4. Press ①
  5. Press + or - to set the time for END.
  6. Press ① to confirm.

Appliance turns on automatically later on, works for the set DURATION time and stops at the set END time. At the set time an acoustic signal sounds.

  1. The appliance deactivates automatically. Press any button to stop the signal.
  2. Turn the knob for the oven functions and the knob for the temperature to the off position.

7.6 Setting the MINUTE MINDER

  1. Press ① again and again until starts to flash.

8. USING THE ACCESSORIES

AEG-ELECTROLUX BEE455120M - USING THE ACCESSORIES - 1

WARNING!

Refer to Safety chapters.

8.1 Inserting the accessories

Wire shelf:

Push the shelf between the guide bars of the shelf support.

AEG-ELECTROLUX BEE455120M - Inserting the accessories - 1
Deep pan:

  1. Press + or — to set the necessary time.

The Minute Minder starts automatically after 5 seconds.

  1. When the set time ends, an acoustic signal sounds. Press any button to stop the acoustic signal.
  2. Turn the knob for the oven functions and the knob for the temperature to the off position.

7.7 Cancelling the clock functions

  1. Press the ① again and again until the necessary function indicator starts to flash.
  2. Press and hold

The clock function goes out after some seconds.

Push the deep pan between the guide bars of the shelf support.

AEG-ELECTROLUX BEE455120M - Cancelling the clock functions - 1

Wire shelf and deep pan together:

Push the deep pan between the guide bars of the shelf support and the wire shelf on the guide bars above.

AEG-ELECTROLUX BEE455120M - Cancelling the clock functions - 2

AEG-ELECTROLUX BEE455120M - Cancelling the clock functions - 3

Small indentation at the top increase safety. The indentations are also anti-tip devices. The high rim around the shelf prevents cookware from slipping of the shelf.

8.2 Telescopic runners - inserting the accessories

With the telescopic runners you can put in and remove the shelves more easily.

AEG-ELECTROLUX BEE455120M - Telescopic runners - inserting the accessories - 1

CAUTION!

Do not clean the telescopic runners in the dishwasher.
Do not lubricate the telescopic runners.

AEG-ELECTROLUX BEE455120M - CAUTION! - 1

CAUTION!

Make sure you push back the telescopic runners fully in the oven before you close the oven door.

Wire shelf:

Put the wire shelf on the telescopic runners so that the feet point downwards.

AEG-ELECTROLUX BEE455120M - CAUTION! - 1

The high rim around the wire shelf is a special device to prevent the cookware from slipping.

9. ADDITIONAL FUNCTIONS

9.1 Cooling fan

When the oven operates, the cooling fan turns on automatically to keep the

AEG-ELECTROLUX BEE455120M - Cooling fan - 1

Deep pan:

Put the deep pan on the telescopic runners.

AEG-ELECTROLUX BEE455120M - Cooling fan - 2

Wire shelf and deep pan together:

Place the wire shelf and the deep pan together on the telescopic runner.

AEG-ELECTROLUX BEE455120M - Cooling fan - 3

surfaces of the oven cool. If you turn off the oven, the cooling fan can continues to operate until the oven cools down.

10. HINTS AND TIPS

AEG-ELECTROLUX BEE455120M - HINTS AND TIPS - 1

WARNING!

Refer to Safety chapters.

AEG-ELECTROLUX BEE455120M - WARNING! - 1

The temperature and baking times in the tables are guidelines only. They depend on the recipes and the quality and quantity of the ingredients used.

10.1 Cooking recommendations

Your oven may bake or roast differently to the oven you had before. The below

10.3 True Fan Cooking PLUS

Cakes / pastries / breads

Preheat the empty oven for 5 minutes.

Use the baking tray.

Use the second shelf position.

tables provide you with the standard settings for temperature, cooking time and shelf position.

If you cannot find the settings for a special recipe, look for the similar one.

10.2 Inner side of the door

On the inner side of the door you can find:

the numbers of the shelf positions.
- information about the oven functions, recommended shelf positions and temperatures for dishes.

FoodWater in the cavity embossment (ml)Temperature (℃)Time (min)
Cookies, scones, croissants100150 - 18010 - 20
Focaccia100200 - 21010 - 20
Pizza10023010 - 20
Bread rolls10020020 - 25
Bread10018035 - 40
Plum cake, apple pie, cinnamon rolls baked in a cake mould.100 - 150160 - 18030 - 60

Frozen ready meals

Preheat the empty oven for 10 minutes.

Use the second shelf position.

FoodWater in the cavity embossment (ml)Temperature (℃)Time (min)
Pizza150200 - 21010 - 20
Croissants150170 - 18015 - 25
FoodWater in the cavity embossment (ml)Temperature (°C)Time (min)
Lasagna200180 - 20035 - 50

Food regeneration

Use the second shelf position.

Use 100ml of water.

Set the temperature to 110^ .

FoodTime (min)
Bread rolls10 - 20
Bread15 - 25
Focaccia15 - 25
Meat15 - 25
Pasta15 - 25
Pizza15 - 25
Rice15 - 25
Vegetables15 - 25

Roasting

Use the glass baking dish.

Use the second shelf position.

Use 200 ml of water.

FoodTempera-ture (℃)Time (min)
Roast beef20050 - 60
Chicken21060 - 80
Roast pork18065 - 80

10.4 Baking

  • Use the lower temperature the first time.
  • You can extend baking times by 10 – 15 minutes if you bake cakes on more than one shelf position.
  • Cakes and pastries at different heights do not always brown equally. There is no need to change the temperature setting if an unequal browning occurs. The differences equalize during baking.
  • Trays in the oven can twist during baking. When the trays become cold again, the distortions disappear.

10.5 Tips on baking

Baking resultsPossible causeRemedy
The bottom of the cake is not browned sufficiently.The shelf position is incorrect.Put the cake on a lower shelf.
The cake sinks and becomes soggy, lumpy or streaky.The oven temperature is too high.The next time you bake, set a slightly lower oven temperature.
The baking time is too short.Set a longer baking time. You cannot decrease baking times by setting higher temperatures.
There is too much liquid in the mixture.Use less liquid. Be careful with mixing times, especially if you use a mixing machine.
The cake is too dry.The oven temperature is too low.The next time you bake, set a higher oven temperature.
The baking time is too long.The next time you bake, set a shorter baking time.
The cake browns un-evenly.The oven temperature is too high and the baking time is too short.Set a lower oven temperature and a longer baking time.
The mixture is unevenly distributed.Spread the mixture evenly on the baking tray.
The cake is not ready in the baking time given.The oven temperature is too low.The next time you bake, set a slightly higher oven temperature.

10.6 Baking on one level:

Baking in tins

FoodFunctionTemperature (℃)Time (min)Shelf position
Ring cake / Brio-cheTrue Fan Cooking150 - 16050 - 701
Madeira cake / Fruit cakesTrue Fan Cooking140 - 16070 - 901
Flan base - short pastryTrue Fan Cooking170 - 1801)10 - 252
Flan base - sponge mixtureTrue Fan Cooking150 - 17020 - 252
CheesecakeTop / Bottom Heat170 - 19060 - 901

1) Preheat the oven.

Cakes / pastries / breads on baking trays

FoodFunctionTempera-ture (℃)Time(min)Shelf posi-tion
Plaited bread / Bread crownTop / Bottom Heat170 - 19030 - 403
Christmas stolenTop / Bottom Heat160 - 1801)50 - 702
Bread (rye bread):1. First part of baking proce-dure.Top / Bottom Heat1. 2301)2. 160 - 1801. 202. 30 - 601
2. Second part of baking procedure.
Cream puffs / EclairsTop / Bottom Heat190 - 2101)20 - 353
Swiss rollTop / Bottom Heat180 - 2001)10 - 203
Cake with crumble topping(dry)True Fan Cooking150 - 16020 - 403
Buttered almond cake / SugarcakesTop / Bottom Heat190 - 2101)20 - 303
Fruit flans (made with yeastdough / sponge mixture)2)True Fan Cooking15035 - 553
Fruit flans (made with yeastdough / sponge mixture)2)Top / Bottom Heat17035 - 553
Fruit flans made with shortpastryTrue Fan Cooking160 - 17040 - 803
Yeast cakes with delicate top-pings (e.g. quark, cream, custard)Top / Bottom Heat160 - 1801)40 - 803

1) Preheat the oven.
2) Use a deep pan.

Biscuits

FoodFunctionTemperature (℃)Time (min)Shelf position
Short pastry biscuitsTrue Fan Cooking150 - 16010 - 203
Biscuits made with sponge mixtureTrue Fan Cooking150 - 16015 - 203
Pastries made with egg white / MeringuesTrue Fan Cooking80 - 100120 - 1503
MacaroonsTrue Fan Cooking100 - 12030 - 503
Biscuits made with yeast doughTrue Fan Cooking150 - 16020 - 403
Puff pastriesTrue Fan Cooking170 - 1801)20 - 303
FoodFunctionTemperature (°C)Time (min)Shelf position
RollsTrue Fan Cooking1601)10 - 253
RollsTop / Bottom Heat190 - 2101)10 - 253

1) Preheat the oven.

10.7 Bakes and gratins

FoodFunctionTemperature (°C)Time (min)Shelf position
Pasta bakeTop / Bottom Heat180 - 20045 - 601
LasagneTop / Bottom Heat180 - 20025 - 401
Vegetables au gratin1)Turbo Grilling160 - 17015 - 301
Baguettes top-ped with melted cheeseTrue Fan Cooking160 - 17015 - 301
Sweet bakesTop / Bottom Heat180 - 20040 - 601
Fish bakesTop / Bottom Heat180 - 20030 - 601
Stuffed vegeta-blesTrue Fan Cooking160 - 17030 - 601

1) Preheat the oven.

10.8 Moist Fan Baking

AEG-ELECTROLUX BEE455120M - Moist Fan Baking - 1

For best results follow suggestions listed in the table below.

FoodTemperature (℃)Time (min)Shelf position
Bread sticks (0.5 kg in total)190 - 20050 - 603
Baked scallops in shell180 - 20030 - 404
Whole fish (0.3 - 0.5 kg) in salt190 - 20045 - 504
Whole fish (0.3 - 0.5 kg) in parch-ment190 - 20050 - 603
Amaretti (20; 0.5 kg in total)170 - 18040 - 503
Apple crumble190 - 20050 - 604
Chocolate muffins (20; 0.5 kg in to-tal)160 - 17035 - 453

10.9 Multilevel Baking

Use the function: True Fan Cooking.

Cakes / pastries / breads on baking trays

FoodTemperature (°C)Time (min)Shelf position
2 positions3 positions
Cream puffs / Eclairs160 - 1801)25 - 451 / 4-
Dry streusel cake150 - 16030 - 451 / 4-

1) Preheat the oven.

Biscuits / small cakes / pastries / rolls

FoodTemperature (°C)Time (min)Shelf position
2 positions3 positions
Short pastry biscuits150 - 16020 - 401 / 41 / 3 / 5
Biscuits made with sponge mixture160 - 17025 - 401 / 4-
Biscuits made with egg white, meringues80 - 100130 - 1701 / 4-
Macaroons100 - 12040 - 801 / 4-
Biscuits made with yeast dough160 - 17030 - 601 / 4-
Puff pastries170 - 180¹)30 - 501 / 4-
Rolls18020 - 301 / 4-

1) Preheat the oven.

10.10 Pizza Setting

FoodTemperature (°C)Time (min)Shelf position
Pizza (thin crust)200 - 2301)2)15 - 202
Pizza (with a lot of topping)180 - 20020 - 302
Tarts180 - 20040 - 551
Spinach flan160 - 18045 - 601
Quiche Lorraine170 - 19045 - 551
Swiss Flan170 - 19045 - 551
Cheesecake140 - 16060 - 901
Apple cake, covered150 - 17050 - 601
Vegetable pie160 - 18050 - 601
Unleavened bread230 - 2501)10 - 202
Puff pastry flan160 - 1801)45 - 552
Flammekuchen (Piz-za-like dish from Al-sace)230 - 2501)12 - 202
Piroggen (Russian version of calzone)180 - 2001)15 - 252

1) Preheat the oven.
2) Use a deep pan.

10.11 Roasting

Use heat-resistant ovenware.

Roast large roasting joints directly in the tray or on the wire shelf placed above the tray.

Put some water in the tray to prevent the meat juices or fat from burning.

Meat with crackling can be roasted in the roasting tin without the lid.

Turn the roast after 1/2 - 2/3 of the cooking time.

To keep meat more succulent:

  • roast lean meat in the roasting tin with the lid or use roasting bag.
  • roast meat and fish in large pieces (1 kg or more).
  • baste large roasts and poultry with their juices several times during roasting.

10.12 Roasting tables

Beef

FoodQuantityFunctionTempera-ture (℃)Time (min)Shelf posi-tion
Pot roast1 - 1.5 kgTop / Bot- tom Heat230120 - 1501
Roast beef or fil- let: rareper cm of thicknessTurbo Grill- ing190 - 2001)5 - 61
Roast beef or fil- let: mediumper cm of thicknessTurbo Grill- ing180 - 1901)6 - 81
Roast beef or fil- let: well doneper cm of thicknessTurbo Grill- ing170 - 1801)8 - 101

1) Preheat the oven.

Pork

FoodQuantity (kg)FunctionTempera-ture (℃)Time (min)Shelf posi-tion
Shoulder / Neck / Ham joint1 - 1.5Turbo Grill-ing160 - 18090 - 1201
Chop / Spare rib1 - 1.5Turbo Grill-ing170 - 18060 - 901
Meatloaf0.75 - 1Turbo Grill-ing160 - 17050 - 601
Pork knuckle (precooked)0.75 - 1Turbo Grill-ing150 - 17090 - 1201

Veal

FoodQuantity (kg)FunctionTemperature (℃)Time (min)Shelf posi- tion
Roast veal1Turbo Grill- ing160 - 18090 - 1201
Knuckle of veal1.5 - 2Turbo Grill- ing160 - 180120 - 1501

Lamb

FoodQuantity (kg)FunctionTemperature (℃)Time (min)Shelf posi- tion
Leg of lamb / Roast lamb1 - 1.5Turbo Grill- ing150 - 170100 - 1201
Saddle of lamb1 - 1.5Turbo Grill- ing160 - 18040 - 601

Game

FoodQuantity (kg)FunctionTemperature (℃)Time (min)Shelf position
Saddle / Leg of hareup to 1Top / Bottom Heat2301)30 - 401
Saddle of venison1.5 - 2Top / Bottom Heat210 - 22035 - 401
Haunch of venison1.5 - 2Top / Bottom Heat180 - 20060 - 901

1) Preheat the oven.

Poultry

FoodQuantity (kg)FunctionTemperature (℃)Time (min)Shelf position
Poultry portions0.2 - 0.25 eachTurbo Grill-ing200 - 22030 - 501
Half chicken0.4 - 0.5 eachTurbo Grill-ing190 - 21035 - 501
Chicken, pouard1 - 1.5Turbo Grill-ing190 - 21050 - 701
Duck1.5 - 2Turbo Grill-ing180 - 20080 - 1001
Goose3.5 - 5Turbo Grill-ing160 - 180120 - 1801
Turkey2.5 - 3.5Turbo Grill-ing160 - 180120 - 1501
Turkey4 - 6Turbo Grill-ing140 - 160150 - 2401

Fish (steamed)

FoodQuantity (kg)FunctionTemperature (℃)Time (min)Shelf posi- tion
Whole fish1 - 1.5Top / Bottom Heat210 - 22040 - 601

10.13 Grilling

Always grill with the maximum temperature setting.
- Set the shelf into the shelf position as recommended in the grilling table.
Always set the pan to collect the fat into the first shelf position.

  • Grill only flat pieces of meat or fish.
    Always preheat the empty oven with the grill functions for 5 minutes.

AEG-ELECTROLUX BEE455120M - Grilling - 1

CAUTION!

Always grill with the oven door closed.

Grilling

FoodTemperature (℃)Time (min)Shelf position
1st side2nd side
Roast beef210 - 23030 - 4030 - 402
Filet of beef23020 - 3020 - 303
Back of pork210 - 23030 - 4030 - 402
Back of veal210 - 23030 - 4030 - 402
Back of lamb210 - 23025 - 3520 - 253
Whole Fish, 500 - 1000 g210 - 23015 - 3015 - 303 / 4

10.14 Frozen Foods

Use the function True Fan Cooking.

FoodTemperature (℃)Time (min)Shelf position
Pizza, frozen200 - 22015 - 252
Pizza American, frozen190 - 21020 - 252
Pizza, chilled210 - 23013 - 252
Pizza Snacks, frozen180 - 20015 - 302
French Fries, thin200 - 22020 - 303
French Fries, thick200 - 22025 - 353
Wedges / Croquettes220 - 23020 - 353
Hash Browns210 - 23020 - 303
Lasagne / Cannello-ni, fresh170 - 19035 - 452
Lasagne / Cannello-ni, frozen160 - 18040 - 602
Oven baked cheese170 - 19020 - 303
Chicken Wings190 - 21020 - 302

10.15 Defrost

  • Remove the food packaging and put the food on a plate.
  • Use the first shelf position from the bottom.
  • Do not cover the food with a bowl or a plate, as this can extend the defrost time.

  • For large portions of food place an upturned empty plate on the bottom of the oven cavity. Put the food in a deep plate or dish and set it on top of the plate inside the oven. Remove shelf supports if necessary.

FoodQuantity (kg)Defrosting time (min)Further de-frosting time (min)Comments
Chicken1100 - 14020 - 30Put the chicken on an upturned saucer in a big plate. Turn halfway through.
Meat1100 - 14020 - 30Turn halfway through.
Trout0.1525 - 3510 - 15-
Strawberies0.330 - 4010 - 20-
Butter0.2530 - 4010 - 15-
Cream2 x 0.280 - 10010 - 15Whip the cream when still slightly frozen in places.
Gateau1.46060-

10.16 Preserving - Bottom Heat

  • Use only preserve jars of the same dimensions available on the market.
  • Do not use jars with twist-off and bayonet type lids or metal tins.
  • Use the first shelf from the bottom for this function.
  • Put no more than six one-litre preserve jars on the baking tray.
  • Fill the jars equally and close with a clamp.

  • The jars cannot touch each other.

  • Put approximately 1/2 litre of water into the baking tray to give sufficient moisture in the oven.
  • When the liquid in the jars starts to simmer (after approximately 35 - 60 minutes with one-litre jars), stop the oven or decrease the temperature to 100^ (see the table).

Soft fruit

FoodTemperature (℃)Cooking time until simmering (min)Continue to cook at 100 ℃ (min)
Strawberries / Blue-berries / Raspberries / Ripe gooseberries160 - 17035 - 45-

Stone fruit

FoodTemperature (℃)Cooking time until simmering (min)Continue to cook at 100 ℃ (min)
Pears / Quinces / Plums160 - 17035 - 4510 - 15

Vegetables

FoodTemperature (℃)Cooking time until simmering (min)Continue to cook at 100 ℃ (min)
Carrots1)160 - 17050 - 605 - 10
Cucumbers160 - 17050 - 60-
Mixed pickles160 - 17050 - 605 - 10
Kohlrabi / Peas / Asparagus160 - 17050 - 6015 - 20

1) Leave standing in the oven after it is deactivated.

10.17 Drying - True Fan Cooking

Cover trays with grease proof paper or baking parchment.

For a better result, stop the oven halfway through the drying time, open the door and let it cool down for one night to complete the drying.

Vegetables

For one tray use the third shelf position.

For 2 trays use the first and fourth shelf position.

FoodTemperature (℃)Time (h)
Beans60 - 706 - 8
Peppers60 - 705 - 6
Vegetables for sour60 - 705 - 6
Mushrooms50 - 606 - 8
Herbs40 - 502 - 3

Fruit

FoodTemperature (℃)Time (h)Shelf position
1 position2 positions
Plums60 - 708 - 1031 / 4
Apricots60 - 708 - 1031 / 4
Apple slices60 - 706 - 831 / 4
Pears60 - 706 - 931 / 4

10.18 Information for test institutes

Tests according to EN 60350-1:2013 and IEC 60350-1:2011.

Baking on one level. Baking in tins

FoodFunctionTemperature (°C)Time (min)Shelf position
Fatless sponge cakeTrue Fan Cooking140 - 15035 - 502
Fatless sponge cakeTop / Bottom Heat16035 - 502
Apple pie (2 tins Ø20 cm, diagonally off set)True Fan Cooking16060 - 902
Apple pie (2 tins Ø20 cm, diagonally off set)Top / Bottom Heat18070 - 901

Baking on one level. Biscuits Use the third shelf position.

FoodFunctionTemperature (℃)Time (min)
Short bread / Pastry stripesTrue Fan Cooking14025 - 40
Short bread / Pastry stripesTop / Bottom Heat1601)20 - 30
Small cakes (20 per tray)True Fan Cooking1501)20 - 35
Small cakes (20 per tray)Top / Bottom Heat1701)20 - 30

1)Preheat the oven.

Multilevel Baking. Biscuits

FoodFunctionTemperature (℃)Time (min)Shelf position
2 positions3 positions
Short bread / Pastry StripesTrue Fan Cooking14025 - 451 / 41 / 3 / 5
Small cakes (20 per tray)True Fan Cooking1501)23 - 401 / 4-

1) Preheat the oven.
Grilling
Preheat the empty oven for 5 minutes.
Grill with the maximum temperature setting.

FoodFunctionTime (min)Shelf position
ToastGrilling1 - 35
Beef SteakGrilling24 - 301)4

1) Turn halfway through.

11. CARE AND CLEANING

AEG-ELECTROLUX BEE455120M - CARE AND CLEANING - 1

WARNING!

Refer to Safety chapters.

11.1 Notes on cleaning

Clean the front of the oven with a soft cloth with warm water and a mild cleaning agent.

To clean metal surfaces, use a dedicated cleaning agent.

Clean the oven interior after each use. Fat accumulation or other food remains may result in a fire. The risk is higher for the grill pan.

Clean all accessories after each use and let them dry. Use a soft cloth with warm water and a cleaning agent. Do not clean the accessories in the dishwasher.

Clean stubborn dirt with a special oven cleaner.

If you have nonstick accessories, do not clean them using aggressive agents, sharp-edged objects or a dishwasher. It can cause damage to the nonstick coating.

Clean the moisture from the cavity after each use.

11.2 Cleaning the cavity embossment

The cleaning procedure removes limestone residue from the cavity embossment after cooking with steam.

AEG-ELECTROLUX BEE455120M - Cleaning the cavity embossment - 1

For the function: True Fan Cooking PLUS we recommend to do the cleaning procedure at least every 5 - 10 cooking cycles.

  1. Put 250 ml of white vinegar into the cavity embossment at the bottom of the oven.
    Use maximum 6 % vinegar without any additives.
  2. Let the vinegar dissolve the residual limestone at the ambient temperature for 30 minutes.
  3. Clean the cavity with warm water and a soft cloth.

11.3 Removing the shelf supports

To clean the oven, remove the shelf supports.

AEG-ELECTROLUX BEE455120M - Removing the shelf supports - 1

CAUTION!

Be careful when you remove the shelf supports.

  1. Pull the front of the shelf support away from the side wall.

AEG-ELECTROLUX BEE455120M - CAUTION! - 1

  1. Pull the rear end of the shelf support away from the side wall and remove it.

AEG-ELECTROLUX BEE455120M - CAUTION! - 2

Install the removed accessories in the opposite sequence.

AEG-ELECTROLUX BEE455120M - CAUTION! - 3

The retaining pins on the telescopic runners must point to the front.

11.4 Aqua Cleaning

This cleaning procedure uses humidity to help remove remaining fat and food particles from the oven.

  1. Put 200 ml of water into the cavity embossment at the bottom of the oven.
  2. Set the function: and press
  3. Set the temperature to 90^
  4. Let the oven operate for 30 minutes.
  5. Turn off the oven and let it cool down.
  6. When the oven is cool, clean it with a soft cloth.

AEG-ELECTROLUX BEE455120M - Aqua Cleaning - 1

WARNING!

Make sure that the oven is cool before you touch it. There is a risk of burns.

11.5 Oven ceiling

AEG-ELECTROLUX BEE455120M - Oven ceiling - 1

WARNING!

Deactivate the appliance before you remove the heating element. Make sure that the appliance is cold. There is a risk of burns.

Remove the shelf supports.

You can fold down the heating element on the oven ceiling to clean the oven ceiling easily.

  1. Hold the heating element with two hands at the front.
  2. Pull it forwards against the spring pressure and out of two holders.

AEG-ELECTROLUX BEE455120M - WARNING! - 1

The heating element folds down.

  1. Clean the oven ceiling.
  2. Install the heating element in the opposite sequence.

AEG-ELECTROLUX BEE455120M - WARNING! - 2

Install the heating element correctly above the supports on the inner walls of the appliance.
5. Install the shelf supports.

11.6 Removing and installing the door

You can remove the door and the internal glass panels to clean it. The

number of glass panels is different for different models.

AEG-ELECTROLUX BEE455120M - Removing and installing the door - 1

WARNING!

The door is heavy.

  1. Open the door fully.
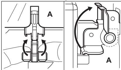
  2. Fully lift up the clamping levers (A) on the two door hinges.

AEG-ELECTROLUX BEE455120M - WARNING! - 1

  1. Close the door until it is at an angle of approximately 45^ .

AEG-ELECTROLUX BEE455120M - WARNING! - 2

  1. Hold the door trim (B) on the top edge of the door at the two sides and push inwards to release the clip seal.

AEG-ELECTROLUX BEE455120M - WARNING! - 3

AEG-ELECTROLUX BEE455120M - WARNING! - 4

CAUTION!

Rough handling of the glass, especially around the edges of the front panel, can cause the glass to break.

  1. Pull the door trim to the front to remove it.

  2. Hold the door glass panels on their top edge one by one and pull them up out of the guide.

AEG-ELECTROLUX BEE455120M - CAUTION! - 1

  1. Clean the glass panel with water and soap. Dry the glass panel carefully. When the cleaning is completed, do the above steps in the opposite sequence. Install the smaller panel first, then the larger and the door.

AEG-ELECTROLUX BEE455120M - CAUTION! - 2

WARNING!

Make sure that the glasses are inserted in the correct position otherwise the surface of the door may overheat.

11.7 Replacing the lamp

AEG-ELECTROLUX BEE455120M - Replacing the lamp - 1

WARNING!

Risk of electric shock. The lamp can be hot.

  1. Turn off the oven.
    Wait until the oven is cooled down.
  2. Disconnect the oven from the mains.
  3. Put a cloth on the bottom of the cavity.

The top lamp

  1. Turn the lamp glass cover to remove it.

AEG-ELECTROLUX BEE455120M - The top lamp - 1

  1. Clean the glass cover.
  2. Replace the lamp with a suitable 300 ^ C heat-resistant lamp.
  3. Install the glass cover.

12. TROUBLESHOOTING

AEG-ELECTROLUX BEE455120M - TROUBLESHOOTING - 1

WARNING!

Refer to Safety chapters.

12.1 What to do if...

ProblemPossible causeRemedy
You cannot activate or operate the oven. The display shows "400" and an acoustic signal sounds.The oven is incorrectly connected to an electrical supply.Check if the oven is correctly connected to the electrical supply (refer to the connection diagram if available).
The oven does not heat up.The oven is deactivated.Activate the oven.
The oven does not heat up.The clock is not set.Set the clock.
The oven does not heat up.The necessary settings are not set.Make sure that the settings are correct.
The oven does not heat up.The fuse is blown.Make sure that the fuse is the cause of the malfunction. If the fuse is blown again and again, contact a qualified electrician.
The lamp does not operate.The lamp is defective.Replace the lamp.
Steam and condensation settle on the food and in the cavity of the oven.You left the dish in the oven for too long.Do not leave the dishes in the oven for longer than 15 - 20 minutes after the cooking process ends.
There is no good cooking performance using the function: True Fan Cooking PLUS.You did not turn on the function: True Fan Cooking PLUS.Refer to "Activating the function: True Fan Cooking PLUS".
There is no good cooking performance using the function: True Fan Cooking PLUS.You did not turn on correctly the function: True Fan Cooking PLUSwith the Plus Steam button.Refer to "Activating the function: True Fan Cooking PLUS".
There is no good cooking performance using the function: True Fan Cooking PLUS.You did not fill the cavity embossment with water.Refer to "Activating the function: True Fan Cooking PLUS".
You want to activate the True Fan Cooking function, but the indicator of the Plus Steam button is on.The True Fan Cooking PLUS function operates.Push the Plus Steam button to stop the True Fan Cooking PLUS function.
The water in the cavity embossment does not boil.The temperature is too low.Set the temperature at least to 110 °C.Refer to "Hints and tips" chapter.
The water comes out of the cavity embossment.There is too much water in the cavity embossment.Deactivate the oven and make sure that the appliance is cold. Wipe the water with a cloth or sponge. Add the correct amount of water to the cavity embossment. Re-fer to the specific procedure.

12.2 Service data

If you cannot find a solution to the problem yourself, contact your dealer or an Authorised Service Centre.

The necessary data for the service centre is on the rating plate. The rating plate is

on the front frame of the oven cavity. Do not remove the rating plate from the oven cavity.

We recommend that you write the data here:
Model (MOD.)..............................
Product number (PNC)..............................
Serial number (S.N.)..............................

13. ENERGY EFFICIENCY

13.1 Product Fiche and information according to EU 65-66/2014

Supplier's nameAEG
Model identificationBEE455120M
BEK455120M
Energy Efficiency Index81.2
Energy efficiency classA+
Energy consumption with a standard load, conventional mode0.99 kWh/cycle
Energy consumption with a standard load, fan-forced mode0.69 kWh/cycle
Number of cavities1
Heat sourceElectricity
Volume71 l
Type of ovenBuilt-In Oven
MassBEE455120M33.0 kg
BEK455120M33.0 kg

EN 60350-1 - Household electric cooking appliances - Part 1: Ranges, ovens, steam ovens and grills - Methods for measuring performance.

13.2 Energy saving

AEG-ELECTROLUX BEE455120M - Energy saving - 1

The oven contains features which help you save energy during everyday cooking.

General hints

Make sure that the oven door is closed properly when the oven operates. Do not open the door too often during cooking. Keep the door gasket clean and make sure it is well fixed in its position.

Use metal dishes to improve energy saving.

When possible, do not preheat the oven before you put the food inside.

When the cooking duration is longer than 30 minutes, reduce the oven

temperature to minimum 3 - 10 minutes before the end of the cooking time, depending on the duration of the cooking. The residual heat inside the oven will continue to cook.

Use the residual heat to warm up other dishes.

Keep breaks between baking as short as possible when you prepare few dishes at one time.

Cooking with fan

When possible, use the cooking functions with fan to save energy.

Keep food warm

Choose the lowest possible temperature setting to use residual heat and keep a meal warm.

Moist Fan Baking

Function designed to save energy during cooking.

14. ENVIRONMENTAL CONCERNS

Recycle materials with the symbol. Put the packaging in relevant containers to recycle it. Help protect the environment and human health by recycling waste of electrical and electronic appliances. Do not dispose of

appliances marked with the symbol with the household waste. Return the product to your local recycling facility or contact your municipal office.

C E

Table of contents Cliquez un titre pour y accéder
Manual assistant
Powered by Anthropic
Waiting for your message
Product information

Brand : AEG-ELECTROLUX

Model : BEE455120M

Category : Built-in oven