SKS68809F1 - Built-in refrigerator AEG-ELECTROLUX - Free user manual and instructions
Find the device manual for free SKS68809F1 AEG-ELECTROLUX in PDF.
User questions about SKS68809F1 AEG-ELECTROLUX
0 question about this device. Answer the ones you know or ask your own.
Ask a new question about this device
Download the instructions for your Built-in refrigerator in PDF format for free! Find your manual SKS68809F1 - AEG-ELECTROLUX and take your electronic device back in hand. On this page are published all the documents necessary for the use of your device. SKS68809F1 by AEG-ELECTROLUX.
USER MANUAL SKS68809F1 AEG-ELECTROLUX
VOOR PERFECTE RESULTATEN
www.aeg-electrolux.com/shop
INHOUD
ACCESSIONS ET CONSOMMABLES
Thank you for choosing this AEG product. We have created it to give you impeccable performance for many years, with innovative technologies that help make life simpler – features you might not find on ordinary appliances. Please spend a few minutes reading to get the very best from it.
ACCESSORIES AND CONSUMABLES
In the AEG webshop, you'll find everything you need to keep all your AEG appliances looking spotless and working perfectly. Along with a wide range of accessories designed and built to the high quality standards you would expect, from specialist cookware to cutlery baskets, from bottle holders to delicate laundry bags...





Visit the webshop at:
www.aeg-electrolux.com/shop
CONTENTS
65 Safety information
67 Control panel
72 First use
72 Daily use
74 Helpful hints and tips
76 Care and cleaning
78 What to do if...
80 Technical data
80 Installation
81 Environmental concerns
The following symbols are used in this user manual:

Important information concerning your personal safety and information on how to avoid damaging the appliance.

General information and tips

Environmental information
Subject to change without notice
SAFETY INFORMATION
In the interest of your safety and to ensure the correct use, before installing and first using the appliance, read this user manual carefully, including its hints and warnings. To avoid unnecessary mistakes and accidents, it is important to ensure that all people using the appliance are thoroughly familiar with its operation and safety features. Save these instructions and make sure that they remain with the appliance if it is moved or sold, so that everyone using it through its life will be properly informed on appliance use and safety. For the safety of life and property keep the precautions of these user's instructions as the manufacturer is not responsible for damages caused by omission.
Children and vulnerable people safety
- This appliance is not intended for use by persons (including children) with reduced physical, sensory or mental capabilities, or lack of experience and knowledge, unless they have been given supervision or instruction concerning use of the appliance by a person responsible for their safety.
Children should be supervised to ensure that they do not play with the appliance. - Keep all packaging well away from children. There is risk of suffocation.
- If you are discarding the appliance pull the plug out of the socket, cut the connection cable (as close to the appliance as you can) and remove the door to prevent playing children to suffer electric shock or to close themselves into it.
- If this appliance featuring magnetic door seals is to replace an older appliance having a spring lock (latch) on the door or lid, be sure to make that spring lock unusable before you discard the old appliance. This will prevent it from becoming a death trap for a child.
General safety
CAUTION!
Keep ventilation openings clear of obstruction.
- The appliance is intended for keeping foodstuff and/or beverages in a normal household as explained in this instruction booklet.
- Do not use a mechanical device or any artificial means to speed up the thawing process.
- Do not use other electrical appliances (such as ice cream makers) inside of refrigerating appliances, unless they are approved for this purpose by the manufacturer.
- Do not damage the refrigerant circuit.
- The refrigerant isobutane (R600a) is contained within the refrigerant circuit of the appliance, a natural gas with a high level of environmental compatibility, which is nevertheless flammable.
During transportation and installation of the appliance, be certain that none of the components of the refrigerant circuit become damaged.
If the refrigerant circuit should become damaged:
- avoid open flames and sources of ignition
-
thoroughly ventilate the room in which the appliance is situated
-
It is dangerous to alter the specifications or modify this product in any way. Any damage to the cord may cause a short-circuit, fire and/or electric shock.

WARNING!
Any electrical component (power cord, plug, compressor) must be replaced by a certified service agent or qualified service personnel.
- Power cord must not be lengthened.
- Make sure that the power plug is not squashed or damaged by the back of the appliance. A squashed or damaged power plug may overheat and cause a fire.
- Make sure that you can come to the mains plug of the appliance.
- Do not pull the mains cable.
- If the power plug socket is loose, do not insert the power plug. There is a risk of electric shock or fire.
-
You must not operate the appliance without the lamp cover16) of interior lighting.
-
This appliance is heavy. Care should be taken when moving it.
- Do not remove nor touch items from the freezer compartment if your hands are damp/wet, as this could cause skin abrasions or frost/freezer burns.
- Avoid prolonged exposure of the appliance to direct sunlight.
- Bulb lamps ^17 used in this appliance are special purpose lamps selected for household appliances use only. They are not suitable for household room illumination.
Daily Use
- Do not put hot pot on the plastic parts in the appliance.
- Do not store flammable gas and liquid in the appliance, because they may explode.
- Do not place food products directly against the air outlet on the rear wall.[18]
- Frozen food must not be re-frozen once it has been thawed out.
- Store pre-packed frozen food in accordance with the frozen food manufacturer's instructions.
- Appliance's manufacturers storage recommendations should be strictly adhered to. Refer to relevant instructions.
- Do not place carbonated or fizzy drinks in the freezer compartment as it creates pressure on the container, which may cause it to explode, resulting in damage to the appliance.
- Ice lollies can cause frost burns if consumed straight from the appliance.
Care and cleaning
- Before maintenance, switch off the appliance and disconnect the mains plug from the mains socket.
- Do not clean the appliance with metal objects.
-
Do not use sharp objects to remove frost from the appliance. Use a plastic scraper.
-
Regularly examine the drain in the refrigerator for defrosted water. If necessary, clean the drain. If the drain is blocked, water will collect in the bottom of the appliance.
Installation

For electrical connection carefully follow the instructions given in specific paragraphs.
- Unpack the appliance and check if there are damages on it. Do not connect the appliance if it is damaged. Report possible damages immediately to the place you bought it. In that case retain packing.
- It is advisable to wait at least four hours before connecting the appliance to allow the oil to flow back in the compressor.
- Adequate air circulation should be around the appliance, lacking this leads to overheating. To achieve sufficient ventilation follow the instructions relevant to installation.
- Wherever possible the back of the product should be against a wall to avoid touching or catching warm parts (compressor, condenser) to prevent possible burn.
- The appliance must not be located close to radiators or cookers.
- Make sure that the mains plug is accessible after the installation of the appliance.
- Connect to potable water supply only.19)
Service
- Any electrical work required to do the servicing of the appliance should be carried out by a qualified electrician or competent person.
- This product must be serviced by an authorized Service Centre, and only genuine spare parts must be used.
Environment Protection

This appliance does not contain gasses which could damage the ozone layer, in either its refrigerant circuit or insulation materials. The appliance shall not be discarded together with the urban refuse and rubbish. The insulation foam contains flammable gases: the appliance shall be disposed according to the applicable regulations to obtain from your local authorities. Avoid damaging the cooling unit, especially at the rear near the heat exchanger. The materials used on this appliance marked by the symbol are recyclable.
CONTROL PANEL

1 Appliance ON/OFF button
2 Fridge Temperature colder button
19) If a water connection is foreseen
3 Fridge Temperature warmer button
4 Mode button
5 OK button
6 Freezer Temperature colder button
7 Freezer Temperature warmer button
8 Display
It is possible to change predefined sound of buttons to a loudly one by pressing together Mode button and Temperature colder button for some seconds. Change is reversible.
Display

1 Fridge compartment indicator
2 Fridge temperature indicator and timer indicator
3 Fridge off indicator
4 COOLMATIC function
5 Holiday function
6 FROSTMATIC function
7 Freezer temperature indicator
8 Freezer compartment indicator
9 Alarm indicator
10 Child Lock function
11 Minute Minder function
Switching on
To switch on the appliance do these steps:
- Connect the mains plug to the power socket.
- Press the appliance ON/OFF button if the display is off.
- The alarm buzzer could operate after few seconds.
To reset the alarm refer to "High temperature alarm".
- The temperature indicators show the set default temperature.
To select a different set temperature refer to "Temperature regulation".
Switching off
To switch off the appliance do these steps:
- Press the appliance ON/OFF button for 5 seconds.
- The display switches off.
- To disconnect the appliance from the power disconnect the mains plug from the power socket.
Switching off the fridge
To switch off the fridge:
- Press the Mode button until the corresponding icon appears.
The fridge Off indicator and the fridge compartment indicator flash.
The fridge temperature indicator shows dashes.
- Press the OK button to confirm.
- The fridge Off indicator is shown.
Switching on the fridge
To switch on the fridge:
- Press the fridge temperature regulator.
Or: - Press the Mode button until the corresponding icon appears.
The Fridge Off indicator flashes.
- Press the OK button to confirm.
- The fridge Off indicator goes off.
To select a different set temperature refer to "Temperature regulation".
Temperature regulation
The set temperature of the fridge and of the freezer may be adjusted by pressing the temperature regulators.
Set default temperature:
- +5^ C for the fridge
- 18^ C for the freezer
The appliance activates a function mode that permite to optimize the food preservation and energy consumption.
Such a function guarantees the maximum silence during the performance of the appliance.
The temperature indicators show the set temperature.
The set temperature will be reached within 24 hours.

After a power failure the set temperature remains stored.
Minute Minder function
The Minute Minder function is to be used to set an acoustic alarm at the preferred time, useful for example when a recipe requires to cool down a mixture for a certain lenght of time, or when a reminder is needed in order not to forget the bottles pleaced in the freezer for fast cooling.
To switch on the function:
- Press the Mode button until the corresponding icon appears.
The Minute Minder indicator flashes.
The Timer shows the set value (30 minutes) for a few seconds.
-
Press the Timer regulator button to change the Timer set value from 1 to 90 minutes.
-
Press the OK button to confirm.
The Minute Minder indicator is shown.
The Timer start to flash (min).
At the end of the countdown the Minute Minder indicator flashes and an audible alarm sounds:
- Remove the drinks contained in the freezer compartment.
- Switch off the function.
To switch off the function:
- Press the Mode button until the Minute Minder indicator flashes.
- Press the OK button to confirm.
- The Minute Minder indicator goes off.
It is possible to deactivate the function at any time.
It is possible to change the time at any time and before the end by pressing the Temperature colder button and the Temperature warmer button.
Child Lock function
To lock the buttons from unintentional operation select the Child Lock function.
To switch on the function:
- Press the Mode button until the corresponding icon appears.
- The Child Lock indicator flashes.
- Press the OK button to confirm.
The Child Lock indicator is shown.
To switch off the function:
- Press the Mode button until the Child Lock indicator flashes.
- Press the OK button to confirm.
- The Child Lock indicator goes off.
High temperature alarm
An increase in the temperature in the freezer compartment (for example due to an earlier power failure) is indicated by:
- flashing the alarm and freezer temperature indicators
- sounding of buzzer.
To reset the alarm:
- Press any button.
- The buzzer switches off.
- The freezer temperature indicator shows the highest temperature reached for a few seconds. Then show again the set temperature.
- The alarm indicator continue to flash until the normal conditions are restored.
When the alarm has returned the alarm indicator goes off.
Door open alarm
An acoustic alarm will sound if the door is left open for a few minutes. The door open alarm conditions are indicated by:
- flashing Alarm light
- acoustic buzzer
When normal conditions are restored (door closed), the alarm will stop.
During the alarm, the buzzer can be switched off by pressing alarm button.
COOLMATIC function
If you need to insert a large amount of warm food, for example after doing the grocery shopping, we suggest activating the COOLMATIC function to chill the products more rapidly and to avoid warming the other food which is already in the refrigerator.
To switch on the function:
- Press the Mode button until the corresponding icon appears.
The COOLMATIC indicator flashes.
The fridge temperature indicator shows the set temperature.
- Press the OK button to confirm.
The COOLMATIC indicator is shown.
The COOLMATIC function shuts off automatically after approximately 6 hours.
To switch off the function before its automatic end:
- Press the Mode button until the COOLMATIC indicator flashes.
- Press the OK button to confirm.
- The COOLMATIC indicator goes off.
!
The function switches off by selecting a different fridge set temperature.
Holiday function
This function allows you to keep the refrigerator closed and empty during a long holiday period without the formation of a bad smell.
!
The fridge compartment must be empty with holiday function on.
To switch on the function:
- Press the Mode button until the corresponding icon appears.
The Holiday indicator flashes.
The fridge temperature indicator shows the set temperature.
- Press the OK button to confirm.
The Holiday indicator is shown.
To switch off the function:
- Press the Mode button until the Holiday indicator flashes.
- Press the OK button to confirm.
- The Holiday indicator goes off.
!
The function switches off by selecting a different fridge set temperature.
FROSTMATIC function
It is possible to place the fresh food to be frozen in all compartments except the lowest.
To switch on the function:
- Press the Mode button until the corresponding icon appears.
The FROSTMATIC indicator flashes.
The freezer temperature indicator shows [ ] symbol.
- Press the OK button to confirm.
The FROSTMATIC indicator is shown.
An animation starts.
This function stops automatically after 52 hours.
To switch off the function before its automatic end:
- Press the Mode button until the FROSTMATIC indicator flashes.
- Press the OK button to confirm.
- The FROSTMATIC indicator goes off.

The function switches off by selecting a different freezer set temperature.
FIRSTUSE
Cleaning the interior
Before using the appliance for the first time, wash the interior and all internal accessories with lukewarm water and some neutral soap so as to remove the typical smell of a brand-new product, then dry thoroughly.

Do not use detergents or abrasive powders, as these will damage the finish.
DAILY USE
Freezing fresh food
The freezer compartment is suitable for freezing fresh food and storing frozen and deep-frozen food for a long time.
To freeze fresh food activate the FROSTMATIC function at least 24 hours before placing the food to be frozen in the freezer compartment.
Place the fresh food to be frozen in the upper compartment.
The maximum amount of food that can be frozen in 24 hours is specified on the rating plate, a label located on the inside of the appliance.
The freezing process lasts 24 hours: during this period do not add other food to be frozen.
Storage of frozen food
When first starting-up or after a period out of use, before putting the products in the compartment let the appliance run at least 2 hours on the higher settings.
If large quantities of food are to be stored, remove all drawers and baskets from appliance and place food on cooling shelves to obtain the best performance.
WARNING!
Make sure that foods do not exceed the load limit stated on the side of the upper section (where applicable)
! In the event of accidental defrosting, for example due to a power failure, if the power has been off for longer that the value shown in the technical characteristics chart under "rising time", the defrosted food must be consumed quickly or cooked immediately and then re-frozen (after cooling).
Frozen Food Calendar
2-6














The symbols show different types of frozen goods.
The numbers indicate storage times in months for the appropriate types of frozen goods.
Whether the upper or lower value of the indicated storage time is valid depends on the quality of the foods and treating before freezing.
Thawing
Deep-frozen or frozen food, prior to being used, can be thawed in the refrigerator compartment or at room temperature, depending on the time available for this operation.
Small pieces may even be cooked still frozen, directly from the freezer: in this case, cooking will take longer.
Ice-cube production
This appliance is equipped with one or more trays for the production of ice-cubes. Fill these trays with water, then put them in the freezer compartment.

Do not use metallic instruments to remove the trays from the freezer.
Cold accumulators
One or more cold accumulators are supplied in the freezer; these increase the length of time for which food will keep in the event of a power failure or breakdown.
Movable shelves
The walls of the refrigerator are equipped with a series of runners so that the shelves can be positioned as desired.
For better use of space, the front half-shelves can lie over the rear ones.

Positioning the door shelves
To permit storage of food packages of various sizes, the door shelves can be placed at different heights.
Positioning the sliding box
The sliding box can be placed at different heights.
To make these adjustments proceed as follow:
- lift the shelf with the sliding box upwards and out of the holders in the door
- remove the retaining bracket out of the guide under the shelf
- Reverse the above operation to insert the sliding box at a different height.

HELPFUL HINTS AND TIPS
Hints for energy saving
- Do not open the door frequently or leave it open longer than absolutely necessary.
- If the ambient temperature is high and the Temperature Regulator is set to low temperature and the appliance is fully loaded, the compressor may run continuously, causing frost or ice on the evaporator. If this happens, set the Temperature Regulator to
ward warmer settings to allow automatic defrosting and so a saving in electricity consumption.
Hints for fresh food refrigeration
To obtain the best performance:
- do not store warm food or evaporating liquids in the refrigerator
- do cover or wrap the food, particularly if it has a strong flavour
- position food so that air can circulate freely around it
Hints for refrigeration
Useful hints:
Meat (all types): wrap in polythene bags and place on the glass shelf above the vegetable drawer.
For safety, store in this way only one or two days at the most.
Cooked foods, cold dishes, etc.: these should be covered and may be placed on any shelf.
Fruit and vegetables: these should be thoroughly cleaned and placed in the special drawer(s) provided.
Butter and cheese: these should be placed in special airtight containers or wrapped in aluminium foil or polythene bags to exclude as much air as possible.
Milk bottles: these should have a cap and should be stored in the bottle rack on the door.
Bananas, potatoes, onions and garlic, if not packed, must not be kept in the refrigerator.
Hints for freezing
To help you make the most of the freezing process, here are some important hints:
- the maximum quantity of food which can be frozen in 24 hrs. is shown on the rating plate;
- the freezing process takes 24 hours. No further food to be frozen should be added during this period;
- only freeze top quality, fresh and thoroughly cleaned, foodstuffs;
- prepare food in small portions to enable it to be rapidly and completely frozen and to make it possible subsequently to thaw only the quantity required;
- wrap up the food in aluminium foil or polythene and make sure that the packages are airtight;
- do not allow fresh, unfrozen food to touch food which is already frozen, thus avoiding a rise in temperature of the latter;
- lean foods store better and longer than fatty ones; salt reduces the storage life of food;
- water ices, if consumed immediately after removal from the freezer compartment, can possibly cause the skin to be freeze burnt;
- it is advisable to show the freezing in date on each individual pack to enable you to keep tab of the storage time.
Hints for storage of frozen food
To obtain the best performance from this appliance, you should:
-
make sure that the commercially frozen foodstuffs were adequately stored by the retailer;
-
be sure that frozen foodstuffs are transferred from the foodstore to the freezer in the shortest possible time;
not open the door frequently or leave it open longer than absolutely necessary. - Once defrosted, food deteriorates rapidly and cannot be refrozen.
- Do not exceed the storage period indicated by the food manufacturer.
CARE AND CLEANING

CAUTION!
Unplug the appliance before carrying out any maintenance operation.

This appliance contains hydrocarbons in its cooling unit; maintenance and recharging must therefore only be carried out by authorized technicians.
Periodic cleaning
The equipment has to be cleaned regularly:
- clean the inside and accessories with lukewarm water and some neutral soap.
- regularly check the door seals and wipe clean to ensure they are clean and free from debris.
- rinse and dry thoroughly.

Do not pull, move or damage any pipes and/or cables inside the cabinet.
Never use detergents, abrasive powders, highly perfumed cleaning products or wax polishes to clean the interior as this will damage the surface and leave a strong odour.
Clean the condenser (black grill) and the compressor at the back of the appliance with a brush or a vacuum cleaner. This operation will improve the performance of the appliance and save electricity consumption.

Take care of not to damage the cooling system.
Many proprietary kitchen surface cleaners contain chemicals that can attack/damage the plastics used in this appliance. For this reason it is recommended that the outer casing of this appliance is only cleaned with warm water with a little washing-up liquid added.
After cleaning, reconnect the equipment to the mains supply.
Defrosting of the refrigerator
Frost is automatically eliminated from the evaporator of the refrigerator compartment every time the motor compressor stops, during normal use. The defrost water drains out through a trough into a special container at the back of the appliance, over the motor compressor, where it evaporates.
It is important to periodically clean the defrost water drain hole in the middle of the refrigerator compartment channel to prevent the water overflowing and dripping onto the food inside. Use the special cleaner provided, which you will find already inserted into the drain hole.

Defrosting the freezer
A certain amount of frost will always form on the freezer shelves and around the top compartment.
Defrost the freezer when the frost layer reaches a thickness of about 3-5 mm.

About 12 hours prior to defrosting, set the Temperature regulator toward higher settings, in order to build up sufficient chill reserve for the interruption in operation.
To remove the frost, follow the instructions below:
- Switch off the appliance.
- Remove any stored food, wrap it in several layers of newspaper and put it in a cool place.

CAUTION!
Do not touch frozen goods with wet hands. Hands can freeze to the goods.
- Leave the door open and insert the plastic scraper in the appropriate seating at the bottom centre, placing a basin underneath to collect the defrost water

In order to speed up the defrosting process, place a pot of warm water in the freezer compartment. In addition, remove pieces of ice that break away before defrosting is complete.
- When defrosting is completed, dry the interior thoroughly and keep the scraper for future use.
- Switch on the appliance.
- After two or three hours, reload the previously removed food into the compartment.


Never use sharp metal tools to scrape off frost from the evaporator as you could damage it.
Do not use a mechanical device or any artificial means to speed up the thawing process other than those recommended by the manufacturer.
A temperature rise of the frozen food packs, during defrosting, may shorten their safe storage life.
Periods of non-operation
When the appliance is not in use for long periods, take the following precautions:
- disconnect the appliance from electricity supply
- remove all food
- defrost ^20 and clean the appliance and all accessories
- leave the door/doors ajar to prevent unpleasant smells.
If the cabinet will be kept on, ask somebody to check it once in a while to prevent the food inside from spoiling in case of a power failure.
WHAT TO DO IF...

WARNING!
Before troubleshooting, disconnect the mains plug from the mains socket.
Only a qualified electrician or competent person must do the troubleshooting that is not in this manual.

There are some sounds during normal use (compressor, refrigerant circulation).
| Problem | Possible cause | Solution |
| The appliance is noisy | The appliance is not supported properly | Check if the appliance stands sta-ble (all the four feet should be on the floor) |
| The appliance does not op-erate. The lamp does not operate. | The appliance is switched off. | Switch on the appliance. |
| The mains plug is not connec-ted to the mains socket correct-ly. | Connect the mains plug to the mains socket correctly. | |
| The appliance has no power. There is no voltage in the mains socket. | Connect a different electrical ap-pliance to the mains socket. Contact a qualified electrician. | |
| The lamp does not work. | The lamp is in stand-by. | Close and open the door. |
| The lamp is defective. | Refer to "Replacing the lamp". | |
| The Pilot light flashes. | The appliance is not working properly. | Contact a qualified electrician. |
| The buzzer sounds. The Alarm light flashing. | The temperature in the freezer is too high. | Refer to "High Temperature Alarm". |
| The compressor operates continually. | The temperature is not set correctly. | Set a higher temperature. |
| The door is not closed correctly. | Refer to "Closing the door". | |
| The door has been opened too frequently. | Do not keep the door open longer than necessary. | |
| The product temperature is too high. | Let the product temperature decrease to room temperature before storage. | |
| The room temperature is too high. | Decrease the room temperature. | |
| The compressor does not start immediately after pressing the FROSTMATIC or COOLMATIC button, or after changing the temperature. | This is normal, no error has occurred. | The compressor starts after a period of time. |
| Water flows on the rear plate of the refrigerator. | During the automatic defrost-ing process, frost defrosts on the rear plate. | This is correct. |
| Water flows into the refrigerator. | The water outlet is clogged. | Clean the water outlet. |
| Products prevent that water flows into the water collector. | Make sure that products do not touch the rear plate. | |
| Temperature cannot be set. | FROSTMATIC or COOLMATIC functions switched on. | Switch off FROSTMATIC or COOL-MATIC manually, or wait to set the temperature until the function has reset automatically. Refer to "FROSTMATIC or COOLMATIC function". |
| The temperature in the appliance is too low/high. | The temperature regulator is not set correctly. | Set a higher/ lower temperature. |
| The door is not closed correctly. | Refer to "Closing the door". | |
| The product temperature is too high. | Let the product temperature decrease to room temperature before storage. | |
| Many products are stored at the same time. | Store less products at the same time. | |
| The temperature in the refrigerator is too high. | There is no cold air circulation in the appliance. | Make sure that there is cold air circulation in the appliance. |
| The temperature in the freezer is too high. | Products are too near to each other. | Store products so that there is cold air circulation. |
| There is too much frost. | Food is not wrapped correctly. | Wrap the food correctly. |
| The door is not closed correctly. | Refer to "Closing the door". | |
| The temperature regulator is not set correctly. | Set a higher temperature. |
Replacing the lamp
The appliance is equipped with a longlife LED interior light.
Only service is allowed to replace the lighting device. Contact your Service Center
Closing the door
- Clean the door gaskets.
- If necessary, adjust the door. Refer to "Installation".
- If necessary, replace the defective door gaskets. Contact the Service Center.
TECHNICAL DATA
| Dimension of the recess | ||
| Height | 1780 mm | |
| Width | 560 mm | |
| Depth | 550 mm | |
| Rising Time | 24 h |
The technical information are situated in the rating plate on the internal left side of the appliance and in the energy label.
INSTALLATION
Positioning

WARNING!
If you are discarding an old appliance that has a lock or catch on the door, you must ensure that it is made unusable to prevent young children being trapped inside.

The appliance shall have the plug accessible after installation.
Install this appliance at a location where the ambient temperature corresponds to the climate class indicated on the rating plate of the appliance:
| Climate class | Ambient temperature |
| SN | +10°C to + 32°C |
| N | +16°C to + 32°C |
| ST | +16°C to + 38°C |
| T | +16°C to + 43°C |
Electrical connection
Before plugging in, ensure that the voltage and frequency shown on the rating plate correspond to your domestic power supply.
The appliance must be earthed. The power supply cable plug is provided with a contact for this purpose. If the domestic power supply socket is not earthed, connect the appliance to a separate earth in compliance with current regulations, consulting a qualified electrician.
The manufacturer declines all responsibility if the above safety precautions are not observed.
This appliance complies with the E.E.C. Directives.
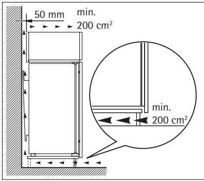
Ventilation requirements
The airflow behind the appliance must be sufficient.

ENVIRONMENTAL CONCERNS
The symbol on the product or on its packaging indicates that this product may not be treated as household waste. Instead it should be taken to the appropriate collection point for the recycling of electrical and electronic equipment. By ensuring this product is disposed of correctly, you will help prevent potential negative consequences for the environment and human health, which could otherwise be caused by inappropriate waste handling of this product. For more detailed information about recycling of this product, please contact your local council, your household waste disposal service or the shop where you purchased the product.
EasyManual