DARLING - Wood stove AUSTRO FLAMM - Free user manual and instructions
Find the device manual for free DARLING AUSTRO FLAMM in PDF.
User questions about DARLING AUSTRO FLAMM
0 question about this device. Answer the ones you know or ask your own.
Ask a new question about this device
Download the instructions for your Wood stove in PDF format for free! Find your manual DARLING - AUSTRO FLAMM and take your electronic device back in hand. On this page are published all the documents necessary for the use of your device. DARLING by AUSTRO FLAMM.
USER MANUAL DARLING AUSTRO FLAMM
secondary air supply
primary air supply
italiano
aperto - chiuso
- Techn. data 4
- Important information 4
- Correct operation of your stove 5
- The most important spare parts - overview 6 Guarantee 13
italiano
indice
As a stove of construction type 1, it is possible to connect it to the flue pipe of an existing other stove or another furnace for solid and liquid fuels, as long as the chimney does complies with DIN 4705, Part 3.
| TECHNICAL DATA | |
| Height | 914 mm |
| Width | 478 mm |
| Depth | 435 mm |
| Weight | 130 kg |
| Weight with ceramic shell | 153 kg |
| Flue pipe outlet diameter | 130 mm |
| Nominal thermal output (DIN 18891) | 6 kW |
| Maximum thermal capacity | 8 kW |
| Smallest heating capacity | 3 kW |
| Room heating capacity (depending on building insulation) | 50 – 130 m³ |
| Exhaust values for multiple use of the chimney in accordance with DIN 4705, Part 3 and for the calculation of the chimney measurements in accordance with DIN 4705, Part 2 | ||
| Fluegas mass flow | closed | 7 g/s |
| Fluegas temperature | closed | 380 °C |
| Minimum feed pressure Nominal thermal output | closed | 0.12 mbar |
| at 0.8 times n. ther. outp. | 0.10 mbar | |
2. IMPORTANT INFORMATION
The installation and operation information given here is of a general nature, exact regulations may vary from country to country. The rules in force in your country should always take precedence.
General Safety Instructions for the Operation of Your Stove
- Thoroughly read the entire manual before starting up your stove and ensure compliance with the warnings.
- Your heating unit may not be moved without approved means of transport with sufficient load-bearing capacity.
- Your heating unit is not suitable to be used as a stand or as a ladder.
- The burning of fuel releases thermal energy that leads to a substantial heating up of the surface of the heating unit, the doors, the parts mounted on the door, door glass, flue pipe and in some cases the front wall of the heating unit. Do not touch any of these surfaces without respective protective clothing or without the help of accessories such as heat-resistant gloves or a cold hand.
Make your children aware of this particular danger and keep them at a distance from the heating unit whenever it is in operation. - Only burn approved fuels and materials listed in the section entitled Clean Burning.
- The burning or introduction of flammable or explosive materials, such as empty spray cans and the like into the firebox as well as the storage of such materials in the immediate vicinity of your
heating unit is strictly forbidden due the danger of explosion.
- Do not wear loose or flammable clothing when adding fuel to the fire.
- Placing non-heat-resistant objects on the heating unit or in the vicinity of the heating unit is forbidden.
- Do not lay laundry onto the stove for drying.
- Laundry hung up to dry must be kept at a safe distance from the stove because of the danger of fire.
- When operating your heating unit it is forbidden to use flammable or explosive materials in the same or an adjacent room to the one in which your heating unit is located.
Setting Up Your Stove
Safety Clearances (Minimum Distances in Fig. 2)
- To nonflammable objects:
a > 400 mm b > 200 mm c > 300 mm - To flammable objects and to supporting walls of reinforced-concrete construction with convection shell:
a > 800 mm b > 200 mm c > 300 mm (a - toward the front in the radiated area) (b - to the side) (c - to the back)
Make sure that the room in which the stove is set up has at least one door or window to the outside or is directly adjacent to such a room.
Floor Load Capacity
Before the heating unit is installed, make sure that the load capacity of the supporting construction is sufficient to carry the weight of the entire unit.
Stovepipe Connection
For your own safety stringent laws apply to the connecting of the stovepipe to the chimney. Your professional dealer or distributor knows these laws. Please have your certified retailer carry out the connection of your stove.
Initial startup of your stove
Your stove was treated with a special environmentally friendly lacquer. The lacquer surface is still soft at the time the stove is shipped. The lacquer will harden when your stove is used for the first time. The lacquer surface may not be touched when it is heated for the first time. The stove must be initially heated to a high temperature for at least 1.5 hours. Visible vapors may appear during the hardening of the lacquer. For this reason it will be necessary to open windows during initial operation in order let the vapors escape into the outdoors.
PLEASE TAKE NOTE: It takes several heating sessions before for your stove releases only the pleasant smell of burning wood.
Approved Fuels
Dry, well cured and natural wood, wood briquettes.
Maximum Amount of Fuel
Maximum amount of fuel to be added: 1,6 kg wood or 1,8 kg wood briquettes. Larger amounts of fuel can lead to overheating and thus damage the stove.
Clean Burning
The wood must be dry (relative wood moisture < 15% ) and untreated and the right amount of wood must be burned in order to ensure a clean fire that releases only small amounts of emissions.
Making a Fire
Prepare everything you need for starting the fire—soft wood chips, igniter materials (such as Thermohit wood/coal igniter), uncoated paper, wood. Figure 1 provides a good overview of the materials you will need.

Figure 3: Heating Material
Open the primary and secondary air all the way. Move both sliders. See Figure 2.
Open the stove door.
Lay uncoated paper on the floor of the firebox. Lay soft wood chips onto the paper. Lay one or two logs of wood on the wood chips.

Figure 4: Igniting the Fire
Light the paper.
Close the firebox.
As soon as the chips are burning well, close the primary air supply.

Figure 5: Close the Primary Air
As soon as the wood logs are burning well, you can regulate the heating capacity with the secondary air slider. (Slider set to the maximum ("AUF") setting produces maximum heat – see Figure 2.)
When adding wood to the fire, follow the same procedure as when igniting the fire: Open primary air, open secondary air, carefully open firebox door, lay wood on the fire, close the firebox door. Wait until the added wood catches fire and is burning. Then close the primary air. Subsequently regulate the fire with the secondary air supply.
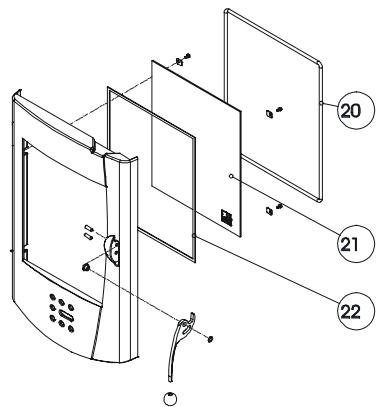
4. THE MOST IMPORTANT SPARES-OVERVIEW
Gaskets
| Description | Nr. drawing | Part number |
| Flat gasket 8 x 2 x 1440 mm | 22 | 710096 |
| Round gasket d=12 x 1560 mm | 20 | 710338 |
Keramott
| Description | Nr. drawing | Part number |
| Darling Keramott rear | 8 | 716080 |
| Darling Keramott lateral left | 6 | 716081 |
| Darling Keramott lateral right | 7 | 716082 |
| Darling baffle plate cast large | 3 | 716194 |
| Darling baffle plate vermiculite large | 4 | 716175 |
| Darling baffle plate vermiculite small | 5 | 716253 |
| Darling bottom grate | 1 | 716025 |
| Darling riddling grat | 2 | 716122 |
| Darling wood retainer | 9 | 716075 |
Other parts
| Description | Nr. drawing | Part number |
| Darling door glass | 21 | 716062 |
| Stove lacquer | -- | 650002 |
| Wood/coal igniter | -- | 640067 |
| Glass cleaner ½ litre | -- | 640070 |

Keramott numbering = installation instructions!

Accessories
You can obtain floor plates of glass or steel, fireplace utensils and care products from your certified dealer.
IMPORTANT: Have defective parts replaced by your certified dealer. This will guarantee that your stove functions properly and safely.
Maintenance
To clean the glass, please use a specialized product such as Thermohit glass cleaner. Lacquered surfaces are to be cleaned only with a cloth (may be damp). Special cleaning agents should also be used for stainless steel surfaces.
1. DATI TECHNICI
We guarantee full functionality of all AUSTROFLAMM stove components made of steel or cast iron for a full two years from the date of purchase. Steel and cast-iron components which show defect in materials or workmanship during the guarantee period shall be replaced with new components.
We do not guarantee wearable components (such as Keramott, gaskets, floor grid), surface coatings, lacquer, glass and ceramics.
Conditions of the Guarantee:
- Your AUSTROFLAMM stove was installed by a certified professional and is operated in accordance with the operator's manual.
- Claims to the guarantee shall be subject to a completely filled-out Guarantee Card and submittal of the original invoice issued by a certified AUSTROFLAMM sales agent.
IMPORTANT: Our guarantee includes free shipping of new components. Work and travel times are not included. Unwarranted claims shall be re-invoiced to the operator.
Im Garantiefall herausschneiden und Ihrem AUSTROFLAMM-Fachhändler vorlagen! In the event of claims to the guarantee, separate here and present this proof of purchase to your certified AUSTROFLAMM dealer.
GARANTIE / GUARANTEE / GARANZIA / GARANTIE
Handlerstempel / Dealer's Stamp / Timbro concessionario / tampon du concessionnaire
Kaufdatum / date of purchase / Data d'acquisto / date d'achat

Kunde / Customer / cliente / client
Marke
Stamp
Francobollo
affranchir
an/ to /per/pour
EasyManual