HC60N - ACEC - Free user manual and instructions
Find the device manual for free HC60N ACEC in PDF.
User questions about HC60N ACEC
0 question about this device. Answer the ones you know or ask your own.
Ask a new question about this device
Download the instructions for your in PDF format for free! Find your manual HC60N - ACEC and take your electronic device back in hand. On this page are published all the documents necessary for the use of your device. HC60N by ACEC.
USER MANUAL HC60N ACEC
This appliance has been designed for use as either an EXTRACTION (ducting to the outside) or RECIRCULATION (filtering) hood.
The measurements contained on the drawings in this booklet refer to two models of cooker hood. Therefore, it is essential that you refer to the correct drawing when taking measurements for installation.
WARNING!
- The minimum distance between the cooking surface and the metal grease filters on the underside of the hood must be 650mm .
- This cooker hood must be installed in accordance with the installation instructions and all requirements must be adhered to.
- If the room where the cooker hood is to be used contains a fuel burning appliance such as a central heating boiler then its flue must be of the room sealed or balance flue type.
- If other types of flue or appliances are fitted ensure that there is an adequate supply of air to the room.
- When the cooker hood is used in conjunction with appliances supplied with energy other than electricity, the negative pressure in the room must not exceed 0.4 mbar to prevent fumes being drawn back into the room by the hood.
- The ducting system for this appliance must not be connected to any ventilation system which is being used for any other purpose.
- The ducting system for this appliance must not be connected to any existing ventilation system which is being used for any other purpose.
- Do not leave naked flames or carry out flambe cooking under this cooker hood.
CONNECTION TO THE MAINS
WARNING: DOUBLE INSULATED DO NOT EARTH
Before connecting to the mains supply ensure the mains voltage corresponds to the voltage on the rating plate inside the hood.
This appliance is fitted with a 2 core mains cable and must be permanently connected to the electricity supply via a double-pole switch having 3mm minimum contact gap on each pole.
Aplied norms:
EN 60355-1/88 (CEI 61-50/89)
The cooker hood must be installed centrally over a cooking appliance. The minimum distance between the cooking surface and the metal grease filters on the underside of the hood must be at least 650mm . To install the hood proceed as follows: -
1 - Firstly, draw a vertical line approximately 950mm up the wall from the centre of the cooking appliance. Secondly, draw two vertical lines 90mm either side of the first line up to the ceiling. Thirdly, draw four horizontal lines through the vertical lines at Y-J-X2-X1 as illustrated in fig. 1 to give you your drilling positions.
2 - Drill eight 8mm diameter holes at X1-X2-J-Y and insert the plastic rawl plugs supplied as illustrated in fig. 2 ensuring the brackets are fitted as shown in the blow up.
3 - Secure the two brackets C to the wall inserting two of the screws supplied through the two holes on line X1-X2 as illustrated in fig. 2.
4 - Secure the locking washer D to the wall inserting one of the screws supplied through hole Y as illustrated in fig. 2 ensuring the washer is fitted with the recess to the wall as shown in the blow up.
5 - Slide the canopy down the wall to locate the key hole over the washer then secure the canopy to the wall by inserting two of the screws supplied through the two outer holes in the rim of the canopy J1 and J2 as illustrated in fig. 3.
To prevent the canopy from accidentally being dislodged from the wall at anytime fit the final screw supplied through hole J3.
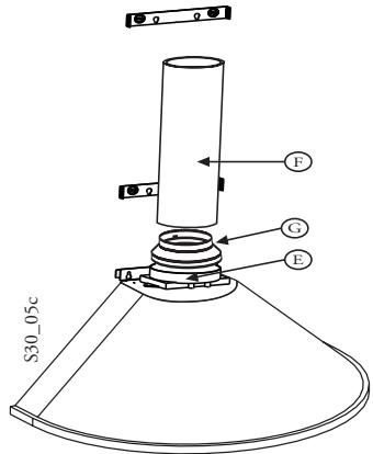
6 - Fit the ducting flange E over the rectangular air outlet in the top of the canopy rim using the two 2.9mm self tapping screws provided as illustrated in fig. 4.
7 - EXTRACTION OR RECIRCULATION INSTALLATION:
7A EXTRACTION (Ducted)
- When used in the extraction(ducted) mode contaminated air enters the cooker hood through the metal grease filters and passes out through ducting to the outside.
- When the hood is ducted to the outside the 150 to 120mm diameter ducting spigot G must be fitted onto the ducting flange E as illustrated in fig. 5.
- The (optional) ducting required must be 120mm in diameter and made from fire retardant material. Where flexible ducting is fitted it should not be turned through very tight bends as this could impair the performance of the hood.
- IMPORTANT: The ducting used inside the chimney must not be larger than 120mm in diameter as this could subsequently prevent the chimney fitting correctly.
- The ducting system for this appliance must not be connected to any ventilation system which is being used for any other purpose.
7B RECIRCULATION (Filtered)
- When used in the recirculation mode (filtered) contaminated air enters the cooker hoDD through the metal grease filters, passes through the (optional) cleansing charcoal filters where it is purified and passes out into the kitchen through the grilles in the chimney.
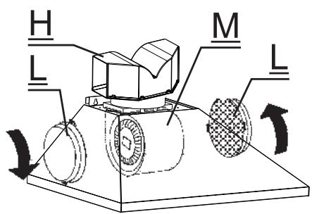
- When the hood is fitted in the recirculation mode the air deflector H should be fitted as illustrated in fig. 6.
-
Fit the (optional) charcoal filters by repeating the following operation on each side of the motor housing. Place the two key hole slots in the filter L over the tabs on the motor housing M and turn the filter clockwise to lock the filter in position as illustrated in fig. 7.
-
WARNING: It is a possible fire hazard if the metal grease filters are not cleaned and the charcoal filters replaced regularly.
8 FITTING THE CHIMNEY
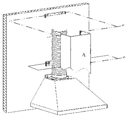
- To fit the (longer) upper chimney A, place the top edge of the chimney over the bracket C as illustrated in fig. 8 and secure the chimney using two of the 2.9mm self tapping screws provided.
- The distance in the height between the fixing holes X1 and X2 is determined by the height of the upper chimney A.
- To fit the (shorter) lower chimney B, apply slight force to the two rear edges to increase the width of the aperture, then sleeve the chimney B over the chimney A as illustrated in fig. 9.
OPERATION
- The cooker hood functions are controlled by a series of slider or push button switches mounted on the front of the hood and control the worktop lighting and fan motor speeds.
- This cooker hood will not remove steam.
1 - SLIDER SWITCHES
- A switch controls the wotktop lighting - ON/OFF.
- A switch controls the fan speeds - OFF/ON-1-2-3.
- The red neon lamp illuminates when the motor is switched ON .
2 - PUSH BUTTON SWITCHES
- A switch controls the worktop lighting - ON/OFF.
- A button switches the motor OFF/ON at the low speed setting.
- A button switches the motor to the medium speed setting.
- A button switches the motor to the high speed setting.
- The red neon lamp illuminates when the motor is switched ON.
3 - SPEED SETTINGS
- 1/Low should be selected when simmering or when using only one pan.
- 2/Medium should be selected for cooking when using up to four pans.
- 3/High should be selected when frying or cooking food with a strong odour.
MAINTENANCE
N.B. Before carrying out any kind of maintenance, cleaning or replacing lamps, disconnect the hood from the mains supply.
1. Lighting
Comprises two 40W bulbs. To replace the bulbs, proceed as follows (fig.10): Remove one of the pins at the sides of the lamp cover. Slide the glass towards the side from which the pin has been removed until the opposite edge has been freed, then pull gently downwards. Replace the bulbs and fit the glass again by repeating the above operations in reverse order.
2. Filters
The metal grease filter should be cleaned every two months or more frequently if the hood is used consistently and can be cleaned in a dishwasher or by hand using a mild detergent or liquid soap. When replacing, ensure that they are dry.
The charcoal filter cannot be washed and should be replaced at least every 2 months or more frequently if the hood is used consistently.
3. Cleaning
When cleaning the hood, it is recommended to use a damp cloth and mild liquid household cleaner. Never use abrasive cleaning materials,
IMPORTANT: When using a gas hob in connection with the cooker hood never leave the burners of the hob uncovered while the hood is in use or when the pans have been removed. It is very important to follow all instructions for cleaning the hood and filters. There could be a possible fire hazard if the filters are not replaced according to these instructions.
ATTENTION: The manufacturer declines all responsibility for any damage or injury caused as a result of not following the instructions for installation, for maintenance and replacement times of filters indicated (in order to avoid a possible risk of fire when the filters are saturated with grease).

6

7

8

9

10

1


4


5

6

7

8

9

10
CE
This appliance complies with European regulations on low voltages, EEC Directive 73/23 on electrical safety, and with the following European regulations: EEC Directive 89/336 on electromagnetic compatibility and EEC Directive 93/68 on EC marking.
EasyManual