331 - Chain saw POULAN - Free user manual and instructions
Find the device manual for free 331 POULAN in PDF.
Download the instructions for your Chain saw in PDF format for free! Find your manual 331 - POULAN and take your electronic device back in hand. On this page are published all the documents necessary for the use of your device. 331 by POULAN.
USER MANUAL 331 POULAN
Read and follow all Safety Rules and Operating Instructions before using this product. Failure to do so can result in serious injury.
ADVERTENCIA:
Electrolux Home Products
North America
Div. of WCI Outdoor Products, Inc.
Augusta, GA 30907
Copyright ©2001 WCI Outdoor Products, Inc.
530088910 5/4/01
ESPANOL
T
SAFETY RULES
WARNING: When using gardening appliances, basic safety precautions should always be followed to reduce the risk of fire and serious injury. Read and follow all instructions. Failure to do so can result in serious injury.
ADANGER: This power tool can be dangerous! This unit can cause serious injury including amputation or blindness to the operator and others. The warnings and safety instructions in this manual must be followed to provide reasonable safety and efficiency in using the unit. The operator is responsible for following the warnings and instructions in this manual and on the unit. Read the entire instruction manual before assembling and using the unit! Restrict the use of this unit to persons who read, understand, and follow the warnings and instructions in this manual and on the unit. Never allow children to operate this unit.

INSTRUCTION MANUAL

SAFETY INFORMATION ON THE UNIT
DANGER: Blade can thrust violently away from material it does not cut. Blade thrust can cause amputation of arms or legs. Keep people and animals 50 feet (15 meters) away.

WARNING: Trimmer line can throw objects violently. You and others can be blinded or injured. Wear safety glasses and leg protection.

WARNING: Hazard zone for thrown objects. Blade/Trimmer line can throw objects violently. Others can be blinded or injured. Keep people and animals 50 feet (15 meters) away.

WARNING: Do not use trimmer head as a fastening device for the blade.

WARNING: The blade continues to spin after the throttle is released or, engine is turned off. The coasting blade can throw objects or seriously cut you if accidentally touched. Stop the blade by contacting the left hand side of the coasting blade with material already cut.

OPERATOR SAFETY
- Dress properly. Always wear safety glasses or similar eye protection when operating, or performing maintenance on your unit. (Safety glasses are available.) Eye protection should be marked Z87.
Always wear face or dust mask if operation is dusty.
Always wear heavy, long pants, long sleeves, boots, and gloves. Wearing safety leg guards is recommended.
Always wear foot protection. Do not go barefoot or wear sandals. - Secure hair above shoulder length. Secure or remove loose clothing and jewelry or clothing with loosely hanging ties, straps, tassels, etc. They can be caught in moving parts.
- Being fully covered also helps protect you from debris and pieces of toxic plants thrown by spinning line/blade.
- Stay Alert. Do not operate unit when you are tired, ill, or under influence of alcohol, drugs, or medication. Watch what you are doing; use common sense.
-
Wear hearing protection.
-
Never start or run the engine inside a closed room or building. Breathing exhaust fumes can kill.
- Keep handles free of oil and fuel.
Always use the handlebar and a properly adjusted shoulder strap with a blade (see ASSEMBLY).
UNIT/MAINTENANCE SAFETY
WARNING: Stop unit and disconnect the spark plug before performing maintenance (except carburetor adjustments).
- Look for and replace damaged or loose parts before each use. Look for and repair fuel leaks before use. Keep unit in good working condition.
- Throw away blades that are bent, warped, cracked, broken, or damaged in any other way. Replace trimmer head parts that are cracked, chipped, broken, or damaged in any other way before using the unit.
- Maintain unit according to recommended procedures. Keep blade sharp. Keep cutting line at the proper length.
- Use only 0.095'' (2.4 mm) diameter Poulan PRO® brand line. Never use wire, rope, string, etc.
- Install required shield properly before using the unit. Use the metal shield for all metal blade use. Use the plastic shield for all line trimmer use.
- Use only specified blade or trimmer head; make sure it is properly installed and securely fastened.
- Never start engine with clutch shroud removed. The clutch can fly off and cause serious injury.
- Be sure blade or trimmer head stops turning when engine idles.
- Make carburetor adjustments with the lower end supported to prevent blade or trimmer line from contacting any object. Hold unit by hand; do not use the shoulder strap for support.
- Keep others away when making carburetor adjustments.
- Use only recommended Poulan PRO® accessories and replacement parts.
- Have all maintenance and service not explained in this manual performed by your authorized service dealer.
FUEL SAFETY
- Mix and pour fuel outdoors.
- Keep away from sparks or flames.
- Use a container approved for fuel.
- Do not smoke or allow smoking near fuel or the unit or while using the unit.
- Avoid spilling fuel or oil. Wipe up all fuel spills before starting engine.
- Move at least 10 feet (3 meters) away from fueling site before starting engine.
- Stop engine and allow it to cool before removing fuel cap.
- Empty the fuel tank before storing or transporting the unit. Use up fuel left in the carburetor by starting the engine and letting it run until it stops.
- Store unit and fuel in area where fuel vapors cannot reach sparks or open flames from
water heaters, electric motors or switches, furnaces, etc.
- Always store gasoline in a container approved for flammable liquids.
CUTTING SAFETY
WARNING: Inspect the area to be cut before each use. Remove objects (rocks, broken glass, nails, wire, string, etc.) which can be thrown or become entangled in the blade or trimmer head.
- Keep others including children, animals, bystanders, and helpers at least 50 feet (15 meters) away. Stop engine immediately if you are approached.
Always keep engine on the right-hand side of your body. - Hold the unit firmly with both hands.
- Keep firm footing and balance. Do not overreach.
- Keep blade or trimmer head below waist level. Do not raise engine above your waist.
- Keep all parts of your body away from blade, trimmer head, and muffler when engine is running. A hot muffler can cause serious burns.
- Cut from your right to your left.
- Use only in daylight or good artificial light.
- Use only for jobs explained in this manual.
TRANSPORTING AND STORAGE
- Stop the unit before carrying.
- Keep muffler away from your body.
- Allow the engine to cool and secure the unit before storing or transporting it in a vehicle.
- Empty the fuel tank before storing or transporting the unit. Use up fuel left in the carburetor by starting the engine and letting it run until it stops.
- Store unit so the blade or line limiter blade cannot accidentally cause injury. The unit can be hung by the tube.
- Store unit out of reach of children.
SAFETY NOTICE: Exposure to vibrations through prolonged use of gasoline powered hand tools could cause blood vessel or nerve damage in the fingers, hands, and joints of people prone to circulation disorders or abnormal swellings. Prolonged use in cold weather has been linked to blood vessel damage in otherwise healthy people. If symptoms occur such as numbness, pain, loss of strength, change in skin color or texture, or loss of feeling in the fingers, hands, or joints, discontinue the use of this tool and seek medical attention. An anti-vibration system does not guarantee the avoidance of these problems. Users who operate power tools on a continual and regular basis must monitor closely their physical condition and the condition of this tool.
SPECIAL NOTICE: This unit is equipped with a temperature limiting muffler and spark arresting screen which meets the requirements of California Codes 4442 and 4443. All U.S. forest land and the states of California, Idaho, Maine, Minnesota, New Jersey, Oregon, and Washington require by law that many internal combustion engines be equipped with a spark arresting screen. If you
operate in a locale where such regulations exist, you are legally responsible for maintaining the operating condition of these parts. Failure to do so is a violation of the law. For normal homeowner use, the muffler and spark arresting screen will not require any service. After 50 hours of use, we recommend that your muffler be serviced or replaced by your authorized service dealer.
ASSEMBLY
CARTON CONTENTS
Check carton contents for the following:
- brushcutter
blade shield screws (4) - cupped washer
- large nut for installing blade
- long hex wrench
metal shield - plastic shield
- shoulder strap with warning
- weed blade
- trimmer head (assembled on unit)
- handlebar (assembled on unit)
- container of oil
Examine parts for damage. Do not use damaged parts.
NOTE: If you need assistance or find parts missing or damaged, call 1-800-554-6723.
It is normal for the fuel filter to rattle in the empty fuel tank.
Finding fuel or oil residue on muffler is normal due to carburetor adjustments and testing done by the manufacturer.
ASSEMBLY

WARNING: Always stop unit and dis-
connect spark plug before performing any assembly procedures.

WARNING: Make sure your unit is
properly assembled and all fasteners are secure.
TOOLS REQUIRED
- Hex wrench (provided)
- Adjustable wrench
- Phillips screwdriver
ADJUST AND SECURE THE HANDLEBAR

DANGER: During blade usage, the
barrier portion of the handlebar must be adjusted and remain installed as shown to provide a barrier between operator and the spinning blade. The handlebar clamp must be positioned between the arrows on the handlebar decal.
- Lift handlebar to upright position.

- Rotate handlebar/clamp counterclockwise toward engine until clamp falls into groove of clamp base.

- Place the handlebar in a comfortable operating position.
- Retighten handlebar by turning clamp knob clockwise until handlebar is secure and stationary in clamp base (clamp knob can not be overtightened).
ASSEMBLY OF SHOULDVER STRAP

WARNING: Proper shoulder strap
and handlebar adjustments before starting the engine are required.
- Try on shoulder strap and adjust for fit and balance before starting the engine or beginning a cutting operation.
- Insert your right arm and head through the shoulder strap and allow it to rest on your left shoulder. Make sure the danger sign is on your back and the hook is to the right side of your waist.
NOTE: A one-half twist is built in the shoulder strap to allow the strap to rest flat on the shoulder.
- Adjust the strap, allowing the hook to be about 6 inches below the waist.
- Fasten the strap hook to the clamp located between the trigger handle and the handlebar clamp base and lift the tool to the operating position.
CONFIGURING YOUR UNIT
You can configure your unit using a cutting head for grass and light weeds, or a weed blade for cutting grass, weeds, and brush up to 1/2 inch in diameter. To assemble your unit, go to the section for the desired configuration and follow the instructions.

ASSEMBLY INFORMATION - TRIMMER HEAD
NOTE: Remove the blade and metal shield before attaching the plastic shield and trimmer head. To remove blade, push in locking lever and hold. Rotate blade nut until the locking lever falls into one of the grooves in the dust cup. Continue to hold the locking lever. This will keep the shaft from turning while loosening the blade nut. Remove blade nut by turning clockwise. Release locking lever. Remove both washers and blade. To remove metal shield, loosen and remove the four mounting screws. See ATTACHING THE METAL SHELD and INSTALLATION OF THE METAL BLADE for illustrations. Be sure to store all parts and instructions for future use.
ATTACHING THE PLASTIC SHIELD AND TRIMMER HEAD
WARNING: The shield must be properly installed. The shield provides partial protection from the risk of thrown objects to the operator and others and is equipped with a line limiter blade which cuts excess line to the proper length. The line limiter blade (on underside of shield) is sharp and can cut you. Remove wing nut from shield.
- Insert bracket into slot on shield.
- Pivot shield until bolt passes through hole in bracket.
- Tighten the wing nut securely.
- If your unit has a plastic cover over the threads on the threaded shaft, remove the covering to expose the threads.
- Before installing the trimmer head, make sure the dust cup is positioned on the gearbox as shown below.

NOTE: Make sure all parts are properly installed as shown in the illustration before installing the trimmer head.
- Push in locking lever and hold.
- Rotate dust cup until the locking lever falls into one of the grooves.

- Continue to hold in locking lever. This will keep the shaft from turning while tightening the trimmer head.
- Thread trimmer head onto the shaft in the direction shown on the decal. Tighten until secure.
- Release locking lever.
ASSEMBLY INFORMATION - WEED BLADE

NOTE: Remove the trimmer head and plastic shield before attaching the metal shield and installing the weed blade. To remove the trimmer head, push in locking lever and hold. Rotate trimmer head until the locking lever falls into one of the grooves in the dust cup. Continue to hold in locking lever. This will keep the shaft from turning while loosening the trimmer head. Remove trimmer head by turning clockwise. Release locking lever. To remove the plastic shield, loosen and remove wing nut. Pivot shield to release bracket from slot. See ATTACHING THE PLASTIC SHIELD AND TRIMER HEAD for illustrations. Be sure to store all parts and instructions for future use. Never use the trimmer head with the metal blade installed.
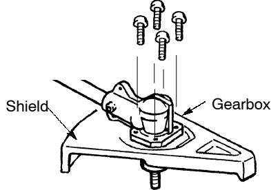
ATTACHING THE METAL SHIELD
DANGER: The metal shield must be properly installed on the tool anytime the tool is used with the blade. The forward tip of the metal shield helps to reduce the occurrence of blade thrust which can cause serious injury such as amputation to the operator or bystanders. Failure to install the shield in the position shown can result in serious injury to the operator. The length of the shield must be aligned with the length of the tube. The blade is sharp and can cut you. Be sure to wear gloves while working with blades.
-
If your unit has a plastic cover over the threads on the shaft, remove the covering to expose the threads.
-
Place the metal shield under the gearbox, and align the screw holes.

- Insert and thread the 4 mounting screws through the holes of the gearbox and the metal shield. Tighten evenly and securely with the hex wrench provided.
INSTALLATION OF THE METAL BLADE
WARNING: Do not use any blades, or fastening hardware other than the washers and nuts shown in the following illustrations. These parts must be provided by Poulan/Weed Eater, and installed as shown below. Failure to use proper parts can cause the blade to fly off and seriously hurt you or others.
NOTE: The dust cup is located on the gearbox and not in the parts bag. All other fastening hardware mentioned in the following assembly steps is located in the parts bag.
- Leave the dust cup on the gearbox.
- Install the blade and the retaining washer over the threaded shaft extending from the gearbox. NOTE: It may be necessary to remove a plastic protective covering from the threaded shaft before installing these parts.
- Make sure the raised part of the retaining washer is facing the gearbox and the raised area fits into the hole in the center of the blade (see illustration).
- Slide the blade and retaining washer onto the shaft of the gearbox.
Now place the cupped washer onto the shaft. Make sure the cupped side of the washer is toward the blade.
Install the blade nut by threading onto the shaft counterclockwise.

NOTE: Make sure all parts are in place as illustrated, and the blade is sandwiched between the dust cup and the retaining washer. There should be no space between the blade and the dust cup or the retaining washer.
- Push in locking lever and hold.
- Rotate blade nut until the locking lever falls into one of the grooves in the dust cup.

Locking Lever
- Continue to hold in locking lever. This will keep the shaft from turning while tightening the blade nut.
- Tighten blade nut firmly with a wrench.
- Release locking lever.
- Turn blade by hand. If the blade binds against the shield, or appears to be uneven, the blade is not centered, and you must reinstall.
FUEL YOUR UNIT
WARNING: Remove fuel cap slowly when refueling.
This engine is certified to operate on unleaded gasoline. Gasoline must be mixed with a good quality 2-cycle air-cooled engine oil designed to be mixed at a ratio of 40:1. Poulan PRO® brand oil is recommended. (A 40:1 ratio is obtained by mixing 3.2 ounces of oil with 1 gallon of unleaded gasoline). When mixing fuel follows the instructions printed on the container. Always read and follow the safety rules under FUEL SAFETY.
STARTING
HOW TO STOP YOUR UNIT
To stop the engine, push and release the engine STOP switch. The switch will automatically return to the ON position. Wait 5 seconds before attempting to restart unit to allow switch to reset.
HOW TO START YOUR UNIT

Starting Position
WARNING: The trimmer head will turn while starting the engine. Avoid any contact with the muffler. A hot muffler can cause serious burns.
- Rest engine and shield on ground, supporting trimmer head off ground.

STARTING A COLD ENGINE (or a warm engine after running out of fuel)
- Slowly press the primer bulb 6 times.
- Move choke lever to FULL CHOKE by aligning arrow with position shown on decal (see illustration below).

- Squeeze the throttle trigger fully and hold through all remaining steps.
Pull starter rope handle sharply until engine sounds as if it is trying to start, but do not pull rope more than 6 times. - As soon as engine sounds as if it is trying to start, move choke lever to HALF CHOKE by aligning arrow with position shown on decal (see following illustration).

Pull starter rope sharply until engine runs, but no more than 6 pulls. If the engine doesn't start after 6 pulls (at the HALF CHOKE position), move the choke lever to the FULL CHOKE position and press the primer bulb 6 times. Squeeze and hold the throttle trigger and pull the starter rope 2
more times. Move the choke lever to the HALF CHOKE position and pull the starter rope until the engine runs, but no more than 6 pulls. If the engine doesn't start, repeat procedure 2 additional times.
NOTE: If engine still doesn't start, it is probably flooded. Proceed to STARTING A FLOODED ENGINE.
- Once the engine starts, allow it to run 10 seconds, then move the choke lever to OFF CHOKE by aligning arrow with position shown on decal (see illustration below). Allow the unit to run for 30 more seconds at OFF CHOKE before releasing the throttle trigger. NOTE: If engine dies with the choke lever in the OFF CHOKE position, move the choke lever to the HALF CHOKE position and pull the rope until engine runs, but no more than 6 pulls.

Arrow on choke lever
STARTING A WARM ENGINE
- Move the choke lever to the HALF CHOKE position.
- Squeeze and hold the throttle trigger. Keep throttle trigger fully squeezed until the engine runs smoothly.
- Pull starter rope sharply until engine runs, but no more than 5 pulls.
- Allow engine to run 15 seconds, then move the choke lever to the OFF CHOKE position. NOTE: If engine has not started, pull starter rope 5 more pulls. If engine still does not run, it is probably flooded.
STARTING A FLOODED ENGINE
Flooded engines can be started by placing the choke lever in the OFF CHOKE position; then, pull the rope to clear the engine of excess fuel. This could require pulling the starter handle many times depending on how badly the unit is flooded.
If the unit still doesn't start, refer to TROUBLESHOOTING TABLE or call 1-800-554-6723.
USING YOUR UNIT
OPERATING POSITION

- Extend your left arm and hold handlebar grip with your left hand.
- Hold throttle grip with your right hand with finger on throttle trigger.
- Keep unit below waist level.
- Keep shoulder strap pad centered on your left shoulder and danger sign centered on your back.
- Maintain full weight of tool on your left shoulder.
- Without bending over, keep the blade or trimmer head near and parallel to the ground and not crowded into material being cut.
OPERATING INSTRUCTIONS FOR USE WITH TRIMMER HEAD
Before trimming, bring engine to a speed sufficient to cut material to be trimmed.
Do not run engine at a higher speed than necessary. The cutting line will cut efficiently when the engine is run at less than full throttle. At lower speeds, there is less engine noise and vibration. The cutting line will last longer and will be less likely to "weld" onto the spool. If trimmer head does not turn when the engine is in operation, make sure the tube is properly seated in engine shroud.
Always release the throttle trigger and allow the engine to return to idle speed when not cutting.
To stop engine:
- To stop the engine, push and release the engine STOP switch.
- If engine does not stop, move choke to the FULL CHOKE position.
ADVANCING THE TRIMMER LINE
Advance line by tapping the bottom of the cutting head lightly on the ground while engine is running at full speed. The line limiter blade (on underside of shield) will cut the line to the proper length.
WARNING: Use only 0.095 inch (2.4 mm) diameter line. Other sizes of line will not advance properly and can cause serious injury. Do not use other materials such as wire, string, rope, etc. Wire can break off during cutting and become a dangerous missile that can cause serious injury.
OPERATING INSTRUCTIONS FOR USE WITH WEED BLADE
- Blade Thrust is a reaction that only occurs when using a bladed unit. This reaction can cause serious injury such as amputation. Carefully study this section. It is important that you understand what causes blade thrust, how you can reduce the chance of its occurring, and how you can remain in control of unit if blade thrust occurs.
WHAT CAUSES BLADE THRUST - Blade Thrust can occur when the spinning blade contacts an object that it does not cut. This contact causes the blade to stop for an instant and then suddenly move or "thrust" away from the object that was hit. The "thrusting" reaction can be violent enough to cause the operator to be propelled in any direction and lose control of the unit. The uncontrolled unit can
cause serious injury if the blade contacts the operator or others.
WHEN BLADE THRUST OCCURS - Blade Thrust can occur without warning if the blade snags, stalls, or binds. This is more likely to occur in areas where it is difficult to see the material being cut. By using the unit properly, the occurrence of blade thrust will be reduced and the operator will be less likely to lose control.

- Cut only grass, weeds, and woody brush up to 1/2 inch in diameter with the weed blade. Do not let the blade contact material it cannot cut such as stumps, rocks, fences, metal, etc., or clusters of hard, woody brush having a diameter greater than 1/2 inch.
- Keep the blade sharp. A dull blade is more likely to snag and thrust.
- Cut only at full throttle. The blade will have maximum cutting power and is less likely to bind or stall.
- "Feed" the blade deliberately and not too rapidly. The blade can thrust away if it is fed too rapidly.
- Cut only from your right to your left. Swinging the unit in the same direction as the blade spins increases the cutting action.
- Use the shoulder strap and keep a firm grip on the unit with both hands. A properly adjusted shoulder strap will support the weight of the unit, freeing your arms and hands to control and guide the cutting motion.
- Keep feet comfortably spread apart and braced for a possible sudden, rapid thrust of unit. Do not overreach. Keep firm footing and balance.
- Keep blade below waist level; it will be easier to maintain control of unit.
- Do not raise the engine above your waist as the blade can come dangerously close to your body.
- Do not swing unit with such force that you are in danger of losing your balance. Bring the engine to cutting speed before entering the material to be cut.
If the blade does not turn when you squeeze the throttle trigger, make sure tube is fully inserted into the engine.
Always release the throttle trigger and allow engine to return to idle speed when not cutting. The blade should not turn while the engine is running at idle. If the blade turns at idle, do not use your unit. Refer to the Carburetor adjustment section or contact your authorized service dealer. - Maintain good firm footing while using the unit. Do this by planting feet firmly in a comfortable apart position.
-
Cut while swinging the upper part of your body from right to left.
-
As you move forward to the next area to cut, be sure to maintain your balance and footing.
10 o'clock
Cut using the 8 o'clock to 10 o'clock position o the blade
8 o'clock

WARNING: The operator or others must not try to clear away cut material with the engine running or the blade turning to avoid serious injury. Stop engine and blade before removing materials wrapped around blade or tube.
REPLACING THE LINE
- Press the tab on the side of the trimmer head and twist the lock ring.
- Remove the lock ring and tap button.

- Pull the spool out of the trimmer head. Remove any remaining line.
- Clean dirt and debris from all parts. Replace spool if it is worn or damaged.
- Replace with a pre-wound spool, or replace line using two 20 foot lengths of 0.095 inch (2.4 mm) diameter Poulan PRO® brand line.
- When installing new line on an existing spool, insert 1/16 inch of the end of each line into the anchoring holes in the bed of the spool.


- With your finger between the lines, wrap the lines evenly and and firmly around the spool in the direction of the arrow on the spool.
- Position the lines in the guide slots.

- Insert the ends of the lines through exit holes in the sides of the trimmer head.
- Place the spool in the trimmer head.
- Make sure the lines are not caught between the rim of the spool and the wall of the trimmer head.
- Reinstall the tap button and lock ring onto the trimmer head.
- Align the lock ring over the catches on the trimmer head. Push the ring down and turn until the catches lock into place.

-
Make sure the lock ring is securely fastened by pulling on it and twisting in both directions.
WARNING: All catches must be fastened and the lock tab latched in the lock ring. If installed incorrectly, the lock ring can fly off and become a dangerous missile. -
Pull line extending from trimmer head.
SERVICE
We recommend all service and adjustments not listed in this manual be performed by an authorized service dealer.
CARBURETOR ADJUSTMENT
Your carburetor is equipped with limiter caps. Damage will occur if you turn the needles beyond the limiter caps. Adjusting the carburetor is a complicated task. We recommend that you take your unit to an authorized service dealer.
SPARK PLUG
Replace spark plug yearly with a Champion RCJ-8Y plug. Spark plug gap is 0.025 inch.
IGNITION TIMING
Ignition timing is fixed, non-adjustable.
NEED ASSISTANCE?
NEED ASSISTANCE?
Call 1-800-554-6723.
NEED SERVICE PART?
Contact your dealer.
TROUBLESHOOTING TABLE
WARNING: Always stop unit and disconnect spark plug before performing any of the recommended remedies below other than remedies that require operation of the unit.
| TROUBLE | CAUSE | REMEDY |
| Engine will not start. | ·Engine flooded. ·Fuel tank empty. ·Spark plug not firing. ·Fuel not reaching carburetor. ·Carburetor requires adjustment. | ·See “Starting.” ·Fill tank with correct fuel mixture. ·Install new spark plug. ·Check for dirty fuel filter; replace. Check for kinked or split fuel line; repair or replace. ·See “Carburetor Adjustments.” |
| Engine will not idle properly. | ·Carburetor requires adjustment. ·Throttle trigger screw too tight. | ·See “Carburetor Adjustments.” ·Loosen screw. |
| Engine will not accelerate, lacks power, or dies under a load. | ·Air filter dirty. ·Spark plug fouled. ·Carburetor requires adjustment. | ·Clean or replace air filter. ·Clean or replace spark plug; re-gap. ·See “Carburetor Adjustments.” |
| Engine smokes excessively. | ·Fuel mixture incorrect. ·Air filter dirty. ·Carburetor requires adjustment. | ·Empty fuel tank and refill with correct fuel mixture. ·Clean or replace air filter. ·See “Carburetor Adjustments.” |
| Line does not advance or breaks while cutting. | ·Line improperly routed in head. ·Line improperly wound on spool. ·Line size incorrect. | ·Check line routing. ·Rewind line tightly and evenly. ·Use only 0.095” (2.4 mm) dia. line. |
| Line welds onto spool. | ·Line size incorrect. ·Incorrect spool. ·Line is being crowded against material being cut. | ·Use only 0.095” (2.4 mm) dia. line. ·Replace with correct spool. ·Cut with tip of line fully extended. |
| Line pulls back into head. | ·Too little line outside of head. ·Line size incorrect. | ·Remove spool and pull 4 inches (10 cm) of line outside of head. ·Use only 0.095” (2.4 mm) dia. line. |
LIMITED WARRANTY
ELECTROLUX HOME PRODUCTS NORTH AMERICA, Division of WCI Outdoor Products, Inc., warrants to the original purchaser that each new Poulan PRO® brand gasoline tool or attachment is free from defects in material and workmanship and agrees to repair or replace under this warranty any defective gasoline product or attachment as follows from the original date of purchase.
2 YEARS- Parts and Labor, when used for household purposes.
60 DAYS - Parts and Labor, when used for commercial, professional, or income producing purposes.
30 DAYS - Parts and Labor, if used for rental purposes.
This warranty is not transferable and does not cover damage or liability caused by improper handling, improper maintenance, or the use of accessories and/or attachments not specifically recommended by ELECTROLUX HOME PRODUCTS NORTH AMERICA for this tool.
Additionally, this warranty does not cover tuneups, spark plugs, filters, starter ropes, starter springs, cutting line, or rotating head parts that
will wear and require replacement with reasonable use during the warranty period. This warranty does not cover predelivery setup or normal adjustments explained in the instruction manual.
THIS WARRANTY GIVES YOU SPECIFIC LEGAL RIGHTS, AND YOU MAY HAVE OTHER RIGHTS WHICH VARY FROM STATE TO STATE.
NO CLAIMS FOR CONSEQUENTIAL OR OTHER DAMAGES WILL BE ALLOWED, AND THERE ARE NO OTHER EXPRESS WARRANTYES EXCEPT THOSE EXPRESSLY STIPULATED HEREIN. SOME STATES DO NOT ALLOW LIMITATIONS ON HOW LONG AN IMPLIED WARRANTY LASTS OR THE EXCLUSION OR LIMITATIONS OF INCIDENTAL OR CONSEQUENTIAL DAMAGES, SO THE ABOVE LIMITATIONS OR EXCLUSION MAY NOT APPLY TO YOU.
ELECTROLUX HOME PRODUCTS NORTH AMERICA'S policy is to continuously improve its products. Therefore, ELECTROLUX HOME PRODUCTS NORTH AMERICA reserves the right to change, modify, or discontinue models, designs, specifications, and accessories of all products at any time without notice or obligation to any purchaser.
U.S. EPA EMISSION CONTROL WARRANTY STATEMENT
YOUR WARRANTY RIGHTS AND OBLIGATIONS: The U. S. Environmental Protection Agency and POULAN/WEED EATER, DIVISION OF WCI OUTDOOR PRODUCTS are pleased to explain the emissions control system warranty on your lawn and garden equipment engine. All new utility and lawn and garden equipment engines must be designed, built, and equipped to meet the stringent anti-smog standards. POULAN/WEED EATER must warrant the emission control system on your lawn and garden equipment engine for the periods of time listed below provided there has been no abuse, neglect, or improper maintenance of your lawn and garden equipment engine. Your emission control system includes parts such as the carburetor and the ignition system. Where a warrantable condition exists, POULAN/WEED EATER will repair your lawn and garden equipment engine at no cost to you. Expenses covered under warranty include diagnosis, parts and labor. MANUFACTURER'S WARRANTY COVERAGE: If any emissions related part on your engine (as listed under Emissions Control Warranty Parts List) is defective or a defect in the materials or workmanship of the engine causes the failure of such an emission related part, the part will be repaired or replaced by POULAN/WEED EATER. OWNER'S WARRANTY RESPONSIBILITIES: As the lawn and garden equipment engine owner, you are responsible for the performance of the required maintenance listed in your instruction manual. POULAN/WEED EATER recommends that you retain all receipts covering maintenance on your lawn and garden equipment engine, but POULAN/ WEED EATER cannot deny warranty solely for the lack of receipts or for your failure to ensure the performance of all scheduled maintenance. As the lawn and garden equipment engine owner, you should be aware that POULAN/WEED EATER may deny you warranty coverage if your lawn and garden equipment engine or a part of it has failed due to abuse, neglect, improper maintenance, unapproved modifications, or the use of parts not made or approved by the original equipment manufacturer. You are responsible for presenting your lawn and garden equipment engine to a POULAN/ WEED EATER authorized repair center as soon as a problem exists. Warranty repairs should be completed in a reasonable amount of time, not to exceed 30 days. If you have any questions regarding your warranty rights and responsibilities, you should contact your nearest authorized service center or call POULAN/ WEED EATER at
1-800-554-6723. WARRANTY COMMENCEMENT DATE: The warranty period begins on the date the lawn and garden equipment engine is purchased. LENGTH OF COVERAGE: This warranty shall be for a period of two years from the initial date of purchase. WHAT IS COVERED: REPAIR OR REPLACEMENT OF PARTS. Repair or replacement of any warranted part will be performed at no charge to the owner at an approved POULAN/WEED EATER servicing center. If you have any questions regarding your warranty rights and responsibilities, you should contact your nearest authorized service center or call POULAN/WEED EATER at 1-800-554-6723. WARRANTY PERIOD: Any warranted part which is not scheduled for replacement as required maintenance, or which is scheduled only for regular inspection to the effect of "repair or replace as necessary" shall be warranted for 2 years. Any warranted part which is scheduled for replacement as required maintenance shall be warranted for the period of time up to the first scheduled replacement point for that part. DIAGNOSIS: The owner shall not be charged for diagnostic labor which leads to the determination that a warranted part is defective if the diagnostic work is performed at an approved POULAN/ WEED EATER servicing center. CONSEQUENTIAL DAMAGES: POULAN/WEED EATER may be liable for damages to other engine components caused by the failure of a warranted part still under warranty. WHAT IS NOT COVERED: All failures caused by abuse, neglect, or improper maintenance are not covered. ADD-ON OR MODIFIED PARTS: The use of add-on or modified parts can be grounds for disallowing a warranty claim. POULAN/WEED EATER is not liable to cover failures of warranted parts caused by the use of add-on or modified parts. HOW TO FILE A CLAIM: If you have any questions regarding your warranty rights and responsibilities, you should contact your nearest authorized service center or call POULAN/WEED EATER at 1-800-554-6723. WHERE TO GET WARRANTY SERVICE: Warranty services or repairs shall be provided at all POULAN/ WEED EATER service centers. Call: 1-800-554-6723 MAINTENANCE, REPLACEMENT AND REPAIR OF EMISSION RELATED PARTS: Any POULAN/WEED EATER approved replacement part used in the performance of any warranty maintenance or repair on emission related parts will be provided without charge to the owner if the part is under warranty. EMISSION CONTROL WARRANTY PARTS LIST: Carburetor, Ignition System: Spark Plug (covered up to maintenance schedule), Ignition Module. MAINTENANCE STATEMENT: The owner is responsible for the performance of all required maintenance as defined in the instruction manual.
EasyManual