PAI6000E - Inverter PROGRESS - Free user manual and instructions
Find the device manual for free PAI6000E PROGRESS in PDF.
User questions about PAI6000E PROGRESS
0 question about this device. Answer the ones you know or ask your own.
Ask a new question about this device
Download the instructions for your Inverter in PDF format for free! Find your manual PAI6000E - PROGRESS and take your electronic device back in hand. On this page are published all the documents necessary for the use of your device. PAI6000E by PROGRESS.
USER MANUAL PAI6000E PROGRESS
| Safety Information | 2 |
| Description of the Appliance | 3 |
| Operating the appliance | 4 |
| Tips on Cooking and Frying | 8 |
| Cleaning and Care | 10 |

Safety Information

Warning! Please comply with these instructions. If you do not, any damage resulting is not covered by the warranty.
Correct use
- This appliance is not intended for use by children or other persons whose physical, sensory or mental capabilities or lack of experience and knowledge prevents them from using the appliance safely without supervision or instruction by a responsible person to ensure that they can use the appliance safely.
- Do not leave the appliance unattended during operation.
- This appliance should be used only for normal domestic cooking and frying of food.
- The appliance must not be used as a work surface or as a storage surface.
- Additions or modifications to the appliance are not permitted.
- Do not place or store flammable liquids, highly inflammable materials or fusible objects (e.g. plastic film, plastic, aluminium) on or near the appliance.
Children's safety
- Small children must be kept away from the appliance.
- Only let bigger children work on the appliance under supervision.
- To avoid small children and pets unintentionally switching the appliance on, we recommend activation of the child safety device.
General safety
- The appliance may only be installed and connected by trained, registered service engineers.
- Built-in appliances may only be used after they have built in to suitable built-in units and work surfaces that meet standards.
Subject to change without notice
- In the event of faults with the appliance or damage to the glass ceramic (cracks, scratches or splits), the appliance must be switched off and disconnected from the electrical supply, to prevent the possibility of an electric shock.
- Repairs to the appliance must only be carried out by trained registered service engineers.
Safety during use
- Remove stickers and film from the glass ceramic.
- There is the risk of burns from the appliance if used carelessly.
- Cables from electrical appliances must not touch the hot surface of the appliance or hot cookware.
Overheated fats and oils can ignite very quickly. Warning! Fire hazard! - Switch the cooking zones off after each use.
- Users with implanted pacemakers should keep their upper body at least 30~cm from induction cooking zones that are switched on.
- Risk of burns! Do not place objects made of metal, such as knives, forks, spoons and saucepan lids on the cooking surface, as they can get hot.
Safety when cleaning
- For cleaning, the appliance must be switched off and cooled down.
- For safety reasons, the cleaning of the appliance with steam jet or high-pressure cleaning equipment is not permitted.
How to avoid damage to the appliance
- The glass ceramic can be damaged by objects falling onto it.
-
The edge of the glass ceramic can be damaged by being knocked by the cookware.
-
Cookware made of cast iron, cast aluminium or with damaged bottoms can scratch the glass ceramic if pushed across the surface.
- Objects that melt and things that boil over can burn onto the glass ceramic and should be removed straightaway.
-
Do not use the cooking zones with empty cookware or without cookware.
-
To avoid damaging cookware and glass ceramics, do not allow saucepans or frying pans to boil dry.
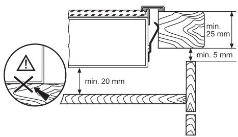
- The ventilation gap of 5mm between the worktop and front of the unit underneath it must not be covered.
Description of the Appliance
Cooking surface layout

- Induction cooking zone 1400 W
- Induction cooking zone 1800 W
- Induction cooking zone 1800 W with power function 2800 W
- Control panel
- Induction cooking zone 2200 W with power function 3100 W
Control panel layout

- Display
- Heat setting selection
- Cooking zone indicators Timer function
- Timer display
Touch Control sensor fields
The appliance is operated using Touch Control sensor fields. Functions are controlled by
- Power indication
- Lock
- Timer
- On/Off with power indicator
touching sensor fields and confirmed by displays and acoustic signals.
Touch the sensor fields from above, without covering other sensor fields.
| Sensor field | Function | |
| ① | On / Off | To switch the appliance on and off |
| + | Increase settings | Increasing heat setting/time |
| - | Decrease settings | Decreasing heat setting/time |
| - | Timer | Timer selection |
| ⊕ | Lock | Locking/unlocking the control panel |
| P | Power | Switching the power function on and off |
Displays
| Display | Description | |
| □ | Cooking zone is switched off | |
| I - 9 | Heat settings | Heat setting is set |
| E | Fault | Malfunction has occurred |
| F | Pan detection | Cookware is unsuitable or too small or no cookware has been placed on the cooking zone |
| H | Residual heat | Cooking zone is still hot |
| L | Child safety device | Lock/child safety device is engaged |
| P | Power | Power function is switched on |
| - | Automatic switch off | Switch off is active. |
Residual heat indicator
Warning! Risk of burns from residual heat. After being switched off, the cooking zones need some time to cool down. Look at the residual heat indicator H.
Residual heat can be used for melting and keeping food warm.
The induction cooking zones create the heat required for cooking directly in the base of the cookware. The glass ceramic is merely heated by the residual heat of the cookware. The cooling fan switches itself on and off depending upon the temperature of the electronics.
Operating the appliance
Use the induction cooking zones with suitable cookware.
Switching the appliance on and off
| Control panel | Display | |
| Switch on | Touch ① for 2 seconds | D/ H |
| Switch off | Touch ① for 1 second | H/none |
i After switching on, within approx. 10 seconds a heat setting or a function
must be set, otherwise the appliance automatically switches itself off.
Setting the heat setting
| Control panel | Display | |
| Increase | Touch + | I to G / P |
| Decrease | Touch - | G to D |
| Switch off | Touch + and - at the same time | D |
Locking/unlocking the control panel
The control panel, with the exception of the "On/Off" sensor field, can be locked at any
time in order to prevent the settings being changed e.g. by wiping over the panel with a cloth.
| Control panel | Display | |
| Switch on | Touch ⊙ | L (for 5 seconds) |
| Switch off | Touch ⊙ | previously set heat setting |
When you switch the appliance off, the locking function is automatically switched off.
Using the child safety device
The child safety device prevents unintentional use of the appliance.
Setting the child safety device
| Step | Control panel | Display/Signal |
| 1. | ① Switch on the appliance (Do not set a heat setting) | ② |
| 2. | Touch until the signal sounds | Acoustic signal |
| 3. | Touch + | L |
| Appliance switches off. The child safety device is engaged. | ||
Overriding the child safety device
The child safety device can be released in this way for a single cooking session; it remains activated afterwards.
| Step | Control panel | Display/Signal |
| 1. | ① Switch on the appliance | L |
| 2. | Touch + and - at the same time | 0 / acoustic signal |
| Until the appliance is next switched off, it can used as normal. | ||
Releasing the child safety device
| Step | Control panel | Display/Signal |
| 1. | ① Switch on the appliance | L |
| 2. | Touch until the signal sounds | Acoustic signal |
| 3. | Touch | |
| Appliance switches off. The child safety device is released. | ||
Switching the power function on and off
The power function () makes additional power available to the front induction cooking zones, e.g. to bring a large volume of water to the boil. The power function is activated
for 8 minutes for the front left cooking zone and for 5 minutes for the front right cooking zone. After these times, the induction cooking zones automatically return to cooking level [9].
| Control panel | Display | |
| Switch on | Touch ⊙ | P |
| Switch off | Touch ⊙ | G |
| Touch - | G |
If the power function has ended, the cooking zones automatically switch back to the heat setting set previously.
Power Management
The cooking zones of the cooking surface have a maximum power available to them. Two cooking zones make up a pair (see figure).
So that the Power function can always be carried out, Power Management may reduce the power of the other cooking zone in the pair
Example: heat setting 9 is selected on a cooking zone. The Power function is switched on for the cooking zone paired up with it. The Power function is performed, but heat setting 9 on one cooking zone and Power function on the other cooking zone of a pair exceeds the maximum output for both.
Therefore Power Management reduces the first cooking zone that was switched on from 9 to 7, for example, and the display for this cooking zone alternates between 9 and 7 and then remains on the current maximum of

- (Whether the display alternates between 9 and 7 or 9 and 6 or other values, depends on the appliance type and the size of the cooking zone.)
Using the timer
All cooking zones can use each use one of the two timer functions at the same time.
| Function | Condition | Outcome after the time has elapsed |
| Automatic cut-out | a heat setting is set | acoustic signal 00 flashes Cooking zone switches off |
| Countdown timer | cooking zones not in use | acoustic signal 00 flashes |
If a cooking zone is switched off, the timer function set is also switched off.
the cooking zone is switched off after the time set has elapsed.
If a heat setting is set on this cooking zone in addition to a countdown timer,
Selecting a cooking zone
| Step p | Control panel | Display | |
| 1. | Touch once | Pilot light of the first cooking zone flashes | 00 |
| 2. | Touch once | Pilot light of the second cooking zone flashes | 00 |
| 3. | Touch once | Pilot light of the third cooking zone flashes | 00 |
| 4. | Touch once | Pilot light of the fourth cooking zone flashes | 00 |
The heat setting indicator of the selected cooking zone goes out, as long as the timer time can be set.
If the pilot light is flashing more slowly, the heat setting indicator appears again and the heat setting can be re-set or modified.
If other timer functions are set, after a few seconds the shortest remaining time of all the timer functions is displayed and the corresponding pilot light flashes.
Setting time
| Step | Control panel | Grill setting |
| 1. | Selecting cooking zone | Telltale of cooking zone selected flashes |
| 2. | Touch + or - from the selected cooking zone | 0 to 99 minutes |
| 3. | Touch + or - from the selected cooking zone for more than 4 seconds | 5-minute steps for easy setting |
| After a few seconds the power indicator flashes more slowly. The time is set. The time counts down. | ||
Switching off the Timer function
| Step | Control panel | Display |
| 1. | Select a cooking zone | Pilot light of the selected cooking zone flashes more quickly. Remaining time is displayed |
| 2. | Touch for the cooking zone selected | The remaining time counts down to 00. |
| The pilot light goes out. The Timer function for the selected cooking zone is switched off. | ||
Changing the time
| Step | Control panel field | Display |
| 1. | Select cooking zone | Pilot light of the cooking zone selected flashes faster The time remaining is displayed |
| 2. | Touch + or - for the cooking zone selected | 0 to 99 minutes |
| After a few seconds the pilot light flashes more slowly. The time is set. The time counts down. | ||
Displaying the time remaining for a cooking zone
| Step | Control panel field | Display |
| 1. | Select cooking zone | Pilot light of the cooking zone selected flashes faster The time remaining is displayed |
| After a few seconds the pilot light flashes more slowly. | ||
Switching off the acoustic signal
| Step | Control panel field | Acoustic signal |
| 1. | Touch ➀ | Acoustic signal to acknowledge. |
| Acoustic signal stops. | ||
Automatic switch off
- If after switching on the cooking surface, a heat setting is not set for a cooking zone within approx. 10 seconds, the cooking surface automatically switches itself off.
- If all cooking zones are switched off, the cooking surface automatically switches itself off after approx. 10 seconds.
Induction cooking zones
- If cookware that is not suitable is used, F lights up in the display and after 2 mi
nutes the indicator for the cooking zone switches itself off.
- If one of the cooking zones is not switched off after a certain time, or if the heat setting is not modified, the relevant cooking zone switches off automatically. is displayed. Before being used again, the cooking zone must be set to 0.
| Heat setting | Switches off after |
| 1 - 2 | 6 hours |
| 3 - 4 | 5 hours |
| 5 | 4 hours |
| 6 - 9 | 1.5 hours |
Tips on Cooking and Frying
Information on acrylamides
According to the latest scientific knowledge, intensive browning of food, especially in products containing starch, can
constitute a health risk due to acrylamides. Therefore we recommend cooking at the lowest possible temperatures and not browning foods too much.
Cookware for induction cooking zones
Cookware material
| Cookware material | Suitable |
| Steel, enamelled steel | yes |
| Cast iron | yes |
| Stainless steel | if appropriately labelled by the manufacturer |
| Aluminium, copper, brass | --- |
| Glass, ceramic, porcelain | --- |
Cookware for induction cooking zones is labelled as suitable by the manufacturer.
Suitability test
Cookware is suitable for induction cooking, if
- ... a little water on an induction cooking zone set to heat setting 9 is heated within a short time.
- ... a magnet sticks to the bottom of the cookware.
Bottom of the cookware
The bottom of the cookware should be as thick and flat as possible.
Pan size
Induction cooking zones adapt automatically to the size of the bottom of the cookware up
i Certain cookware can make noises when being used on induction cooking zones. These noises are not a fault in the appliance and do not affect operation in any way.
to a certain limit. However the magnetic part of the bottom of the cookware must have a minimum diameter depending upon the size of the cooking zone.
| Diameter of cooking zone [mm] | Minimum diameter of dish base [mm] |
| 210 | 180 |
| 180 | 145 |
| 145 | 120 |
The cookware must be placed centrally on the cooking zone.
Tips on energy saving
Place cookware on the cooking zone before it is switched on.
If possible, always place a lid on the cookware.
Examples of cooking applications
The information given in the following table is for guidance only.
| Heat set-ting | Cooking process | Suitable for | Cooking time | Tips/Hints |
| 0 | Off position | |||
| 1 | Keeping food warm | Keeping cooked foods warm | as required | Cover |
| 1 - 2 | Melting | Hollandaise sauce, melting butter, chocolate, gelatine | 5-25 mins. | Stir occasionally |
| Solidifying | Fluffy omelettes, baked eggs | 10-40 mins. | Cook with lid on | |
| 2-3 | Simmering on low heat | Simmering rice and milkbased dishes Heating up ready-cooked meals | 25-50 mins. | Add at least twice as much liquid as rice, stir milk dishes part way through cooking |
| 3-4 | Steaming Braising | Steaming vegetables, fish braising meat | 20-45 mins. | With vegetables add only a little liq-uid (a few table-spoons) |
| 4-5 | Boiling | Steaming potatoes | 20-60 mins. | Use only a little liq-uid, e. g.: max. ¼ l water for 750 g po-tatoes |
| Cooking larger quantities of food, stews and soups | 60-150 mins. | Up to 3 l liquid plus ingredients | ||
| 6-7 | Gentle Frying | Frying escalopes, veal cordon bleu, cutlets, rissoles, sausages, liver, roux, eggs, pancakes, doughnuts | Steady frying | Turn halfway through cooking |
| 7-8 | Heavy Frying | Hash browns, loin steaks, steaks, Flâ-dle (pancakes for garnishing soup) | 5-15 mins. per pan | Turn halfway through cooking |
| 9 | Boiling Searing Deep frying | Boiling large quantities of water, cooking pasta, searing meat (goulash, pot roast), deep frying chips | ||
The power function is suitable for heating large quantities of liquid.
Cleaning and Care

Warning! Risk of burns from residual heat.

Warning! Sharp objects and abrasive cleaning materials will damage the appliance. Clean with water and washing up liquid.

Warning! Residues from cleaning agents will damage the appliance. Remove residues with water and washing up liquid.
- Rub the appliance dry using a clean cloth.
Removing deposits
- Place a scraper on the glass ceramic surface at an angle.
- Remove residues by sliding the blade over the surface.
- Wipe the appliance with a damp cloth and a little washing up liquid.
- Rub the appliance dry using a clean cloth.
Cleaning the appliance after each use
- Wipe the appliance with a damp cloth and a little washing up liquid.
| Type of dirt | Remove | ||
| immediately | when the appliance has cooled down | using | |
| sugar, food containing sugar | yes | --- | a scraper * |
| plastics, tin foil | yes | --- | a scraper * |
| limescale and water rings | --- | yes | cleaner for glass ceramic or stainless steel * |
| fat splashes | --- | yes | cleaner for glass ceramic or stainless steel * |
| shiny metallic discoloration | --- | yes | cleaner for glass ceramic or stainless steel * |
- Scrapers and cleaners for glass ceramic and stainless steel can be purchased in specialist shops

Remove stubborn residues with a cleaner for glass ceramic or stainless steel.

Scratches or dark stains on the glass ceramic that cannot be removed do not however affect the functioning of the appliance.
What to do if ...
| Problem | Possible cause | Remedy |
| The appliance cannot be switch-ed on or is not operating | More than 10 seconds have passed since the appliance was switched on | Switch the appliance on again. |
| The lock is switched on | Switch off the lock (See the section “Locking/unlocking the control panel”) | |
| The child safety device is switch-ed on | Deactivate child safety device (See the section “Child safety device”) | |
| Several sensor fields were touched at the same time | Only touch one sensor field | |
| Automatic switch off has been triggered | Remove any objects (pan,cloths,etc.) that are lying on the control panel. Switch the appli-ance on again | |
| The cooking zones automaticall-ly reduce the cooking level to | The sensor fields are partly covered by a damp cloth or with liq-uid | Remove the cloth or the liquid. Reset the cooking level required. |
| The residual heat indicator is not displaying anything | The cooking zone was only on for a short time and is therefore not hot | If the cooking zone is supposed to be hot, call the Customer Service Department. |
| acoustic signal sounds, appliance switches off | One or more sensor fields have been covered for longer than 10 seconds | Uncover sensor field |
| Acoustic signal sounds and appliance switches itself on and af-ter 10 seconds off again | The On/Off sensor field has been covered up, e.g. by a cloth | Do not place any objects on the control panel |
| Display is switching between two heat settings | Power management is reducing the power of this cooking zone | See the section “Switching the power function on and off” |
| lights up | Unsuitable cookware | Use suitable cookware |
| No cookware on the cooking zone | Place cookware on the cooking zone | |
| The diameter of the bottom of the cookware is too small for the cooking zone | Move onto a smaller cooking zone | |
| Use suitable cookware | ||
| -is lit | Overheating protection for the cooking zone has been trig-gered | Switch off the cooking zone. Switch the cooking zone on again |
| Automatic switch off has been triggered | Switch off the cooking zone. Switch the cooking zone on again | |
| E and number are displayed | Electronics fault | Disconnect the appliance from the electrical supply for a few minutes (Take the fuse out of the house’s wiring system) If after switching on again, E is dis-played again, call the customer service department |
If you are unable to remedy the problem by following the above suggestions, please contact your dealer or the Customer Care Department.

Warning! Repairs to the appliance are only to be carried out by qualified service engineers. Considerable danger to the user may result from improper repairs.
If the appliance has been wrongly operated, the visit from the customer service technician or dealer may not take place free of charge, even during the warranty period.
Disposal
The symbol on the product or on its packaging indicates that this product may not be treated as household waste. Instead it should be taken to the appropriate collection point for the recycling of electrical and electronic equipment. By ensuring this product is disposed of correctly, you will help prevent potential negative consequences for
the environment and human health, which could otherwise be caused by inappropriate waste handling of this product. For more detailed information about recycling of this product, please contact your local council, your household waste disposal service or the shop where you purchased the product.
Installation Instructions
Safety instructions

Warning! This must be read!
The laws, ordinances, directives and standards in force in the country of use are to be followed (safety regulations, proper recycling in accordance with the regulations, etc.) Installation may only be carried out by a qualified electrician. The minimum distances to other appliances and units are to be observed. Anti-shock protection must be provided by the installation, for example drawers may only be installed with a protective floor directly underneath the appliance. The cut surfaces of the worktop are to be protected against moisture using a suitable sealant. The sealant seals the appliance to the work top with no gap. When building in, protect the underside of the appliance from steam and moisture, e.g. from a dishwasher or oven. Avoid installing the appliance next to doors and under windows. Otherwise hot cook
ware may be knocked off the rings when doors and windows are opened.

Warning! Risk of injury from electrical current.
The electrical mains terminal is live.
- Make electrical mains terminal free of voltage.
- Follow connection schematic.
- Observe electrical safety rules.
- Ensure anti-shock protection by installing correctly.
- The appliance must be connected to the electrical supply by a qualified electrician.
Warning! Risk of injury from electrical current.
- Loose and inappropriate plug and socket connections can make the terminal overheat.
- Have the clamping connections correctly installed by a qualified electrician.
- Use strain relief clamp on cable.
- In the event of single-phase or two-phase connection, the appropriate mains cable of type H05BB-F Tmax 90^ (or higher) must be used.
- If this appliance's mains cable is damaged, it must be replaced by a special
cable (type H05BB-F Tmax 90^ ; or higher). The latter is available from the Customer Care Department.
A device must be provided in the electrical installation which allows the appliance to be disconnected from the mains at all poles with a contact opening width of at least 3mm . Suitable isolation devices include line protecting cut-outs, fuses (screw type fuses are to be removed from the holder), earth leakage trips and contractors.










| Modell PAI 6000 E | Prod.Nr. 949 593 002 | ||
| Typ 55GADD5AU | 230 V 50 Hz | Induction 7,2 kW | |
| Made in Germany | Ser.Nr. . . . . . . . . . . . . . . . . . . . . . . . . . . . . . . . . . . . . . . . . . . . . . . . . . . . . . . . . . . . . . . . . . . . . . . . . . . . . . . . . . . . . . . . . . . . . . . . . . . . . PROGRESS | ||
Service
In the event of technical faults, please first check whether you can remedy the problem yourself with the help of the operating instructions (section "What to do if..."). If you were not able to remedy the problem yourself, please contact the Customer Care Department or one of our service partners. In order to be able to assist you quickly, we require the following information:

- Product number (PNC)
- Serial number (S No. - see rating plate)
- Type of fault
- Any error messages displayed by the appliance
- three digit letter-number combination for glass ceramic
EasyManual