VK230111 - Steamer GAGGENAU - Free user manual and instructions
Find the device manual for free VK230111 GAGGENAU in PDF.
User questions about VK230111 GAGGENAU
0 question about this device. Answer the ones you know or ask your own.
Ask a new question about this device
Download the instructions for your Steamer in PDF format for free! Find your manual VK230111 - GAGGENAU and take your electronic device back in hand. On this page are published all the documents necessary for the use of your device. VK230111 by GAGGENAU.
USER MANUAL VK230111 GAGGENAU
Operation and assembly instructions
VK 230
Steam cooker

Preface
1. Important notes
1.1 For your safety
1.2 Operating for the first time
1.3 About use Page 4
2. Structure and operating principle Pages 5-6
2.1 Structure of the appliance
2.2 Accessories/special accessories
2.3 Operating principle Page 6
3. Operation Pages 7-10
-Boiling point adjustment (calibration)
- Switching on/off
- Operation with the timer
- Hooking in the special handle
- Operating the child lock
- Holiday protection
- Draining cooking liquid out of the cooking basin Page 10
4. Cleaning and care Page 11
5. Maintenance Page 12
6.Practical tips Pages 13-17
6.1 Operating areas of the appliance Page 13
6.2 Cooking table
6.3 Recipes
6.4 Tips and tricks Page 17
7. Assembly instructions
7.1 Technical data Page 18
7.2 Important notes Page 18
7.3 Installation Page 19
7.4 Drain installation Pages 20-21

Cooking with your new cooker and steam cooker will be even more fun than before.
The appliance offers you the following advantages:
- Pressureless cooking
Automatic shutdown - Thanks to the novel installation method implemented, installation is child's play!
To ensure that you will be able to use this appliance in all its diversity, read through the operating and assembly instructions conscientiously before operating it for the first time. The instructions contain important notes on use, installation and maintenance of the appliance.
On the following page you will find important notes on safety and operation. These will serve to ensure your personal safety and the lasting value of your appliance.
You will find notes on Page 3 that you ought to observe before operating the appliance for the first time.
The chapters entitled "Structure and operating principle" and "Operation" will tell you all the things your steam cooker is capable of doing and how the appliance is operated.
The chapter entitled "Cleaning and care" will make sure that your appliance will stay operable and beautiful for a long time.
Consult the "Practical tips" if you cannot set the function you require. Please contact Gaggenau after-sales service if these tips are not enough.
And now we wish you lots of fun cooking.
1. Important notes
1.1 For your safety
You must not operate the appliance if it is damaged.
The appliance must only be connected by an authorised specialist, paying attention to the relevant regulations of the power supply companies and the regional construction regulations.
Also observe the assembly instructions!
Please note that connecting cables must not come into contact with hot cooking surfaces when connecting electrical appliances next to the steam cooker.
The user is responsible for expert use and the perfect condition of the appliance.
Only ever operate the appliance under supervision.
The appliance must not be operated empty!
Never allow children to play with the appliance.
Do not let adults or children operate the appliance unsupervised:
- if they are mentally or physically unable to use the appliance safely and correctly
- if they don't have the knowledge and experience to use the appliance safely and correctly.
Caution: fire risk! Do not store any combustible objects in your appliance. When operating the appliance, only ever leave the inner parts inside the cooking compartment that you actually need.
Caution! The appliance gets hot during operation. Keep children away!
Do not clean the appliance with a steam cleaning apparatus or with water pressure because this poses a risk of short-circuits.
Isolate the appliance from the mains during every maintenance operation. To do this, remove the mains plug or switch off the corresponding fuse.
Repairs must be carried out by authorised specialists, thus ensuring electrical safety.
No warranty claims can be lodged in the event of damage caused by failure to observe these instructions.
Technical modifications reserved.
1.2 Operating for the first time
Remove the packaging from the appliance and dispose of it according to local regulations.
Be careful to remove all accessories from the packaging. Keep packaging elements and plastic bags away from children.

This appliance is labelled in accordance with the European Directive 2002/96/EG concerning used electrical and electronic appliances (waste electrical and electronic equipment - WEEE). The guideline
determines the framework for the return and recycling of used appliances as applicable.
Check the appliance for transport damage before installing it.
The appliance must be installed and connected by an authorised specialist before operation. Before operating the appliance for the first time, make sure that the mains connection is in proper working order.
The serial number of the appliance can be found on the quality control slip which is included with these instructions. This quality control slip should be kept, for guarantee reasons, together with your operating and assembly instructions.
Read through these instructions attentively before operating your appliance for the first time.
Thoroughly clean the appliance and accessories before using them for the first time. This will eliminate any 'newness' smells and soiling.
1.3 About use
Boiling point adjustment (calibration):
The appliance must be calibrated before first-time operation and whenever you change location. (See chapter on operation.)
Boiling point adjustment is absolutely necessary because the boiling point of water depends on your location in relation to mean sea level.
Failure to adjust the boiling point may result in malfunctions.
- The appliance is intended solely for use in the household and must not be put to any other uses.
- Use the appliance to prepare meals only. It must not be used to heat up the room in which it is installed.
- The appliance is suitable for use with water only. The appliance must not be used for deep frying.
- Do not store any combustible items in your appliance. During operation, only ever leave the items you need inside the appliance.
- Only ever use the intended cooking inserts. Caution! Risk of burns!
Use the special handle to remove and insert the cooking inserts.
- The (Heating) symbol in the control panel goes off as soon as the set temperature has been reached.
- Return the "Temperature" knob to "0" after cooking.
- Clean the appliance in regular intervals.
The appliance should be cleaned after each operation.
- A built-in temperature protection facility prevents overheating of the appliance.
The appliance must not be operated empty (cooking liquid only, no oil etc!). If the appliance is operated empty, it will switch off automatically and the (Limiter) symbol will appear in the display. - The appliance has a safety deactivation. Heating up of the appliance is switched off after 4 hours if it is not operated by way of the
"Temperature" control knob during this time. Dashes are shown on the display.
- The cooking tub may be filled with water as maximum up to the foaming edge and as minimum down to the bottom marking.
- Make sure that the steam outlet opening is covered up during operation.
- Caution! When hot, the glass cover must not be placed on a wet and cold worktop or cooled under cold running water. It might otherwise crack. Replace the glass cover immediately if it is damaged. If glass splinters should enter into the cooking basin as the result of a damaged glass cover, bear in mind that the foodstuffs prepared in it are no longer suitable for consumption. The cover must always be fitted well on the appliance.
- Do not place items on the glass cover.
- You should observe extreme caution when draining hot water without a fixed water connection. Risk of burns! Use a temperature-resistant receptacle with an adequate capacity (e.g. a 10 l bucket). Use the drain installation set (see installation note).
- The door(s) of the base cabinet must be locked if you do not have a permanent drain connection and there are small children in your household.
This reduces the risk of burns.
- If you have a permanent water drain connection, pay attention to the applicable regulations.
- If malfunctions should occur, you should first check whether the child lock is activated (see Page 9). Check the household fuses. If the problem has nothing to do with the power supply, please contact your specialist dealer or your responsible Gaggenau customer service.
2. Structure and operating principle
2.1 Structure of the appliance


2.2 Accessories/special accessories

1 Display
2 Glass cover
3 Steam outlet opening
4 Splash edge
5 Cooking basin
6 "Timer" knob (adjustment range 1-90 minutes) and "drain" function
7 "Temperature" knob with "steam cooking level" and "drain" functions
Panel:
Display offering the following possibilities:
Heating symbol
Display of the set temperature
Display of the set short time (in minutes)
Limiter symbol
Steam cooking level symbol
Drain valve open symbol
The appliance comes with the following accessories: (Fig. 4):
glass cover with button handle
- unperforated cooking insert (GE 020-010)
- perforated cooking insert (GE 020-020)
- handle for the cooking inserts
You can order the following special accessories:
- VD 201-010: cover
- VV 200-000: connection trim for combination with other appliances
- FK 023-000: noodle basket (1)
- GE 020-010: unperforated cooking insert (2)
- GE 020-020: perforated cooking insert (3)
- AG 060-000: drain installation set for draining water into a receptacle
- AG 050-000: drain installation set for permanent connection
2.3 Operating principle
Steam cooking consists of cooking in a steam flow. The temperature range is around 100^ . The steam transmits the heat. Suitable foodstuffs are vegetables, potatoes, fish and yeast dumplings.
In the steam cooker you can cook, steam cook and blanch.
The steam envelopes the food that is being cooked and prevents a loss of nutrients in the foodstuffs. Cooked food retains its shape, its colour and its typical aroma. Foodstuffs are not browned in the steam cooker.
The appliance offers you the possibility of steam cooking without pressure in one or two cooking inserts. When you use the perforated cooking inserts, the steam is able to reach the food on all sides. This ensures uniform cooking even of large quantities of food.
You can set the cooking liquid temperature in 5^ increments between 45 and 95^ . This precise adjustment of the water temperature allows you to melt a coating, for example, to poach meat or to boil noodles.
The appliance is suitable for use with water or cooking liquid only. Do not use the appliance for deep frying.
Only add salt and stock cubes to the hot water. The cooking basin is to a great extent corrosion proof, however, in certain cases, for example salt, can cause damage to the material.
Boiling point adjustment (calibration):
The appliance must be calibrated before first-time operation and whenever you change location (See chapter on operation).
Note:
Failure to adjust the boiling point may lead to malfunctions on the steam cooker. It is possible that too much or too little steam will be generated.
Boiling point adjustment (calibration)

Switching on
Caution! The appliance heats up and gets hot!

Important: Never operate the steam cooker without liquid.

Switching off

The boiling point must be adjusted (calibration) before first-time operation and whenever you change location.
Proceed as follows:
- Fill the steam cooker's cooking basin with water up to the bottom marking and fit the glass cover.
- Turn the "Temperature" control knob to the 95^ position.
- You must carry out the following operation within 5 seconds:
- Turn the same control knob to and fro two times between the steam cooking level and the 95^ C position. Then turn the control knob to the "steam cooking level" (Fig. 5).
Note: The (heating) symbol flashes during automatic boiling point adjustment. As soon as the (heating) symbol has stopped flashing, the boiling point adjustment has been completed and the appliance is ready for operation.
The time needed for the boiling point adjustment depends on the filled quantity and the water temperature. Boiling point adjustment takes between 3 and 7 minutes.
Switching on:
- Fill the cooking basin with water or another cooking liquid. (Refer to the cooking table and recipe book for quantity information.) The cooking basin may be filled with water as maximum up to the foaming edge and as minimum down to the bottom marking (Fig. 6).
- Turn the "Temperature" knob to the temperature you require or to the steam cooking level (Fig. 7).
- The symbol (steam level) or the temperature you have set appears on the display (temperature range 45 - 95^ ).
While the appliance is heating up, the (Heating) symbol will appear on the display.
Switching off:
Turn the "Temperature" knob back to position 0 (Fig. 8).

Important: the "Temperature" knob (right-hand knob) must not be set to the "Drain" position.

Operation with the timer:
- Turn the "Temperature" knob to the temperature you require or to the steam cooking level before setting the timer, otherwise the timer will run without switching off the appliance.
- Turn the "Timer" knob to the + or - setting until the time you require appears on the display (Fig. 9). The set time elapses as soon as the control knob is again in the zero position. After the set time, the appliance switches off automatically and an audible signal is sounded.
If you switch off the appliance earlier, the timer will continue to run without the switch-off function. An audible signal sounds after the time has elapsed. The automatic signal goes off as soon as you turn a control knob.
Note: you can use the short time reminder even when the appliance is switched off.
Hooking the special handle into the cooking inserts:
The cooking inserts can only be inserted in and removed from the steam cooker by using the included special handle. The special handle is not suitable for turning round the cooking inserts, e.g. to pour out the contents.
Note: by using the special handle to remove or insert the cooking inserts, you will protect your hands against burns while cooking.
Proceed as follows:
- Slide the special handle into the recess provided for this purpose.
- Tilt back the stirrup.
-Lift the handle up (see Fig. 10).

Operating the child lock
Activating the child lock
- Turn the "Timer" control knob to the left to the minus position. Hold the knob in this position.
- Turn the "Temperature" control knob to any temperature on the right.
- Turn the "Temperature" control knob back to the 0 position.
- Turn the "Timer" knob back to the 0 position. The symbol (child lock) appears on the display (Fig. 11). You can now turn the "Temperature" control knob to any position without the appliance heating up.

Deactivating the child lock
- Turn the "Timer" control knob to the left to the minus position and hold the knob in this position.
- Turn the "Temperature" control knob to any temperature on the right.
- Turn the "Timer" control knob to the 0 position.
- Turn the "Temperature" control knob to the 0 position. The "child lock" symbol on the display goes off (Fig. 12).
The appliance is now operable again.

Safety deactivation.
For your protection, the appliance has a safety deactivation. Every heating operation is switched off after four hours if the appliance is not operated during this time. Flashing dashes appear on the display (Fig. 13). Turn the "Temperature" control knob to the 0 position. You can then operate the appliance in the way to which you are accustomed.


Note:
Allow the water or the cooking liquid to cool down before draining it: This avoids steaming in the base cabinet and scalding. Pay attention to regular descaling if the water is highly limey. Otherwise, discoloration and heat build-ups may be the result.
Draining the cooking liquid from the cooking basin:
Proceed as follows:
- If you do not have a permanently fitted water connection, place a vessel (e.g. a 10 l bucket) under the drain valve of the additionally installed drain installation set AG 060-000.
- Turn the "Temperature" control knob to the left to the (Drain valve) position.
- Turn the "Short time" control knob to the left to the position and hold the knob in this position (Fig. 14).
- An audible signal is sounded. The symbol (Drain valve) flashes on the display after a few seconds. The drain valve is opened.
- The (Drain valve) symbol lights up permanently in the display when the drain valve is open.
Closing the drain valve:
- Turn the "Temperature" control knob to the left to the (Drain valve) position.
- Turn the "Short time" control knob to the right to the + position and hold the knob in this position (Fig. 15).
- An audible signal is sounded. The symbol (Drain valve) flashes on the display after a few seconds. The drain valve is closed.
- The symbol (Drain valve) goes off as soon as the drain valve has been closed.
Note: The ( Drain valve ) symbol flashes on the display if the drain valve is not completely open or closed.
If you do not have a permanently installed drainage connection, place a temperature-resistant receptacle of a corresponding size (at least 10 l) under the drain valve and install the drain installation set AG 060-000.
4. Cleaning and care
Do no use any abrasive and caustic cleaning agents. Use plastic pot cleaners or a soft dishwashing brush and normal detergent. Do not use any abrasive sponges either.
Clean the appliance and accessories thoroughly before using them for the first time. Carry out boiling point adjustment. Fill the cooking basin up to the foaming edge and operate the appliance at the steam cooking level for 30 minutes to remove any 'newness' smells. Drain the water.
Clean the cooking basin with a mild detergent solution. The cooking basin should not be treated with stainless steel care agents because, in most cases, these are not neutral as far as foodstuffs are concerned.
You can clean the glass cover and the cooking inserts in a dishwasher.
The control panel must only be cleaned with a soft cloth. Do not use any commercially available stainless steel cleaners as these may be aggressive to the printed markings.
Clean control components, glass surfaces and operator controls with a moist cloth and gentle rinsing detergent and wipe them dry with a soft dry cloth.
Clean the appliance after every use:
- Empty and clean the steam cooker after every use. Soiling, salt and lime deposits can cause corrosion.
- Remove the leftovers strainer. Clean the cooking inserts and the leftovers strainer in a dishwasher or with mild soap solution. The handle for the cooking inserts must only be cleaned by hand.
- Rub the cooking basin dry with a cloth and reinsert the leftovers strainer.
- The glass cover should not be fitted while the cooking basin is still moist.
- If a white coating should form in the cooking basin owing to very limy water, wipe out the basin with a water and vinegar mixture or a descaling agent that is not harmful to foodstuffs and then rinse it well with clear water.
- Polish the cooking basin with a soft cloth and a drop of cooking oil.
Note: after a few hours of operation, the contours of the heating elements will appear on the base of the tub. This does not detrimentally influence the functions and the quality of the appliance.
After cleaning and drying, you can store the cleaned cooking inserts and the handle in the cooking tub. Turn over the glass cover to make sure that the appliance cover (special accessory) will lie properly on the recess.
5. Maintenance
If the appliance does not function correctly, check the fuses first.
If the power supply is functioning correctly, but your appliance still does not work, please contact your dealer or your local Gaggenau customer service agency.
Repairs may only be carried out by authorised electricians, in order to guarantee the safety of the appliance.
Improper tampering, inexpert installation or incorrect connection will render all warranty claims null and void. Isolate the appliance from the mains during all repairs. Please only ever use original spare parts.
Before all repairs, first isolate the appliance from the mains (remove the plug or the fuse).
What to do if ...
| ... the appliance does not heat up and □ appears on the display? | The child lock has been activated. Switch off the child lock. |
| ... the appliance switches off and dashes flash on the display? | Safety deactivation. Switch off the appliance. Then you can operate it again normally. |
| ... an error code (for example F1, F2, F3) appears on the display? | Call your local Gaggenau after-sales service. |
| ... the ↓ (limiter) symbol appears on the display? | No liquid in the cooking basin. Switch off the appliance. Fill the cooking basin with water up to the max marking. Leave appliance to cool down fully. If the ↓ (limiter) symbol does not go off after switching back on again although the appliance has fully cooled, please call your local Gaggenau customer service agency. |
6.1 Operating areas of the appliance
Cooking in steam
- Fill the steam cooker to the bottom marking.
- Place the cooking insert with the food inside it in the appliance.
- Turn the "Temperature" knob to steam cooking level.
- Fit the glass cover.
You can highlight the taste of meals by replacing the water with a liquid that matches the food (vegetable soup, fish stock or meat stock).
Keeping warm
- Fill the steam cooker to the bottom marking.
- Place the cooking insert with the food inside it in the appliance.
- Turn the "Temperature" control knob to the temperature level you require.
- Fit the glass cover.
In this way, you can keep foodstuffs gently and tastily warm over a prolonged time period without them drying out.
Regenerating
Meals that have already been prepared can be regenerated (reheated) in the steam cooker.
- Fill the steam cooker to the bottom marking.
- Place your prepared meal in the corresponding cooking insert and turn the "Temperature" control knob to the steam cooking level setting. Fit the glass cover. Switch back to the required temperature (85-95 °C) as soon as the "Heating" symbol has gone off.
Cooking
- Fill the cooking basin with water or another cooking liquid (no oil!) up to the foaming edge.
- Turn the "Temperature" control knob to a temperature between 45 and 95^ C .
- You are advised to fit the glass cover.
Use the noodle basket (accessory FK 023-000)
Extracting juice
- Fill the steam cooker to the bottom marking.
- Place fruit in the perforated insert
- Place the unperforated insert in the appliance and then the perforated insert over it.
- Steam until no more juice is extracted.
Sterilising
- Fill the steam cooker to the bottom marking.
- Place jars in the perforated insert in such a way that they do not touch each other.
- Turn the "Temperature" control knob to the steam cooking level setting.
- Switch off the appliance as soon as bubbles start to rise in the jar.
- Do not remove the jars from the appliance until they have cooled down fully.
Blanching
- Fill the steam cooker to the bottom marking.
- Preheat the appliance in the steaming setting.
- Place the vegetables in the unperforated insert.
- After 1-2 minutes, place the vegetables in icy water to cool them down fast. Allow the vegetables to drip dry fully.
6.2 Cooking table
Steaming / Cooking
Setting: steam cooking
| Foodstuff | Water quantity (1) | Cooking insert selection | Food quantity | Preparation | Cooking times* (minutes) |
| Meat | |||||
| Meatballs | 1 | perforated | 500 g | 15 - 20 | |
| Fillet of beef | 1 | unperforated | 400 g | place herbs, e.g. 1/2 teasp. thyme in the cooking basin | 15 - 20 |
| Chicken breast, filled | 1 | unperforated Base buttered | 500 g | 20 - 25 | |
| Turkey breast | 1 | unperforated Base buttered | 300 g | over vegetable stock | 15 |
| Smoked pork | 1 | unperforated | 1 kg | 60 | |
| Boiled beef | 1 | unperforated | 1 kg | with soup vegetables | 85 - 90 |
| Fish | |||||
| Salmon fillet | 1 | perforated | 600 g | 10 | |
| Truite bleu | 1 | perforated | 2 trouts | vegetable stock with vinegar | 8 - 10 |
| Trout in stock | 1 | unperforated | 2 pieces | 10 - 15 | |
| Cod cutlets steamed in wine | 1 | unperforated | 2 cod cutlets | possibly in a vegetable bed over water and wine | 20 |
| Ocean perch fillet | 1 | unperforated | 3 fillets | 10 - 12 | |
| Pike fillet | 1 | unperforated | 1 kg + 0,5 l water and ingredients | 15 - 20 | |
| Mussels | 1 | perforated, unperforated | in the perforated insert with juice | 10 - 15 | |
| Vegetables | |||||
| Cauliflower | 1 | perforated | 1 head | in roses | 20 - 30 |
| Cauliflower and carrots | 1 | unperforated perforated | 1 kg 1 kg | in roses sliced | 35 - 40 |
| Broccoli | 1 | perforated | 1 head | in roses | 8 - 12 |
| Green beans | 1 | perforated | 800 - 1000 g | 20 - 25 | |
| Kohlrabi | 1 | perforated | 800 g | sliced | 30 - 35 |
| Carrots | 1 | perforated | 1 kg | sliced | 20 - 25 |
| Jacket potatoes | 1 | perforated | 1 kg | 35 - 40 | |
| Boiled potatoes | 1 | perforated | 1 kg | halve | 20 - 25 |
| Boiled potatoes and cauliflower | 1 | perforated unperforated | 1 kg 1 kg | halve in roses | 25 - 30 |
| Asparagus spears | 1 | perforated, unperfor. | 2 kg | whole | 25 - 40 |
| Courgettes, aubergine | 1 | unperforated | 500 g | sliced | 5 - 8 |
| Spinach | 1 | unperforated | 250 g | 4 | |
| Fennel | 1 | perforated | 4 pieces | whole | 30 - 40 |
| Foodstuff | Water quantity (l) | Cooking insert selection | Food quantity | Preparation | Cooking times* (minutes) |
| Side dishes | |||||
| Rice, untreated | 1 | unperforated | 250 g 0,5 l water | 40 - 45 | |
| Parboiled-rice | 1 | unperforated | 250 g 0,5 l water | 20 | |
| Pasta | 4 | Noodle basket | 500 g | according to manufacturer's specifications | |
| Swabian noodles, noodles (fresh) | 4 | Noodle basket | 500 g | 2 - 5 | |
| Cooked-egg garnish | 1 | unperforated Base buttered | 1 litre | 10 - 15 | |
| Desserts | |||||
| Pudding in bain-marie tin | 1 | perforated | quantity for 1,5 litre tin | according to recipe | |
| Stewed fruit | 1 | unperforated | 1 kg, 1/4 l water | 10 - 20 | |
| Yeast dumplings | 1 | unperforated | 8 dumplings, 1/8 l milk, butter and sugar | 15 - 20 | |
| Rice pudding | 1 | unperforated | 250 g, 0,8 l milk | 25 - 30 | |
| * Note: the cooking times specified here are rough guide values only. You are advised to always preheat the steam cooker. If the appliance is not preheated, cooking times are prolonged by around 5 minutes. | |||||
Cooking table
Simmering
Setting: temperature level
| Foodstuff | Water-quantity (1) | Cooking insert selection | Food quantity | Temperature | Cooking times* (minutes) |
| Sausages | 4 | without | 4 - 8 pairs | 75 - 85°C | 10 - 20 |
| Meat dumplings | 4 (e.g. stock) | without | depending on the size | 90 - 95°C | 20 - 30 |
| Dumplings / pasta | 4 | without | 4 - 6 | 90 - 95°C | 20 - 30 |
| Mulled wine | - | without | min. 1 litre | 80 - 90°C | - |
| * Note: the cooking times specified here are rough guide values only. | |||||
6.3 Recipes
Halibut cutlets with bunched carrots
(completemenuwithtwosteamcookinginserts)
For 4 persons:
Ingredients
500 g bunched carrots
4 halibut cutlets (app. 200 g each)
1 lemon
Pepper
1/2 bunch parsley
1/2 bunch basil or dill
30 g butter
100 ml vegetable stock
Salt
Preparation
Fill the appliance to the bottom marking with water. Preheat to the steam cooking level.
Cut the leaves off the carrots down to 2 ~cm . Wash and peel the carrots. Steam cook the carrots whole for 12 minutes in the perforated cooking insert.
In the meantime, briefly rinse the fish cutlets and dry them well. Season them with pepper and lemon juice and place them in the unperforated cooking insert. Place the halibut over the carrots and steam everything once again for 12 minutes.
During this time, wash the herbs, dab them dry and chop them finely. Melt the butter in a large pan. Take the carrots out of the steam cooker and keep the fish warm in the steam cooker at 70^ . Toss the carrots in the butter.
Sprinkle the chopped herbs over them. Pour on the vegetable stock and season the carrots with salt and pepper. Salt the halibut cutlets and serve them with the seasoned carrots.
Chicken breast wrapped in leek
For 4 persons:
Ingredients
4 chicken breasts (app. 120 g each)
2 teaspoons of horseradish (from a jar)
1 leek (app. 200 g) 400 g carrots
1 liter of chicken stock 1/2 bunch parsley
1 tablespoon crème fraîche l onion
A few drops of lemon juice Salt
1 teaspoon mustard Pepper
Preparation
Rinse the meat, dab it dry and cut it lengthwise in half. Rub on horseradish all-round.
Rinse the leek well and cut it lengthwise in half.
Strip off the leaves singly and cut them lengthwise into strips of about 2 cm width.
Boil the stock in a pan and simmer the leek strips in it for 2 minutes, lift them out and allow them to cool.
Peel the carrots, rinse them and cut them lengthwise into thin strips using a peeler.
Peel the onion and cut it into fine cubes. Rinse the parsley, pick off the leaves and chop half of it.
Mix the carrots with the onion and the parsley leaves and pour the mixture into the strainer. Place two halves of chicken breast each on one another, wrapping the leek strips around the chicken breasts in the middle. Then place this on the carrots and lightly salt and pepper it all.
Place the strainer on the stock. Bring the stock back to the boil and, with the lid in place, steam the poultry and the vegetables in medium heat for 25 - 30 minutes.
Remove the strainer from the pot, but keep the lid on. Measure 150ml of the stock and pour it into a pan. Stir it with mustard and crème fraîche and vigorously bring it to the boil. Season the sauce with salt, pepper and lemon juice and mix in the chopped parsley. Serve with mashed potato or dark white French bread.
6.4 Tips and tricks
- The steam cooker may be used with max. two cooking inserts at the same time.
- When steaming with two cooking inserts, you can either place the inserts simultaneously in the cooking basin or you can insert them during the cooking process. When using this method, please make sure that you insert the food with the longer cooking time first. Make sure you insert the perforated insert under the unperforated insert. Do not insert the other cooking insert until the time remaining for the second item you intend to cook has been reached. In this way, you can make sure that meals that require different cooking times will be ready at the same time.
- Food cooked in steam has a more intensive taste than food cooked by conventional means. Therefore, you can largely dispense with the need for additional spicing. This means that the appliance is also suitable for diets.
Nutrients, vitamins and minerals are retained, as well as taste, shape and colour. Prepare the food without fat! - If possible, always fit the cover. The steam condenses on the cover and drips back onto the food. Steam and energy losses are prevented/avoided by a well sealing cover.
- Cooked food does not come into contact with the boiling water. Therefore, it is enveloped completely by the steam and is not drained of its goodness by water.
- Cooking in steam is an energy-saving means of preparing food.
- Always preheat the steam cooker! This shortens the cooking time and loss of nutrients from foodstuffs are minimised.
If the (limiter) symbol appears on the display, this may be due to the following reasons:
- Running dry:
- The appliance is being operated without water.
- There is no more water in the appliance.
- Heat build-up:
- Scale deposits may cause overheating as the result of a heat build-up.
Important:
- Turn the "Temperature" control knob to the 0 position.
- Pour cooking liquid into the cooking basin.
- Allow the appliance to cool down fully before operating it again.
If the (limiter) symbol does not go off after switching back on again although the appliance has fully cooled, please call your local Gaggenau customer service agency.
7.1 Technical data
Total rating: 2.3kW
Fuse: 10 A
Dimensions: B 288 x D 490 x H 190/260 mm
Pay attention to the data on the rating plate. The appliance can be connected with a plug or it can be connected permanently.
7.2 Important notes
The installing technician is responsible for the correct functioning of the appliance at the time of installation. He must instruct the user on how to operate the appliance correctly on the basis of the Operating Instructions, and the user must be instructed on how to disconnect the appliance in an emergency.
The appliance must only be connected by an authorised specialist, paying attention to the relevant regulations of the power supply companies and the regional construction regulations.
The minimum distance from the trough base to the nearest heat-sensitive parts is 10 ~mm .
The distance between the side and wooden built-in furniture must be at least 200 mm.
During installation, pay attention to a minimum clearance of 35mm from the wall trim or 50mm from the wall (measured from the edge of the appliance cutout).
Note: do not install the appliance directly next to a deep fryer!
Possible damage, caused by failure to observe these instructions cannot be recognised.
Connection type Y: if damaged, the mains cable must be replaced by a special mains connecting cable. The mains connecting cable must only be connected by the manufacturer or the manufacturer's authorised after-sales service.
The mains connecting cable must at least correspond to the type H 07 RN-F.
A suction extractor must be installed if suspended cupboards are installed over the steam cooker because the steam might otherwise damage built-in furniture.
The steam cooker may be installed in kitchen combinations made of wood or similar combustible materials without taking additional measures.
Pay attention to the "Important notes" (chapter 1).
Technical modifications reserved.
Electrical connection
The appliance must only be connected by an authorised electrician, paying attention to all relevant regulations.
You are advised to install an earthed socket for 10 or a junction box about 70~cm above the floor space behind the appliance to that it is also accessible after installment of the appliance.
If, after installation, not all poles of the appliance can be isolated from the mains by removing a plug, an isolating device with a contact gap of at least 3mm (e.g. a fuse) must be permanently installed.
7.3 Installation



- Produce the recess for one or several Vario appliances in the worktop. Proceed as shown in the installation sketch and the dimension table. The dimension table contains the space requirement for the connecting strip between the appliances.
Important: the angle between the cut surface and the worktop must amount to 90^ . (Fig. 16)
- Mark the centre of the recess exactly. Secure the securing rails on both sides in the recess. Make sure that the lugs of the securing rails lie on the worktop and that the centre marking on the securing rails is precisely flush with the centre marking on the worktop (Fig. 17).
Secure the cover on the appliance before assembly. See assembly instructions VD 201-010.
- Lower the appliance into the worktop. Make sure that the engaging lugs on the appliance lie exactly on the clamping springs. Press the appliance firmly into the worktop. The engaging lugs on the appliance "snap" into the clamping springs (Fig. 18).
Note: When installing the appliance in granite or marble worktops, have the holes produced by a specialist or stick on the securing rails with a temperature-resistant 2-component adhesive (metal on stone).
Note:
Several appliances can also be installed in individual recesses, as long as a minimum clearance of 40mm is kept to between the appliances.
7.4 Drain installation

A permanent drain connection using our drain installation set (AG 050-000) is recommended. This requires a drain connection in the base cabinet. A non-return valve must be installed. It can be connected permanently (Fig. 19) or with a free fall (Fig. 20).


Fig. 21
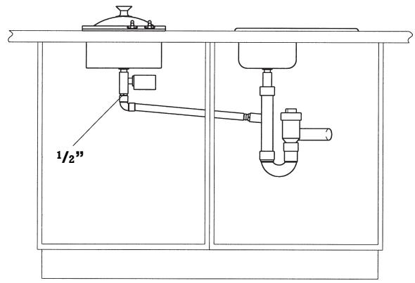
If the water connection is located in a neighbouring base cabinet, connection can be established with a connecting pipe or hose (Fig. 21). A non-return valve must be installed. During installation, pay attention to a constant downward flow of the connecting pipe.

Fig. 22
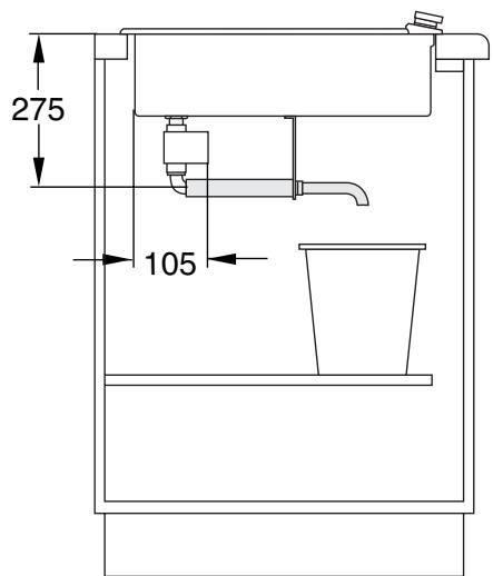
If no drain connection is available, the drain installation set (AG 060-000) allows you to drain the cooking liquid into a suitable receptacle (e.g. a 10 l bucket) (Fig. 22).
GAGGENAU
GAGGENAU HAUSGERÄTE GMBH
CARL-WERY-STR. 34 · D-81739 MUNCHEN
(089)45 90-03
FAX (089) 45 90-23 47
www.gaggenau.com
EasyManual