CONTRACTOR MASTER - Pressure washer NILFISK - Free user manual and instructions
Find the device manual for free CONTRACTOR MASTER NILFISK in PDF.
Download the instructions for your Pressure washer in PDF format for free! Find your manual CONTRACTOR MASTER - NILFISK and take your electronic device back in hand. On this page are published all the documents necessary for the use of your device. CONTRACTOR MASTER by NILFISK.
USER MANUAL CONTRACTOR MASTER NILFISK
IMPORTANT: Read this instruction manual before you start up your high pressure washer for the first time.
This machine is a hot water high pressure washer producing a water jet under high pressure and of a high temperature which is why severe injury and scalding can occur if the safety precautions are not observed.
Therefore a complete understanding of the contents of this instruction manual is required in order to prevent injury to yourself, objects and persons nearby, and the machine itself. It is also important that you read the Honda engine manual provided before you begin to use this machine.
Contents
1-18
EN
1.0 Survey of models 2
1.1 Model tag 2
1.2 Technical data 2
2.0 Instructions for use 3
Safety precautions and warnings
2.1 Operation 3
2.2 Safety devices on the machine 4
2.3 General 4
3.0 Operating instructions 5
3.1 Connections 5
3.1-1 High pressure hose.. 5
3.1-2 Water connection.. 5
3.1-3 Fuel filling for boiler.. 5
3.1-4 Fuel filling for Honda engine 6
3.1-5 Spray handle - accessories 6
3.2 Starting-up procedure 7
3.3 Operation 7
3.4 Temperature control 8
3.5 Spray lance, regulation of pressure and water volume 8
3.6 End of operation - dismounting of high pressure hose
3.7 Transport directions.. 9
3.8 Storage - frost protection.. 10
4.0 Fields of application and working methods....11
4.1 Fields of application 11
4.2 Working pressure 11
4.3 Detergents 11
4.4 Working methods 12
5.0 Pre-priming 12
6.0 Functional description 13
6.1 General description 13
6.2 High pressure pump. 13
6.3 Petrol engine 13
6.4 Burner system - control system 13
7.0 Maintenance 15
7.1 General 15
7.2 Oil 15
7.3 Water filter 15
7.4 Fuel filter 15
7.5 Descaling of coil 17
7.6 Cleaning of high pressure nozzle 17
8.0Trouble shooting chart 18
Designations
EN
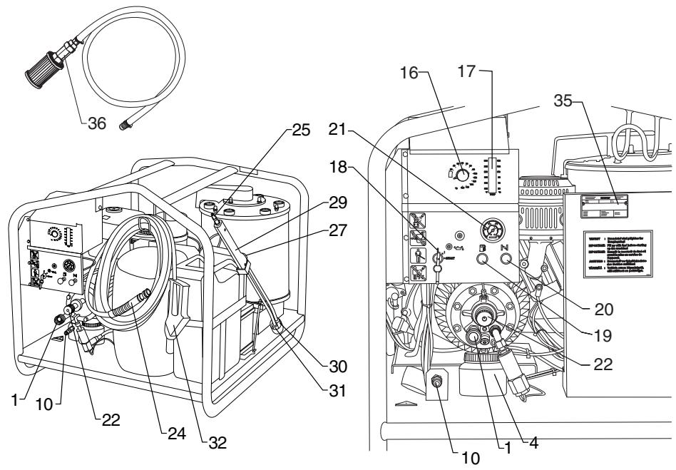
(see drawings inside back cover)
- Water inlet and filter (quick-coupling for supply hose)
- Pump oil level inspection and fill cup
- Oil drain plug for pump
- Sludge container
- Engine oil dipstick and filler tube
- Oil drain plug for petrol engine
- Petrol filling cap
- Boiler
-
Fan for boiler
-
High pressure outlet (male quick-coupling)
- Battery, 12V
- Container rack for detergents
- Jerrican for heating oil
-
Fuel filter
-
Frame lift points
- Thermostat for temperature regulation
- Thermometer
- Key for electric start
- Fuel cock
- Choke control
- Pressure gauge for working pressure
- Knob for adjustment of water volume
- Fuse (protection of electronic unit) rating 1.25AT and RESET button
- High pressure steam hose
- Male coupling
- Quick coupling
- Valve for pressure regulation
- Release trigger
- Standard double spray lance
- Low pressure nozzle
- High pressure nozzle
- Spray handle
- Safety knob for release
- Drain plug for coil
- Model tag
- Suction hose with filter
Nilfisk-ALTO environmental policy
Nilfisk-ALTO has a strong commitment to and constantly works towards a cleaner and improved world. Nilfisk-ALTO's environmental concern has led to several awards in recognition of our contribution to an improved environment. We constantly review all aspects of our business from production facilities, to our products and their packaging.
Nilfisk-ALTO:
Reuses all water which is used in product testing.
Ensures every plastic component is recyclable.
Produces packaging using wherever possible recyclable cardboard.
United Kingdom: Health and safety at Work Act 1974 Guidance Note P.M. 29
It has always been the Nilfisk-ALTO policy to ensure that all Nilfisk-ALTO products are safe and without risk to health or safety when properly used.
Nillisk-ALTO always endeavour to provide customers with every available item of information on the product they are using by the issue of descriptive instruction manuals, literature and brochures which are constantly being updated and reviewed.
If you have any doubts or problems please do not hesitate to contact Nilfisk-ALTO Customer Services on 01768 868995 or write to Nilfisk-ALTO Consumer Products, Gilwilly Industrial Estate, Penrith, Cumbria, CA11 9BN.
1.0 Survey of models
1.1 Model tag
This petrol driven hot water cleaner has the model designation Contractor/Contractor Master. The model designation appears from the text on the control panel and the model tag.
The tag provides the following details:
- Model designation
- Nilfisk-ALTO no.
- Nozzle
- Heating power
- Pump pressure
- Max. pressure
- Flow volume
- Max. temperature
- Pump pressure
- Max. pressure
- Flow
- Max. temperature
- Power absorption
- Approval
- Serial number, week and year

1.2 Technical data
| Model | Contractor | Contractor Master | |
| Max pressure, inlet water | psi/bar | 145/10 | 145/10 |
| Pre-priming, max suction height | ft/m | 16/5 | 16/5 |
| Max temp., inlet water | °F/°C | 95/35 | 95/35 |
| Water temperature, adjustable | °F/°C | 86-302/30-150 | 86-302/30-150 |
| Heat rating | Kcal/h/ kW | 1053/71 | 1053/71 |
| Petrol engine, type | Honda GX340LXE | Honda GX390LXE | |
| Rated output | HP/kW | 11/8.2 | 13/9.6 |
| Petrol consumption at max pressure | USgph/ l/h | 0.9/3.5 | 1/3.7 |
| Petrol tank, capacity | USg/l | 10.6/40 | 10.6/40 |
| Fuel consumption at Dt = 50°C | USgph/ l/h | 1.5/5.6 | 1.6/5.9 |
| Jerrican, capacity | USg/l | 5/20 | 5/20 |
| Start system | Electric start | Electric start | |
| Battery | V/ah | 12/50 | 12/50 |
| Spray lance: | |||
| Spray angle h.p./l.p | degrees | 15/65 | 15/65 |
| Nozzle type | 05 - yellow | 05 - yellow | |
| Thrust, max | kp/N | 4.1/40.2 | 4.8/47 |
Sound power level L_WA according to ISO 3746:96.4 dB(A).
Sound pressure level L_pA measured in accordance with ISO 11202 [DISTANCE 1m] [FULL LOAD]: 110 dB(A).
Data at 12^ inlet water. We reserve the right to make alterations.
2.0 Instructions for use
Safety precautions and warnings
EN
Before starting up your high pressure washer for the first time, you must read through the following sections: 2.0 Instructions for use and 3.0 Operating instructions and follow all instructions to ensure the protection of user, surroundings and machine. Upon the unpacking of your machine please check for any defects. If you find any, we kindly ask you to contact your Nilfisk-ALTO distributor.
2.1 Operation
This machine produces a high pressure jet of a high temperature and operation contrary to the instructions can cause severe injury!
For your own and the safety of others the following precautions should always be observed:
- WARNING! Never direct the water jet towards people, pets, electric wiring, or the machine itself.
- WARNING! Never try to clean clothes or footwear on yourself or other persons.
- We recommend you to wear goggles during operation.
-
Never work barefoot or wearing sandals.
-
WARNING! Operator and anyone in immediate vicinity of the site of cleaning should take action to protect themselves from being struck by debris dislodged during operation.
- According to regulations persons under the age of 18 must not operate cleaning machines with a working pressure above 70 bar (applies to this machine).
- Only let instructed personnel operate the machine.
- Don't start the machine until the high pressure hose has been correctly mounted.
- Spray handle and lance are affected by a backward force (thrust) during operation - therefore always hold the spray lance firmly with both hands.
- At intervals the machine should be stopped and the spray handle secured against inadvertent use by locking the trigger with the locking device.
- Only activate the trigger by hand. Never tie it up or fix it in any other way.
- Avoid damage to the high pressure hose such as running over by a car, squeezing, pulling, knotting/ kinking etc. and keep it away from oil and sharp or hot objects, as such may cause the hose to burst.
- Never dismount the high pressure hose when the water temperature is above 50^ (risk of scalding) or while the machine is in operation. Disconnect the cleaner and the water connection and activate the spray handle before dismounting the high pressure hose.
- Never use the machine in an environment where there could be a danger of explosion.
- WARNING! High pressure hoses, nozzles, spray handle and connections are important for safety when operating the machine. Only use the high pressure steam hoses (with an imprinted max temperature of 150^ ), nozzles and connections prescribed by Nilfisk-ALTO.
- For safety reasons only use original Nilfisk-ALTO accessories and spare parts.
- In icy conditions never start the cleaner until machine, hoses and accessories have thawed. Otherwise the machine could be damaged.
- The cleaner must not be covered during operation.
- WARNING! The flue gases of the motor and the boiler contain poisonous carbon monoxide. Avoid inhalation of exhaust gases. Never run the machine in a closed room.
- WARNING! Keep children and pets away from the machine during operation. There is a risk of burns.
- WARNING! The muffler gets warm during operation and will remain warm for a while after the motor has been stopped. Be careful not to touch the muffler while warm.
- WARNING! Use of a wrong fuel in the boiler may be harzardous.
- Be aware that boiler and the Honda engine use different fuels.





DANGER OF EXPLOSION!
- Refuel in a well-ventilated area with adequate ventilation and always with the engine stopped.
- It is not allowed to smoke when refilling with gasoline.
- Do not overfill the tank. Make sure that the filler cap is closed securely.
- Avoid spilling gasoline when refilling. If gasoline nevertheless is spilled, the engine must not be started before the spilled gasoline has been removed.
- If the machine is placed in a trailer, any gasoline spillage must be removed before restarting the machine.
- Never use an open flame near the machine.
- The battery emits explosive gases. Avoid sparks and open flames. Make provision for adequate ventilation during recharge in closed rooms.

DANGER OF FIRE
- Always place the machine at a distance of at least 1 m from buildings or equipment during operation.
- Never place inflammable products such as petrol and matches etc. close to the machine during operation.
- Never place the machine in the immediate vicinity of sources of heat (gas burners, heaters etc.).
- Always let the engine cool before transporting it or setting it aside to avoid burns and to reduce the risk of fire.
2.2 Safety devices on the machine
Circulation valve (safety valve)
The pressure side of the high pressure pump is fitted with a circulation valve (safety valve). This valve circulates the water back to the suction side of the pump when the spray handle is closed or if a nozzle is blocked. The circulation valve has been constructed as a safety function ensuring that the pressure will never exceed the working pressure by more than 25 bar. At this pressure the circulation valve will automatically switch from high pressure to circulation mode.
Never let the machine run for more than 5 min. upon release of the spray handle as it may be damaged. The valve has been adjusted and sealed from the factory. This adjustment must not be changed! The circulation valve ensures that the machine becomes devoid of pressure when it is stopped.
Motor protection
The engine will automatically stop if the oil level is insufficient. The engine can be restarted when having been refilled with oil.
2.3 General
- It is not allowed to clean asbestos-containing surfaces with high pressure, unless using special equipment.
- Persons under the influence of alcohol, drugs and medicine should not operate the machine.
- When using detergents the enclosed instructions should always be strictly observed.
- Don't use the machine if important parts of the equipment are damaged - i.e. safety devices, high pressure hoses, spray handle, cabinet.
- WARNING! Battery acid contains corrosive sulphuric acid. Avoid contact with skin, eyes and clothes. Even through your clothes the sulphuric acid may cause etching. If you get acid on your skin, flush with sufficient water. If you get battery acid in your eyes, flush carefully with water for at least 15 minutes and send for a doctor.
- WARNING! Battery acid is toxic. If battery acid is swallowed: Drink a lot of water or milk. Then more milk, whipped eggs or vegetable oil and send for a doctor immediately.
- The most efficient cleaning is obtained if you adjust the distance to the surface which is to be cleaned. Thus you will also avoid damaging the surface.
3.0 Operating instructions
3.1 Connections
3.1-1 High pressure hose


Only use Nilfisk-ALTO high pressure steam hoses with an imprinted max temperature of 150^
Max length of extension hose: 50m
The high pressure hose (24) with imprinted max working pressure and temperature (150^) should be attached to outlet socket (10) by quick coupling.
3.1-2 Water connection


Min length of hose: 6 m. 3/4'' .
Clean water inlet filter (1) at monthly intervals.
Max water pressure 10 bar.
The water supply system must supply the water volume stated in section "1.2 Technical data".
Let water run through the inlet hose to remove any impurities.
Attach the water inlet hose to the water connection (1).
If there is a risk of impurities (i.e. running sand) in the inlet water, an external water filter should be mounted beyond the internal filter. Please contact your Nilfisk-ALTO distributor for further information.
NOTE: Connection to the public mains according to regulations.
3.1-3 Fuel filling for boiler


Only use heating oil or diesel oil.
WARNING! Use of a wrong fuel can be hazardous!
Capacity of tank: 20 l.
Fuel for the boiler is filled into the jerrican (13). Capacity of tank: 20 l. Only use heating oil or diesel oil.
WARNING: NEVER fill petrol into this jerrican!
3.1-4 Fuel filling for the Honda engine


WARNING!
Stop the engine and allow it to cool for at least two minutes before filling with petrol.
Check the Honda manual for the petrol octane specifications.
Only use pure petrol in the Honda engine.
Petrol for the Honda engine is poured into the petrol tank (7). Only use pure petrol.
Always stop the engine and let it cool for at least two minutes before filling with petrol.
Avoid spilling petrol. If petrol nevertheless is spilled while refilling, the engine must not be started before the spilled petrol has been removed.
If the machine is placed in a trailer, any petrol spillage must be removed before restarting the machine.
It is forbidden to smoke while refilling with petrol.
Also read the instructin manual for the Honda engine.
3.1-5 Spray handle - accessories


Clean nipple of any impurities each time the spray lance has been dismounted.
Pull forward the grey quick coupling trigger of the spray handle (26).
Insert the nipple of the spray lance (25) in the quick coupling and release the trigger.
Pull forward the spray lance or any other accessory to ensure correct mounting before starting the cleaner. Max thrust of spray handle and lance - see section "1.2 Technical data".
3.2 Starting-up procedure


Check oil
Turn the thermostat to the BLUE field.
Turn to position "START".
Check that the oil in the oil reservoir (2) is between the MIN and the MAX markings. Oil type: Nilfisk-ALTO Pump Oil 100.
Check the oil level on the Honda engine (5). Oil type: Choose oil type in accordance with the instructions in the Honda manual.
Open the petrol cock (pos. 19) by pulling the control knob out. Activate the choke (pos. 20) if necessary by pulling the control knob out.
Turn the temperature control (16) to the BLUE field. Make sure that the high pressure hose has been correctly mounted.
Start the Honda engine as described in the enclosed operating instructions.
The key for the electric start has the following three positions:
1:"O"off
2:"I"run
3: "Start" - the key will return to position 2 when released
Gradually push in the choke control if having been used.
3.3 Operation


Always hold the spray lance with both hands!
Always lock the spray handle when the cleaner is not in operation.
Activate the high pressure washer by releasing the trigger of the spray handle (28). When starting up the machine the pressure may be unsteady because of air in the pump system. After a short time the air will escape from the system and the pressure will become steady.
When the engine has been warmed up, check that the max. working pressure does NOT exceed the maximum allowable pump pressure (see section "1.2 Technical data"). This can be taken from the pressure gauge (pos. 21).
Do not let the machine run for more than 5 minutes once the spray handle has been released (the pump then circulates the water internally and the machine will overheat unless stopped after 5 minutes).
When the cleaner is not in use, secure the spray handle by turning the safety knob (33) into pos. 0.
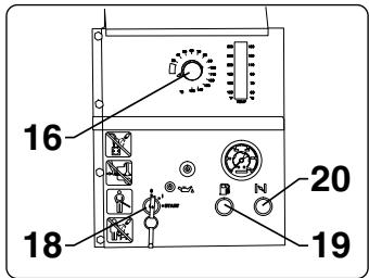
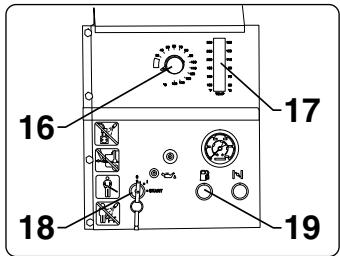
3.4 Temperature control


Cold water mode 0 - 50^
Hot water mode 50 - 95^
Steam mode 95 - 150^
Adjust the temperature control (16) to the required temperature.
Indicator lamps on the temperature display (17) show the actual temperature of the outlet water.
Cold water mode: Upon the starting-up procedure the machine is immediately ready for cleaning with cold water.
Hot water mode: Adjust the temperature control (16) to the required temperature, 30 - 95^ .
Steam mode: Screw the valve for regulation of the water volume (22) home (clockwise), and adjust the temperature control (16) to the required temperature, 95 - 150^ .
Note: The max temperature of 150^ can only be reached with the reduction valve (27) of the spray lance adjusted to high pressure (turn clockwise until stop).
IMPORTANT: When adjusting to temperatures above 95^ the valve for regulation of the water volume (22) must be screwed completely home (clockwise) upon which the temperature control (16) can be adjusted to the required temperature, 95 - 150°C.
3.5 Spray lance, regulation of pressure and water volume


Turn pressure reducing valve:
Clockwise (B): high pressure
Counter clockwise (A): low pressure
The spray lance features 2 nozzles; a high pressure nozzle and a low pressure nozzle.
High pressure operation
The max working pressure of the machine is reached when the pressure reducing valve (7) is completely closed (B) and the valve for regulation of the water volume (22) is quite open (turned in the direction of the arrow). In this position only the high pressure nozzle is used - high pressure mode. The water volume is infinitely variable between min and max output.
When the spray handle is inactivated, screw the valve for regulation of the water volume (22) home (in the opposite direction of the arrow). This corresponds to a working pressure of 30 bar and a water volume of approximately 8l / min . If you want to increase the water volume, turn the valve in the direction of the arrow until the required volume has been reached. 1 turn gives an increase of approx. 40 bar pressure.
Low pressure operation
If a completely reduced pressure is required, open the reduction valve (A) completely. The nozzle pressure will then be approx. 5 bar. In this position both spray lances are used - low pressure mode.
3.6 Stop - dismounting of high pressure hose


Danger of scalding!
Never dismount the high pressure hose when the water temperature is above 50^
If the machine is set aside immediately after hot water or steam operation, it should be cooled down in "cold water mode" at first until the temperature is below 50^ .
Turn the temperature control (16) to the blue field for cold water and activate the spray handle until the temperature (17) is below 50^ .
Then turn off the water supply and stop the Honda engine by turning the start/stop button (18) to position 0.
Close the petrol cock (pos. 19). (See instructions for the Honda engine).
Now the high pressure hose can be dismounted.
3.7 Transport directions


For lifting by crane, use lifting straps!
When lifting the machine by forklift truck, be sure the forks extend completely under the machine to prevent tipping. When lifting by tackle/crane a sling may be wrapped around the upper frame tubes (15) for lifting.
Ensure that no persons are under or near the machine when lifting it.
Always fasten the machine securely during transport.
3.8 Storage - frost protection


Frost-free room or anti-freeze!
We recommend you to store the machine in a frost-free room between the cleaning tasks. The machine must be emptied of water prior to storing for a longer period. This is done in the following way:
- Detach water hose. Dismount spray lance and empty it of water.
- Turn the thermostat to the BLUE field, start the machine, and let it run with activated spray handle until all water has run out. Then empty the coil by unscrewing the drain plug (34).
FROST PROTECTION
If the store room is not frost-free, the machine should be protected with an antifreeze. The frost protection is reached by following the two points above, screwing the drain plug in again and then do the following:
- Place the inlet/suction hose in a bucket containing approx. 8 l anti-freeze.
- Draw in the anti-freeze by activating the spray handle. Activate the spray handle 2-3 times while placing it above the bucket with anti-freeze so that the anti-freeze can circulate.
- Remove the inlet hose from the bucket, activate the spray handle and the rest of the anti-freeze is lead back into the bucket.
NB! After repeated use the anti-freeze will be diluted with water and thus loose its anti-freeze effect.
4.0 Fields of application and working methods EN
4.1 Fields of application
The most important fields of application for this product are:
| Transport | Cleaning of trucks, buses, cars, engine rooms, etc. |
| Building and construction | Building renovation, cleaning/degreasing of vehicles, equipment, buildings, etc. |
| Industry | Degreasing and cleaning of machines, workpieces, and vehicles. |
| Service | Cleaning of vehicles and degreasing tasks. |
4.2 Working pressure
The high pressure washer may be used with high or low pressure at your own option. At the standard spray lance the working pressure is adjusted by turning the reduction valve.
| Low pressure | Is first and foremost used for application of detergents and for washing off. |
| High pressure | Is used for cleaning. |
| Intermediate pressure | As an example it may be used for the cleaning of surfaces, which cannot stand a too powerful water jet, i.e. soft surfaces. |
4.3 Detergents
As standard the machine is delivered without a detergent injector.
Detergent should not be added to the inlet water and thus pass through the pump. If you want to use detergents these should be added through an external injector (see accessories catalogue).
The most efficient cleaning is obtained when using detergents in conjunction with high pressure cleaning. For that purpose Nilfisk-ALTO can offer you a series of products specially developed for high pressure cleaning, e.g.:
Cleaning of vehicles, machines, etc.
Degreasing of workpieces
Descaling
Disinfection Maintenance of the high pressure washer
The products are water-based, without phosphates, and the applied tensides (surface active substances) comply with the present requirements for easy biodegradability.
Contact your Nilfisk-ALTO distributor for directions as to which product(s) will fulfill your requirements.
The method of application and the dosage of the individual products appear from the product labels or the data sheet.
NOTE! Certain organic solvents are aggressive to rubber and plastics used in high pressure hoses and must therefore not be used. Using detergents outside the range from 4.0 - 10.0pH will reduce the life of the equipment.
Change from application of detergent under low pressure to cleaning under high pressure is simply effected by regulating from "low pressure mode" to "high pressure mode" on the spray lance.
For foam cleaning mount the special foam injector between the high pressure washer and the high pressure hose. Insert the suction hose of the injector into the foam detergent. Attach the foam lance to the spray handle and now foam can be applied. Upon application detach the foam injector and replace the foam lance by a spray lance and you are ready for cleaning.
4.4 Working methods
Your high pressure washer has been developed for cleaning according to the so-called "2-step method".
STEP1
Application of detergent
STEP2
High pressure cleaning
In practice the working process is laid down in accordance with the actual job, but as a starting point the following working method can be described for a job:
- Apply detergent under low pressure. The dosage is chosen according to the job which is to be carried out, and the adjustment is made on the control knob on the injector.
- Wait acting time. Let the detergent act on the dirt/surface for a short time prior to pressure cleaning - usually a few minutes.
- High pressure cleaning. Clean all surfaces under high pressure.
- Rinse afterwards, if necessary. To make sure that residual impurities are removed from the surface.
In connection with the working process the optimum cleaning will be reached by following these 3 pieces of advice:
Advice no. 1
When using a detergent, always apply it on a dry surface. If the surface is rinsed with water at first, it may be difficult for it to absorb the detergent, and the result is a reduced effect of the detergent.
Advice no. 2
When applying a detergent on large vertical surfaces (i.e. the sides of a truck) work from below and upwards. Thus you will avoid detergent running off the surface through grooves and dark streaks appearing on the surface whilst cleaning.
Advice no. 3
During the high pressure cleaning you should work so that the high pressure water does not run over the surface which has not been cleaned yet. This is to ensure that there is sufficient detergent on the surface when the high pressure water hits the surface.
For certain cleaning tasks it may be an advantage to apply detergents for high pressure operation - i.e. for the dewaxing of cars.
5.0 Pre-priming
The pressure washer is self-priming, and the water can be taken from a tank, a stream or the like. The suction height depends on the water temperature. Max. suction height of 5m is reached with cold water up to 12^ . The pump and the inlet hose must be primed with water before starting up.
If there is a risk of impurities (such as running sand) in the Intel water, an external filter must be mounted beyond the internal filter. Please contact your Nilfisk-ALTO distributor for further information.
6.0 Functional description
EN
6.1 General description
The water passes from the quick coupling (a) through a water filter (b) into the high pressure pump (c). The high pressure water leads through the discharge system of the pump where the safety and circulation valve (d) is situated. Then it passes the first flow switch (e) to the non-return valve with throttle (f), through the second flow switch (g) and enters the boiler (h). Here the water is heated to the required temperature. After the boiler the hot high pressure water passes the temperature sensor (i), through the outlet quick connector (j) to the spray handle (k) and the spray lance (l). The fuel is drawn from the fuel tank (m) through the fuel filter (n) by the fuel pump (o). Now the pump leads fuel through the solenoid valve (p) to the nozzle (q) where it is ignited.
The combustion in the boiler is monitored by the flame sensor (w) and is supplied with air from the fan (r) which together with the high pressure pump (c) are driven by the petrol engine (s).
6.2 High pressure pump
On the pressure side the high pressure pump features a circulation valve (d). This valve leads the water back to the suction side of the pump when the spray handle is closed or if a nozzle is blocked. The circulation valve also functions as a safety valve and has been adjusted to open approx. 25 bar above the working pressure. The valve has been adjusted and sealed from the factory. This adjustment must NOT be changed! When the machine stops it is automatically devoid of pressure.
6.3 Petrol engine
A description of the operation/maintenance instructions for the Honda engine will be found in the Honda manual provided with the machine. Please read this before starting up. The throttle limit of the engine has been adjusted by Nilfisk-ALTO so that the max. number of revolutions corresponds to the max. pressure of the pump (see section "1.2 Technical data"). The adjustment is sealed and must NOT be changed.
6.4 Burner system - control system
The burner system is surveyed and controlled by an electronic control unit which includes a thermostat, flow switches to control the water flow and a sensor to monitor the flame.
The water temperature is controlled by the temperature sensor (i) which regulates the fuel supply for the burner through the solenoid valve (p). As the burner is only allowed to operate when there is a water flow in the system (i.e. when the spray handle is activated) the machine features two flow controls (e-g) which control the fuel supply through the electronic control unit. When the flow in the system is interrupted, the flow switches are activated and the fuel supply will stop. When the water flow repeats, the flow switches are reactivated and realow the fuel supply. Safety circuits in the electronic control unit survey that both flow switches are activated. Thus the fuel supply is interrupted when only one of the flow switches are activated. When the water flow is repeated the control unit only allows the fuel supply if both flow switches have been activated.
The flame sensor is a separate circuit stopping the machine if there is no flame in the burner in hot water or steam mode.
It is important for the life of the fuel pump that the machine is not allowed to run in the hot water or cold water mode with empty fuel tank. If the burner stops working unexpectedly, check the fuel level in the tank and refill if necessary.
NB! Changes of the electrical coupling of the machine are not allowed.

a. Quick coupling, inlet
b. Water filter
c. High pressure pump
d. Circulation valve
e. Flow switch
f. Non-return valve with throttle
g. Flow switch
h. Coil
i. Temperature sensor
j. Quick coupling, outlet
k. Spray handle
I. Spray lance
m. Fuel tank
n. Fuel filter
o. Fuel pump
p. Solenoid valve
q. Burner system - nozzle
r. Fan
s. Petrol engine
t. Safety valve
u. Pressure gauge
v. Regulation of water volume
w. Flame sensor
The following sensors are built into the system:
- Flow switches (e-g)
Ensure that there is a water flow through the boiler, before it can be ignited.
Allows the solenoid valve (p) to open.
- Flame sensor (light sensor) (w)
Surveys that there is a combustion in the boiler when fed with fuel, and that the combustion will stop when the fuel supply is cut off.
- Temperature sensor (i)
Measures the temperature of the high pressure water from the boiler. Dependent on higher or lower temperature the burner will ignite or turn out.
7.0 Maintenance
EN
7.1 General
To ensure that your Nilfisk-ALTO high pressure washer is always in an operational condition it is advisable to have it checked by a Nilfisk-ALTO service technician at regular intervals.
However, it applies to the most exposed components that a minimum of maintenance ensures a prolonged and problem-free operation. Therefore it will also be a good idea to make a habit of the following:
- Before mounting the water hose and the high pressure hose the quick couplings should be cleaned of dust and sand.
- Before mounting spray lance or any other accessory on the spray handle, the machine should be started and the quick coupling cleaned of dust and sand.
- The water filter should be cleaned once a month or more frequently as the occasion requires.
- We recommend you to store the machine in a frost-free room. If by mistake the machine freezes up, it must not be started. Let machine, hoses and accessories thaw up before starting up.
If the room is not frost-free the machine should be protected with an antifreeze. - Replace fuel filter (14) once the year or more frequently as the occasion requires.
7.2 Oil
Oil change - pump
The oil shold be changed after each 1000 hours' use.
Remove the cover of the oil reservoir (2). Unscrew the drain plug (3). Allow the oil to run out and clean the drain plug of impurities. Screw in the plug and refill the pump with fresh oil through the oil reservoir. Holds approx. 1 l.
From Nilfisk-ALTO the pump is filled with zincless hydraulic oil - Nilfisk-ALTO Pump Oil 100. When refilling and changing the oil this or an oil with the following specifications should be used:
ISO no 100
Viscosity index (VI) min 130
Pour point below -30^
Sludge container
The used oil is caught in a sludge container (4). The container should be emptied before it is full; this oil must not be reused in the pump.
Oil change - Honda engine
Refer to the Honda engine manual for maintenance and oil change requirements. Carry out first oil change after 20 hours' operation and then every 100 hours. Not less than once every six months, however.
PROTECT THE ENVIRONMENT
Waste oil and oil sludge must be removed as laid down in the instructions.
7.3 Water filter
To avoid debris entering the high pressure pump, a water filter is fitted at the water inlet (1). Dependent on the purity of the water this filter will have to be cleaned once the month or more frequently as the occasion requires.
The filter can be removed when the quick coupling has been unscrewed.
7.4 Fuel filter
A filter (14) between the fuel tank and the fuel pump prevents impurities from penetrating the fuel pump. The filter unit should be changed dependent on the purity of the fuel. A yearly change of the filter is recommended.


- Cover of oil reservoir
- Oil drain plug
- Sludge container
- Fuel filter
- Drain plug for coil
7.5 Dscaling of coil
After a period of operation depending on the hardness of the water scale deposits will begin to accumulate in the heating coil. These deposits will reduce the effect of the water heating system and increase the fuel consumption. The machine should therefore be descaled regularly. If the machine adjusted on max. water volume will not heat cold water (8^) to 70^ within three minutes, the burner or the coil requires servicing or descending.
Dscaling as follows:
- Detach high pressure hose.
- Insert the inlet hose in a container with descaler, Nilfisk-ALTO Stonex and water in the ratio 1:10.
- Start the machine in cold water mode.
- Stop the machine when the water escaping the outlet socket has been coloured by the descaler.
Warning: The mixture may be caustic!
Do not on any occasion empty the container to prevent air getting into the system.
- Let the machine rest for 20 minutes.
- Start the machine and pump the used solution into a container for proper disposal.
- Immediately attach the water inlet hose to the water supply and turn on the tap.
- Start the machine and let it run 5 - 10 minutes to have the descaler out of the system.
- If required, repeat the procedure from item 3 - 8.
Note! The descending should always be carried through in accordance with the instructions on the descaler product.
7.6 Cleaning of high pressure nozzle
A clogging up in the nozzle causes a pump pressure which is too high and cleaning is immediately required.
- Stop the cleaner and detach the spray lance.
- Carefully clean the nozzle.
IMPORTANT: ONLY use the cleaning tool when the spray lance is detached!
- Flush the spray lance backwards with water.
- If the pressure is still too high, repeat items 1 - 3.
8.0 Trouble shooting chart
EN
You have chosen a quality product and therefore deserve the best service. To avoid unnecessary disappointments, you should check the following before contacting the nearest Nifisk-ALTO service organisation:
| Fault | Cause | Correction |
| Machine will not start | Insufficient petrol supply | Refill petrol tank |
| Battery run down | Recharge the battery *) | |
| Pump frozen up | Let the pump thaw | |
| A fuse has blown | Replace fuse or press the RESET button (23) | |
| Working pressure too high | Nozzle partly clogged up | Clean the nozzle (see section 7.6) |
| Working pressure too low | Valve for regulation of water volume not adjusted to max water volume | Completely open the valve for regulation of water volume. Turn in the direction of the arrow. |
| Nozzle damaged | Replace nozzle. | |
| Motor speed too low | Contact Nilfisk-ALTO servicing department | |
| Working pressure fluctuating | Air in the pump | Repeat venting. Check that the dosing valve (22) is completely closed. |
| Insufficient water supply from the water works | Detach the water inlet hose and check the water volume (see section 1.2). | |
| In suction mode | Excessive head or excessively hot water | NB! Avoid long thin hoses (min 3/4"). See section 5.0 Pre-priming |
| Water inlet screen clogged up | Clean the filter (see section 7.3). | |
| No working pressure | Nozzle clogged up | Clean the nozzle (see section 7.6). |
| No inlet water | Check the water connection. | |
| Hoses / spray lance frozen up | Let hoses / spray lance thaw. | |
| Burner does not ignite | Lack of fuel | Refill with fuel. |
| Fuel filter clogged up | Replace fuel filter. | |
| No flame | Replace fuel filter (see section 7.4). | |
| Poor heating | Scale deposits in coil | Descale coil (see section 7.5). |
Should other malfunctions occur than those mentioned above, please contact the nearest Nifisk-ALTO service organisation.
NB: To avoid damage to the electronic systems, the battery connecting cables must be removed when recharging the battery.
EC Declaration of Conformity
Nilfisk-ALTO, Division of Nilfisk-Advance A/S, Industrivej 1, DK-9560 Hadsund
herewith declares that
High pressure washer
type :
CONTRACTOR MASTER
is in conformity with the provisions of the following directives as amended:
2006/42/EC, 2006/95/EC, 2004/108/EC
and furthermore declares that the following (parts/ clauses of) harmonized standards have been applied:
EN ISO 12100-1 (2004), EN ISO 12100-2 (2004)
EN 55014-1 (2006), EN 55014-2 (2001)
and that the following (parts/clauses of) national standards have been used:
IEC 60335-2-79 (2007)
Hadsund, Denmark 01.01.2009

Issue place and date
Anton Sorensen
General Manager, Technical Operations EAPC
2006/42/EC, 2006/95/EC, 2004/108/EC
General Manager, Technical Operations EAPC
2006/42/EC, 2006/95/EC, 2004/108/EC
General Manager, Technical Operations EAPC
2006/42/EC, 2006/95/EC, 2004/108/EC
General Manager, Technical Operations EAPC



NilfiskALTO
Why Compromise
http://www.nilfisk-advance.com
HEAD QUARTER
DENMARK
Nilfisk-Advance Group
Sogne ej 25
DK-2605 Brondby
Tel.: (+45) 4323 8100
Fax: (+45) 4343 7700
E-mail: mail.com@nilfisk-advance.com
SALES COMPANIES
ARGENTINA
Nilfisk-Advance srl.
Edificio Central Park
Herrera 1855, Office 604
Part of the Nilfisk-Advance Group
4080-B Sladeview Crescent, Unit 1
Mississauga, Ontario L5L 5Y5
Int. Commercial & Trade Center
Fuitian Free Trade Zone
518038 Shenzhen
Tel.: (+86) 755 8359 7937
Fax: (+86) 755 8359 1063
CZECH REPUBLIC
ALTO Ceska Republika s.r.o.
Do Certous 2658/1
193 00 Praha 9
Tel.: (+420) 24 14 08 419
Fax: (+420) 24 14 08 439
E-mail: info@alto-cz.com
DENMARK
Nilfisk-Advance A/S
Industrivej 1
9560 Hadsund
Tel.: +45 7218 2100
Fax: +45 7218 2105
E-mail: salg.dk@nilfisk-alto.com
Nilfisk-ALTO Food division
Division of Nilfisk-Advance A/S
Blytaekerverj 2
9000 Aalborg
Tel.: +45 7218 2100
Fax: +45 7218 2099
E-mail: food.division @nilfisk-alto.dk
FINLAND
Division of Nilfisk Advance
Division of Nilfisk-Advance BV
Camastraat 9
3322 BB Almere
Tel.: (+31) 36 5460 760
Fax: (+31) 36 5460 761
E-mail: info.nl@nilfisk-alto.com
HONG KONG
Nilfisk-Advance Ltd.
2001 HK Worsted Mills Ind'l Bldg.
31-39 Wo Tong Tsui St.
Kwai Chung
Tel.: (+852) 2427 5951
Fax: (+852) 2487 5828
HUNGARY
Nilfisk-Advance Kereskedelmi Kft.
349, Business Point,
No 201,2nd floor, above Popular Car World,
Western Express Highway, Andheri ( East),
Mumbai - 400 069
Tel: (+91) 22 321 74592
ITALY
Nilfisk-ALTO
Sintra Business Park
Zona Industrial Da Abrunheira
Edificio 1, 1^ A
P2710-089 Sintra
Member of Nilfisk-Advance Group
Aminogatan 18, Box 4029
431 04 Molndal
Tel.: (+46) 317067300
Fax: (+46) 31706 73 40
E-mail: info.se@nilfisk-alto.com
TAIWAN
Nilfisk-Advance Taiwan Branch
No.5, Wan Fang Road
Taipei
Tel.: (+886) 227 002 268
Fax: (+886) 227 840 843
THAILAND
Nilfisk-Advance Co. Ltd.
89 Soi Chokechai-Ruammitr
Viphavadee-Rangsit Road
Ladyao, Jatuchak, Bangkok 10900
Tel.: (+66) 2 275 5630
Fax: (+66) 2 691 4079
TURKEY
Nilfisk-Advance Professional Temizlik
14600 21st Avenue North
Plymouth, MN 55447-3408
Nilfisk-Advance Representative Office
No.51 Doc Ngu Str.
Ba Dinh Dist.
Hanoi
Tel.: (+84) 47615642
Fax: (+84) 47615643
E-mail: nilfisk@vnn.vn
ManualGo.com