300 - Garden tools GARDENA - Free user manual and instructions
Find the device manual for free 300 GARDENA in PDF.
Download the instructions for your Garden tools in PDF format for free! Find your manual 300 - GARDENA and take your electronic device back in hand. On this page are published all the documents necessary for the use of your device. 300 by GARDENA.
USER MANUAL 300 GARDENA
GB Operating Instructions
Cylinder Lawnmower
F Mode d'emploi
Tondeuse helicoidale
Welcome to the Garden of GARDENA...

Translation of the original instructions from German.
Please read these operating instructions carefully and observe the notes given. Use these instructions to familiarise yourself with the cylinder lawnmower, its correct use and the notes on safety.

For safety reasons, children under the age of 16 as well as persons not familiar with these operating instructions should not use this cylinder lawnmower.
Contents
Please keep these operating instructions in a safe place.
- Where to Use Your GARDENA Cylinder Lawnmower 8
- For Your Safety 8
- Assembly 9
- Operation 9
5.Putting into Storage 10
6.Maintenance 10 - Troubleshooting 10
- Accessories 12
- Technical Data 12
- Service 12
1. Where to Use Your GARDENA Cylinder Lawnmower
Correct use:
The GARDENA Cylinder Lawnmower has been designed for cutting lawn and grass areas of private houses.
Compliance with these instructions provided by GARDENA is a prerequisite for using the cylinder lawnmower correctly.
Please note

The cylinder lawnmower may not be used for cutting climbing plants or grass on roofs, due to the danger of bodily harm.
2. For Your Safety
Checks before each operation:
Before use, an inspection is always to be performed In order to determine that all nuts, bolts and working tools are not worn down or damaged. Worn down or damaged blades are to be replaced in sets.
Inspect the surface on which the lawn mower is to be used be-forehand. Stones, pieces of wood and wires as well as other solid matter are to be removed.
Objects, which are contacted by the cutting tools, could be thrown out uncontrollably.
Proper use / Responsibility

WARNING!
Take note that the rotating blade cylinder could cause injuries.
Never place your hands or feet on or under moving parts.
Do not use the lawnmower while people, especially children, or animals are nearby. The operator is liable for damages.
The safety distance between the blade cylinder and the operator that is created by the guiding spar is to be always maintained.
When mowing embankments and slopes, special care must be taken:
Make sure you always keep a safe distance and wear shoes with a non-slip sole.
Always cut diagonally to the slope.
Take special care when moving backwards and when pulling the lawn mower. Danger of stumbling!
If the cutting tools or the lawnmower run into an obstruction and/or solid objects, the lawn mower should be properly and thoroughly inspected.
Only work when visibility is good.
Never leave the lawnmower unattended.
If your work is interrupted, store the mower in a safe place.
3. Assembly

- Squeeze lower part of upright ① together gently until it snaps into the pins ⑥
- Push U-shaped retaining washer ⑤ on to the groove on the bolt ⑥
- Screw middle parts of upright ② firmly to lower part of upright ① with 2 wing nuts ③
- Screw upper part of upright ④ to middle parts of upright ② with 2 wing nuts ③.


4. Operation
Mowing correctly:
To produce a well-maintained lawn we recommend cutting the lawn regularly once a week if possible. The lawn becomes thicker if cut frequently.
Relatively long cut grass (>1cm) must be removed so that the lawn does not become yellow and matted.
After relatively long intervals between mowing (e.g. holiday), first of all cut in one direction with the cutting height as high as possible (42 mm), then cut in the crosswise direction at the cutting height required. The blades of grass should not be more than 12 cm long if they are to be cut with a cylinder mower.
If possible only cut the grass when it is dry. If the grass is damp, the cutting pattern will be uneven.
Adjusting the cutting height:

The cutting height can be set to any position between 12mm and 42mm .
- Stand behind the cylinder mower with one foot on the roller ⑤.
- Release the two locking screws ⑥ and adjust to the correct height in the inspection window ⑦ .
- Tighten the two locking screws ⑥ on both sides to the same height.
The locking screws ⑥ must always be set to the same height on both sides.
The mower may only be adjusted to a depth in which the lower blade does not touch the ground when it is uneven.
5. Putting into Storage
Storage:
Clean cylinder mower before storage (see 5. Maintenance) and store in a dry place.
To save space the cylinder mower can be collapsed by opening up the clamping nuts.
6. Maintenance
Cleaning the mower:

DANGER! Cutting mechanism can cause injuries!
Wear suitable work gloves when undertaking maintenance.
WARNING! Damage to cylinder lawnmower.
Never clean your cylinder lawnmower with running water, in particular with water under high pressure.
Always keep the lawnmower clean and remove grass deposits. Deposits affect the cutting result as well as discharge of grass clippings. Residual dirt and grass is easily removed immediately after mowing.
- Remove grass deposits with a brush and a cloth.
- Oil the red cutting mechanism lightly with thin oil (e.g. sprayed oil).
7. Troubleshooting

DANGER! Cutting tool can cause injuries!
Wear suitable work gloves when rectifying faults.
| Fault | Possible Cause | Rectification |
| Abnormal Noises | Screws / components loose. | → Tighten screws. |
| Foreign bodies on the blade. | → Remove foreign bodies. | |
| Notch in the blade. | → Remove notches with grindstone. | |
| Blades are striking each other too hard. | → Adjust cutting mechanism. | |
| Lawn is not cleanly cut | Blade adjustment incorrect. | → Adjust cutting mechanism. |
| Blade blunt. | → Regrind or replace blade. | |
| Grass too long (e.g. after a relatively long absence). | → Cut lawn shorter with a sickle. |
Adjusting the cutting mechanism:


The cutting gear of your lawn mower was optimally adjusted before leaving our company. If, after longer use, a clean cut of the grass is no longer possible or the blade roller contacts the lower blade, then the lower blade should be adjusted as follows:
- Unhook upright and clean cylinder mower.
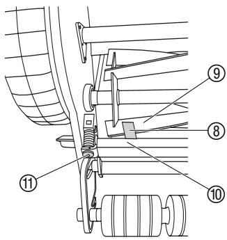
- Check cylinder ⑨ and lower blade ⑩ for notches and remove these with a grindstone if necessary.
- Unscrew internal hexagon screws with an internal hexagon wrench (5 mm) anticlockwise until the cylinder ⑩ turns freely.
- Push the feeler gauge supplied (thin strip of metal) ⑧ between one blade ⑨ on the cylinder and the lower blade ⑩.
- Tighten left internal hexagon screw ① with an internal hexagon wrench (5 mm) until the feeler gauge ⑧ is held gently.
- Continue turning the cylinder until the blade ⑨ , already adjusted on the left side, is exactly above the lower blade ⑩ on the right side.
- Tighten the right internal hexagon screw ① with an internal hexagon wrench (5 mm) until the feeler gauge ⑧ is held gently.
- Rotate cylinder ⑨. If a banging noise is produced during this, open up the internal hexagon screw ⑪ slightly on the side affected. When the cylinder and the lower blade can hardly be heard touching each other, the cutting mechanism has been adjusted correctly.
- Cutting test: Place a strip of paper ② in such a way on the lower blade ⑩ that it points towards the spindle of the cylinder ⑨.
- Turn cylinder ⑨ carefully. If the lower blade is set correctly ⑩ the paper will be cut off as if with scissors.
- Repeat the cutting test on the other blades ⑨.
Please contact GARDENA Service if it is necessary to replace the cutting tool, which will only become blunt after several years use if well-maintained. Repairs to the cylinder mower and the installation of the blades can be undertaken by suitable specialist workshops.
Have the cylinder mower checked over in the autumn if possible so that it is ready for use immediately when the next lawn-mowing season starts.
If you have any problem with your cylinder mower, please contact our Customer Service.
8. Accessories
GARDENA Grass collecting bag
Saves raking up the cut grass.
Art. No. 4029
9. Technical Data
| 300 (Art. No. 4020) | 380 (Art. No. 4023) | |
| Cutting width / Cutting height | 30 cm / 12 - 42 mm | 38 cm / 12 - 42 mm |
| Cutting height adjustment | infinitely variable | infinitely variable |
| Weight | 8.0 kg | 8.5 kg |
10. Warranty
GARDENA guarantees this product for 2 years (starting from the date of purchase). This guarantee covers all serious defects of the unit that can be proved to be material or manufacturing faults. Under warranty we will either replace the unit or repair it free of charge if the following conditions apply:
- The unit must have been handled properly and in keeping with the requirements of the operating instructions.
- Neither the purchaser or a non-authorised third party have attempted to repair the unit.
The wearing parts blade cylinder (complete) and lower blade are excluded from the warranty.
This manufacturer's guarantee does not affect the user's existing warranty claims against the dealer/seller.
If a fault occurs with your Cylinder Lawn Mower, please return the faulty unit together with a copy of the receipt and a description of the fault, with postage paid to one of the GARDENA Service Centres listed on the back of these operating instructions.
| DProduktlaufzeit | Wir weisen ausdrücklich darauf auf hin, dass wir nach dem Produkttaftungs- gesetz nicht für durch unsere Geräte hervorgerufene Schäden einzu- stehen haben, sofern diese durch unsachgemäße Reparatur verursacht oder bei einem Teileaustausch nicht unsere Original GARDENA Teile oder von uns freiugegebene Teile verwendet werden und die Reparatur nicht vom GARDENA Service oder dem autorisierten Fachmann durchgeführt wird. Entsprechendes gilt für Ergänzungsteile und Zubehör. |
| G3Product Liability | We expressly point out that, in accordance with the product liability law, we are not liable for any damage caused by our units if it is due to im- proper repair or if parts exchanged are not original GARDENA parts or parts approved by us, and, if the repairs were not carried out by a GARDENA Service Centre or an authorised specialist. The same applies to spare parts and accessories. |
| FResponsibilité | Nous vous signalons expressément que GARDENA n'est pas respons- sable des dommages causés par ses appareils, dans la mesure où ces dommages seraient causés suite à une réparation non conforme, dans la mesure où, lors d'un échange de pieces, les pieces d'origine GARDENA n'aurait pas été utilisées, ou si la réparation n'a pas été effectué par le ServiceAprès-Vente GARDENA ou l'un des Centres SAV agrées GARDENA. Ceci est également valable pour tout ajout de pieces et d'ac- cessoires autres que ceux préconsés par GARDENA. |
| NLProductaansprakelijkheid | Wij wijzen er nadruukelijk op, dat wij op grond van de wet aansprakelijk- heid voor producten Niet aansprakelijk+zijn voor schade ontstaan door once apparaten, indien deze door onvakkundige reparatie veoroorzaakt,zijn, of er bij het uitwisselen van onderdelen geen gebruik gemaaakterd ward van once originèle GARDENA onderdelen of door ons vrijgeveen onderdelen en de reparatie net door de GARDENA technische Dienst of de bevoegtde vak- man uitgevoerd werk. Ditzelfde geldt voor extra-onderdelen en accessoires. |
| SProduktansvar | Tillverkaren ar inte ansvarig für skada som orsakats av Produkten om skadan beror på att produit har reparerats felaktigt eller om, vid repa- ration aller utbyte, andra øan Original GARDENA reservdeler har anvænts. Samma sak gäller for kompletteringsdeler och tillbehör. |
| IResponsibilitàdel prodotto | Si rende espessamente noto che, conformmente alla législazione sulla responsabilità del prodotto, non si risponde di danni causati da nostri arti- coli se originati da riparazioni eseguite non correttamente o da sostituzioni di parti effettuate con materiale non originale GARDENA o comunque da noi non approvato e, in agli caso, qualora l'intervento non venga eseguito da un centro assistenza GARDENA o da personale specializzato autoriz- zato. Lo stesso vale per le parti complementari e gli accessori. |
| EResponsibilitadede products | Advertimos que conforme a la ley de responsabilitad de produits no nos responsabilizamos de daños causados por nuestros aparatos, sempre y cuando dichos daños hayan sido originados por arreglos o reparaciones indebidas, por recambios con piezas que no Sean piezas originales GARDENA o bien piezas autorizadas por nosotros, asi como en aquellos casos en que la reparación no haya sido efectuada por un Servicio Téc- nico GARDENA o por un técnico autorizzato. Lo"Myso es aplicable para las piezas complementarias y accesorios. |
| PResponsibilitadedeuble o dato | Queremos salientar que segundo a lei da responsabilitadde fabricante,;nós não nos responsabilitzarempos por danos causados pello/DDso equipa- mento, quando these ocorram em decorrendência de reparações inadequadas ou da substituição de peças por peças não originais da GARDENA, ou pe-ças não autorizadas. A responsabilitadtodornar-se-à nula también depos de reparações realizadas por oficinas não autorizadas pela GARDENA.Esta restrizione valorá tambem para peças adiconuides e acessórios. |
| DKProduktansvar | Vi gør udtrykkeiligt opmærksom på at i henhold til produktansversloven er viiske ansvarlige for skader forårsaget af vores udstyr, hvist det skyldes uautoriserede reparationser ullhvis dele der skifteet ud og der ikke er an- vendtd originale GARDENA dele ulle degekndt af os, eller his repara- tionnerne ici er udført af GARDENA-service ellern autoriseret fagmand. Det samme gælder for ekstra udstdyr og tilbehör. |
Husqvarna Australia Pty. Ltd.
Locked Bag 18
Gosford NSW 2250
Phone: (+61) (0) 24372 1500
customer.service@
husqvarna.com.au
Austria/Österreich
Husqvarna Austria GmbH
Consumer Products
Industriezeile 36
4010 Linz
Tel.: (+43) 732 77 01 01 - 90
consumer.service@
husqvarna.at
Belgium
GARDENA Belgium NV/SA
BvI. "AHDpei JIaHue" N° 72
Te.n.: (+359) 28099424
www.husqvarna.bg
Canada
GARDENA Canada Ltd.
100 Summerlea Road
Brampton, Ontario L6T 4X3
Phone: (+1) 905 792 93 30
info@gardenacadana.com
Chile
Antonio Martinic y Cia Ltda.
Cassillas 272
Centro de Cassillas
Santiago de Chile
Phone: (+56) 2 20 10 708
garfar_cl@yahoo.com
Costa Rica
Compania Exim
Euroiberoamericana S.A.
LosColegios,Moravia,
Husqvarna Consumer Outdoor
Products
Consumer Outdoor Products
Consumer Outdoor Products
Lautatarhankatu 8 B/PL 3
00581 HELSINKI
info@gardena.fi
France
GARDENA France
Immeuble Exposial
Aycliffe Industrial Park
Newton Aycliffe
County Durham
DL56UP
info.gardena@
husqvarna.co.uk
Greece
HUSQVARNA GREECE S.A.
Branch of Koropi
Ifestou 33A
Industrial Area Koropi
194 00 Athens - Greece
V.A.T. EL094094640
Phone: (+30) 210 6620225
info@husqvarna-consumer.gr
Hungary
Husqvarna
Magyarország Kft.
Ezred u. 1-3
1044 Budapest
Phone: (+36) 80204033
gardena@gardena.hu
Iceland
O. Johnson & Kaaber
Tunguhalsi 1
110 Revkjavik
ooj@ojk.is
Ireland
Michael McLoughlin & Sons
Hardware Limited
Long Mile Road
Dublin 12
Italy
Phone: (+39) 02.93.94.79.1
info@gardenaita
Japan
KAKUICHI Co. Ltd.
Sumitomo Realty &
Development Kojimachi
BLDG., 8F, 5-1 Nibanncyo,
Chiyoda-ku, Tokyo 102-0084
Phone: (+81) 33 264 4
m_ishihara@kaku-ichi.co.jp
Latvia
SIA „Husqvarna Latvija"
Consumer Outdoor Products
Bakuzu iela 6, Riga, LV-1024
info@husqvarna.lv
Lithuania
UAB Husqvarna Lietuva
Consumer Outdoor Products
Ateities pl. 77C
LT-52104 Kaunas
centras@husqvarna.lt
Luxembourg
Magasins Jules Neuberg
Husqvarna New Zealand Ltd.
PO Box 76437
Manukau City 2241
Phone: (+64) (09) 9202410
Norway
GARDENA
Husqvarna Consumer Outdoor
Products
Salqskontor Norge
Kleverveien 6
1540 Vestby
info@gardena.no
Poland
Husqvarna Poland Spóltka z o.o.
Sintra Business Park
02-08 Tat Ann Building
Singapore 577185
Phone: (+65) 6253 2277
shiying@hyray.com.sg
Slovak Republic
GARDENA spel. s r.o.
Turanka 115
627 00 Brno
Phone: (+420) 548 217 777
Husqvarna Consumer Outdoor
Products
ManualGo.com