PG90 - Gas stove ROSIERES - Free user manual and instructions
Find the device manual for free PG90 ROSIERES in PDF.
User questions about PG90 ROSIERES
0 question about this device. Answer the ones you know or ask your own.
Ask a new question about this device
Download the instructions for your Gas stove in PDF format for free! Find your manual PG90 - ROSIERES and take your electronic device back in hand. On this page are published all the documents necessary for the use of your device. PG90 by ROSIERES.
USER MANUAL PG90 ROSIERES
INSTRUCTIONS BOOKLET GB
NOTICE D'EMPLOI ET ENTRETIEN FR
mod.
ENVIRONMENT PROTECTION
Packing disposal

Sort packing into different materials (cardboard, polystyrene etc.) and dispose of them in accordance with local waste disposal laws.
This appliance complies with the following European Directives:
- 2006/95/EEC regarding "Low Voltage".
- 2004/108/EEC regarding "Electromagnetic Disturbances".
- 90/396/EEC regarding "Gas appliances"
- 89/109/EEC regarding "Materials in contact with food"
- Moreover the above mentioned Directives comply with Directive 93/68/EEC.
This appliance must be installed in accordance with the regulations in force and must only be used in well ventilated rooms. Consult the instructions booklet before installing and using the appliance.
- This household appliance has been designed for cooking and it must therefore be used for this purpose only.
This appliance is marked according to the European directive 2002/96/EC on Waste Electrical and Electronic Equipment (WEEE). By ensuring this product is disposed of correctly, you will help prevent potential negative consequences for the environment and human health, which could otherwise be caused by inappropriate waste handling of this product.

The symbol on the product, or on the documents accompanying the product, indicates that this appliance may not be treated as household waste. Instead it shall be handed over to the applicable collection point for the recycling of electrical and electronic equipment. Disposal must be carried out in accordance with local environmental regulations for waste disposal. For more detailed information about treatment, recovery and recycling of this product, please contact your local city office, your household waste disposal service or the shop where you purchased the product.
DEAR CUSTOMER,
- Carefully read these instructions before using the appliance and keep them for future consultation.
- Keep potentially hazardous packaging (plastic bags, polystyrene etc.) out of the reach of children.
CUSTOMER ASSISTANCE SERVICE
If you cannot identify the cause of the operating anomaly, switch off the appliance (do not subject it to rought treatment) and contact the Assistance Service.
PRODUCT SERIAL NUMBER. Where can i find it? It is important you to inform the Assistance Service of your product code and its serial number; this can be found on the guarantee certificate or on the data plate located on the appliance (fig. A ). It will help to avoid wasted journeyes to technicians, thereby (and most significantly) saving the corresponding callout charges.
GB
RECCOMANDATIONS AND PRECAUTIONS
ATTENTION:
The use of a gas cooking appliance results in the production of heat and moisture in the room in which it is installed. Ensure that the kitchen is well ventilated: keep natural ventilation holes open or install a mechanical ventilation device (mechanical extractor hood). Prolonged intensive use of the appliance may call for additional ventilation, for example opening of a window, or more effective ventilation, for example increasing the level of mechanical ventilation where present.
Prior to installation, ensure that the local distribution conditions (nature of the gas and gas pressure) and the adjustment of the appliance are compatible.
- Before using the appliance, do not forget to remove the plastic films protecting some parts of the appliance (facia-panel, parts in stainless steel, etc.)
- Do not use the appliance as a space heater.
- When the appliance is not in use, we recommend to disconnect the current and to close the gas general tap.
IN CASE OF FIRE:
- In case of fire, close immediately the main valve of the gas pipe line, disconnect current and never pour water on firing oil in any case.
- Do not store flammable products or aerosol containers near the burners, and do not vaporize them near lighted burners.
FOR YOUR SAFETY AND THE ONE OF YOUR CHILDREN.
- Do not store items that are attractive to children above or near the appliance.
- Keep children well away from the appliance: do not forget that some parts of the appliance or of the pans become very hot and dangerous during use, and also for all the time necessary to cool down.
- In order to avoid any unintentional fall down, pan handles should be turned to the back of the cooker, not out to the room or over adjacent burners.
- When cooking, do not use clothes with large flaving and flammable sleeves; in case of firing you can suffer very serious harms.
The appliance must not be used by people (including children) with limited physical, sensory or mental abilities, or without experience or expertise, unless they have received instructions for using it from those responsible for their safety. Young children should be supervised to ensure they not play with the appliance.
WARNING-OVEN:
When the oven or the grill are in use, accessible parts can become very hot; it is necessary to keep children well away from the appliance.
- Never cook food on the lower wall of the oven.
- In case of careless use, in proximity of the oven door hinges, there is hurt danger.
- Do not let children sit down or play with the oven door. Do not use the drop down door as a stool to reach above cabinets.
LOWER DRAWER (Fig. A).
You must not place inflammable materials or plastic utensils in the warming cabinet (placed below the oven).

WORK-TOP USE
USING GAS BURNERS
The following symbols are on the control panel next to each knob:
- Black circle
gas off
- Large flame
maximum setting
- Small flame
minimum setting
The minimum position is at the end of the anti-clockwise rotation of the knob. All operation positions must be chosen between the positions of max. and min., never choose them between max. and off.
The gas burners are equipped with a thermocouple safety device to prevent gas from leaking out. This device ensures that the gas supply is shut off if the flame on the gas burner is extinguished while the burner is in use.
Igniting the gas burners
Proceed as follows to light one of the burners
- Turn the appropriate knob anti-clockwise to the large flame symbol;
- Press in the knob firmly to activate the automatic gas igniter ;
- Hold the knob in for around 10 seconds once the flame has ignited to allow the thermocouple to heat up.
- Then release the control knob and ensure that the gas has ignited properly. If it has not, repeat the process. In case there is no electric current, the burner can also be lighted using a match.
ENERGY SAVING TIPS
- The diameter of the pan bottom should be the same as that of the burner. The burner flame must never come out from the pans diameter.
- Use flat-bottomed pans only.
- Whenever possible, keep a lid on the pan while cooking. You will not need as much heat.
- Cook vegetables, potatoes, etc. with as little water as possible to reduce cooking times.

| BURNERS | PANS | |
| Ø min. | Ø max | |
| RAPIDE | 180 mm | 220 mm |
| SEMIRAPIDE | 120 mm | 200 mm |
| AUXILIARY | 80 mm | 160 mm |
| TRIPLE CROWN | 220 mm | 260 mm |
USE OF THE ELECTRIC OVEN
The first time the oven is used, it may give off acrid smells, caused by the first heating of isolating panels glue surrounding the oven (it is necessary to heat up the oven at the maximum temperature for about 30-40 minutes with closed door).
It is something normal, and in case it will occur, wait for the smoke to stop before introducing the food into the oven.
The oven is fitted with: a rod shelf for cooking food contained in oven dishes or placed directly on the rod shelf itself, a drip-tray for cooking sweets, biscuits, pizzas, etc., or for collecting juices and fats from food cooked directly on the rod shelf.
Note: The following tables give the main points for cooking some of the most important dishes. The cooking times recommended in these tables are approximate. After a few tries, we are sure that you will be able to adjust the times to get the results you want.
Conventional cooking table TAB.B
| Dish | Temp. °C. | Minutes |
| Fish | 180-240 | acc. to size |
| Meat | ||
| Roast ox | 250 | 30 per kg. |
| Roast veal | 200-220 | 30 per kg. |
| Chicken | 200-240 | 50 about |
| Duck and goose | 220 | acc. to weight |
| Leg of mutton | 250 | 30 per kg. |
| Roast pork | 250 | 60 per kg. |
| Soufflets | 200 | 60 per kg. |
| Sweets (pastries) | ||
| Tea-cake | 160 | 50-60 |
| Sponge finger | 160 | 30-50 |
| Shortcrust pastry | 200 | 15 |
| Puff pastry | 250 | 15 |
| Fruit flan | 200-220 | 30 |
| Meringues | 100 | 60 |
| Quiches, etc. | 220 | 30 |
| 4 quarters | 120-140 | 60 |
| Buns | 160-180 | 45 |
Fan oven cooking table TAB.C.
| Dish | Temp. °C. | Minutes | Weight kg. |
| Firs courses | |||
| Lasagne | 200-220 | 20-25 | 0,5 |
| Oven pasta | 200-220 | 25-30 | 0,5 |
| Creole rice | 200-230 | 20-25 | 0,5 |
| Pizza | 210-230 | 30-45 | 0,5 |
| Meat | |||
| Roast veal | 160-180 | 65-90 | 1-1,2 |
| Roast pork | 160-170 | 70-100 | 1-1,2 |
| Roast ox | 170-190 | 40-60 | 1-1,2 |
| Roast beef joint | 170-180 | 65-90 | 1-1,2 |
| Roast fillet beef (rare) | 180-190 | 40-45 | 1-1,5 |
| Roast lamb | 140-160 | 100-130 | 1,5 |
| Roast chicken | 180 | 70-90 | 1-1,2 |
| Roast duck | 170-180 | 100-160 | 1,5-2 |
| Roast goose | 160-180 | 120-160 | 3-3,5 |
| Roast turkey | 160-170 | 160-240 | 5 approx. |
| Roast rabbit | 160-170 | 80-100 | 2 approx. |
| Roast hare | 170-180 | 30-50 | 2 approx. |
| Fish | 160-180 | acc. to weight | |
| Sweets (pastries) | |||
| Fruit flan | 180-200 | 40-50 | |
| Plain sandwich cake | 160-180 | 35-45 | |
| Sponge sandwich cake | 200-220 | 40-45 | |
| Sponge cake | 200-230 | 25-35 | |
| Currant cake | 230-250 | 30-40 | |
| Buns | 170-180 | 40-60 | |
| Strûdel | 160 | 25-35 | |
| Cream slices | 180-200 | 20-30 | |
| Apple fritters | 180-200 | 18-25 | |
| Sponge finger pudding | 170-180 | 30-40 | |
| Sponge finder biscuits | 150-180 | 50-60 | |
| Toasted sandwiches | 230-250 | 7 | |
| Bread | 200-220 | 40 |
MULTIFUNCTIONAL OVEN
The oven is fitted with:
- a lower heating element;
- an upper heating element;
- a circular heating element surrounding the fan.
N.B.: Always set the temperature on the thermostat knob before selecting any of the functions.
Oven thermostat knob
To obtain an oven temperature between 60^ and MAX^ , turn the knob clockwise.

Oven commutator knob
Depending on the type of oven, it is possible to select one of the following functions turning the commutator knob clockwise.

Note:
All the functions mentioned above switch the oven internal light on. A warning light on the control panel will stay lit until the temperature is reached; after it will light up intermittently.
Always use the oven with the oven door closed
Use of the oven
Note: ovens with separate thermostat and commutator.
When the functions are used, place the thermostat knob between 180÷ 200^ as maximum temperature.
ATTENTION:
The temperature shown on the control panel corresponds to the temperature in the oven centre only when the functions selected are


When you turn the control knob to this position, the light will be on for all the following operations.

Defrosting with fan
The air at ambient temperature is distributed inside the oven for defrosting food very quickly and without proteins adulterations.

Natural convection
Both the lower and upper heating elements operate together.
This is the traditional cooking, very good for roasting joints, ideal for biscuits, baked apples and crisping food.
You obtain very good results when cooking on a shelf adjusting the temperature between 60 and MAX°C.

Fan oven
Both the fan and the circular heating element operate together.
The hot air adjustable between 60 and MAX°C is evenly distributed inside the oven. This is ideal for cooking several types of food (meat, fish) at the same time without affecting taste and smell.
It is indicated for delicate pastries.

Medium grill
It is indicated for grilling and gratinating small quantities of traditional food.
The thermostat knob must be placed on the maximum position.

Total grill
It is indicated for grilling and gratinating traditional food. Turn the thermostat control knob to the 200^ position.

Fan assisted total grill
The air which is heated by the grill heating element is circulated by the fan which distributes the heat on the food.
The fan assisted grill replaces perfectly the turnspit. You can obtain very good results also with large quantities of poultry, sausage, red meat. Turn the thermostat control knob to the 200^ position.

Air forced lower heating element
The air which is heated by the lower heating element is circulated by the fan which distributes the heat on the food.
This function can be used to sterilize food. This function can be used between 60 and MAX°C
USE OF THE GRILL

Install the grid on the third shelf from the oven bottom, at about 12 cm from the surface.
The user can change the shelves, depending on his personal whishes and on the different food.
Geat the oven 5 minutes before introducing the food.
CAUTION: accessible parts may be hot when the grill is in use.
Young children should be kept away.
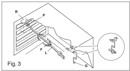
USE OF THE TURNSPIT
TURNSPIT
For utilization of the turnspit follow the instructions described.
- Put the food in spit L (see fig. 3), paying attention to block it within the two forks F and to balance it, in order to avoid any unnecessary effort in motor R.
- Put the spit on support G, after having put its opposite end into hole P of motor R.
- Place the drip-tray with a little water under the spit.
- when removing the spit, wear oven mitts.
The turnspit can be operated turning the knob on position E-3.

\section*{ warnings:}
do not use the wire shelves on the oven levels equipped with the telescopic runners
Do not cook foods on the bottom in the base of the oven.
| Oven accessories optional | |
| A A = wire shelves | B B = Grill pan set (2) |
INSTRUCTIONS FOR USE OF CONTROL DEVICES
"LED" PROGRAMMER (Fig. 4)
Features
24 hours clock with automatic programme and minutes counter.
Functions
Cooking time, cooking end time, manual position, clock, minutes counter, times to be set up to 23 hours 59 minutes.
Display
4-figures, 7-segments display for cooking times and time of day.
Cooking time and manual function = saucepan symbol
Automatic function
AUTO
Minutes counter
= bell symbol
The symbols light up when the corresponding functions are selected.

Fig. 4
| Minute timer | |
| TIMER | Cooking time |
| END | Cooking end |
| Manual | |
| √ | Subtract time |
| ^ | Add time |
Setting
To set, press and release the desired function, and within 5 seconds set the time with and buttons.
and buttons.
The + and - buttons increase or decrease the time at a speed depending on how long the button is pressed.
Setting the time
Press any two buttons manualat the same time, and or button to set the desired time. This deletes any previously set programme. The contacts are switched off.
Manual use
By pressing the manual button the relay contacts switch on, the AUTO symbol switches off and the saucepan symbol lights up.
Manual operation can only be enabled after the automatic programme is over or it has been cancelled.
Automatic use
Press the cooking time or end time button to switch automatically from the manual to the automatic function.
Semi-automatic use with cooking time setting
Press the cooking time button and set the desired time with or . The AUTO and cooking time symbols light up continuously. The relay switches on immediately. When the cooking end time corresponds to the time of day, the relay and cooking time symbol switch off, the sound signal rings and the AUTO symbol flashes.
Semi-automatic use with end time setting
Press the end time button. The time of day appears on the display. Set the cooking end time with button. The AUTO and cooking time symbols light up continuously. The relay contacts switch on. When the cooking end time corresponds to the time of day, the relay and the cooking time symbol switch off. When the cooking time is up, the AUTO symbol flashes, the sound signal rings and both the relay and the cooking time button switch off.
Automatic use with cooking time and end time setting
Press the cooking time button and select the length of the cooking time with or button. The AUTO and cooking time symbols light up continuously. The relay switches on. By pressing the cooking end time button the next cooking end time appears on the display. Set the cooking end time with button. The relay and the cooking time symbol switch off.
The symbol lights up again when the time of day corresponds to the cooking start time. When the cooking time is up, the AUTO symbol flashes, the sound signal rings, the cooking time symbol and the relay switch off.
Minutes counter
Press the minutes counter button and set the cooking time with or button.
The bell symbol lights up when the minutes counter is operating
When the set time is up, the sound signal rings and the bell symbol switches off.
Sound signal
The sound signal starts at the end of a programme or of the minutes counter function and it lasts for 15 minutes.
To stop it, push any one of the functions buttons.
Start programme and check
The programme starts 4 seconds after it has been set.
The programme can be checked at any time by pressing the corresponding button.
Setting error
A setting error is made if the time of day on the clock falls within the cooking start and end times.
To correct the setting error, change the cooking time or cooking end time.
The relays switch off when a setting error is made.
Cancelling a setting
To cancel a setting, press the cooking time button and then press the - button until 00 00 appears on the display.
A set programme will automatically cancel on completion.
CARE AND MAINTENANCE
Before cleaning the appliance, disconnect the gas general tap and unplug the appliance or disconnect power at the main circuit breaker of the electrical system.
Do not clean the appliance surfaces when still hot.
Do not use steam cleaners to clean the oven.
IMPORTANT
Periodically check the external gas connection hole and replace it when it shows any sign of deterioration. Do not attempt to repair the gas hose under any circumstances.
ENAMELLED SURFACES
Clean with a damp sponge using soap and water.
Grease can be easily removed using hot water or a specific cleansing agent for enamelled surfaces. Do not use abrasive cleansers.
Do not leave any acid or alkaline substances (lemon juice, vinegar, salt, etc.) on the enamel.
Clean the parts in stainless steel with specific cleansers for stainless steel surfaces.
These detergents must be applied using a soft cloth.
GRIDS AND BURNERS
To clean the work-top burners, remove them by pulling upwards and soak them for about 10 minutes in hot water with a little detergent.
After having cleaned and washed them, wipe them carefully.
Make sure that no burner hole is clogged.
Clean the burners once a week or more frequently if necessary. MAKE SURE YOU HAVE ASSEMBLED THE BURNERS IN A RIGHT WAY.
OVEN
Clean the enamelled parts with a damp sponge using soap and water. Grease can be easily removed using hot water or a specific cleansing agent for enamelled surfaces.
Do not use abrasive cleansers.
The interior glass of the oven
The interior glass of the oven door can be removed:
with the door in a semi-open position, remove the screws A and B and the profime C as shown in fig. 9
Use both hands to remove the glass as shown in figures 9A.
After cleaning, refit the glass by proceeding in reverse order.


Removal of oven door
In-depth cleaning of the oven becomes more convenient if the door is removed following the instructions below:
1 open the oven door completely.
2 flip the hinge hooks "A" outwards (see fig. 9B).
3 shut the oven door slowly until it reaches hooks "A", making sure these are locked into slots "B" of the oven door, as shown in fig. 9C. Remove the glass Fig. 9A (only for models where present).
4 Using both hands, push the oven door lightly inwards, toenable the door hinges "C" to come away from the slots "D" (see fig. 9D) and pull the door towards you until it is released from the oven. After cleaning it, reposition it correctly following the abovesteps in the reverse order and flipping hooks "A" inwards before you shut the oven door (fig. 9E).




CAUTION:
Do not use rough or abrasive materials or sharp metal scrapers to clean the glass doors of the oven since they may scratch the surface and cause the glass to break.
INSTRUCTIONS DESTINED TO THE USER
OVERALL DIMENSIONS

WARNING
Do not use the oven door handle to move the appliance, such as to remove it from the packaging.
The appliance is in class 1 or class 2 subclass 1.
IMPORTANT: The coating of the furniture must be able to withstand high temperatures (min. 90^ ).
CAUTION: The cooker must not be placed on a pedestal.
If the appliance is to be installed near units, leave the minimum gaps specified in the table below.

The cooker is fitted with 4 legs for an eventual alignment in height with the furniture. To assemble them, it is necessary to raise the cooker and to screw the four legs into the suitable threadings placed on the corners on the bottom of the appliance ( fig 8).

GAS CONNECTING
The gas and electricity connections and any adjustments must be made by specialised staff.
This appliance shall be installed in accordance with the regulations in force and only in a well-ventilated space. Read the instructions before installing or using this appliance.
IMPORTANT
We recommend to check wether the appliance has been foreseen for the kind of gas distributed. Conversion for use other gases must only be undertaken by a qualified person. For information for use on other gases contact your local Service Centre. The cooker must be installed by a qualified person, conforming to local regulations. Failure to install the appliance correctly could invalidate any manufacturers warranty and lead to prosecution under the above quoted regulations.
Provision for Ventilation
The room containing the cooker should have an air supply in accordance with local regulations.
Remember that the quantity of air necessary for combustion must never be less than 2m3 / h for each kW of power (see total power in kW on the appliance data plate see fig. A ).
Gas Safety (Installation & Use) Regulations
It is the law that all gas appliances are installed by competent persons in accordance with the current edition of the Installation & Use Regulations. It is in your interest and that of safety to ensure compliance with the law.
For UK:
This appliance must be installed by a qualified electrician / competent person gas safe register. Safety may be impaired if installation is not carried out in accordance with these instructions.
The appliance must be installed in accordance with All relevant British Standards (latest editions).
Gas Connection
Prior to installation, ensure that the local distribution conditions (nature of the gas and gas pressure) and the adjustment conditions are compatible. The adjustment conditions for this appliance are stated on the rating plate which can be found on the back cover. This appliance is not designed to be connected to a combustion products evacuation device. Particular attention should be given to the relevant requirements regarding ventilation. Connection to the cooker should be made with connection in accordance with local regulations.
WARNING: connect the gas to the oven's gas supply line using the supplied connector (A) (see figure 12)

In order to guarantee that the cooker works safely and has a moderate energy consumption and long service life, you must ensure that the supply pressure corresponds to the values given in table D.
If this is not the case, a special pressure regulator must be fitted to the gas supply pipe in accordance with the relevant standards. The cooker must be connected to the gas supply pipe such that the cooker is not subjected to any kind of stress.
A special valve for routinely turning the gas supply on/off must be installed between the gas inlet tube to the room and the hob, in order to cut off the gas supply after cooking in the event of accidents during cooking. This valve must be easily accessible at all times, and should be closed during long periods of no use.
The gas tube must be routed in such a way that it is not fed through hot areas and does not come into contact with any hot parts of the appliance, e.g. the underside of the hob. Tube installation must be carried out in such a way as to ensure that it runs freely and that it cannot come into contact with or be bent by any movable parts in the kitchen, e.g. drawers.
ELECTRICAL CONNECTION
This appliance must be installed by a qualified person in accordance with the latest edition of the IEE Regulations and in compliance with the manufacturer instructions.
Ensure that the voltage is the same as that stated on the rating plate. (fig. A ).
WARNING! THIS APPLIANCE MUST BE EARTHED
If an fixed appliance is not equipped with supply cable and plug, the power supply must be fitted with a disconnect switch in which the distance between contacts permits total disconnection in accordance with overvoltage category III, as required by installation regulations.
Be sure that the earth wire green/yellow is not interrupted by the switch
We recommend that the cooker circuit is rated to 13 amps.
Cable type HO5 RRF or HO5 RRF, 3 × 1.5 ~mm^2
Connecting the mains cable (fig. 13).
Open the mains terminal block cover as shown, unscrew screw "A" the cable clamp and unscrew (not fully) the screws in the mains terminal block "L N E" which secure the three wires of the mains cable. Fit the cable and refit screw "A" the cable clamp.
Allow sufficient cable length for the cooker to be pulled out for cleaning, but do not let it hang closer than 50mm ( 2'' ) to the floor. The cable can be looped if necessary, but make sure that it is not kinked or trapped when the cooker is in position.

IMPORTANT
The wires in the mains lead are coloured in accordance with the following code:
GREEN AND YELLOW.....EARTH
BLUE. NEUTRAL
BROWN...LIVE
REPLACEMENT OF THE CABLE (fig. 13).
In case the cable is damaged, replace it in accordance with the following instructions:
- open the box of the supply board as described on the picture below;
- unscrew screw "A" fixing the cable;
- replace the cable with one of the same lenght and in accordance with the features described on the table; switch the appliance off, and close the gas tap
- the 'green-yellow' earth wire must be connected to the terminal \ "⊥" and it must be about 10 mm longer than the live wires;
- the "blue" neutral wire must be connected to the terminal marked with letter "N";
- the live wire must be connected to the terminal marked with letter "L".
CAUTION:
THE APPLIOANCE MUST BE EARTHED. THE YELLOW-GREEN WIRE MUST BE CONNECTED TO THE EARTH. THE MANUFACTURE DECLINES ALL RESPONSABILITY FOR ANY ACCIDENTS CAUSED BY FAILURE TO COMPLY WITH THIS INSTRUCTION.
Conversion to LPG
Always isolate the cooker from the electricity supply, turn off the gas supply temporarily and proceed as follows.
- change the injectors,
- adjust the minimum flow of the burners.
REplacement OF WORK-TOP INJECTORS
In order to change the work-top injectors, it is necessary to act as follows: remove the grids, remove burners and flame-spreaders (see fig. 13 A), change the injector (see fig.13 B) and replace it with another one suitable for the new type of gas (see table D). Re-assemble everything in the opposite direction, paying attention to place the flame-spreader in the right way on the burner.


Fig. 13 A Fig. 13 B
Values referred to Hs - 15^ - 1013,25mbar Cat. II 2H3+
| TAB. DGENERAL INJECTORS TABLE | ||||||||
| Kind of gas mbar | Nozzle N° | Burners | Power KW | Consum | N° Bypass | |||
| max. | min. | max. | min. | |||||
| NATURAL G 20 | 20 | 115 | Rapide | 3,00 | 0,75 | 286 l/h | 72 l/h | reg. |
| 97 | Semi rapide | 1,75 | 0,48 | 167 l/h | 46 l/h | reg. | ||
| 72 | Auxiliary | 1,00 | 0,33 | 95 l/h | 31 l/h | reg. | ||
| 96 | Triple crown | 3,30 | 1,30 | 315 l/h | 124 l/h | reg. | ||
| BUTANE G 30 | 28-30 | 85 | Rapide | 3,00 | 0,75 | 219 g/h | 55 g/h | 42 |
| 65 | Semi rapide | 1,75 | 0,48 | 128 g/h | 35 g/h | 31 | ||
| 50 | Auxiliary | 1,00 | 0,33 | 73 g/h | 24 g/h | 27 | ||
| PROPANE G 31 | 37 | 130 | Triple crown | 3,30 | 1,30 | 241 g/h | 95 g/h | 60 |
MINIMUM FLOW ADJUSTMENT FOR WORK-TOP TAPS
In order to adjust the minimum, act as follows: switch the burner on, and turn the knob towards the minimum flow position 日 . Remove the knob from the tap, introduce a little screwdriver in the tap rod (fig. 14). Attention: in taps with security valve, the minimum adjusting screw "Z" is placed outside the rod tap (fig. 15).
Unscrew the adjusting screw in order to increase the flow or screw it to decrease the flow.
The right adjustment is obtained when the flame has a length of about 3 or 4mm .
For butane/propane gas, the adjusting screw must be tight screwed.
Make sure that the flame does not go out passing quickly from the max. flow to the minimum flow.
Assemble the knob again.
APPLIANCE MAINTENANCE
WARNING
Isolate the cooker from the electricity supply before attempting to replace the oven lamp.
The oven lamp used is of a special type withstanding high temperatures.
To replace it, act as follows: disassemble the protecting glass (A) and replace the burnt lamp with one of the same type. Reassemble the protecting glass.

GAS TAP LUBRICATION
If the hob's gas control knobs become stiff over time, they should be lubricated with an appropriate lubricant. This must be carried out by a Technical Service only.
For your safety
The product should only be used for its intended purpose which is for the cooking of domestic foodstuffs.
Under no circumstances should any external covers be removed for servicing or maintenance except by suitably qualified personnel.
Do's and Do Not's
Do make sure you understand the controls before using the cooker.
Do check that all controls on the cooker are turned off after use.
Do always stand back when opening an oven door to allow heat to disperse.
Do always use dry, good quality oven gloves when removing items from the oven.
Do take care when removing items from the oven, as the contents may be hot.
Do always keep the oven doors closed when the cooker is not in use.
Do always place pans centrally over the hob burners and position them so that the handles cannot accidentally be caught or knocked or become heated by other burners.
Do keep the cooker clean, as a build up of grease or fat from cooking can cause a fire.
Do always allow the cooker to cool before cleaning.
Do always follow the basic principles of food handling and hygiene to prevent the possibility of bacterial growth.
Do always keep ventilation slots clear of obstructions.
Do always turn off the electricity before cleaning or replacing an oven lamp.
Do not allow children near the cooker when in use as all surfaces will become hot during and after cooking.
Do not allow anyone to sit or stand on any part of the cooker.
Do not heat up unopened food containers as pressure can build up causing the container to burst.
Do not store chemicals, food stuffs, pressurised containers in or on the cooker, or in cabinets immediately above or next to the cooker.
Do not fill a deep fat frying pan more than 1/3 full of fat, oil, or use a lid.
DO NOT LEAVE UNATTENDED WHILE COOKING.
Do not place flammable or plastic items on or near the hob burners.
Do not use proprietary spillage collectors on the hob burners.
Do not use the cooker as a room heater.
Do not dry clothes or place other items over or near to the hob burners or oven doors.
Do not wear garments with long flowing sleeves whilst cooking.
Do not place inflammable materials in the oven or the compartment below the oven.
Do not allow fat or oil to build up in the oven trays, grill pan or oven base.
Do not place cooking utensils or plates onto the oven base.
Do not grill food containing fat without using the grid.
Do not cover the grilling grid with aluminium foil.
Do not place hot enamel parts in water, leave them to cool first.
Do not allow vinegar, coffee, milk, saltwater, lemon or tomato juice to remain in contact with enamel parts (inside the oven and oven trays).
Do not use abrasive cleaners or powders that will scratch the surface of the stainless steel and the enamel.
RENSEIGNEMENTS GENERAUX
AVERTISSEMENTS POUR L'ENVIRONNEMENT
Déchets emballage

EasyManual