PG90 - Cuisiniere gaz ROSIERES - Notice d'utilisation et mode d'emploi gratuit
Retrouvez gratuitement la notice de l'appareil PG90 ROSIERES au format PDF.
| Intitulé | Description |
|---|---|
| Type de produit | Cuisinière à gaz |
| Caractéristiques techniques principales | 4 foyers à gaz, four à gaz, table de cuisson en inox |
| Alimentation électrique | Non nécessaire pour le fonctionnement des foyers, mais une prise est requise pour l'allumage électronique |
| Dimensions approximatives | 90 cm (largeur) x 60 cm (profondeur) x 85 cm (hauteur) |
| Poids | Environ 70 kg |
| Compatibilités | Compatible avec les bouteilles de gaz et le gaz de ville |
| Type de batterie | AA pour l'allumage électronique (si applicable) |
| Tension | Non applicable (fonctionnement à gaz) |
| Puissance | Puissance des foyers : jusqu'à 3 kW par foyer |
| Fonctions principales | Cuisson, rôtissage, grillade |
| Entretien et nettoyage | Nettoyage régulier des grilles et de la surface en inox, vérification des brûleurs |
| Pièces détachées et réparabilité | Disponibilité de pièces détachées pour les brûleurs et le four |
| Sécurité | Système de sécurité pour éviter les fuites de gaz, allumage électronique |
| Informations générales utiles | Installation par un professionnel recommandée, vérification des normes de sécurité en vigueur |
FOIRE AUX QUESTIONS - PG90 ROSIERES
Questions des utilisateurs sur PG90 ROSIERES
0 question sur cet appareil. Repondez a celles que vous connaissez ou posez la votre.
Poser une nouvelle question sur cet appareil
Téléchargez la notice de votre Cuisiniere gaz au format PDF gratuitement ! Retrouvez votre notice PG90 - ROSIERES et reprennez votre appareil électronique en main. Sur cette page sont publiés tous les documents nécessaires à l'utilisation de votre appareil PG90 de la marque ROSIERES.
MODE D'EMPLOI PG90 ROSIERES
Ne pas jeter l'emballage de Notre apparéil aux ordures, mais sélectionné les différents matérieliaux (par ex. tôle, carton, polystyrene) selon les prescriptions locales pour l'élimination des déchets.
Ce produit répond aux éxigences des Directives Communautaires:
- 2006/95/CEE relative à la "basse tension".
- 2004/108/CEE relative aux "perturbations électromagnétiques".
- 90/396/CEE relative aux "appareils à gaz"
- 89/109/CEE relative aux "matériaux en contact avec les alimentés".
- En plus les Directives sur mentionnées sont conformes à la Directive 93/68/CEE.
- Cet apparéil doit être installé conformément aux normes en vigueur et utilisé uniquement dans des pieces bien aérées. Avant son installation et son'utilisation consulter la notice d'emploi.
- Cét apparéil devra être exclusivement destiné à l'usage pour lequel il a été expressément projeté, en tant "qu'appareil de cuisson" domestique.
Cet apparéil porte le symbole du recyclage conformément à la Directive Européenne 2002/96/CE concernant les Déchets d'Équipements Électriques et Électroniques (DEEE ou WEEE). En procédant correctement à la mise au rebut de cet apparéil, vous contribuèrez à empêcher toute conséquence nuisible pour l'environnement et la santé de l'homme.

- Nous Vous invitons à dire attentivement ces instructions avant d'utiliser l'appareil et de les conserver soigneusement afin de les consulter en cas de besoin.
- Le matériel d'emballage (sacs en plastique, morceaux de polystyrene, etc...) doit être tenu hors de portée des enfants car il constitue une source potentielle de danger.
ASSISTANCE TECHNIQUE
En cas de de mauvais fonctionnement, vérifier si la prise est branchée. Àpres ces vérifications, adressez vous à votre revendeur ou prévenez directement notre service technique qui intervendra dans les plus brefs déliés. Veiller à ce que le coupon de garantie fourni avec le produit soit correctement rempli, avec la date d'achat du four.
FR
CONSEILS ET AVERTISSEMENTS D'ORDRE GENERAL
ATTENTION :
L'utilisation d'un apparéil de cuisson au gaz conduit à la production de chaleur et d'humidité dans le local où il est installé. Veiller à assurer une bonne aération de la cuisine : maintainir ouverts les orifices d'aération naturelle, ou installer un dispositif d'aération mécanique (hotte de ventilation mécanique).
Une utilisation intensive et prolongée de l'appareil peut nécessiter une aération supplémentaire, par exemple en ouvrant une fenêtre, ou une aération plus efficace, par exemple en augmentant la puissance de la ventilation mécanique si elle existe.
Les conditions de réglage de cet apparéil sont inscrites sur l'étiquette (ou la plaque signalétique).
- N'oubliez pas, avant d'utiliser l'appareil, d'enlever le film de plastique qui protège certaines pieces (tableau de bord, cadres en inox, etc).
- Ne pas utiliser l'appareil pour chauffer la piece.
- Lorsque l'appareil n'est pas utilisé, débrancher le courant et fermer le robinet général du gaz.
- Avant d'effectuer toute réparation ou intervention, débrancher la prise de courant et fermer le robinet de gaz.
EN CAS D'INCENDIE
- En cas d'incendie, fermer le robinet général d'alimentation et couper le courant; ne jamais jeter de l'eau sur l'huile en flamme ou en train de frire.
- Ne pas garder de produits infammables ou de bouteilles d'aérosol près de l'appareil et ne pas vaporiser d'aérosol près d'un brûleur allumé.
POUR VOTRE SURETE ET CELLE DE VOS ENFANTS.
- Eviter de garder dessus ou pres de l'appareil des produits attractifs pour les enfants.
Garder les enfants loin de l'appareil: ne pas oublier que certaines parties de l'appareil ou des casseroles utilisées deviennent très chaudes et dangereuses tant pendant le fonctionnement que pendant le temps nécessaire au refroidissement après l'extinction. - Faire attention aux poignées des cassetoles, disposez-les de façon que les jeunes enfants ne fassent pas tomber les cassetoles.
- Ne mettez pas de vêtements ou d'accessoires amples lorsque les brûleurs sont allumés; l'incendie du textile peut être cause de graves blessures.
ATTENTION - FOUR:
Lorsque le four ou le grilloir sont en fonction, les parties accessibles peuvent devenir très chaudes, il faut éloigner les jeunes enfants de l'appareil.
- Eviter de cuire les aliments sur la base du four.
- En cas d'utilisation négligente en proximité des charnières de la porte du four, il existe le danger de se blesser les mains.
- Interdir aux enfants de s'asseoir ou de jouer avec la porte du four.
Ne pas utiliser la porte comme un tabouret.
TIROIR INFERIEUR
N'introduisez pas de matérielux inflammables ou en plastique dans le chauffe-plats (positionné au dessous du four).

UTILISATION DE LA TABLE DE TRAVAIL
UTILISATION DES BRULEURS A GAZ
Les symboles suivants se trouvent sur le bandeau de commande, pres de chaque bouton:
- Disque plein
robinet fermé
- Grande flamme
ouverture maximale
- Petiteflamme
ouverture minimale
La position de minimum se trouve à la fin de la rotation en sens inverse des aiguilles d'un montre de la manette.
Toutes les positions de fonctionnement doivent être choisies entre les positions de max. et de min., jamais entre max. et la fermeture.
Les brûleurs sont équipés d'une protection thermoelectrice contre l'échéappement de gas. Ce mecanisme coupe l'arrivée de gaz lorsque la flamme du brûleur s'est int en cours de cuisson.
Allumage des brûleurs
Pour allumer un brûleur, procédez comme suit :
- tournez la manette correspondante dans le sens contraire des aiguilles d'une montre de manière à la positionner sur le symbole de la grande flamme;
- enoncez complètement la manette pour faire fonctionner l'allumage automatique du brûleur ★;
- lorsque la flamme brûle, maintenez env. 10 secondes la manette enfonnée, afin de permettre le chauffement du thermocouple.
- lâchez ensuite la manette et vérifie que la flamme est stable. Si ce n'est pas le cas, repêzez l'opération.
ECONOMIE D'ENERGIE
- Le diamètre du fond de la casserole doit correspondre au diamètre du brûleur. La flamme du brûleur ne doit jamais sortir du diamètre de la casserole.
Utiliser toujours des casseroles à fond plat. - Cuire de préférence avec un couvercle. Cela permet d'utiliser des puissances plus basses.
- Cuire les légumes, pommes de terre, etc. avec peu d'eau pour économiser l'énergie et réduire les temps de cuisson.

| Brûleurs | Ø min | Ø max |
| -Rapide | 180mm | 220mm |
| -Semirapide | 120mm | 200mm |
| -Auxiliaire | 80mm | 160mm |
| -triple couron | 220mm | 260mm |
UTILISATION DU FOUR ELECTRIQUE
Quand le four est utilisé pour la première fois, il peut se produit de la fumée de odeur acre, causée par le premier chauffage du collant des panneaux isolants autour du four (il est opportun de le chauffer à la température maximale pour une durée de 30-40 minutes à portefermée). Il s'agit d'un phénomène absoluement normal et, s'il devait se produit encore, il faudrait attendre que la fumée cette avant d'introduire les alimentés.
En général le four est équipé de: grille support pour la cuisson des préparations en casseroles ou bien posées directement sur la grille, l'éche-frite pour la cuisson des gâteaux, biscuits, etc. ou pour recupérer les jus et les matières grasses des alimentés placés directement sur la grille.
Note: dans les tableaux suivants il y a les indications pour la cuisson de quelques préparations principales. Les temps de cuisson conseillés dans ces tableaux sont indicats. Nous sommes surs qu'après quellesEssayes vous pourrez apporter les modifications nécessaires pour obtenir les résultats désirés.
Tableau de cuisson système traditionnel TAB.B
| Preparations | Temp. °C. | Minutes |
| Poisson | 180-240 | suivant dim. |
| Viande | ||
| Rôti de boeuf | 250 | 30 par kg. |
| Rôti de veau | 200-220 | 60 par kg. |
| Poulet | 200-240 | env. 50 |
| Canard ou oie | 220 | suivant poids. |
| Gigot de mouton | 250 | 30 par kg. |
| Rôti de porc | 250 | 60 par kg. |
| Souffrés | 200 | 60 par kg. |
| Gateaux | ||
| Cake | 160 | 50-60 |
| Biscuits de Savoie | 160 | 30-50 |
| Pâte brisée | 200 | 15 |
| Pâte feuilletée | 250 | 15 |
| Tarte aux fruits | 200-220 | 30 |
| Meringues | 100 | 60 |
| Gratin | 220 | 30 |
| Cake 4/4 | 120-140 | 60 |
| Brioches | 160-180 | 45 |
Tableau de cuisson à air chaud TAB. C.
| Préparations | Temp. °C. | Minutes | Poids kg. |
| Entrées | |||
| Lasagnes au four | 200-220 | 20-25 | 0,5 |
| Pâtes au four | 200-220 | 25-30 | 0,5 |
| Riz à la créole | 200-230 | 20-25 | 0,5 |
| Pizza | 210-230 | 30-45 | 0,5 |
| Viandes | |||
| Rôti de veau | 160-180 | 65-90 | 1-1,2 |
| Rôti de porc | 160-170 | 70-100 | 1-1,2 |
| Rôti de bœuf | 170-190 | 40-60 | 1-1,2 |
| Filet de bœuf | 170-180 | 35-45 | 1-1,5 |
| Roast-Beef | 180-190 | 40-45 | 1-1,5 |
| Rôti d'agneau | 140-160 | 100-130 | 1,5 |
| Poulet rôti | 180 | 70-90 | 1-1,2 |
| Canard rôti | 170-180 | 100-160 | 1,5-2 |
| Oie rôti | 160-180 | 120-160 | 3-3,5 |
| Dindon rôti | 160-170 | 160-240 | 5 env. |
| Lapin rôti | 160-170 | 80-100 | 2 env. |
| Lievre rôti | 170-180 | 30-50 | 2 env. |
| Poisson | 160-180 | d'après poids | |
| Gâteaux (Pâtisserie) | |||
| Tarte aux fruits | 180-200 | 40-50 | |
| Savarin | 160-180 | 35-45 | |
| Gâteau "Margherita" | 200-220 | 40-45 | |
| Pain de Genes | 200-230 | 25-35 | |
| Fouace au raisin | 230-250 | 30-40 | |
| Brioches | 170-180 | 40-60 | |
| Strûdel | 160 | 25-35 | |
| Feuillantines sucrées | 180-200 | 20-30 | |
| Beignets de pom. | 180-200 | 18-25 | |
| Flan biscuit Savoie | 170-180 | 30-40 | |
| Biscuits de Savoie | 150-180 | 50-60 | |
| Toasts | 230-250 | 7 | |
| Pain | 200-220 | 40 |
FOUR MULTIFONCTION
Le four est pourvu de:
- une résistance inférieure;
- une résistance supérieure;
- une résistance circulaire qui entoure le ventilateur.
N.B.: Le branchement de n'importe qu'elle fonction a lieu toujours après avoir place la manette du thermostat en correspondance de la température désirée.
En tournant dans le sens des aiguilles d'une montre cette manette, on peut obtenir une température du four comprise entre 60 et MAX°C.

Manette commutateur du fou
En tournant vers le sens des aiguilles d'une montre la manette du commutateur, selon le type de four, il est possible de seLECTIONner une des fonctions suivantes.

Note:
Pour toutes les opérations décrites ci-dessus, on obtient l'allumage de l'éclairage interieur du four. Un的身影 place sur le tableau de bord resté allumé jusqu'à ce que la température soit attente, ensuite il s'allumera par intermittence.
Le four toujours doit être à la porte fermée.
Utilisation du four
Note: fours avec thermostat et commutateur séparés.
Lorsqu'on utilise les fonctions ≈ ≈ placer la manette du thermostat entre 180 ÷ 200^ C comme température maximale.
ATTENTION:
La température indiquée sur le tableau de bord correspond à la température maintainue au centre du four seulement quand les fonctions seLECTIONnées sont ou

Une fois tourné le bouton sur cette position, la lampe reste allumée pendant toutes les opérations qui seront.

Décongélation par ventilateur
Cette position permet la circulation de l'air pulsé à la température ambiente tout autour de l'aliment surgelé en le décongelant sans modifier ou ALTERER son contenu protéique.

Convention naturelle
Branchement de la résistance inférieure et supérieure du four. Il s'agit de la cissoon traditionnelle, excellente pour roir les gigots, ideale pour les biscuits, les pommes au four et pour que les alimentes deviennent très croquants. On obtient de bons résultats pour les cissoons sur un niveau avec réglage de la temperature de 60 à MAX°C.

Cuisson par air pulsé
Par cette fonction la résistance circulaire et le ventilateur sont insérés. L'air chaud, régable entre 60 et MAX°C, est pousseUniformément sur tous les étages du four. Ceci consente une cuisson ideale de plusieurs mets ensemble (viande, poisson, etc.) sans mélanger les différents odeurs et saveurs. Cuisson délicate indiquée pour Génoises, gâteaux de Savoie, pâtes feuilletées, etc.

Branchement du grin moyen
Par cette position, la résistance du gril moyen à l'infrarouge est insérée.
Ça permet de griller ou gratiner les plats traditionnels de petites dimensions.

Branchement du grill total
Par cette position, la résistance du gril à l'infrarouge est insérée. Ca permet de griller ou gratiner les plats traditionnels.La manette du thermostat doit être placee sur la position 180 - 200^

Grill total ventile
L'air, chauffé par la résistance du grill, est aspiré par le ventilateur et poussé sur les alimentés. Le grill ventilé remplace remarquablement le tournebroche et il assure des résultats excellents avec volailles, saucisses et viandes rouges, même en quantité considérable. La manette du thermostat doit être placée sur la position 180 - 200^ .

Résistance inférieure ventilée
L'air, réchauffé par la résistance inférieure, est aspièr par le ventilateur et poussé sur les aliments. Cette fonction peut être utilisée pour stérisifier les aliments. Cette fonction peut être utilisée entre 60 et MAX°C.
UTILISATION DU GRILLOIR
Positionner la grille porte-plates au troisième gradin en partant du fond du four, à 12 cm à peu pres de la surface rayonnante.
L'utilisateur pourra changer de gradin, suivant son goût personnel et les nécessités des différents mets. Avant d'enfournier, laisser chauffer 5 minutes.
Attention : les parties accessibles peuvent être chaudes quand le grilloir est utilisé. Eloigner les jeunes enfants.
UTILISATION DU TOURNEBROCHE
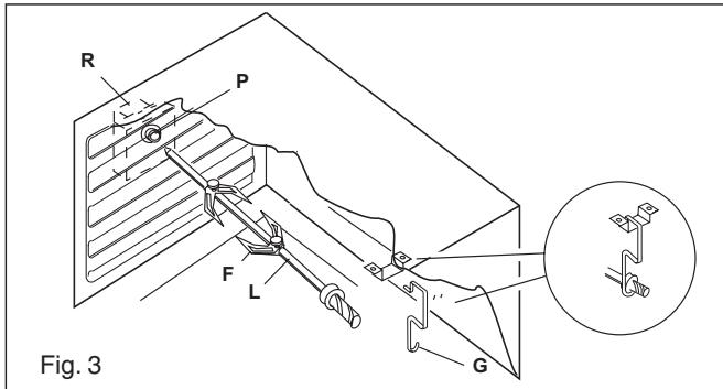
- Enfilier le poulet ou la piece à rôtin sur la broche L enPNANT bien soin de l'immobiliser entre les deux fourches F et de bien I'équilibrer afin d'éviter des efforts inutiles au moto réducteur R (fig. 3).
- Mettre la broche sur le support G, après avoir introduit son extrémité opposée dans le trou P du moteur R.
- Engager la lèchefrite avec un peu d'eau au dessous de la broche.
- Pour enlever la broche opéorer de la façon contraire utilisant un quant de protection en laine isolante (fig. 3).
Pour la mise en fonction du tournebroche, tourner la manette sur le symbole .

Avertissement : ne pas utiliser les grilles en fil sur les niveaux four équipés avec glissières téléscopiques.

INSTRUCTIONS POUR L'UTILISATION
DES DISPOSITIFS CONTROL
HORLOGE "LED" (Fig. 4)
\section*{Caracteristiques}
Horloge 24 heures avec programmation automatique et compte-minutes.
Fonctions
Durée de cuisson, fin cuisson, position manuelle, horloge, comptes, temps réglables jusqu'à 23 heures et 59 minutes.
Affichage des fonctions
Affichage lumineux à 4 chiffres de 7 segments pour indiquer l'heure et les temps de cuisson.
Durée de cuisson et fonction manuelle = symbole de la casserole
Fonction automatique
= AUTO
Compte-minutes
= symbole de la cloche
Une fonction est selectionnée lorsque le symbole correspondant est affché.

Fig. 4
| Minuterie sonore | |
| TIMER | Durée de cuisson |
| END | Fin de cuisson |
| Manuel | |
| √ | Diminution du temps |
| ∧ | Augmentation du temps |
Programmation
La programmation s'effectue en appuyant sur le bouton de la fonction désirée. ÀpRES avoir relâché ce bouton, il est suffisant de programmer le temps avec ∧ et ∨ entre 5 secondes.
Boutons et
En appuyant sur les boutons et le temps augmente ou diminuè à une vitesse variable selon la durée de la pression sur le bouton.
Réglage de l'heure
Pour régler l'heure désirée, appuyer en même temps sur les deux boutons manuel et ou . Par cette opération, tous programmes précédents sont éliminés, les contacts sont débranchés.
Fonctionnement en manuel
En appuyant sur le bouton de manuel, les contacts du relais se branchent, le symbole AUTO s'eteint, le symbole de casserole apparait. Le fonctionnement manuel a lieu seulement à la fin de la programmation automatique ou après que celle-ci a été éliminée.
Fonctionnement automatique
En appuyant sur le bouton de durée ou de fin cuisson, le programmateur se commute automatiquement de la fonction manuelle à la fonction automatique.
Fonctionnement semi-automatique avec durée de cuisson
Appuyer sur le bouton de durée de cuisson et programmer le temps désiré avec ∧ ou ∨ .
Le symbole AUTO et de durée de cuisson apparaissent en permanence.
Le relais se branche immidiatement. Quand le temps de fin de cuisson correspond à l'heure, le relais et le symbole de durée de cuisson se débranchent, la sonnerie retentit, et le symbole AUTO clignote.
Fonctionnement semi-automatique avec fin de cuisson
Appuyer sur le bouton de fin cuisson. L'heure apparait sur l'affichage lumineux. Sélectionner le temps de fin cuisson désiré avec le bouton . Les symboles AUTO et durée de cuisson apparaisent en permanence. Les contacts du relais se débranchent.
Quand le temps de fin cuisson correspond à l'heure, le relais et le symbole de durée de cuisson se débranchent. Une fois le temps de cuisson écoué, le symbole AUTO clignote, la sonnerie retentit, le symbole de durée de cuisson et le relais s'éteignent.
Fonctionnement automatique avec durée et fin de cuisson
Appuyer sur le bouton de durée et sélectionner la durée de cuisson désirée avec ou . Les symboles AUTO et durée apparaissent en permanence. Le relais se branche. Appuyer sur le bouton de fin de cuisson. Le temps de fin cuisson le plus proche apparait sur l'affichage lumineux. Sélectionner le temps de fin cuisson désiré à travers le bouton .
Le relais et le symbole de durée se débranchent. Le symbole s'allume de nouveau quand l'heure correspond au temps de début de cuisson. Une fois le temps de cuisson écoué, le symbole AUTO clignote. La sonnerie retentit et le symbole de durée et le relais s'éteignant.
Compte-minutes
Appuyer sur le bouton compte-minutes et seLECTIONner le temps de cuisson désiré avec le bouton ou .
Pendant le fonctionnement du compte-minute le symbole de la cloche apparait. À la fin du temps choisi, la sonnerie retentit et le symbole de la cloche s'éteint.
Signal acoustique
Le signal acoustique se met en marche à la fin d'une programmation ou de la fonction compte-minutes et il a une durée de 15 minutes. Pour l'arrêté, appuyer sur un bouton quelconque des fonctions.
Début programme et contrôle
Les programmes démarrent à peu après 4 secondes après leur programmation.
Il est possible de vérifier à tout moment le programme en cours en appuyant sur le bouton concerné.
Erreur de programmation
Il y a un erreur de programmation si l'heure indiquée par l'horloge est comprise entre l'heure de début cuisson et l'heure de fin cuisson. L'erreur de programmation peut être corrigé, en changeant la durée ou le temps de fin cuisson. Quand il y a un erreur de programmation les relais se débranchent.
Élimination d'un programme
On peut éliminer un programme en appuyant sur le bouton de durée cuisson et puis sur le bouton ∨ afin que l'indication 00 00 apparaisse sur l'affichage lumineux. À la fin d'un programme, ce-ci s'éliminera automatiquement.
ENTRETIEN ET NETTOYAGE
Avant de procéder au nettoyage, débrancher le robinet du gaz général et enlever la fiche de la prise de courant ou couper le courant de la ligne d'alimentation au moyen de l'interrupteur général de l'installation électrique.
Éviter de nettoyer les surfaces de l'appareil lorsqu'elles sont encore chaudes.
Ne pas utiliser de nettoyeurs vapeur pour nettoyer le four.
SURFACES EMAILLEES
Nettoyer avec une éponge mouillée avec de l'eau et du savon. Les taches de gras peuvent être enlevées facilement avec de l'eau chaude ou un produit spécifique que trouvant facilement en commerce pour le nettoyage de l'email. Eviter les produits contenant des substances abrasives. Ne pas laisser sur l'émail de substances acides ou alcalines (jus de citron, vinaigre, sel etc...)
Les apparèils en acier inox doivent être nettoyés avec des détergents spéciaux pour acier inox. Ces détergents doivent être appliqués à l'aide d'un linge moelleux.
GRILLES ET BRULEURS
Pour procéder au nettoyage des brûleurs de la table de travail, il est nécessaire de les extraire de leur siège en les élevant vers le haut et de lesmettrependant une dizaine de minutes dansunsolution d'eau chaude et produit détergent non abrasif. Avec avoir nettoyé et lavé les brûleurs,les essuyer soigneusement.
Contrôler toujours que les orifices des brûleurs ne soient pas obstrués.
Nous conseillons de réaliser cette opération au moins une fois parILA semaine ou chaque fois que cela est nécessaire. Faire attention a remonter de façon correcte les brûleurs de la table.
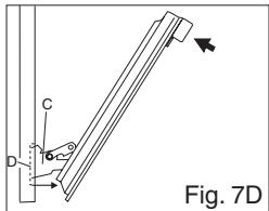
Demontage de la vitre interieure de la porte du four.
Pour enlever la vitre interieure de la porte du four: ouvrir la porte à moitié et dévisser les vis A et B et le profil C (voir Fig. 7).
Enlever la vitre à deux mains (voir figure 7A).
Après le nettoyage, remonter la vente et le profil en exécutant les mêmes opérations en sens inverse.

Démontage de la porte du four
Pour faciliter le nettoyage intensif du four, démonter la porte en suivant les instructions:
1) Ouvrir complètement la porte du four.
2) Rabatte vers l'extérieur la partie "A" de la charnière (voir fig. 7B).
3) Refermer lentement la porte jusqu'à ce qu'elle se trouve en face des crochets « A »; s'assurer qu'ils se bloquent dans les œillets « B » de la porte, comme le montre la Fig. 7C.
4) En s'aidant des deux mains, exercer une légère pression de la porte vers l'intérieur, ce qui va permettre aux charnières « C » de se décrocher des oeillets « D » (voir Fig. 7D), puis tirer vers soi la porte jusqu'à ce qu'elle se décroche du four.
Après le nettoyage, remonter la porte correctement, en refaisant la procédure dans l'ordre inverse et repositionner les crochets « A » vers l'intérieur avant de la refermer (Fig. 7E).




ATTENTION :
N'utiliser ni objets rugueux ou abrasifs, ni racloirs métalliques affilés pour nettoyer les portes vitrées du four afin d'éviter d'égratigner leur surface et de briser la vitre.
PORTE DU FOUR
Pour les parties émaillées nettoyer avec une éponge mouillée avec de l'eau et du savon. Les taches de gras peuvent être enlevées facilement avec de l'eau chaude ou un produit spécifique se trouvant facilement en commerce pour le nettoyage de l'email.
Eviter lese produits contenant des substances abrasives.
DIMENSIONS D'ENCOMBREMENT


Avant d'effectuer toute réparation ou intervention, débrancher la prise de courant et fermer le robinet de gaz. Le technicien qualifié est responsable de l'ss installation correcte suivant les normes de sécurité en vigueur.
Le constructeur décline toute responsabilité quant aux dommages subsis par des personnes, des animaux ou des biens, résultat de la non observation des normes ci-dessus indiquées.
Ne pas utiliser la poignée de la porte du four pour effectuer des opérations de mouvement, y compris l'opération nécessaire pour enlever l'appareil de l'emballage.
L'appareil est en classe 1 ou classe 2 sous-classe 1.
ATTENTION : La cuisine ne doit pas eatre place sur un piédestal.
IMPORTANT: Le revêtement du meuble doit supporter des températures (min. 90^ ).
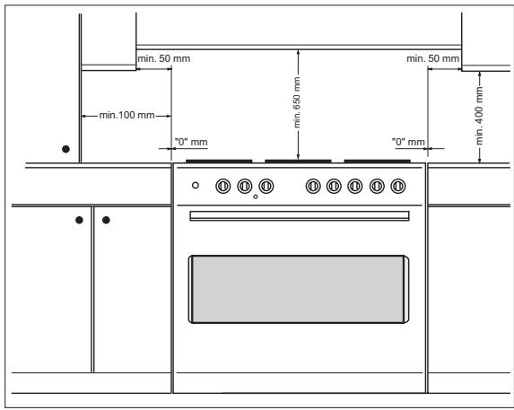
Si l'appareil doit être installé pres des meubles, observer les distances minimales prévues par le plan ci-après.

La cusinière est équipée de 4 pieds pour un évientuel alignement en hauteur avec les meubles.

Fig. 8

FR
VENTILATION LOCAUX
L'installation et l'entretien de l'appareil doivent être effectuels par une personne qualifiée conformément aux textes réglementaires et règes de l'art en vigueur:
L'installation et l'entretien de l'appareil doivent être effectuels par une personne qualifiée conformément aux textes réglementaires et règes de l'art en vigueur notamment:
- Arrêté du 2 août 1977 (art.10-11)
Règles Techniques et de Sécurité applicables aux installations de gaz combustible et d'hydrocarbures liquifiés situés à l'intérieur des batiments d'habitation et de leur dépendances.
Norme DTU P 45-204
Installations de gaz (anciennement DTU n° 61-1 - Installations de gaz - Avril 1982 + additif n°1 Juillet 1984).
- Règlement Sanitaire Départemental
Pour les apparèils raccordés au réseau électrique:
Norme NF C 15-100
Installations électriques à basse tensione - Regles.
Cet apparéil n'est pas pourvu de dispositif d'évacuation des produits de la combustion. On doit donc l'instructor dans des endroits suffisamment aérés suivant les dispositions des lois en vigueur. La quantité d'air nécessaire à la combustion ne doit pas être inférieure à 2.0m^3/h pour chaque kW de puissance installée.
(Voir la puissance totale sur la plaque signalétique placée dans le tiroir inférieur de l'appareil).
La norme fixe la valeur minimale de la section libre totale des ouvertures permanentes (fentes, perforation, grilles, gains, etc.) destinée à l'évacuation de l'air des cuisines qui doit être d'au moins de 100~cm^2 . La norme spécifique que la partie supérieure de l'ouverture permanente utilisée pour l'évacuation de l'air vicié par les produits de combustion doit être située à 1,80 m au moins au dessus du sol du local. Une section libre au moins égale doit être réservée aux ouvertures d'entrée d'air.
L'emplacement des ouvertures doit etre tel qu'il n'en resulte aucun courant d'air insupportable pour les occupants.


RACCORDEMENT AU GAZ
Contrôr si l'appareil est prévu pour le type de gaz distribué.
Le raccordement à la canalisation gaz doit être effectué en conformité avec les règlements en vigueur (Article 10 de l'arrêté du 02.08.1977 et aux règes de l'art. (DTU 61-1), installations de gaz qui imposent sur l'extrémité de cette canalisation la présence d'un robinet de commande.
Pour le butane et le propane, un détenteur-declencheur conforme à la norme NF D 36-303 peut tener lieu de robinet de commande. Ce robinet de commande permet de couper l'alimentation en gaz lorsque l'appareil n'est pas utilisé.
Une fois terminées les opérations de raccordement gaz, contrôler l'étancheité des raccords avec de l'eau et du savon.
IL NE FAUT JAMAIS UTILISER DE FLAMMES POUR VERIFIER LES FUITES DE GAZ.
Les raccordements possibles sont :
1) le raccordement rigide avec interposition d'un joint;
2) le raccordement par tuyau flexible avec armature à embouts mécaniques suivant les normes en vigueur ( voir fig. 11).

3) raccordement par tuyau couple suivant les normes en vigueur avec un about annelé. Le tube doit être monté sur le porte caoutchouc avec un collier de serrage (F) pour éviter touteuite de gaz et visible sur toute sa longueur (fig.11B).
Dans ce dernier cas, contrôle la date de péremption du tube imprimée et le remplacer avant cette date.

Pour l'achat des tuyaux
- Tuyaux sople en caoutchouc : il doit être marqué NF GAZ.
- Tuyau flexible : il doit être conforme à la norme NF D 36 121 ou NF D 36 103 ou NF D 36 107.
AVERTISSEMENTS
Nous rappelons pour les tuyaux souples de :
1 - eviter tous étranglements ou écrasements du tuyau
2 - eviter des efforts de traction et de torsion
3 - eviter d'entrée en contact avec des corps pointus, à vivé arêté, etc...
4 - eviter d'entrée en contact avec des parties qui dépassent de 70^ la température ambiente.
5 - s'assurer qu'ils peuvent être vérifiés pour toute leur longueur.
NOTE: Si le passage du tuyau de raccordement derrière la cusinière est nécessaire, respecter les prescriptions données dans les figures (11 D).
Verifier qu'il n'y a aucune perte de gaz.

Fig. 11D
REGLAGES GAZ
Si l'appareil a eté prévu pour fonctionner avec un type de gaz différent de celui de l'alimentation disponible, il faut changer les injecteurs, régler le débit réduit des brûleurs et changer l'about annelé. Afin de changer les injecteurs de la table de travail, il est nécessaire d'effectuer les opérations suivantes: enlever les grilles, enlever les brûleurs et leurs chapeaux (voir fig. 13 A), changer l'injecteur (voir figure 13 B) et le replacier avec celui approprié au nouveau type de gaz (voir tableau D). Remonter tout en sens inverse en faisant attention à placer le chapeau de façon correcte sur le brûleur.

Fig. 13 A

Fig. 13 B
TAB. D
Valeurs se referant à Hs - 15°C - 1013,25mbar Cat. III 1c2E+3+
| TABLEAU GENERAL INJECTEURSI | ||||||||
| Type de gaz | mbar | Inject. N° | Brûleur | Puisance KW | Consom | N° Bypass | ||
| max. | min. | max. | min. | |||||
| NATUREL G 20-25 | 20-25 | 115 | Rapide | 3,00 | 0,75 | 286 l/h | 72 l/h | reg. |
| 97 | Semi rapide | 1,75 | 0,48 | 167 l/h | 46 l/h | reg. | ||
| 72 | Auxilixire | 1,00 | 0,33 | 95 l/h | 31 l/h | reg. | ||
| 130 | Tripla cour. | 3,60 | 1,30 | 343 l/h | 124 l/h | reg. | ||
| BUTANE G 30 | 28-30 | 85 | Rapide | 3,00 | 0,75 | 219 g/h | 55 g/h | 42 |
| 65 | Semi rapide | 1,75 | 0,48 | 128 g/h | 35 g/h | 31 | ||
| 50 | Auxilixire | 1,00 | 0,33 | 73 g/h | 24 g/h | 27 | ||
| PROPANE G 31 | 37 | 96 | Tripla cour. | 3,60 | 1,30 | 262 g/h | 95 g/h | 60 |
| AIR BUTANE PROPANE G 130 | 8 | 260 | Rapide | 3,00 | 0,75 | 421 l/h | 105 l/h | reg. |
| 185 | Semi rapide | 1,75 | 0,48 | 245 l/h | 67 l/h | reg. | ||
| 145 | Auxilixire | 1,00 | 0,33 | 140 l/h | 46 l/h | reg. | ||
| 280 | Tripla cour. | 3,60 | 1,30 | 505 l/h | 182 l/h | reg. | ||
Attention : Les injecteurs pour l'air butané et l'air propagated ne sont pas livrés avec l'appareil mais, en cas de nécessité, ils sont disponibles chez vous fournisseur.
FR
REGLAGE DEBIT REDUIT ROBINETS DE LA TABLE.
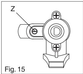
Afin de règler le début réduit, procédé comme il suit: allumer le brûleur et tourner la manette vers la position de début réduit ; enlever la manette du robinet. Introduire un petit tourne-vis dans la tige du robinet (fig. 14). Attention: dans les robinets avec sécurité, la vis de réglage "Z" du minimum se trouve à l'extérieur de la tige du robinet (fig. 15). Dévisser la vis de réglage pour augmenter le début, ou visser la vis pour diminuir le début. Le réglage est correct quand la flamme mésure environ 3 ou 4 mm. Pour le gaz butane/propane, la vis de réglage doit être visée à fond. S'assurer que la flamme ne s'éteint pas lorsqu'on passse brusquement du début max. , au début réduit et viceversa. Remonter la manette.


BRANCHEMENT ELECTRIQUE
BRANCHEMENT ELECTRIQUE
Le branchement de l'appareil au réseau électrique doit être réalisé par un personnel spécialisé, connaissant les normes de sécurité en viqueur.
La mise à la terre de l'appareil est obligatoire selon les termes de la loi. Avant d'effectuer le branchement électrique, s'assurer de l'efficacité de la mise à la terre.
S'assurer que la soupape limitatrice et les câblages domestiques poussent supporter le chargement de l'appareil.
Si un apparéil fixe n'est pas muni d'un cable d'alimentation et d'une fiche, prévoir un dispositif de déconnexion sur le réseau d'alimentation avec une distance d'ouverture des contacts qui permette la déconnexion complète dans les conditions de la catégorie de surtension III, conformément aux règles d'installation. Le cable de terre jaune/vert ne doit pas être interrompu par l'interrupteur.
Important: les fils du cable d'alimentation ont les couleurs suivantes:
- jaune/vert = pour la mise à la terre " 12 " (E)
-bleu = pour le neutrte "N" - marron = pour la phase "L"
- Vérifier toujours que le cable électrique ne touche pas ni des surfaces coupantes ni chaudes avec une températe qui dépasse de 50^ cette ambiente, et qu'il soit de longueur suffisante pour un évientuel déplacement nécessaire au nettoyage ou à une réparation. S'il on utilise une fiche pour le branchement, la fiche de branchement du cable d'alimentation et la prise à laquelle elle doit être branchée doivent être du même type (conformes aux normes).
| Type d'appareil | Alimentation monophasée 230V~ | |
| Type de cable | Section | |
| Table toutes gaz + four electr. | Caoutchouc H05 RR-F ou Caoutchouc H05 RN-F | 3 x 1,5 mm² |
ATTENTION:
L'APPEARI DL DIT ETRE MIS A LA MASSE. LE FIL JAUNE-VERT DOIT ETRE RELIE A LA TERRE. LE CONSTRUCTEUR DÉCLINE TOUTE RESPONSABILITÉ POUR D'EVENTUELS ACCIDENTS PROVOQUÉS PAR LA NON-OBSERVATION DE CETTE NORME.
Dans le cas ou le cable devrait s'endommager, le replacer selon les instructions suivantes:
- ouvrir la boite du bornier comme déscrit dans la figure ci-dessous;
- dévisser la vis "A" qui bloque la cable;
- remplacer la cable avec un de la même longueur et correspondant aux caractéristiques décrites dans le tableau:
- le fil de mise à la terre "jaune-verte" doit être raccorde à la borne " 1一 " et il doit être plus long d'environ 10mm par rapport aux fils de ligne;
- le fil neutre "bleu" doit être raccorde à la borne marquee par la lettuce "N"
- le fil de ligne doit être raccorde à la borne marquee par la dette "L".

ENTRETIEN DE L'APPAREIL
AVERTISSEMENTS
Avant d'effectuer toute réparation ou intervention, débrancher la prise de courant et fermer le robinet du gaz.
Le constructeur décline toute responsabilité quant aux dommages subsis par des personnes, des animaux ou des biens, résultat de la non observation des normes ci-dessus indiquées.
Dans le cas où il serait nécessaire de réparer ou replacer les composants interns, il faut:
La lampe four utilisée est de type spécial résistant aux températures élevées. Afin de pouvoir la replacer démonter le verre de protection (A) fig.16 et replacer la lampe brûlée par une du même type, ensuite remonter le verre de protection.

GRAISSAGE DES ROBINETS
Si les robinets de la table se durcisent avec le temps, il est nécessaire de les graisser avec un lubrifiant adapté. Une telle opération ne peut être effectuee que par le revendeur ou le Centre d'Assistance.

0051
Notice Facile