EGW 4060-14 - Food warmer MIELE - Free user manual and instructions
Find the device manual for free EGW 4060-14 MIELE in PDF.
Questions des utilisateurs sur EGW 4060-14 MIELE
0 question sur cet appareil. Repondez a celles que vous connaissez ou posez la votre.
Poser une nouvelle question sur cet appareil
Download the instructions for your Food warmer in PDF format for free! Find your manual EGW 4060-14 - MIELE and take your electronic device back in hand. On this page are published all the documents necessary for the use of your device. EGW 4060-14 by MIELE.
USER MANUAL EGW 4060-14 MIELE
Operating instructions

Built-in Plate Warmer EGW 4060-14
To prevent accidents andmachine damage readthese instructions
before
installation or use.
IMPORTANT SAFETY INSTRUCTIONS 4
Guide to the machine 6
Before using the plate warmer 7
Use 8
Controls 8
Operating 9
Selecting a temperature. 9
Warming times 10
Capacity. 10
Cleaning and care 11
Cleaning the plate warmer. 11
Non-slip mat. 11
Frequently asked questions 12
After sales service 13
Caring for our environment 14
Installation 15
Installation Safety Instructions 15
Built-in measurement 15
Combinations EGW 40x0 -14. 16
Installing the appliance 18
Aligning the appliance front. 19
Electrical connection 20
This appliance is intended for residential use only. Only use the appliance for its intended purpose.
Improper use of the appliance can lead to personal injury and material damage. The manufacturer cannot be held responsible for damages caused by improper use of the plate warmer.
This appliance complies with current safety requirements.
Read all instructions before installing or using for the first time.
Keep these operating instructions in a safe place and pass them on to any future user.
Read all operating and installation instructions for any other appliance installed in combination with the plate warmer.
READ ALL INSTRUCTIONS!
Installation
Before installation make sure that the voltage and frequency listed on the data plate correspond with the household electrical supply. This data must correspond in order to prevent injury and machine damage. If in doubt, consult a qualified technician.
The electrical safety of this appliance can only be guaranteed when continuity exists between the appliance and an effective grounding system. The grounding system must comply with local and national safety regulations. It is imperative that this basic safety requirement be met. If there is any doubt, have the electrical system of the house checked by a qualified electrician.
The manufacturer cannot be held responsible for the damages caused by an inadequate grounding system (e.g. electric shock).
Do not connect the appliance to the electrical supply with an extension cord. Extension cords do not guarantee the required safety of the appliance.
This appliance must only be used once it has been properly installed into cabinetry to ensure that all electrical components are protected.
Never open the outer casing of the appliance.
Tampering with electrical connections or components and mechanical parts is dangerous and may cause machine damage.
Installation, repair and maintenance work should be performed by a Miele authorized service technician. Work by unqualified persons could be dangerous and may void the warranty.
Hardwiring the appliance should be performed by a certified electrician in compliance with all local and national codes and requirements. The manufacturer cannot be held responsible for the damages caused by an inadequate electrical connection.
Before installation or service, disconnect the power supply to the work area by removing the fuse, "tripping" the circuit breaker or unplugging the unit. Pull the plug not the cord.
Use
The plate warmer interior gets very hot when in use and stays hot for a while once turned off.
Use heat-resistant pot holders when removing dishes. Be sure that they are not damp or wet. Danger of steam burns!
Pull the drawer out all the way when removing dishes to avoid touching hot drawer parts.
To prevent burns do not touch hot surfaces, use handles or knobs.
Do not let children access the appliance or its controls. Supervise its use by the elderly or infirm.
Do not use the plate warmer to reheat, cook or keep food and drinks warm. The condensation from food or drinks could lead to moisture damage in the appliance.
Do not lean or sit on the warming drawer. This will damage the drawer which can hold a maximum of 55 lbs (25 kg).
Do not store anything in the warming drawer. Forgotten items could melt or catch fire when the appliance is turned on. Flammable liquids and materials should never be stored in, above or under the plate warmer.
Do not use the plate warmer to heat the room. Due to the high temperatures radiated, objects left near the appliance could be damaged.
- Do not use a steam cleaner to clean this appliance. Steam could penetrate electrical components and cause a short circuit. Pressurized steam may cause permanent damage to the surface and to components of the appliance, for which the manufacturer cannot accept responsibility.
To prevent injuries, do not use accessories not recommended by Miele.
Do not install outdoors.

① On/Off button
② Temperature selector
③ Warming drawer
(4) Non-slip mat
⑤ Indicators
Clean the plate warmer with a damp cloth and wipe dry.
Heat the empty plate warmer for a minimum of 2 hours. Turn the temperature selector to "Maximum" (see "Selecting a temperature").
- Vent the room when heating the drawer for the first time.
Metal components have a protective coating which may give off a slight odor the first time your new appliance is heated. The smell will dissipate after a short time and does not indicate a faulty connection.
The plate warmer is only intended for warming dishes.
Do not use the plate warmer to reheat, cook or keep food and drinks warm. Condensation from food or drinks may cause moisture damage to the appliance.
Use pot holders when removing dishes.
The drawer can hold a maximum of 55 lbs (25 kg).
The appliance works with a convection system. A fan distributes the heat evenly throughout the drawer. The air circulation heats the dishes fast and evenly.
A protective grill prevents contact with the heating element and fan.
The floor of the warming drawer has a non-slip mat to prevent plates and dishes from sliding when the drawer is opened and closed.
Controls

The controls consists of the temperature selector and the On/Off button. They are only visible when the drawer is open.
The indicators at the front show if the plate warmer is turned on or off.
Operating
Place the dishes in the drawer.
Select a temperature.
Turn the appliance on (1)
The button will light.
Close the drawer.
The drawer may open again if closed too forcefully.
Turn the appliance off (0) , before removing the warmed dishes.
Selecting a temperature
The temperature selector allows you to select a temperature between 86^ and 122^ (30 and 50^ ).
Do not turn the knob counterclockwise or clockwise past the 9 o'clock position. Forcing it beyond these positions will damage the temperature selector.
When the selected temperature is reached, the heating element turns off. If the temperature falls below the selected one, the heating element will turn on again.
The temperature scale shows symbols for the optimum temperature of the respective dish group:
- 0 approx. 105 ^ F ( 4 0 ~ ^ C ) For cups or glasses.
- ≈ approx. 150 °F (60 °C) For serving or eating plates.
When served in a prewarmed cup, glass or on a plate, the drinks or food will not cool as fast and the cup or plate will remain cool enough to touch.
Warming times
Various factors will affect the warming times:
-type and thickness of dishes,
quantity,
- how dishes are arranged,
- temperature setting.
As you use the plate warmer you will learn which settings suit your needs best.
However, the following information can be used as a guide.
At a temperature setting of , about 150^ F ( 60^ C ), menu dishes for 6 people, will be evenly warmed in approximately 30 to 35 minutes.
Capacity
The capacity of the appliance depends on the dish sizes.
The maximum load is 55 lbs (25 kg).
The following assembly picture is an example.

- Menu dishes for 6 people:
6 plates diam. 11" (28 cm)
6 soup cups diam. 4'' (10 cm)
1 bowl diam. 8^11 / 16 (22 cm)
1 bowl diam. 7^1 / 2 (19 cm)
1 bowl diam. 6^11 / 16 (17 cm)
2 serving plates 14^3 / _16^ (36~cm)
not pictured
- 80 Espresso cups, or
- 40 Cappuccino cups
Cleaning the plate warmer
Let the drawer cool before cleaning.
Never use abrasive cleaners, scouring pads, steel wool or caustic (oven) cleaners on the plate warmer. They will damage the surface.
The exterior of the plate warmer can be cleaned with warm water and liquid dish soap applied with a soft sponge. Wipe dry using a soft cloth.
Stainless steel
Stainless steel surfaces can be cleaned using a non-abrasive stainless steel cleaner.
To help prevent resoiling, a conditioner for stainless steel can also be used.
Apply sparingly with even pressure.
Non-slip mat
The mat can be removed to clean the bottom of the drawer.
Clean the mat by hand with warm water and liquid dish soap.
Dry thoroughly. Do not return the mat until it is completely dry.
Repairs should only be carried out by an authorized technician in accordance with local and national safety regulations. Unauthorized repairs could cause injury or machine damage. The manufacturer cannot be held responsible for unauthorized work.
Why are the dishes not warm enough?
| Possible fault | Fix |
| The appliance is turned off. | Turn the appliance on with the On/Off button. |
| The wrong temperature was selected. | Check the temperature setting. |
| The vents were blocked by dishes. | Reload the dishes. |
| The dishes need more time to warm. | Increase the timer setting. |
| Why dishes are not warm? | |
| Possible fault | Fix |
| Check if a fan noise is heard. - If the fan is running, the heating element has been damaged. - If the fan does not run, than it has been damaged. - The main fuse has blown. | Call Technical Service. Call Technical Service. Restore power. |
| Why are the dishes too hot? | |
| Possible fault | Fix |
| The temperature control is faulty. | Call Technical Service. |
| Why does the On/Off button not light when turned on? | |
| Possible fault | Fix |
| The indicator light for the On/Off button is bad. | Call Technical Service. |
In the event of a fault which you cannot correct yourself please contact the Miele Technical Service Department.

1-800-999-1360
When contacting the Technical Service Department, please quote the model and serial number of your appliance both of which are shown on the enclosed data plate.
Adhere the data plate to the box below. Make sure the model given on the data plate matches that of this manual.

Installation Instructions
Disposal of the packing material
The transport and protective packing materials are environmentally safe for disposal and may be recycled.
Ensure that any plastic wrap is disposed of safely and kept out of the reach of children. Danger of suffocation!
Please recycle.
Disposal of an old appliance
Old appliances contain materials which can be recycled. Please contact your local recycling center about potential recycling.
Ensure that the appliance presents no danger to children while being stored for disposal.
Installation Safety Instructions
Before installation make sure that the voltage and frequency listed on the data plate correspond with the household electrical supply. This data must correspond in order to avoid risk of damage to the appliance. If in doubt, consult a qualified technician.
The electrical outlet should be easily accessible after installing the unit.
Only install the plate warmer in combination with built-in appliances recommended by the manufacturer. When installed with other appliances, the warranty is void since the manufacturer cannot guarantee the safe use of the plate warmer.
To install the plate warmer in combination with another appliance, a built-in shelf must exist in the cabinet to support the weight of both appliances.
When installed in combination with another appliance, the plate warmer must always be installed beneath the other appliance. The combination appliance can be set without a base directly onto the plate warmer. A shelf between the appliances is not necessary.
To install the combination appliance please see the manual supplied with that machine.
This appliance is not designed for maritime use or for use in mobile installations such as recreational vehicles or aircraft. However, under certain conditions it may be possible for an installation in these applications. Please contact the Miele Technical Service Department with specific requirements.
Built-in measurement
The appliance is available in two heights: The opening measurement needed is the summary of the measurement of the plate warmer and the combination appliance.
Combinations EGW 40x0 -14
Oven H 4120, H 4220

Microwave-compact oven


Steam ovens

CVA
Installing the appliance
- Set the plate warmer into the niche, push is all the way in and align it at a right angle.

- Open the drawer and fix the appliance with the two supplied screws at the side panels of the cabinet.
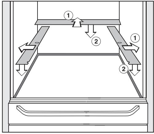
The installation kit contains 3 metal strips with adhesive on the back side.
Fix the metal strips on the plate warmer so that the gap between the appliance and the cabinet is sealed. This air cushion acts as insulation.
- Remove the protective foil from the adhesive on the metal strip.

Align and fix the metal strips, according to the illustration, flush with the sides and the rear of the plate warmer.
Install the combination appliance according to the manual supplied with that machine.
Aligning the appliance front
After installing the combination appliance it might be necessary to align the appliance front and/or to even the gap between the plate warmer and the combination machine.
Flat washers are supplied beneath the knurled nuts, which fix the drawer to the telescopic runners.

- Loosen the knurled nuts and take the drawer out.
Align and even the gap with the flat washers by changing their position (above or below the drawer), on both sides.
Electrical connection
The electrical installation instructions for any appliance installed in combination with the plate warmer must be observed.
When another appliance is installed in combination with the plate warmer to the same circuit breaker, operating both appliances at the same time may cause an overload. If in doubt consult a qualified electrician.
All electrical work should be done by a qualified technician, in strict accordance with national and local safety regulations.
Installation, repairs and other work by unqualified persons could be dangerous and may void the warranty.
Make sure power is not supplied to the appliance while installation or repair work is being performed.
WARNING: THIS APPLIANCE MUST BE GROUNDED
Note to the installer
Please leave these instructions with the consumer.
Power supply
This appliance is equipped with an approx. 6 ft (approx. 1.8m ) long power cord with plug ready for connection to a 120 V, 15 A, 60 Hz power supply.
Miele, Inc.

National Headquarters
9 Independence Way
Princeton, NJ 08540
Phone: 800-843-7231
609-419-9898
Fax: 609-419-4298
www.mieleusa.com
Technical Service & Support Nationwide
Phone: 800-999-1360
Fax: 888-586-8056
Miele Limited

National Headquarters
55G East Beaver Creek Road
Richmond Hill, ON L4B 1E5
Phone: 800-643-5381
905-707-1171
Fax: 905-707-0177
www.miele.ca
info@miele.ca (general enquiries)
professional@miele.ca (commercial enquiries)
Mielecare National Service
Phone: 800-565-6435
905-850-7456
Fax: 905-850-6651
service@miele.ca (Tech. Service)
EasyManual