SHG 89 WF1 - Basket SAUTER - Free user manual and instructions
Find the device manual for free SHG 89 WF1 SAUTER in PDF.
User questions about SHG 89 WF1 SAUTER
0 question about this device. Answer the ones you know or ask your own.
Ask a new question about this device
Download the instructions for your Basket in PDF format for free! Find your manual SHG 89 WF1 - SAUTER and take your electronic device back in hand. On this page are published all the documents necessary for the use of your device. SHG 89 WF1 by SAUTER.
USER MANUAL SHG 89 WF1 SAUTER
GUIDE D'INSTALLATION & D'UTILISATION
INSTRUCTIONS FOR INSTALLATION AND USE
Hotte de cuisine
Cooker Hood
SHG86 - SHG88 - SHG89 - SHG879

Chere Cliente, Cher Client
RELATIONS CONSOMMATEURS
- Safety recommendations 19
- Environmental protection 20
Description of your appliance 21
2/INSTALLING YOUR APPLIANCE
- Using the evacuation mode 22
Using the recycling mode 22 -
Electrical connections 23
Assembling the hood 24 -
Filtering mode 24
Ducting mode 25
3 / USING YOUR APPLIANCE
Description of the control panel 27
4 / CARING FOR AND CLEANING YOUR APPLIANCE
- Cleaning the grease filters 28
- Changing the charcoal filter 28
- Cleaning and caring of the casing 29
- Changing the light bulb 29
Device disassembly 30 - Maintaining your appliance 31
5/TROUBLESHOOTING 32
6/ AFTER SALES SERVICE 32
Attention
Keep this user guide with your appliance. If the appliance is ever sold or transferred to another person, ensure that the new owner receives the user guide. Please become familiar with these recommendations before installing and using your oven. They were written for your safety and the safety of others.
SAFETY RECOMMENDATIONS
- This oven was designed for use by private persons in their homes.
- This appliance is to be used by adults.
Make sure that children do not touch and that they do not treat it as a toy. Make sure that they do not touch the appliance's control panel.
- When you receive the appliance, unpack or have it unpacked immediately. Give it an over-all general inspection. Make note of any concerns or reservations on the delivery slip and make sure to keep a copy of this form.
- Your appliance is intended for standard household use. Do not use it for commercial or industrial purposes or for any other purpose than that for which it was designed.
- Do not modify or attempt to modify any of the characteristics of this appliance. This would be dangerous to your safety.
- Repairs must only be carried out by an approved specialist.
- Always unplug the hood before cleaning it or performing other maintenance acts.
- Provide adequate ventilation for the room in the case of simultaneous use of the hood and other appliances powered by an energy source other than electricity. This will prevent the hood from aspirating the combustion gases.
- You should never "flambé" dishes under the hood or operate gas rings under the hood without placing cookware on them (the flames sucked up into the hood can damage the appliance).
- When frying food under the appliance, you must carefully monitor the preparation at all times.
Oils and grease brought to very high temperatures can catch fire. - Respect the recommended frequency of cleanings and filter replacements. The accumulation of grease deposits may cause a fire.
- The hood should never be used over a
combustible fuel burning stove (wood, coal, etc.).
- Never use steam or high-pressure devices to clean your appliance (requirement imposed by electrical safety).
- With a view to constantly improving our products, we reserve the right to modify their technical, functional or aesthetic characteristics, making any changes to their features considered necessary or desirable in view of technical progress.
- In order to easily locate the reference information for your appliance, we recommend that you note these data on the "After-Sales Service Department and Customer Relations" page.
(This page also explains to you where to find this information on your appliance.)
- Carefully follow the instructions contained in this user guide. The manufacturer declines all responsibility for any problems, damage or fire caused by the appliance if failing to observe the instructions contained in this user guide.
Warning
In the case of a kitchen heated by a device connected to a chimney (a stove, for example) the "filtering" version of the hood should be installed. Do not use the hood without grease filters.
Suitable ventilation should be provided in the room when the hood is used at the same time as appliances operated by gas or another combustible fuel.
ENVIRONMENTAL PROTECTION
- This appliance's packaging material is recyclable. Help recycle it and protect the environment by dropping it off in the municipal receptacles provided for this purpose.
- Your appliance also contains a great amount of recyclable material. It is marked with this label to

indicate the used appliances that should not be mixed with other waste. This way, the appliance recycling organised by your manufacturer will be done under the best possible conditions, in compliance with European Directive 2002/96/EC on Waste Electrical and Electronic Equipment. Contact your town hall or your retailer for the used appliance collection points closest to your home.
- We thank you doing your part to protect the environment.

Warning
Installation should only be performed by installers and qualified technicians

Warning
Remove the protective film from the grease filter before use.
DESCRIPTION OF YOUR APPLIANCE

- The appliance must be unplugged during installation or when any repairs or maintenance work is being performed.
- Ensure that the network voltage corresponds to the voltage noted on the identification plate located inside the hood.
- If the electrical installation at your residence requires any changes in order to hook up your Appliance, call upon a professional electrician.
- If the hood is being used in evacuation mode, do not connect the appliance to a combustion gas exhaust duct (boiler, chimney, etc.) or to a CMV (controlled mechanical ventilation) system.
- Under no circumstances should the exhaust duct empty into the attic.
- Install the hood at safe distance of at least 65~cm from an cooking hob.
This appliance can be installed in either suction version or filtering version.
The appliance is supplied in the filtering version, the charcoal filter is installed (Ref.SHK25AF1 for the models SHG86, SHG88, SHG89; Ref. SHK57AF1 for the model SHG879).
- USING THE DUCTING MODE
If you posses an outlet to the exterior (fig. 1)
Your hood can be connected to this outlet using a flue (minimum Ø 125mm that is enamelled, in aluminium, flexible or made of inflammable material).
Your cooker hood is a filtering version. All you need to do is to remove the charcoal filters first.

- USING THE FILTERING MODE
If you do not posses an oulet to the exterior (fig. 2)
All of our appliances can be used in recycling mode.
The air and steam coming from the appliance are purified by the charcoal filters and then circulated through the body of the appliance.

ELECTRICAL CONNECTIONS
During installation and maintenance operations, the appliance must be unplugged from the electrical grid; fuses must be cut off or removed. The electrical connections are made before the appliance is installed in its housing.
Ensure that
- the electrical installation has sufficient voltage,
- the electrical wires are in good condition,
- the diameter of the wires complies with the installation requirements.

Warning
If the electrical installation at your
residence requires any changes in order to hook up your appliance, call upon a professional electrician.

Warning
If the hood displays any malfunctions,
unplug the appliance or remove the fuse corresponding to the electrical socket where your appliance is plugged in.
Models SHG88, SHG89, SHG879:

Warning
This appliance must be grounded.
We cannot be held responsible for any accident resulting from an inexistent, defective or incorrect ground lead.
In case your appliance is not furnished with a non separating flexible cable and has no plug, or has not got any other device ensuring omnipolar disconnection from the electricity main, with a contact opening distance of at least 3mm such separating device ensuring disconnection from the main must be included in the fixed installation. This appliance is delivered with a H05VVF power cord that has three- 0.75mm^2 conductors (neutral, phase and ground). It must be connected to the main power supply (which should be a 230-240V single phase current) via a CE160083 standardised socket that should remain accessible after installation, in keeping with installation guidelines.
If the power cable is damaged, call the after-sales service department in order to avoid danger.
Model SHG86:

Warning
This appliance has such technical particulars that it belongs to class II insulation, therefore it must not be earthed. In case your appliance is not furnished with a non separating flexible cable and has no plug, or has not got any other device ensuring omnipolar disconnection from the electricity main, with a contact opening distance of at least 3mm such separating device ensuring disconnection from the main must be included in the fixed installation. This appliance is delivered with a H05VVF power cord that has two- 0.75mm^2 conductors (neutral and phase). It must be connected to the main power supply (which should be a 230-240V single phase current) via a CE160083 standardised socket that should remain accessible after installation, in keeping with installation guidelines. If the power cable is damaged, call the after-sales service department in order to avoid danger.
ASSEMBLING THE HOOD

Warning
The hood must be installed in compliance with all applicable regulations concerning the ventilation of premises. In France these regulations are described in DTU 61.1 from the CSTB. In particular, the evacuated air should never be conveyed to a duct used to evacuate smoke from appliances that use gas or other combustible fuels. Unused ducts may only be used after approval from a competent specialist.
The distance between the supporting surface for the cooking vessels on the hob and the lower part of the hood must be at least 650~mm . If the instructions for installation for the hob specify a greater distance, this has to be taken into account.
- Filtering mode
- Remove the grease filters: press inward on the clamp at the handle and pull the filter downward (Fig. 3).
- Only for SHG86-SHG88-SHG89 models: Take the filters support away moving the 2 lateral locks C (Fig.4).
- Cut a hole in the bottom of the pensile cupboard in order to settle the appliance (Fig. 5). The pensile cupboard bottom hob must be between 15 and 18mm thick.
Check that the fixing tabs (Fig. 6) to the wall unit are positioned at a height suited to the thickness of the bottom of the wall unit. If this distance is less than the thickness, increase it by unscrewing the 2 corresponding screws inside the hood.
- Prepare the connection to the mains, near the appliance.
- Prepare the air exhaust hole in the upper part of the pensile cupboard (Fig. 7).
- Insert the appliance in the hole.
Assembly for SHG86-SHG88-SHG89 models (Fig. 8): fit the appliance to the pensile cupboard by means of 4 screws.
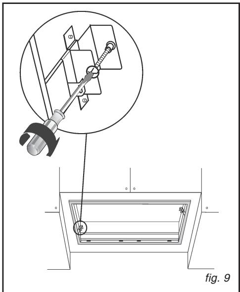
Assembly for SHG879 model (Fig. 9): tighten the 2 screws inside the appliance until it fits snug on the bottom of the wall unit. Do not tighten the 2 screws strongly to maintain the metallic clamps in




the right position.
- Connect a tube to the device air outlet, on such a height to reach the top of the pensile cupboard (the tube is not provided).
- Install the filters support again.
- Make the electrical connection.

Ducting mode
- Remove the grease filters: press inward on the clamp at the handle and pull the filter downward (Fig. 3).
- Only for SHG86-SHG88-SHG89 models: Take the filters support away moving the 2 lateral locks C (Fig.4).
- Cut a hole in the bottom of the pensile cupboard in order to settle the appliance (Fig. 5). The pensile cupboard bottom hob must be between 15 and 18mm thick.
Check that the fixing tabs (Fig. 6) to the wall unit are positioned at a height suited to the thickness of the bottom of the wall unit. If this distance is less than the thickness, increase it by unscrewing the 2 corresponding screws inside the hood.
-
Prepare the connection to the mains, near the appliance.
-
Insert the appliance in the hole.
Assembly for SHG86-SHG88-SHG89 models (Fig. 8): fit the appliance to the pensile cupboard by means of 4 screws.
Assembly for SHG879 model (Fig. 9): tighten the 2 screws inside the appliance until it fits snug on the bottom of the wall unit. Do not tighten the 2 screws strongly to maintain the metallic clamps in the right position.
Connect the air evacuation pipe with the device air outlet (Fig. 10): use a flexible pipe and block it in the device air outlet through a metallic clamp (the


tube and the clamp are not provided).
- Take away the coal filters (F) and the filters-stop (M) which are placed on the grease filter (Fig. 11).
- Install the filters support and the grease filters again.
- Make the electrical connection.

Non-return valve
In the case of installation with air evacuation to the outside, fitting the non-return valve prevents the wind from entering and the air from returning.
Caution: Before fastening the air exhaust pipe to the motor, check that the non-return valve on the air vent can move freely.

Warning
This is the filtering version of your cooker hood; you must first remove the charcoal filters.



Tip
For optimal use of your appliance, we recommend that you connect the hood to a 125 mm-diameter flue (not delivered with the appliance). Minimise the number of angles and bends and the lengths of the flue. In the event that the hood will be operated using out-door evacuation, you should ensure a sufficient inflow of fresh air to avoid a pressure deficiency in the room.
- DESCRIPTION OF CONTROL PANEL
Models SHG86 and SHG88
"A" = Light switch: Position "0": light off. Position "1": light on.
"B" = Motor switch: this switch increases or decreases the running speed of the motor by means of an electronic speed variator.
^ = LED: if on, it indicates that the motor is running.
Models SHG89 and SHG879
"A": turns the lights on/off;
Filter alarm: every 30 hours of operation the corresponding pilot lamp (S) comes on to indicate that the grease filters must be cleaned; every 120 hours of operation the corresponding pilot lamp (S) flashes to indicate that the grease filters must be cleaned and the charcoal filter replaced. To restart the hour counter (RESET), hold the button A pressed down for about 1" (while the pilot lamp S is on).
"B": drives the motor in first speed (the corresponding pilot lamp comes on); when pressing
the button a second time (while the pilot lamp is on), the TIMER is activated and thus the motor stops after 5' (the pilot lamp flashes); when holding it down for about 1", the motor cuts out.
"C": drives the motor in second speed (the corresponding pilot lamp comes on); when pressing the button a second time (while the pilot lamp is on), the TIMER is activated and thus the motor stops after 5' (the pilot lamp flashes).
"D": drives the motor in third speed (the corresponding pilot lamp comes on); when pressing the button a second time (while the pilot lamp is on), the TIMER is activated and thus the motor stops after 5' (the pilot lamp flashes).
"E": drives the motor in fourth speed (the corresponding pilot lamp comes on); when pressing the button a second time (while the pilot lamp is on), the TIMER is activated and thus the motor stops after 5' (the pilot lamp flashes).



Warning
Always unplug the hood before cleaning it or performing other maintenance acts.
Regular maintenance of your appliance is a guarantee of proper functioning, good performance and durability.

Warning
Failure to respect the guidelines for cleaning the appliance and filters may cause fires.
Please carefully adhere to the maintenance recommendations.
- CLEANING THE GREASE FILTERS
Pay special attention to the grease filters, that must be cleaned at regular intervals.
Filter cleaning frequency:
Models SHG86 - SHG88:
The grease filters require regular maintenance and must be cleaned periodically every two months.
Models SHG89 - SHG879:
The grease filters must be cleaned approximately once every 30 hours of operation (when the light button lamp S comes on). Once the cleaned filters are reinstalled, to reset the counter hold the light button A pressed down for about 1" while the corresponding pilot lamp (S) is on.
Wash the filters with a commercial household cleanser, then rinse fully and dry. They may be cleaned in a dishwasher making sure that the filter does not come into contact with dirty dishes or silver tableware.
- Removing the grease filters (fig.14)
Remove the grease filters in correspondence with the handle, push the stop inward and pull the filter downwards.
CHANGING THE CHARCOAL FILTER
Models SHG86 - SHG88:
The charcoal filters need to be changed every six months on average depending on the use made of the hood.
Models SHG89 - SHG879:
The charcoal filters to be changed approximately once every 120 hours of operation (when the light button lamp S flashes). To reset

the counter hold the light button A pressed down for about 1" while the corresponding pilot lamp (S) is on.
- Removing the charcoal filter/s (fig.15)
To take away the charcoal filters, firstly you need to take away the grease filters (Fig.14). Later, take away the filters-stop (M) and the charcoal filters (F) - Fig. 15.
Charcoal filters ref. no.
SHK25AF1 for the models SHG86, SHG88, SHG89.
SHK57AF1 for the model SHG879.
- CLEANING AND CARING OF THE CASING
Avoid products containing abrasives when cleaning the casing.
CHANGING THE LIGHT BULB

Warning
Before carrying out any work, the power supply to the hood must be turned off, either by unplugging it or by using the circuit breaker switch.
Model SHG86
To replace the lamps, take away the grease filters (Fig. 14); take away the filters support moving the 2 lateral locks C (Fig. 16). Tighten the lamps and replace them with the new ones of the same type.
Models SHG88, SHG89 and SHG879
To change the halogen bulbs open the cover levering from the proper slots (Fig.17). Change with a lamp of the same kind.



- DEVICE DISASSEMBLY (only for model SHG879)
Remove the grease filters (Fig. 18).
During the following operations always sustain the device.
Tighten the two screws inside the device (Fig.22); move the 2 tangs toward the device inside using the right carvings (Fig.23); extract the device from its side.



Warning
ABefore carrying out any work, the power supply to the hood must be turned off, either by unplugging it or by using the circuit breaker switch.
MAINTAINING YOUR APPLIANCE
| MAINTENANCE... | WHAT TO DO ? | PRODUCTS/ACCESSORIES TO USE |
| Top surface and accessories | Never use metal scouring pads, abrasive products or excessively stiff brushes. | To clean the body and the lighting port, you should use only commercial household cleaning products diluted in water and then rinse using clean water, drying with a soft cloth. |
| Grease filter | This filter traps fatty vapours and dust. This component plays an important role in ensuring the effectiveness of your hood. In the event of tough stains, use a non-abrasive cream, then rinse with clean water. | Use a commercial household cleaning product then rinse abundantly and dry. These filters can be cleaned in a vertical position in your dishwasher. (Do not allow them touch dirty dishes or silverware). |
| Charcoal filter | This filter traps odours and must be changed at least once every 6 months depending on your level of use. You should order these filters from your dealer (quoting the reference shown on the identification plate located inside the hood) and note the date the filter was changed. |
To keep your appliance in good working order, we recommend that you use Clearit household products.

Professional expertise for the general public
Clearit offers you professional products and adapted solutions for the daily upkeep of your household and kitchen appliances.
You may find them in conventional retail outlets, along with a complete line of by-products and consumables.
| SYMPTOMS | SOLUTIONS |
| The hood is not working... | Ensure that: · The power is not cut off. · A speed has been selected. |
| The hood is not operating effectively... | Ensure that: · The selected motor speed is sufficient for the quantity of smoke and vapours to be cleared. · The kitchen is sufficiently ventilated to allow une for fresh air intake. · The charcoal filter is not worn (hood operating in filtering mode). · The grease filter are cleaned. |
| The hood stopped working | Ensure that: · The power is not cut off. · The single-pole cut-off device was not activated. |
6 / AFTER SALES SERVICE
EN
Any maintenance on your equipment should be undertaken by:
- either your dealer,
- or another qualified mechanic who is an authorized agent for the brand appliances.
When making an appointment, state the full reference of your equipment (model, type and serial number). This information appears on the manufacturer's nameplate attached to your equipment.
EasyManual