SHD 901 X - Basket SAUTER - Free user manual and instructions
Find the device manual for free SHD 901 X SAUTER in PDF.
User questions about SHD 901 X SAUTER
0 question about this device. Answer the ones you know or ask your own.
Ask a new question about this device
Download the instructions for your Basket in PDF format for free! Find your manual SHD 901 X - SAUTER and take your electronic device back in hand. On this page are published all the documents necessary for the use of your device. SHD 901 X by SAUTER.
USER MANUAL SHD 901 X SAUTER
GUIDE D'INSTALLATION & D'UTILISATION
INSTRUCTIONS FOR INSTALLATION AND USE
Hotte de cuisine
Cooker Hood
SHD601 - SHD901

fauter
Chere Cllente, Cher Client
- RELATIONS CONSOMMATEURS
- Safety recommendations 18
- Environmental protection 19
Description of your appliance 20
2 / INSTALLING YOUR APPLIANCE
- Using the ducting mode 21
- Using the filtering mode 21
- Electrical connections 22
- Assembling the hood 23
Fixing the telescopic flues
Ducting mode 24
- Filtering mode 25
3 / USING YOUR APPLIANCE
Description of the control panel 26
4 / CARING FOR AND CLEANING YOUR APPLIANCE
- Cleaning the grease filters 27
- Changing the charcoal filter 27
- Cleaning and caring of the casing 28
- Changing the light bulb 28
- Maintaining your appliance 29
5/TROUBLESHOOTING 30
6/ AFTER SALES SERVICE 30

Attention
Keep this user guide with your appliance. If the appliance is ever sold or transferred to another person, ensure that the new owner receives the user guide. Please become familiar with these recommendations before installing and using your oven. They were written for your safety and the safety of others.
SAFETY RECOMMENDATIONS
- This oven was designed for use by private persons in their homes.
- This appliance is to be used by adults.
Make sure that children do not touch and that they do not treat it as a toy. Make sure that they do not touch the appliance's control panel.
- When you receive the appliance, unpack or have it unpacked immediately. Give it an over-all general inspection. Make note of any concerns or reservations on the delivery slip and make sure to keep a copy of this form.
- Your appliance is intended for standard household use. Do not use it for commercial or industrial purposes or for any other purpose than that for which it was designed.
- Do not modify or attempt to modify any of the characteristics of this appliance. This would be dangerous to your safety.
- Repairs must only be carried out by an approved specialist.
- Always unplug the hood before cleaning it or performing other maintenance acts.
- Provide adequate ventilation for the room in the case of simultaneous use of the hood and other appliances powered by an energy source other than electricity. This will prevent the hood from aspirating the combustion gases.
- You should never "flambé" dishes under the hood or operate gas rings under the hood without placing cookware on them (the flames sucked up into the hood can damage the appliance).
- When frying food under the appliance, you must carefully monitor the preparation at all times.
Oils and grease brought to very high temperatures can catch fire. - Respect the recommended frequency of cleanings and filter replacements. The accumulation of grease deposits may cause a fire.
- The hood should never be used over a
combustible fuel burning stove (wood, coal, etc.).
- Never use steam or high-pressure devices to clean your appliance (requirement imposed by electrical safety).
- With a view to constantly improving our products, we reserve the right to modify their technical, functional or aesthetic characteristics, making any changes to their features considered necessary or desirable in view of technical progress.
- In order to easily locate the reference information for your appliance, we recommend that you note these data on the "After-Sales Service Department and Customer Relations" page.
(This page also explains to you where to find this information on your appliance.)
-Carefully follow the instructions contained in this user guide. The manufacturer declines all responsibility for any problems, damage or fire caused by the appliance if failing to observe the instructions contained in this user guide.

Warning
In the case of a kitchen heated by a device connected to a chimney (a stove, for example) the "filtering" version of the hood should be installed. Do not use the hood without grease filters.
Suitable ventilation should be provided in the room when the hood is used at the same time as appliances operated by gas or another combustible fuel.
ENVIRONMENTAL PROTECTION
- This appliance's packaging material is recyclable. Help recycle it and protect the environment by dropping it off in the municipal receptacles provided for this purpose.
- Your appliance also contains a great amount of recyclable material. It is marked with this label to

indicate the used appliances that should not be mixed with other waste. This way, the appliance recycling organised by your manufacturer will be done under the best possible conditions, in compliance with European Directive 2002/96/EC on Waste Electrical and Electronic Equipment. Contact your town hall or your retailer for the used appliance collection points closest to your home.
- We thank you doing your part to protect the environment.

Warning
Installation should only be performed by installers and qualified technicians

Warning
Remove the protective film from the grease filter before use.
DESCRIPTION OF YOUR APPLIANCE

Air exhaust grid
Telescopic flues
Control panel
EN 2/INSTALLING YOUR APPLIANCE
- The appliance must be unplugged during installation or when any repairs or maintenance work is being performed.
- Ensure that the network voltage corresponds to the voltage noted on the identification plate located inside the hood.
- If the electrical installation at your residence requires any changes in order to hook up your Appliance, call upon a professional electrician.
- If the hood is being used in evacuation mode, do not connect the appliance to a combustion gas exhaust duct (boiler, chimney, etc.) or to a CMV (controlled mechanical ventilation) system.
- Under no circumstances should the exhaust duct empty into the attic.
- Install the hood at safe distance of at least 65~cm from an cooking hob.
This appliance can be installed in either suction version or filtering version.
The appliance is supplied in the filtering version, the charcoal filter is installed (Ref.SHK30AF1).
- USING THE DUCTING MODE
If you posses an outlet to the exterior (fig. 1)
Your hood can be connected to this outlet using a flue (minimum 125mm that is enamelled, in aluminium, flexible or made of inflammable material).
Your cooker hood is a filtering version. All you need to do is to remove the charcoal filter first.

- USING THE FILTERING MODE
If you do not posses an oulet to the exterior (fig. 2)
All of our appliances can be used in recycling mode.
The air and steam coming from the appliance are purified by the charcoal filter and then circulated through the body of the appliance.

ELECTRICAL CONNECTIONS
During installation and maintenance operations, the appliance must be unplugged from the electrical grid; fuses must be cut off or removed. The electrical connections are made before the appliance is installed in its housing.
Ensure that
- the electrical installation has sufficient voltage,
- the electrical wires are in good condition,
- the diameter of the wires complies with the installation requirements.

Warning
This appliance must be grounded.
We cannot be held responsible for any accident resulting from an inexistent, defective or incorrect ground lead.
In case your appliance is not furnished with a non separating flexible cable and has no plug, or has not got any other device ensuring omnipolar disconnection from the electricity main, with a contact opening distance of at least 3mm such separating device ensuring disconnection from the main must be included in the fixed installation. This appliance is delivered with a H05VVF power cord that has three- 0.75mm^2 conductors (neutral, phase and ground). It must be connected to the main power supply (which should be a 230-240V single phase current) via a CE160083 standardised socket that should remain accessible after installation, in keeping with installation guidelines.
If the power cable is damaged, call the after-sales service department in order to avoid danger.

Warning
If the electrical installation at your
residence requires any changes in order to hook up your appliance, call upon a professional electrician.

Warning
If the hood displays any malfunctions,
unplug the appliance or remove the fuse corresponding to the electrical socket where your appliance is plugged in.
ASSEMBLING THE HOOD
Warning
The hood must be installed in compliance with all applicable regulations concerning the ventilation of premises. In France these regulations are described in DTU 61.1 from the CSTB. In particular, the evacuated air should never be conveyed to a duct used to evacuate smoke from appliances that use gas or other combustible fuels. Unused ducts may only be used after approval from a competent specialist.
The distance between the supporting surface for the cooking vessels on the hob and the lower part of the hood must be at least 650~mm . If the instructions for installation for the hob specify a greater distance, this has to be taken into account.
- Fixing to the wall:
Draw a line on the wall in vertical line with your hob. Mark the first 2 holes to be drilled in the wall, respecting the distances indicated in fig. 3. Drill the 2 holes and fit the screw anchors provided.
Bear in mind that the distance between the lower edge of the hood and the hob must be min. 650mm
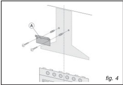
- Fix the metal bracket (A) to the wall using the 2 holes just drilled (fig. 4); the screws for fixing the bracket are provided. Use the 2 cut-out triangles on the bracket to position it exactly along the vertical axis of the hood.
- Hang the hood on the bracket (fig. 5). Adjust the horizontal position moving the hood to the right or left so that it is aligned with the wall units.
- When adjustment has been completed, without removing the hood, mark the other 4 holes to be drilled (C) in the wall. Remove the hood and drill the holes marked (8 mm diameter). Then use the 4 screw anchors and the 4 screws provided for final fixing.
Install the flange in the device air outlet and press slightly (fig.6/fig.6A). In the case of installation with air evacuation to the outside, fitting the nonreturn valve prevents the wind from entering and the air from returning. Caution: Before fastening the air exhaust pipe to the motor, check that the non-return valve on the air vent can move freely.





- FIXING THE TELESCOPIC FLUES
- Ducting mode
-
Adjust the width of the support bracket (D) of the telescopic flue by means of the screws (E) as shown in fig.7.
-
Then, by means of the screw anchors and screws (F) provided, fix the bracket to the ceiling in such a way that it is positioned along the axis with your hood.
- Connect the air outlet pipe to the air vent of the hood; use a flexible pipe and lock it to the air vent of the hood with a metal hose clamp - fig. 8 (pipe and clamp are not provided).
- For ducting hoods, turn the upper flue over so that the air exhaust grid is in the lower section (fig. 9).
- Plug in the hood.
- Insert the telescopic flues setting them on the hood; extend the upper flue to the ceiling and secure with the 2 screws (H) - fig. 10.

Warning
This is the filtering version of your
cooker hood; you must first remove the charcoal filter.



Tip
For optimal use of your appliance, we recommend that you connect the hood to a 125 mm-diameter flue (not delivered with the appliance). Minimise the number of angles and bends and the lengths of the flue. In the event that the hood will be operated using out-door evacuation, you should ensure a sufficient inflow of fresh air to avoid a pressure deficiency in the room.


- Filtering mode
- Adjust the width of the support bracket (D) of the telescopic flue by means of the screws (E) as shown in fig. 7.
- Then, by means of the screw anchors and screws (F) provided, fix the bracket to the ceiling in such a way that it is positioned along the axis with your hood.
- Mount the flange on the hood in correspondence to the air outlet point (fig. 11).
- Take the air baffle and fit a flexible pipe to it (125 mm diameter) locking it with a metal hose clamp (pipe and clamps are not provided); fit the air baffle to the upper flue (fig. 12) with 4 screws.
- Insert the telescopic flues setting them on the hood; extend the upper flue to the ceiling and secure with the 2 screws H (fig. 10).
- Extend the lower flue taping it in place and then connect the flexible pipe to the hood reduction (fig.13).
- Plug in the hood.
- Extend the lower flue downward setting it against the hood.



- DESCRIPTION OF CONTROL PANEL
A = light switch.
B = first speed motor ON/OFF switch.
C = second speed switch.
D = third speed switch.
E = motor on light.





fig. 16
Warning
Always unplug the hood before cleaning it or performing other maintenance acts.
Regular maintenance of your appliance is a guarantee of proper functioning, good performance and durability.
Warning
Failure to respect the guidelines for cleaning the appliance and filters may cause fires.
Please carefully adhere to the maintenance recommendations.
- CLEANING THE GREASE FILTERS
Pay special attention to the grease filters, that must be cleaned at regular intervals.
Filters cleaning frequency:
exactly how often depends on use (at least once every other month).
Wash the filters with a commercial household cleanser, then rinse fully and dry. They may be cleaned in a dishwasher making sure that the filter does not come into contact with dirty dishes or silver tableware.
- Removing the grease filters (fig.15)
Remove the grease filters by pushing the catch towards the rear of the hood and turning the filters outwards.
CHANGING THE CHARCOAL FILTER
If using the hood in the filtering version, the charcoal filter will periodically have to be replaced.
The charcoal filter must be replaced according to use: on the average once every 6 months.
- Removing the charcoal filter (fig.16)
Remove the grease filters by pushing the catch towards the rear of the hood and turning the filter outwards (fig.15).
Remove the charcoal filter: push the catch towards the inside and turn the filter so that the 2 filter clips slip out of their seats (fig. 16).
Charcoal filters ref. no.
SHK30AF1


- CLEANING AND CARING OF THE CASING
Avoid products containing abrasives when cleaning the casing.
CHANGING THE LIGHT BULB

Warning
Before carrying out any work, the power supply to the hood must be turned off, either by unplugging it or by using the circuit breaker switch.
Remove the grease filters by pushing the catch towards the rear of the hood and turning the filters outwards (fig. 15).
To replace the incandescence bulbs, remove the fixture: apply a slight pressure on the 2 stops and at the same time push the fixture downwards (fig.17).
Unscrew the bulb and replace with another of the same type.


Warning
ABefore carrying out any work, the power supply to the hood must be turned off, either by unplugging it or by using the circuit breaker switch.
MAINTAINING YOUR APPLIANCE
| MAINTENANCE... | WHAT TO DO ? | PRODUCTS/ACCESSORIES TO USE |
| Top surface and accessories | Never use metal scouring pads, abrasive products or excessively stiff brushes. | To clean the body and the lighting port, you should use only commercial household cleaning products diluted in water and then rinse using clean water, drying with a soft cloth. |
| Grease filter | This filter traps fatty vapours and dust. This component plays an important role in ensuring the effectiveness of your hood. In the event of tough stains, use a non-abrasive cream, then rinse with clean water. | Use a commercial household cleaning product then rinse abundantly and dry. These filters can be cleaned in a vertical position in your dishwasher. (Do not allow them touch dirty dishes or silverware). |
| Charcoal filter | This filter traps odours and must be changed at least once every 6 months depending on your level of use. You should order these filters from your dealer (quoting the reference shown on the identification plate located inside the hood) and note the date the filter was changed. |
To keep your appliance in good working order, we recommend that you use Clearit household products.

Professional expertise for the general public
Clearit offers you professional products and adapted solutions for the daily upkeep of your household and kitchen appliances.
You may find them in conventional retail outlets, along with a complete line of by-products and consumables.
| SYMPTOMS | SOLUTIONS |
| The hood is not working... | Ensure that: · The power is not cut off. · A speed has been selected. |
| The hood is not operating effectively... | Ensure that: · The selected motor speed is sufficient for the quantity of smoke and vapours to be cleared. · The kitchen is sufficiently ventilated to allow une for fresh air intake. · The charcoal filter is not worn (hood operating in filtering mode). |
| The hood stopped working | Ensure that: · The power is not cut off. · The single-pole cut-off device was not activated. |
6 / AFTER SALES SERVICE
EN
Any maintenance on your equipment should be undertaken by:
- either your dealer,
- or another qualified mechanic who is an authorized agent for the brand appliances.
When making an appointment, state the full reference of your equipment (model, type and serial number). This information appears on the manufacturer's nameplate attached to your equipment.
EasyManual