ESSL4ICN - Electric cooktop AEG-ELECTROLUX - Free user manual and instructions
Find the device manual for free ESSL4ICN AEG-ELECTROLUX in PDF.
User questions about ESSL4ICN AEG-ELECTROLUX
0 question about this device. Answer the ones you know or ask your own.
Ask a new question about this device
Download the instructions for your Electric cooktop in PDF format for free! Find your manual ESSL4ICN - AEG-ELECTROLUX and take your electronic device back in hand. On this page are published all the documents necessary for the use of your device. ESSL4ICN by AEG-ELECTROLUX.
USER MANUAL ESSL4ICN AEG-ELECTROLUX
Electrolux. Thinking of you.
Share more of our thinking at www.electrolux.com
CONTENTS
| Safety information | 2 | Care and cleaning | 5 |
| Safety instructions | 2 | What to do if... | 5 |
| Product description | 3 | Installation instructions | 5 |
| Operating instructions | 4 | Environment concerns | 10 |
| Helpful hints and tips | 4 | Garantie, Garanzia, Guarantee | 10 |
Subject to change without notice.
SAFETY INFORMATION
Before the installation and use of the appliance, carefully read the supplied instructions. The manufacturer is not responsible if an incorrect installation and use causes injuries and damages. Always keep the instructions with the appliance for future reference.
CHILDREN AND VULNERABLE PEOPLE SAFETY
Warning! Risk of suffocation, injury or permanent disability.
- This appliance can be used by children aged from 8 years and above and persons with reduced physical, sensory or mental capabilities or lack of experience and knowledge if they are supervised by an adult or a person who is responsible for their safety.
- Do not let children play with the appliance.
- Keep all packaging away from children.
- Cleaning and user maintenance shall not be made by children without supervision.
GENERAL SAFETY
- Do not use water spray or steam cleaner to clean the control panel.
SAFETY INSTRUCTIONS
INSTALLATION
Warning! Only a qualified person must install this appliance.
- Do not install or use a damaged appliance.
-
Obey the installation instruction supplied with the appliance.
-
Remove all the packaging.
Electrical connection

Warning! Risk of fire and electrical shock.
- All electrical connections must be made by a qualified electrician.
- The appliance must be earthed.
- Before carrying out any operation makesure that the appliance is disconnectedfrom the power supply.
- Use the correct electricity mains cable.
- Do not let the electricity mains cable tangle.
- Make sure the mains cable or plug (if applicable) does not touch the hot appliance or hot cookware, when you connect the appliance to the near sockets
- Make sure the appliance is installed correctly. Loose and incorrect electricity mains cable or plug (if applicable) can make the terminal become too hot.
- Make sure that a shock protection is installed.
USE

Warning! Risk of injury, burns or electric shock.
- Only use the appliance to operate the hob.
- Use this appliance in a household environment.
- Do not change the specification of this appliance.
- Do not let the appliance stay unattended during operation.
- Do not operate the appliance with wet hands or when it has contact with water.
- Set the cooking zone to "off" after each use. Do not rely on the pan detector.
PRODUCT DESCRIPTION
GENERAL OVERVIEW

- Do not use the appliance as a work surface or as a storage surface.

Warning! Risk of damage to the appliance.
- Do not keep hot cookware on the control panel.
- Be careful not let objects or cookware fall on the control panel. The surface can be damaged.
- Do not activate the cooking zones with empty cookware or without cookware.
CARE AND CLEANING

Warning! Risk of damage to the appliance.
- Clean the appliance with a moist soft cloth. Only use neutral detergents. Do not use abrasive products, abrasive cleaning pads, solvents or metal objects.
DISPOSAL

Warning! Risk of injury or suffocation.
- Contact your municipal authority for information on how to discard the appliance correctly.
- Disconnect the appliance from the mains supply.
- Cut off the mains cable and discard it.
SERVICE
- Contact the Service to repair the appliance. We recommend only the use of original spare parts.

Control knobs
THE CONTROL KNOB


Illuminated control knob

Assignment of the control knob
OPERATING INSTRUCTIONS
To use the appliance, push the control knob. The control knob comes out. To switch on and increase the heat setting turn the knob clockwise. To decrease the heat setting turn the knob counter-clockwise. To switch off turn the knob to the 0.
| 0 | The zone is off |
| ∑ | Keep warm |
| 1 | Minimum heat setting |
| 9 | Maximum heat setting |
| ◎ | Activates outside ring |
ACTIVATION AND DEACTIVATION OF THE OUTER RINGS
If you connect the appliance to the hob with the multiple cooking zones, you can adjust
HELPFUL HINTS AND TIPS
EXAMPLES OF COOKING APPLICATIONS
The data in the table is for guidance only.
| Heat setting | Use to: | Time | Hints |
| -1 | Keep cooked foods warm | as required | Cover the food |
| 1-2 | Hollandaise sauce, melt: butter, choco- late, gelatine | 5-25 min | Mix occasionally |
the surface you cook to the dimension of the cookware.
You can activate it only for the cooking zones with outer rings.
To activate the outer ring turn the knob clockwise, through a light resistance, to the
. Then turn the knob counterclockwise to the necessary heat setting. To deactivate turn the knob to the 0 .
Do the procedure again to deactivate the outer ring.

The knob illumination comes on when the appliance operates.
| Heat setting | Use to: | Time | Hints |
| 1-2 | Solidify: fluffy omelettes, baked eggs | 10-40 min | Cook with a lid on |
| 2-3 | Simmer rice and milkbased dishes, heating up ready-cooked meals | 25-50 min | Add at least twice as much liquid as rice, stir milk dishes part way through |
| 3-4 | Steam vegetables, fish, meat | 20-45 min | Add a few tablespoons of liquid |
| 4-5 | Steam potatoes | 20-60 min | Use max. 1/4 l water for 750 g of potatoes |
| 4-5 | Cook larger quantities of food, stews and soups | 60-150 min | Up to 3 l liquid plus ingredients |
| 6-7 | Gentle fry: escalope, veal cordon bleu, cutlets, rissoles, sausages, liver, roux, eggs, pancakes, doughnuts | as required | Turn halfway through |
| 7-8 | Heavy fry, hash browns, loin steaks, steaks | 5-15 min | Turn halfway through |
| 9 | Boil large quantities of water, cook pasta, sear meat (goulash, pot roast), deep fry chips | ||
CARE AND CLEANING
-
Clean the front of the appliance with a soft cloth and hot water.
-
Do not use scouring agents and abrasive sponges.
WHAT TO DO IF...
| Problem | Possible cause and remedy |
| The appliance does not operate. | Examine the fuse in the electrical system of the house in the fuse box. If the fuses blow time after time, speak to an authorized electrician. |
| If you tried the above solutions and cannot repair the problem, speak to your dealer or the Customer Care Department. Give the data from the rating plate. If you operated the appliance incorrectly, the servicing by a customer service techni- | cian or dealer will not be free of charge, even during the warranty period. The instructions about the customer service and conditions of guarantee are at the end of this manual or in the guarantee booklet. |
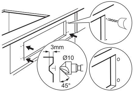
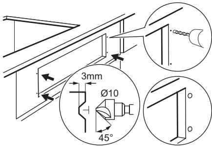
INSTALLATION INSTRUCTIONS
TECHNICAL DATA
Dimensions
Height / Width
90 mm / 410 mm

Warning! During installation in combustible matter, NIN SEV 1000 and fire protection guidelines and regulations of the Association of Cantonal Fire Insurance shall be strictly adhered to.
SAFETY INSTRUCTIONS

Warning! You must read these! Fully obey the laws, ordinances, directives and standards in force in the country where you use the appliance (safety regulations, recycling regulations, electrical safety rules etc.)! Only a qualified electrician must install the appliance!

Warning! Risk of injury from electrical current.
The combination appliance is live.
- Observe electrical safety rules.
- Rated voltage of the combined appliances must match.
- Fit plug and socket connections together properly.

Assembly
- Install correctly to give anti-shock protection.
- Loose and incorrect plug and socket connections can make the terminal become too hot.
- A qualified electrician must install the clamping connections correctly.













Assembly variation






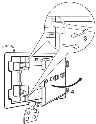
ELECTRICAL CONNECTION
Use a power cable of H05VV-F or higher. Connect the appliance to a socket supply line. If there is no socket supply line, the electrical installation must have an isolation device which lets you disconnect the appliance from the power supply. The isolation device must have a contact opening width
of minimum 3 mm (in reference to NIN SEV 1000). The customer must have a socket for the electrical connection that is accessible and outside the coordination room. The length of the connection cable must be approximately 120~cm with lines connected directly to the power supply.
| 400V 3~ | 400V 2~ |
| PE L1 L2 L3 ① ② ③ ④ ⑤ ⑥ | PE L1 L2 ① ② ③ ④ ⑤ ⑥ |
Important! Only a qualified person can connect the appliance to the electricity supply.
- Do the electrical connections as in the connection illustration.
Connection diagram 400V
Phase definitions: L1, L2, L3 (or R, S, T).
- Secure the cable grip.
Warning! If service is required always disconnect the appliance from the power supply.




ENVIRONMENT CONCERNS
The symbol on the product or on its packaging indicates that this product may not be treated as household waste. Instead it should be taken to the appropriate collection point for the recycling of electrical and electronic equipment. By ensuring this product is disposed of correctly, you will help prevent potential negative consequences for the environment and human health, which could otherwise be caused by inappropriate waste handling of this product. For more detailed information about recycling of this product, please contact your local council, your household waste disposal service or the shop where you purchased the product.
PACKAGING MATERIAL
The packaging materials are friendly to the environment and can be recycled. The plastic components are identified by marking: >PE<, >PS< , etc. Discard the packaging materials as household waste at the waste disposal facilities in your municipality.
Dispose of the appliance at any shop that sells new appliances or at the official SENS collection point. You can find the list of the official SENS collection points at www.sens.ch.
CH GARANTIE, GARANZIA, GUARANTEE
KUNDENDIENST, SERVICE-CLIENTÉLE, SERVIZIO CLIENTI, CUSTOMER SERVICE CENTRES
| Servicesstellen | Points de Service | Servizio dato vendita | Point of Service |
| 5506 Mägenwil/Zürich Industri-estrasse 10 | 3018 Bern Morgen-strasse 131 | 1028 Préverenges Le Trési 6 | 6928 Manno Via Violino 11 |
| 9000 St. Gallen Zürcherstrasse 204e | Service-Helpline 0848 848 111 service@electrolux.ch | ||
| 4052 Basel St. Jakob-Turm Birssstrasse 320B | |||
| 6020 Emmenbrücke Seetal-strasse 11 | |||
| 7000 Chur Comercialstrasse 19 | |||
Ersatzteilverkauf/Points de vente de rechange/Vendita pezzi di ricambio/spare parts service:
5506 Mägenwil, Industriestrasse 10, Tel. 0848 848 111
Fachberatung/Verkauf/Demonstration/Vente/Consulente (cucina)/Vendita
8048 Zurich, Badenerstrasse 587, Tel. 044 405 81 11
Warranty For each product we provide a two-year guarantee from the date of purchase or delivery to the consumer (with a guarantee certificate, invoice or sales receipt serving as proof). The guarantee covers the costs of materials, labour and travel. The guarantee will lapse if the operating instructions and conditions of use are not adhered to, if the product is incorrectly installed, or in the event of damage caused by external influences, force majeure, intervention by third parties or the use of non-genuine components.
C E

EasyManual