XR-L500 - Radio SONY - Kostenlose Bedienungsanleitung
Finden Sie kostenlos die Bedienungsanleitung des Geräts XR-L500 SONY als PDF.
Questions des utilisateurs sur XR-L500 SONY
0 question sur cet appareil. Repondez a celles que vous connaissez ou posez la votre.
Poser une nouvelle question sur cet appareil
Laden Sie die Anleitung für Ihr Radio kostenlos im PDF-Format! Finden Sie Ihr Handbuch XR-L500 - SONY und nehmen Sie Ihr elektronisches Gerät wieder in die Hand. Auf dieser Seite sind alle Dokumente veröffentlicht, die für die Verwendung Ihres Geräts notwendig sind. XR-L500 von der Marke SONY.
BEDIENUNGSANLEITUNG XR-L500 SONY
Bedienungsanleitung DE
Mode d'emploi FR
BittenehmenSie sich etwas Zeit,umden Geräte-Pass vollständig auszufullen.Wosich dieser befindet,entnehmenSiebitdem in der hinterenUmshlagseite dieser Bedienungsanleitung.
Zur Installation und zum Anschluß siehe die mitgelieferte Installations-/Anschlußanleitung.
Danke, daß Sie sich für diesen Kassettenspieler von Sony entschieden haben. Sie haben folgende zusätzliche Möglichkeit, um die vielfältigen Funktionen des Geräts noch better nutzen zu konnen:
- Gesondert erhältliches Bedienungszubehör
Joystick RM-X4S
Kartenfernbedienung RM-X114
Nur XR-CA600X/CA600V/CA600
- Gesondert erhältliche CD/MD-Geräte (Wechsler und Player)*1.
- CD TEXT-Informationen (werden angezeigt, wenn eine CD mit CD TEXT* auf einem angeschlossenen, gesondert erhältlichen CD-Gerät mit CD TEXT-Funktion wiedergegeben wird).
1 Dieses Gerät arbeitet nur zusammen mit Sony-Produkten.
2 Eine CD mit CD TEXT ist eine Audio-CD, die Informationen wie den Namen der CD, den Namen des Interpreten und die Namen der Titel enthalt. Diese Daten sind auf der CD aufgezeichnet.
Inhalt
Lage und Funktion der Teile und Bedienelemente 4
Sicherheitsmaßnahmen 6
Hinweise zu Kassetten. 6
Vorbereitungen
Zurücksetzen des Geräts 7
Abnehmen der Frontplatte. 8
Einstellen der Uhr 9
Kassettenspieler
Wiedergeben einer Kassette 9
Wiedergeben einer Kassette in verschiedene Modi 10
Radio
Automatisches Speichern von Radiosendern BTM (Best Tuning Memory - Speicherbelegungsautomatik). 10
Einstellen gespeicherter Sender. 11
Speichern bestimmter Radiosender. 11
Einstellen eines Senders anhand einer Liste (nur XR-CA600X/CA600V/CA600) -List-up 12
RDS
Ubersicht über RDS. 12
Automatisches Neueinstellen von Sendern für optimale Empfangsqualität — AF-Funktion. 13
Empfangen von Verkehrsdurchsagen
— TA/TP 14
Speichern von RDS-Sendern zusammen mit der AF- und TA-Einstellung 14
Einstellen von Sendern nach Programmtyp PTY 15
Automatisches Einstellen der Uhr CT 16
Weitere Funktionen
Der Joystick. 16
Einstellen der Klangeigenschaften 18
Schnelles Dampfen des Tons. 18
Wechseln der Klang- und Anzeigeeinstellungen - Menu 18
Auswahlen der Klangposition My Best sound Position (Beste Klangposition) (MBP) 19
Einstellen des Equalizers 20
CD/MD-Gerät (gesondert erhältlich) (nur XR-CA600X/CA600V/CA600)
Wiedergeben einer CD oder MD 21
Informationen im Display. 21
Wiederholtes Wiedergegeben von Titeln -Repeat Play. 22
Wiedergeben von Titeln in willkürlicher Reihenfolge — Shuffle Play 22
Benennen einer CD
— Disc Memo 22
Ansteuern einer CD/MD anhand des Namens List-up 24
Auswahlen bestimmter Titel für die Wiedergabe — Bank 24
Weitere Informationen
Wartung 25
Ausbauen des Geräts. 27
Technische Daten 28
Störungsbehebung. 29
Fehleranzeigen 30
Lage und Funktion der Teile und Bedienelemente
NäheresfindensieaufdenangegebeneSeiten.
TAPE: Bei der Kassettenwiedergabe RADIO: Beim Radioempfang MENU: Im Menümodus CD/MD: Bei der CD/MD-Wiedergabe (gesondert erhält) (nur XR-CA600X/CA600V/CA600)

Lautstärkeregler 14
2 Taste MBP 19
3 Taste SOURCE (Einschalten/Kassette/ Radio/CD*1/MD*1) 5,9,10,11,14,20, 21,23
4 Display
5 Taste (Auswerfen) (befindet sich an der Vorderseite des Geräts hinter der Frontplatte) 9
6 Empfänger für die Kartenfernbedienung
7 Taste MENU 9, 10, 14, 16, 19, 20, 22, 23, 24, 25
3 Taste DISPLAY/PTY (Ändern des Anzeigemodus/Programmtypauswahl)1 12, 15, 21, 23
9 Taste SCROLL1 21
10 Taste OPEN 8, 9
XR-CA600X/CA600V/CA600: Taste LIST
RADIO 12
CD/MD 23,24
XR-L500X/L500V/L500:
12 Taste EQ7 20
13 Taste RESET (befindet sich an der Vorderseite des Geräts hinter der Frontplatte) 7
14 Zahlentasten
TAPE
③ REP 10
RADIO 11, 13, 14
CD/MD
REP 22
(6) SHUF 22
15 Taste MODE (▶)
TAPE 9,10
RADIO 10, 11, 14
CD/MD 21, 23
16 Taste SOUND 18, 19
17 Taste AF 13, 14
18 Taste TA 14
19 Taste OFF (Stop/Ausschalten)*2 5,8,9,21
20 Taste ENTER
RADIO 12, 14
MENU 9,10
25
CD/MD 23,24
1 nur XR-CA600X/CA600V/CA600
2 Warnhinweis zur Installation des Geräts in einem Auto mit Zündschoß ohne Zubehörposition ACC oder I
Nachdem Sie die Zündung ausgeschelt haben, drücken Sie am Gerät unbedingt 2 Sekunden lang (OFF), um die Uhrzeitanzeige auszuschalten.
Andernfalls wird die Uhrzeitanzeige nicht ausgeschaltet, und der Autobatterie wird Strom entzogen.

Kartenfernbedienung RM-X114 (gesondert erhältlich)

Die entsprechenden Tasten auf der Kartenfernbedienung haben dieselbe Funktion wie die Tasten an thisem Gerät.
1 Taste DSPL
2 Taste MENU
3 Taste SOURCE
4 Tasten SEEK ( / )
5 Taste SOUND
6 Taste OFF
7 Tasten VOL (- / +)
8 Taste MODE
9 Taste LIST3
10 Tasten DISC3/PRESET(↑/↓)
11 Taste ENTER
12 Taste ATT
*3 Nicht verfügbar beim XR-L500X/L500V/L500
Hinweis
Wenn Sie das Gerät ausschalten, indem Sie OFF 2 Sekunden lang drücken, können Sie es nicht mit der Kartenfernbedienung bedienen. Drücken Sie zunachst SOURCE am Gerät, oder legen Sie eine Kassette ein, um das Gerät zu aktivieren.
Tip
Informationen zum Ausweiseln der Batterien finden. Sie im Abschnitt „Austauschen der Lithiumbatterie" (Seite 26).
Sicherheitsmaßnahmen
- Wenn das Fahrzeug längerere Zeit in direktem Sonnenlicht geparkt war, halten Sie das Gerät etwas abkühlen, bevor Sie es einschalten.
- Wird das Gerät nicht mit Strom versorgt, überprüfen Sie zunachst die Anschlüsse. Wenn die Anschlüsse in Ordnung sind, überprüfen Sie die Sicherung.
- Wenn von den Lautsprechern eines Zweilautsprechersystems kein Ton ausgegeben wird, stellen Sie den Fader-Regler in die mittlere Position.
- Bei der Kassettenwiedergabe erwartt sich die Kassette aufgrund des eingebauten Endverstärkers nach einiger Zeit. Dies ist keine Fehlfunktion.
Sollten an Ihrem Gerät Probleme aufreten oder sollen den Sie Fragen haben, auf die in dieser Anleitung nicht eingegangen wird, wenden Sie sichitte an ihren Sony-Handler.
So bewahren Sie die hohe Tonqualität
Achten Sie darauf, keine Säfte oder andere zuckerhaltige Getränke auf das Gerät oder die Kassetten zu verschütten.

Hinweise zu Kassetten
Pflege der Kassetten
- Berühren Sie nicht die Oberfläche des Bandes, da Staub oder Schmutz letztlich die Tonköpfeverschmutzen.
- Halten Sie Kassetten von Geräten mit eingebauten Magneten wie Laufsprechern und Verständern fernen. Andernfalls werden die bespielten Kassetten möglicherweise gelöscht, oder es kommt zu Tonverzerrungen.
- Setzen Sie Kassetten weder direktem Sonnenlicht noch großer Kälte oder Feuchtigkeit aus.
- Wenn das Band nicht gut gespannt ist, kann es sich im Gerät verfangen. Spannen Sie das Band, bevor Sie es einlagen, indem Sie die Spule mit einem Stift oder einem ähnlichen Gegenstand drehen.

- Verformungen und lose Aufkleber konnen beim Einlagen und Auswerfen von Kassetten Probleme verursachen. Entfernen Sie lose Aufkleber, oder ersetzen Sie sie durch neue.

- Bei der Kassettenwiedergabe kann es vorkommen, daß der Ton verzerrt ist. Der Tonkopf des Kassettenspielers sollte nach jeweils 50 Gebrauchsstunden gereinigt werden.
Es empfeihlt sich, Kassetten mit einer Spieldauer von über 90 Minuten - wenn überhaupt - nur für langes, ununterbrochenes Wiedergeben zu verwenden
Das Band in diesen Kassetten ist sehr Dunn und leicht zu überdehn.
Häufiges Starten und Stoppen kann bei diesen Bändern dazu führen, daß sie in den Kassettenspielermechanismus hineingezogen werden.

Vorbereitungen
Zurücksetzen des Geräts
Bevor Sie das Gerät zum ersten Mal benutzen oder wenn Sie die Autobatterie ausgetauscht haben, müssen Sie das Gerät zürücksetzen.
Nehmen Sie die Frontplatte ab, und drücken Sie die Taste RESET mit einem spitzen Gegenstand, wie z. B. einem Kugelschreiber.

Hinweis
Wenn Sie die Taste RESET drücken, werden die eingestellte Uhrzeit und eine weitere gespeicherte Einstellungen gelöscht.
Abnehmer der Frontplatte
Um einem Diebstahl des Geräts vorzubeugen, kann die Frontplatte abgenommen werden.
Warnton
Wenn Sie den Zündschlüssel in die Position OFF stellen, ohne die Frontplatte abzunehmen, ertont eine Sekunden lang ein Warnton.
Wenn Sie einen gesondert erhältlichen Verstärker anschließen und den integrierten Verstärker nicht benutzen, wird der Signatlon deaktiviert.
1 Drucken Sie OFF\*.
Die Kassettenwiedergabe bzw. der Radioempfang wird beendet. Die Tastenbeleuchtung und das Display bleiben eingeschaltet.
- Wenn Ihr Fahrzeug nicht über ein Zündschloß mit Zubehörposition (ACC oder I) verfügt, halten Sie unbedingt 2 Sekunden lang (OFF) gedrückt, um das Gerät vollständig auszuschalten. Andernfalls wird der Autobatterie weiterhin Strom entzogen.
2 Drucken Sie (OPEN), schieben Sie dann die Frontplatte nach rechts, undziehen Sie sie an der linken Seite vorsichtig heraus.

Hinweise
- Wenn Sie die Frontplatte bei eingeschalteten Gerät abnehmer, schaltet sich das Gerät automatisch aus, um eine Beschädigung der Laufsprecher zu vermeiden.
- Lassen Sie die Frontplatte nicht fallen, und drücken Sie nicht zu stark auf die Frontplatte und das Display.
- Schützen Sie die Frontplatte vor Hitze bzw. hohen Temperaturen und vor Feuchtigkeit. Lassen Sie sie nicht in geparkten Autos, auf dem Armaturenbrett oder auf der Hutablage liegen.
Tip
Bewahren Sie die Frontplatte im mitgelieferten
Behalter auf, wenn Sie sie bei sich tragen.
Anbringen der Frontplatte
Setzen Sie die Aussparung A an der Frontplatte am Stift am Gerät an, und drücken Sie dann die linke Seite behutsam hinein.

Hinweis
Legen Sie auf der Innenseite der Frontplatte nichts ab.
Einstellen der Uhr
Die Uhr zeigt die Uhrzeit im 24-Stunden-Format digital an.
Beispiel: Einstellen der Uhr auf 10:08
1 Drücken Sie (MENU), und drücken Sie anschließend eine Seite von DISC/PRESET oder PRESET so oft, bis „CLOCK" erscheint.

1 Drucken Sie ENTER. Die Stundenanzeige blinkt
2 Stellen Sie mit einer Seite von DISC/PRESET oder PRESET die Stunden ein.
Drucken Sie die Seite (+) von SEEK. Die Minutenanzeige blinkt.
4 Stellen Sie mit einer Seite von DISC/PRESET oder PRESET die Minuten ein.
2 Drucken Sie ENTER

Die Uhr beginnt zu laufen. Wenn Sie die Uhreinstellung vorgenommen haben, erscheint im Display wieder die Anzeige für den normalen Wiedergabemodus.
Tips
- Mit Hilfe der RDS-Funktion konnen Sie die Uhr auch automatisch einstellen lessen (Seite 16).
- Wenn der Modus D.INFO auf ON gesetzt ist, wird die Uhrzeit immer angezeigt (Seite 18).
Kassettenspieler
Wiedergeben einer Kassette
1 Drucken Sie (OPEN), und legen Sie eine Kassette ein. Die Wiedergabe beginnt automatisch.

2 Schlieben Sie die Frontplatte.
Wenn bereits eine Kassette eingelegt ist, drücken Sie zum Starten der Wiedergabe SOURCE so oft, bis ,FORWARD" oder ,REVERSE" erscheint.
FORWARD: Die nach oben weisende Seite wird wiedergegeben.
REVERSE: Die nach unten weisende Seite wird wiedergegeben.
| Funktion | Taste |
| Ändern der Bandwiedergabe-richtung | MODE (▲▶) |
| Stoppen der Wiedergabe | OFF |
| Auswerfen der Kassette | OPEN und dann ▲ |
| Überspringen von Titeln - Automatischer Musiksensor | SEEK (▲▶/▲▶) [pro Titel einzelmal drücken] |
| Vorwärs-/ Rückwärtssuchen - ManuelleSuche | SEEK (▲▶/▲▶) [bis zur gewündsten Stelle gedrückt halten] |
Hinweis
Die AMS-Funktion arbeitet in folgenden Fällen möglicherweise nicht korrekt:
Die leeren Passagen zwischen den Titeln sind kürzer als 4 Sekunden.
- Der Bandteil zwischen den Titeln ist verraucht.
- Das Band enthalt lange Passagen, die sehr leise oder geräuschlos sind.
Wiedergeben einer Kassette in verschiedenen Modi
Sie können eine Kassette in verschiedenen Modi wiedergegeben:
METAL dient zum Wiedergeben einer Metalloder CrO2-Kassette.
- BL.SKP (Überspringen leerer Passagen) dient zum Überspringen von leeren Passagen von mehr als 8 Sekunden Länge.
- ATA (Automatische Tuner-Aktivierung) dient zum automatischen Einsatzen des Radios beim Spulen der Kassette.
1 Drücken Sie während der Wiedergabe einer Kassette die Taste (MENU).
2 Drücken Sie eine Seite von DISC/PRESET oder PRESET so oft, bis der gewünschte Modus erscheint.
3 Wahlen Sie mit der Seite (+) von SEEK die Einstellung „ON". Beispiel: ATA-Modus

Die Wiedergabe im ausgewählten Modus beginnt.
4 Drucken Sie ENTER
Wenn Sie wieder in den normalen Wiedergabemodus schalten möchten, wahren Sie in Schritt 3 „OFF".
Wiederholtes Wiedergeben von Titeln — Repeat Play
Drucken Sie während der Wiedergabe (3) (REP) so oft, bis „REP-ON“ im Display erscheint.
Wenn Sie wieder in den normalen Wiedergabemodus schalten möchten, wahren Sie „REP-OFF".
Tip Drucken Sie während der wiederholten Wiedergabe (MODE)..,REP" erflicht im Display, und die wiederholte Wiedergabe wird beendet.
Radio
Für jeder Frenzbereich (FM1, FM2, FM3, MW und LW) konnen Sie bis zu 6 Sender speichern.
Vorsicht
Wenn Sie während der Fahrt Sender einstellen, sollen den Sie die BTM-Funktion verwenden. Andernfalls besteht Unfallgefahr.
Automatisches Speichern von Radiosendern
BTM (Best Tuning Memory - Speicherbelegungsautomatik)
Das Gerät wählt im ausgewählten Frequenzbereich die Sender mit den stärksten Signalen aus und speichert diese in der Reihenfolge ihrer Frenzen.
1 Drücken Sie mehrmals (SOURCE), um das Radio auszuwahlen.
2 Drücken Sie mehrmals MODE um den Frequenzbereich auszuwahlen.
3 Drücken Sie (MENU), und drücken Sie anschließend eine Seite von DISC/PRESET oder PRESET so oft, bis „BTM" erscheint.
4 Drucken Sie ENTER. Ein Signalton ist zu horen, und die Einstellung wird gespeichert.
Hinweise
- Wenn aufgrund schwacher Signale nur weniger Sender in gutter Qualität zu empfangen sind, bleiben auf einigen Stationstanten die vorher gespeicherten Sender erhalten.
- Wird im Display eine Nummer angezeigt, beginnt das Gerät beim Speichern von Sendern mit der angezeigten Nummer.
Einstellen gespeicherter Sender
1 Drucken Sie mehrmals (SOURCE), um das Radio auszuwahlen.
2 Drücken Sie mehrmals MODE, um den Frequenzbereich auszuwahlen.
3 Drücken Sie die Stationstaste (① bis ⑥), auf der der gewünschte Sender gespeichert ist.
Tip
Drücken Sie eine Seite von DISC/PRESET oder PRESET, um die Sender in der gespeicherten Reihenfolge zu empfangen (Senderspeichersuchfunktion).
Wenn das Einstellen gespeicherter Sender nicht Funktioniert
Drücken Sie eine Seite von (SEEK), um den Sender zuuchen (automatischer Sendersuchlauf).
Der Suchlauf stoppt, wenn ein Sender empfangen wird. Wiederholen Sie diesen Vorgang, bis das Gerät den gewürschten Sender empfängt.
Tips
- Wenn der automatische Sendersuchlauf zu oft stoppt, aktivieren Sie den lokalen Suchmodus, sondern die Sueche auf Sender mit stärkeren Signalen beschrankt wird (siehe „Wechseln der Klang- und Anzeigeeinstellungen" auf Seite 18).
- Wenn Sie die Freqenz des gewünschten Senders kennen, halten Sie eine Seite von (SEEK) gedrück, bis die Freqenz in etwas erreicht ist, und drücken Sie (SEEK) dann so oft, bis die gewünschte Freqenz bereits eingestellt ist (manuelle Sendersuche).
Bei schlechtem UKW-Stereoempfang
Wahlen Sie den monauralen Empfangsmodus
(siehe „Wechseln der Klang- und Anzeigeeinstellungen“ auf Seite 18). Die Tonqualität wird dadurch better, der Ton wird zugleich aber monaural (die Anzeige „ST“ wird ausgeblendet).
Speichern bestimmter Radiosender
Sie konnen die gewünschten Sender manuell unter einer beliebigen Stationstaste speichern.
1 Drücken Sie mehrmals (SOURCE), um das Radio auszuwahlen.
2 Drücken Sie mehrmals MODE um den Frequenzbereich auszuwahlen.
3 Drücken Sie eine Seite von (SEEK), um den Sender einzustellen, den Sie speichern wollen.
4 Drücken Sie 2 Sekunden lang die gewünschte Stationstaste (① bis ⑥), bis „MEM“ erscheint. Die Stationstastenanzeige erscheint im Display.
Hinweis
Wenn Sie auf der gleichen Stationstaste einen anderen Sender speichern, wird der zuvor gespeicherte Sender gelöscht.
Einstellen eines Senders anhand einer Seite (nur XR-CA600X/CA600V/CA600)
List-up
1 Drücken Sie während des Radioempfangs kurz (LIST).
Die Frequenz oder der Name des momentan eingestelltten Senders blinkt.

2 Drücken Sie eine Seite von
DISC/PRESET) mehrmals, bis Sie den gewünschten Sender gefunden haben.
Wenn fur den ausgewählten Sender kein Name angegeben ist, entscheidt die Frequenz im Display.
3 Stellen Sie mit ENTER den gewünschten Sender ein.
RDS
Übersicht über RDS
UKW-Sender, die RDS (Radiodatensystem) unterstützt, strahlen zusammen mit den normalen Radioprogrammsignalen nicht hörbare, digitale Informationen aus. Beim Empfang eines RDS-Senders konnen beispielsweise folgende Informationen angezeigt werden.

| Funktion | Taste |
| Wechseln der angezeigten Information | DISPLAY/PTY oder PTY/DSPL |
RDS-Funktionen
Mit RDS-Daten stehen Ihnen weitere nützliche Funktionen zur Verfügung, z. B.:
- Automatisches Neueinstellen eines
Senders, was vor allem bei langen Fahrten über große Entfernungen hinweg hilfreich ist. — AF Seite 13
- Empfangen von Verkehrsdurchsagen, auch wenn Sie einen anderen Sender oder eine andere Tonquelle eingestellt haben. — TA → Seite 14
- Auswahlen von Sendern nach Programmtyp der Sendungen. — PTY → Seite 15
- Automatisches Einstellen der Uhrzeit. — CT → Seite 16
Hinweise
- Je nach Land oder Region stehen nicht alle RDS-Funktionen zur Verfügung.
Die RDS-Funktion arbeitet möglicherweise nicht korrekt, wenn die Sendesignale zu schwach sind oder wenn der eingestellte Sender keine RDS-Daten ausstrahlt.
Automatisches Neueinstellen von Sendern für optimale Empfangsqualität
— AF-Funktion
Mit der AF-Funktion (Alternativefrequenzen) wird fur den Sender, den Sie gerade horen, automatisch die Freqenz mit den stärksten Sendesignalen eingestellt.

Die Frenquen werden also automatisch gewechselt.
1 Wahlen Sie einen UKW-Sender aus (Seite 10).
2 Drücken Sie AF so oft, bis ,AF-ON" angezeigt wird.
Das Gerät beginnt, im selbst Netzwerk nach einer Alternativfrequenz mit stärkeren Signalen zuuchen.
Wenn „NO AF“ blinkt, gibt es für den gerade eingestillten Sender keine
Alternativefrequenz.
Hinweis
Wenn im Sendebereich keine Alternativfrequenzen vorhanden sind oder Sie nicht nach einem Alternativsender zuuchen brauchen, schalten Sie die AF-Funktion aus, indem Sie „AF-OFF" auswahlen.
Bei Sendern ohne
Alternativefrequenzen
Drücken Sie eine Seite von SEEK, während der Sendername blinkt (ca. 8 Sekunden lang).
Das Gerät beginnnt dann mit der Sueche nach einer Frequenz mit denselben PI-Daten (Programme Identification -
ProgrammKennung). „PI SEEK“ wird angezeigt.
Wenn das Gerät keine Frequenz mit denselben PI-Daten finden kann, wechselt das Gerät wieder zur zuvor eingestellten Frequenz zurück.
Unveränderter Empfang eines Regionalsenders
Wenn die AF-Funktion aktiviert ist, wird der Empfang deses Gerats werkseitig auf eine bestimmte Region beschränkt, so daß nicht zu einem anderen Regionalsender mit einer stärkerten Frenzew gewechselt wird. Wenn Sie den Empfangsbereich these Regionalprogramms verlassen oder lieber die gesamte AF-Funktion nutzen wollen, wahlen Sie „REG-OFF“ aus dem Menu (Seite 19).
Hinweis
These Funktion steht in Großbritannien und in einigen anderen Regionen nicht zur Verfugung.
Lokalsenderfungtion (nurGroßbritannien)
Mit Hilfe dieser Funktion konnen Sie andere Lokalsender ausgehalten, auch wenn diese zuvor nicht unter einer Stationstaste gespeichert wurden.
1 Drücken Sie eine der Stationstasten (① bis ⑥), auf der ein Lokalsender gespeichert ist.
2 Drücken Sie innerhalb von 5 Sekunden erneut die Stationstaste des Lokalsenders.
3 Wiederholen Sie diesen Vorgang, bis das Gerät den gewünschten Lokalsender empfängt.
Empfangen von Verkehrsdurchsagen
—TA/TP
Wenn Sie die TA- (Traffic Announcement - Verkehrs durchsagen) und die TP-Funktion (Traffic Programme - Verkehrsfunk) aktivieren, konnen Sie automatisch einen UKW-Sender einstellen, der Verkehrs durchsagen ausstrahlt. Dabei ist es unerheblich, welches UKW-Programm bzw. welche Tonquelle (CD oder MD) Sie gerade horen. Das Gerät wechseln nach der Durchsage darüber zur vorherigen Tonquelle.
Drucken Sie so oft, bis „TA-ON“ angezeigt wird.
Das Gerät beginnnt, nach Verkehrsfunksenden zuuchen.
,TP" zeigt an, daß ein solcher Sender empfangen wird, und ,TA" blinkt während einer Verkehrsduhrsage. Das Gerät setzen die Suche nach Verkehrsfunksendern fort, wenn ,NO TP" angezeigt wird.
Wenn Sie alle Verkehrsdurchsagen ausschalten wollen, wahlen Sie „TA-OFF".
| Funktion | Taste |
| Ausschalten der aktuellen Verkehrs durchsage | TA |
Tip
Eine laufende Verkehrsdurchsage konnen Sie auch mit der Taste (SOURCE) oder (MODE) abbrechen.
Speichern der Lautstärke von Verkehrsdurchsagen
Sie können die Lautstärke für die Verkehrsdurchsagen voreinstellen, so daß Sie sie nicht überhoren.
1 Stellen Sie mit dem Lautstärkeregler die gewünschte Lautstärke ein.
2 Drücken Sie 2 Sekunden lang (TA). „TA“ erscheint, und die Einstellung wird gespeichert.
Empfangen von
Wenn die AF- oder die TA-Funktion aktiviert ist und während des Empfangs eines UKW-Senders oder der Wiedergabe einer Kassette oder einer CD/MD (Geräte gesondert erhält) eine Katastrophen warning ausgestraht wird, wechsel das Gerät automatisch zur Katastrophen warning.
Speichern von RDS-Sendern zusammen mit der AF- und TA-Einstellung
Wenn Sie RDS-Sender speichern, speichert das Gerät zusammen mit der Freqenz auch die AF-/ TA-Einstellung (on/off) für jeder Sender. Sie konnen für die einzelnen gespeicherten Sender unterschiedliche Einstellungen (AF, TA oder beides) oder für alle gespeicherten Sender dieselbe Einstellung wahren. Wenn Sie Sender mit „AF-ON“ speichern, werden automatisch die Sender mit den stärksten Radiosignalen gespeichert.
Speichern derselben Einstellung für alle gespeicherten Sender
1 Wahlen Sie einen UKW-Frequenzbereich (Seite 10).
2 Drücken Sie (AF) und/oder (TA), um „AF-ON" und/oder „TA-ON" auszuwahlen.itte beachten Sie, daß mit „AF-OFF" bzw., "TA-OFF" nicht nur RDS-Sender, sondern auch andere Sender gespeichert werden.
3 Drücken Sie (MENU), und drücken Sie anschließend eine Seite von DISC/PRESET oder PRESET so oft, bis „BTM" erscheint.
4 Drucken Sie ENTER, bis „BTM“ blinkt.
Speichern unterschiedlicher Einstellungen für die einzelnengespeicherten Sender
1 Wahlen Sie einen UKW-Frequenzbereich aus, und stellen Sie den gewünschten Sender ein (Seite 11).
2 Drücken Sie (AF) und/oder (TA), um „AF-ON" und/oder „TA-ON" auszuwahlen.
3 Drücken Sie die gewünschte Stationstaste (① bis ⑥), bis „MEM“ entscheid.
Weitere Sender konnen Sie wie in den Schritten oben erlautert speichern.
Einstellen von Sendern nach Programtyp
—PTY
Sie können einen Sender einstellen, indem Sie den Programtyp ausgehalten, den Sie horen möchen.
| Programmtypen | Anzeige |
| Nachrichten | NEWS |
| Aktuelles Zeitgeschehen | AFFAIRS |
| Informationen | INFO |
| Sport | SPORT |
| Erziehung und Bildung | EDUCATE |
| Hörspiele | DRAMA |
| Kultur | CULTURE |
| Wissenschaft | SCIENCE |
| Verschiedenes | VARIED |
| Pop-Musik | POP M |
| Rock-Musik | ROCK M |
| Leichte Unterhaltung | EASY M |
| Leichte Klassik | LIGHT M |
| Klassik | CLASSICS |
| Sonstige Musik | OTHER M |
| Wetter | WEATHER |
| Finanzberichte | FINANCE |
| Kinderprogramme | CHILDREN |
| Magazinsendungen | SOCIAL A |
| Religion | RELIGION |
| Hörer-Telefon | PHONE IN |
| Reiseinformationen | TRAVEL |
| Freizeitprogramm | LEISURE |
| Jazz | JAZZ |
| Country-Musik | COUNTRY |
| Volksmusik | NATION M |
| Oldies | OLDIES |
| Folk-Musik | FOLK M |
| Dokumentarbeitträge | DOCUMENT |
Hinweis
Sie können diese Funktion in Ländern, in denen keine PTY-Daten (Programmtypauswahl) zur Verfügung stehen, nicht verwenden.
1 Drucken Sie während des UKW-Empfangs (DISPLAY/PTY) oder (PTY/DSPL), bis „PTY“ erscheidt.

Der Name des aktuellen Programmtypers erscheint, wenn der Sender PTY-Daten ausstrahlt.
“erscheint, wenn der eingestellte Sender kein RDS-Sender ist oder wenn keine RDS-Daten empfangen werden.
2 Drücken Sie DISC/PRESET oder PRESET so oft, bis der gewünschte Programmtyp angezeigt wird.
Die Programmtypen erscheinen in der Reihenfolge, die in der Tabelle angegeben ist. „- - - - - - " wird angezeigt, wenn der Programmtyp in den RDS-Daten nicht angegeben wird.
3 Drucken Sie ENTER
Das Gerät beginnnt, nach einem Sender zuuchen, der den ausgewählten Programmtyp ausstrahlt.
Automatisches Einstellen der Uhr
-CT
Mit den CT-Daten (Clock Time - Uhrzeit), die von RDS-Sendern ausgestrahlt werden, laßt sich die Uhr automatisch einstehen.
1 Drücken Sie während des Radioempfangs (MENU), und drücken Sie anschließend eine Seite von (DISC/PRESET) oder (PRESET) so oft, bis „CT-OFF“ erscheint.

2 Drücken Sie die Seite (+) von (SEEK) so oft, bis „CT-ON“ erscheint. Die Uhr wird eingestellt.
3 Schalten Sie mit ENTER zur normalen Anzeige zurück.
Wenn Sie die CT-Funktion deaktivieren wollen, wahlen Sie in Schritt 2 „CT-OFF".
Hinweise
Die CT-Funktion steht möglichwerse nicht zur Verflugung, auch wenn ein RDS-Sender empfangen wird.
Die mit der CT-Funktion eingestellte Uhrzeit ist nicht immer korrekt.
Weitere Funktionen
Sie können das Gerät sowie gesondert erhältliche CD/MD-Geräte*1 mit einem Joystick (gesondert erhältlich) steuern.
Der Joystick
Bringen Sie zunachst je nach der Montage des Joysticks den entsprechenden Aufkleber an. Der Joystick wird über Tasten und/oder Drehregler bedient.



Drucken der Tasten
Stellen Sie durch Drehen des Reglers VOL die Lautstärke ein.
| Taste | Funktion |
| SOURCE | Wechseln der Tonquelle (Radio/CD*2/MD*2/Kassette) |
| MODE | Wechseln des Modus (Radiofrequenzbereich/CD-Gerät*2/MD-Gerät*2/Bandwiedergaberichtung) |
| ATT | Dämpfen des Tons |
| OFF*3 | Stoppen der Wiedergabe bzw. des Radioempfangs |
| SOUND | Einstellen des Klangmodus |
| DSPL | Wechseln der angezeigten Informationen |
1 Nur XR-CA600X/CA600V/CA600
2 Nur wenn die entsprechenden gesondert erhältlichen Geräte angeschlossen sind (nur XR-CA600X/CA600V/CA600).
*3 Wenn Ihr Fahrzeug nicht über ein Zündschloß mit Position ACC oder I verfügt, drücken Sie unbedingt 2 Sekunden lang (OFF), um die Uhrzeitanzeige auszuschalten, nach dem Sie die Zündung ausgeschaltet haben.
DrehendesReglers

Wenn Sie den Regler drehen und loslassen, können Sie:
- den Anfang der Titel auf der Kassette ansteuern.
- Sender automatisch einstellen.
- Titel auf einer CD/MD überspringen.*2
Wenn Sie den Regler drehen, halten und loslassen, können Sie:
- die Kassette spulen.
- einen Sender manuell einstellen.
- in einem Titel vorwärts-/ rückwärtsuchen.*2
Tip
Wenn Sie beim Spulen die Wiedergabe starten wollen, drucken Sie MODE).
Drucken und Drehen des Reglers

Wenn Sie den Regler gleichzeitig drucken und drehen, können Sie:
- gespeicherte Sender einstellen.
- die CD/MD wechseln ^*2 .
Wechseln der Drehrichtigung
Die Drehrichtung der Regler ist werkseitig wie in der folgenden Abbildung zu setzen eingestellt.

Wenn Sie den Joystick rechts von der Lenksäule anbringen, konnen Sie die Drehrichtigung der Regler ändern.

Halten Sie den Regler VOL gedrückt, und drücken Sie SOUND 2 Sekunden lang.
Tip
Sie konnen die Drehrichtung der Regler auch mit dem Gerätalandern (siehe „Wechseln der Klang- und Anzeigeeinstellungen" auf Seite 18).
Einstellen der Klangeigenschaften
Sie können die Bässe, die Höhen, die Balance und den Fader einstellen.
Die Einstellungen für Bässe und Höhen konnen getrennt für jeder Tonquelle gespeichert werden.
1 Wahlen Sie die einzustellende Option aus, indem Sie SOUND wiederholt drucken.
Mit jedem Tastendruck auf SOUND wechselt die Anzeige folgendermaßen:
BAS (Basse) TRE (Hohen) BAL
(links-rechts) FAD (vorne-hinten)
2 Stellen Sie die ausgewählte Option ein, indem Sie eine Seite von (SEEK) drücken.
Beim Einstellen mit dem Joystick drucken Sie SOUND und drehen am Regler VOL.
Hinweis
Nachdem Sie eine Klangoption ausgewählt haben,
müssen Sie innerhalb von 3 Sekunden den
Einstellvorgang beginnen.
Schnelles Dämpfen des Tons
(mit dem Joystick oder der Kartenfernbedienung)
Drücken Sie ATT auf dem Joystick oder der Kartenfernbedienung.
,ATT-ON" erscheint kurz im Display, und danach wird, ATT' angezeigt.
Wenn Sie wieder die vorherige Lautstärke einstehen wollen, drücken Sie ernut ATT.
Tip
Wenn das Schnittstellenkabel eines Autotelefons mit der ATT-Leitung verbunden ist und ein Telefonanruf eingegt, sentkdt das Gerat die Lautstärke automatisch (Stummschaltfunktion zum Telefonieren).
Wechseln der Klang- und Anzeigeeinstellungen
— Menu
Sie konnen folgende Optionen einstehen:
SET (Konfiguration)
CLOCK (Uhrzeit) (Seite 9)
- CT (Uhrzeit-Daten) (Seite 16)
- BEEP — Dient zum Ein- oder Ausschalten des Signatrons.
- RM (Joystick) — Dient zum Wechseln der Drehrichtigung der Regler am Joystick.
- Wahlen Sie „NORM“, wenn die werkseitig voreingestellte Drehrichtigung der Regler beibehalten werden soll.
- Wahlen Sie „REV“, wenn Sie den Joystick auf der rechten Seite der Lenksäule anbringen.
DSPL(Display)
D.INFO (Dual Information) — Uhrzeit und Wiedergabemodus werden gleichzeitig angezeigt (ON).
- AMBER/GREEN — Sie können die Beleuchtungsfarbe zwischen gelb und grünumschalten (nur XR-CA600/L500).
- DIM (Dimmer) — Zum Einstellen der Helligkeit im Display (nur XR-CA600V/L500V).
-Mit,ON" wird das Display dunkler.
-Mit ^ 一 OFF" wird der Dimmer deaktiviert.
-
M.DSPL (Motion Display = Bewege Anzeige) — Dienz zum Auswahlen des Modus für die beweigte Anzeige (.,1",.,2" oder ,OFF "
-
Wenn Sie „l“ wahlen, werden im Display Dekorationslinien angezeigt und die Demo-Anzeige aktiviert.
- Wenn Sie „2“ wahlen, werden im Display Dekorationslinien angezeigt und die Demo-Anzeige deaktiviert.
-Mit,OFF" wird die bewegte Anzeige deaktiviert.
- Wenn Sie „ON“ wahren, laufen alle angezeigten Namen mit mehr als 8 Zeichen automatisch im Display durch und werden auf diese Weise ganz angezeigt.
-
Wenn die Funktion Auto Scroll auf OFF gesetzt ist und der Name der CD/MD bzw. des Titels wechselt, lauft der Name nicht im Display durch und wird davon nicht ganz angezeigt.
-
Wenn keine CD oder MD wiedergegeben wird, entscheidiert diese Angabe nicht (nur XR-CA600X/CA600V/CA600).
SND (Sound)
- LOUD (Loudness) — Für eine gute Klangqualität der Basse und Höhen auch bei geringer Lautstärke. Die Basse und Höhen werden verstärkt (nur XR-CA600V/CA600/L500V/L500).
P/M (Wiedergabemodus)
- LOCAL-ON/OFF (lokaler Suchmodus) (Seite 11)
- Wahlen Sie „ON“, wenn Sie nur Sender mit starken Signalen einstehen wollen.
- MONO-ON/OFF (monauraler Modus) (Seite 11)
- Wenn Sie „ON“ wahren, werden UKW-Stereosender monaural wiedergegeben. Mit „OFF“ schalten Sie in den normalen Modus zurück.
- REG-ON/OFF (Regional) (Seite 13)
1 Drucken Sie (MENU).
Zum Einstellen von A.SCRL drucken Sie (MENU) während der Wiedergabe einer CD/ MD.
2 Drücken Sie eine Seite von
DISC/PRESET oder PRESET so oft, bis die gewünschte Option erscheint.
3 Wahlen Sie mit der Seite (+) von
SEEK die gewünschte Einstellung aus (z. B. ON oder OFF).
4 Drucken Sie ENTER
Wenn Sie die Einstellung vorgenommen haben, erscheint im Display wieder die
Anzeige für den normalen Wiedergabemodus.
Hinweis
Je nach aktueller Programmquelle werden unterschiedliche Optionen angezeigt.
Tip
Sie konnen problemlos zwischen den Kategorien (,SET",DSPL",SND",P/M und "EDIT") wechseln, indem Sie eine Seite von DISC/PRESER oder PRESE2 Sekunden lang gedrückt halten.
Auswahlen der Klangposition
Wenn Sie alleine im Auto sitzen, können Sie mit „Beste Klangposition“ eine optimale Klangumgebung einstehen.
Für „Beste Klangposition“ gibt es zwei Voreinstellungen für den Tonpegel von Balance und Fader. Mit der Taste MBP können Sie mühelose eine davon auswahlen.
| Display | Balance-Pegel | Fader-Pegel | ||
| Rechts | Links | Vorne | Hinten | |
| MBP-A | -4 dB | 0 | 0 | -4 dB |
| MBP-B | 0 | -4 dB | 0 | -4 dB |
| MBP-OFF | 0 | 0 | 0 | 0 |
Drucken Sie MBP so oft, bis die gewünschte Hörposition erscheidt.
Der Modus von „Beste Klangposition“
erscheint im Display in derselben
Reihenfolge wie in der Tabelle.

Nach einer Sekunde erscheint im Display wieder die Anzeige für den normalen Wiedergabemodus.
Wenn Sie den Tonpegel von Balance und Fader genauer einstellen wollen, konnen Sie dazu die Taste SOUND verwenden (siehe „Einstellungen der Klangeigenschaften" auf Seite 18).
Hinweise
- Wenn Sie Balance (BAL) oder Fader (FAD) wie unter „Einstellen der Klangeigenschaften" (Seite 18) erlautert einstehen, wird die Einstellung von MBP wieder auf OFF gesetzt.
- Wenn MBP auf OFF gesetzt wird, werden die Einstellungen von BAL und FAD aktiviert.
Einstellen des Equalizers
Sie können für sieben Musiktypen (XPLOD, VOCAL, CLUB, JAZZ, NEW AGE, ROCK und CUSTOM) eine spezielle Equalizer-Kurve auswahlen bzw. den Equalizer ausschalten (OFF).
Sie können die Equalizer-Einstellungen für Freqenz und Lautstärke auswahlen und speichern.
Auswahlen einer Equalizer-Kurve
1 Wahlen Sie mit SOURCE eine Tonquelle (Radio, CD, MD oder Kassette) aus.
2 Drücken Sie (EQ7) so oft, bis die gewünschte Equalizer-Kurve angezeigt wird.
Mit jedem Tastendruck auf EQ7 wechselt die Option.

Um den Equalizer-Effekt auszuschalten, wahren Sie „OFF". Nach 3 Sekunden entscheid im Display wieder die Anzeige für den normalen Wiedergabemodus.
Einstellen der Equalizer-Kurve
1 Drucken Sie (MENU).
2 Drücken Sie eine Seite von DISC/PRESET oder PRESET so oft, bis „EQ7 TUNE" erscheidt, und drücken Sie dann ENTER.
3 Wahlen Sie mit einer Seite von (SEEK) die gewünschte Equalizer-Kurve aus, und drücken Sie dann (ENTER).
Mit jedem Tastendruck auf (SEEK) wechselt die Option.
4 Wahlen Sie die gewünschte Frequenz und Lautstärke aus.
1 Wahlen Sie mit einer Seite von (SEEK) die gewünschte Frequenz aus.
Mit jedem Tastendruck auf (SEEK) wechselt die Frenz.
$$ \begin{array}{l} 6 2 \left(\text {H z}\right) \longleftrightarrow 1 5 7 \left(\text {H z}\right) \longleftrightarrow 3 9 6 \left(\text {H z}\right) \longleftrightarrow \ 1 k \left(\text {H z}\right) \longleftrightarrow 2. 5 k \left(\text {H z}\right) \longleftrightarrow 6. 3 k \left(\text {H z}\right) \longleftrightarrow \ 1 6 k \left(\text {H z}\right) \end{array} $$
2 Stellen Sie mit einer Seite von
DISC/PRESET oder PRESET die gewünschte Lautstärke ein.
Die Lautstärke laßt sich in Schritten von 1 dB auf einen Wert zwischen -10 dB und +10 dB einstehen.

Wenn Sie die werkseitig eingestellte Equalizer-Kurve wiederherstellen wollen, drücken Sie zwei Sekunden lang ENTER
5 Drucken Sie zweimal (MENU).
Wenn Sie die Effekteinstellung vorgenommen haben, erscheint im Display wieder die Anzeige für den normalen Wiedergabemodus.
CD/MD-Gerät (gesondert erhaltlich)
(nur XR-CA600X/CA600V/ CA600)
Mit thisem Gerät können Sie externe CD/MD-Geräte steuern.
Wenn Sie ein gesondert erhältliches CD-Gerät mit CD TEXT-Funktion und Custom File-Funktion anschließen, erschinen bei der Wiedergabe einer CD mit CD TEXT die CD TEXT-Informationen im Display.
Wiedergeben einer CD oder MD
1 Drücken Sie mehrmals (SOURCE), um „CD“ bzw. „MD“ auszuwahlen.
2 Drücken Sie MODE so oft, bis das gewünschte Gerät angezeigt wird.
Die CD/MD-Wiedergabe beginnt.
| Funktion | Taste |
| Stoppen der Wiedergabe | OFF |
| Überspringen von CDs/MDs | DISC/PRESET (+/-) |
| - CD/MD-Ausbahl | |
| Überspringen von Titeln | SEEK (↓/▶) [pro Titel einzelmal drücken] |
| - Automatischer Musiksensor | |
| Vorwärts-/Rückwärtssuchen | SEEK (↓/▶) [bis zur gewünschten Stelle gedrückt halten] |
| - ManuelleSuche |
Informationen im Display
Wenn die CD/MD bzw. der Titel wechselt, wird der gespeicherte Name*, falls vorhanden, der neuen CD/MD bzw. des neuen Titels automatisch angezeigt. Wenn die Funktion Auto Scroll auf „ON“ gesetzt ist, laufen Namen mit mehr als 8 Zeichen im Display durch und werden auf diese Weise ganz angezeigt (Seite 18).

| Funktion | Taste |
| Wechseln der angezeigten Information | DISPLAY/PTY |
| Vollständiges Anzeigen der Informationen | SCROLL |
1 „NO NAME“ zeigt an, daß kein Disc Memo (Seite 22) oder gespeicherter Name zum Anzeigenvorhänden ist.
2 Nur bei CDs, bei denen die CD TEXT-Informationen den Name des Interpreten enthalten.
Hinweise
- Einige Zeichen können nicht angezeigt werden.
- Bei einigen CDs mit außergewöhnlich langem CD TEXT laufen die Informationen unter Umständen nicht im Display durch und werden davon nicht ganz angezeigt.
- Mit thisem Gerät kann der Name des Interpreten nicht einzeln für jeder Titel einer CD mit CD TEXT angezeigt werden.
Tip
Wenn die Funktion Auto Scroll auf OFF gesetzt ist und der Name der CD/MD bzw. des Titels wechselt, lauft der Name nicht im Display durch und wird davon nicht ganz angezeigt.
Wiederholtes Wiedergeben von Titeln
—RepeatPlay
Sie haben folgende Möglichkeit:
- REP-1 — zum wiederholten Wiedergeben eines Titels.
- REP-2 — zum wiederholten Wiedergeben einer CD/MD.
Drucken Sie während der Wiedergabe (3) (REP) so oft, bis die gewünschte Einstellung im Display erscheint.
Repeat Play beginnt.
Wenn Sie wieder in den normalen
Wiedergabemodus schalten möchten, wahren Sie „REP-OFF".
Wiedergeben von Titeln in willkürlicher Reihenfolge
Shuffle Play
Sie haben folgende Möglichkeit:
- SHUF-1 — zum Wiedergebn den Titel auf der aktuellen CD/MD in willkürlicher Reihenfolge.
- SHUF-2 — zum Wiedergeben der Titel im aktuellen gesondert erhältlichen CD/MD-Gerät in willkürlicher Reihenfolge.
- SHUF-ALL* — zum Wiedergeben aller Titel in allen angeschlossenen CD/MD-Geräten in willkürlicher Reihenfolge.
- Nur verfügbar, wenn mindestens zwei gesondert erhältliche CD/MD-Geräte angeschlossen sind.
Drucken Sie während der Wiedergabe (6) (SHUF) so oft, bis die gewünschte Einstellung im Display erscheint.
Shuffle Play beginnt.
Wenn Sie wieder in den normalen Wiedergabemodus schalten möchten, wahren Sie „SHUF-OFF".
Hinweis
Mit „SHUF-ALL“ werden nicht Titel von CD-Geräten und MD-Geräten gemischt wiedergegeben.
Benennen einer CD
— Disc Memo (bei einem CD-Gerät mit CUSTOM FILE-Funktion)
Sie können für jeder CD einen individuellen Namen speichern (Disc Memo). Sie können pro CD bis zu 8 Zeichen eingeben. Wenn Sie einen Namen für eine CD eingeben, können Sie die CD anhand des Namens ansteuern (Seite 24).
1 Starten Sie die Wiedergabe der CD, die Sie benennen wollen.
2 Drücken Sie MENU, und drücken Sie anschließend eine Seite von DISC/PRESET so oft, bis „NAMEEDIT“ entscheint.
3 Drucken Sie ENTER

Während Sie die CD benennen, wird sie vom Gerät wiederholt wiedergegeben.
4 Geben Sie die Zeichen ein.
1 Drucken Sie mehrmals die Seite (+)*1 von DISC/PRESET, um das gewünschte Zeichen auszuwahlen.
$$ \begin{array}{l} \mathsf {A} \to \mathsf {B} \to \mathsf {C} \dots \to 0 \to 1 \to 2 \dots \to + \to \ - \to * \dots \to_ {-} ^ {* 2} \to \mathsf {A} \end{array} $$
1 Die Zeichen erscheinen in umgekehrter Reihenfolge, wenn Sie die Seite (-) von (DISC/PRESET) drucken.
2 (Leerzeichen)
2 Drücken Sie die Seite (+) von (SEEK), wenn Sie das gewünschte Zeichen gefunden haben.

Wenn Sie die Seite (-) von SEEK drücken, schalten Sie eine Stelle nach links.
3 Wiederholen Sie Schritt 1 und 2, bis Sie den ganzen Nameneingegeben haben.
5 Wenn Sie wieder in den normalen CD-Wiedergabemodus schalten wollen, drücken Sie ENTER.
Tips
- Sie können einen Namen korrigieren oder Löschen, indem sie einh einfach überschreiben oder „ eingegeben.
- Es gibt noch eine andere Möglichkeit, mit dem Benennen einer CD zu beginnen: Halten Sie (LIST) zwei Sekunden lang gedruckt,statt Schritt 2 und 3 auszuführen. Sie konnen das Benennen auch abschreiben,indem Sie (LIST) zwei Sekunden lang gedruckt halten,statt Schritt 5 auszuführen.
- Sie können CDs in einem Gerät ohne CUSTOM FILE-Funktion benennen, wenn diese in Kombination mit einem CD-Gerät angeschlossen ist, das über diese Funktion verfügbar. Das Disc Memo wird in thisum Fall in dem CD-Gerät mit CUSTOM FILE-Funktion gespeichert.
Hinweis
Der Wiedergabemodus REP-1 bzw. Shuffle Play wird unterbrochen, bis das Eingeben des Namens abgeschlossen ist.
Anzeigen des Disc Memo
Beim Anzeigen von Informationen hat das Disc Memo immer Prioritat vor einer ursprünglichen CD TEXT-Information.
| Funktion | Taste |
| Anzeigen | DISPLAY/PTY während der Wiedergabe einer CD bzw. CD mit CD TEXT |
Tip
Welche Informationen Sie noch aneigen halten, ist auf Seite 21 erlautert.
Löschen des Disc Memo
1 Drücken Sie mehrmals SOURCE, um CD" auszuwahlen.
2 Drucken Sie mehrmals MODE um das CD-Gerat auszuwahlen, in dem das Disc Memo gespeichert ist.
3 Drücken Sie (MENU), und drücken Sie anschließend eine Seite von (DISC/PRESET) so oft, bis „NAME DEL“ entscheid.
4 Drucken Sie ENTER
Die gespeicherten Namen werden, beginnend mit den zuerst eingegebenen, angezeigt.
5 Drücken Sie eine Seite von
DISC/PRESET) mehrmals, um den zu loschenden CD-Names auszuwahlen.
Die gespeicherten Namen werden, beginnend mit den zuerst eingegebenen, angezeigt.
6 Drücken Sie 2 Sekunden lang (ENTER).
Der Name wird gelöscht.
Gehen Sie wie in Schritt 5 und 6 erläutert vor, wenn Sie weitere Namenlöschen wollen.
7 Drucken Sie zweimal (MENU).
Das Gerät schaltet wieder in den normalen CD-Wiedergabemodus.
Hinweise
- Wenn das Disc Memo einer CD mit CD TEXT gelöscht wird, werden die ursprünglichen CD TEXT-Informationen angezeigt.
- Wenn Sie das zu löschende Disc Memo nicht finden können, wahren Sie in Schritt 2 ein anderes CD-Gerät aus.
Ansteuern einer CD/MD anhand des Namens
List-up (bei einem CD-Gerät mit CD TEXT-/ CUSTOM FILE-Funktion oder einem MD-Gerät)
Sie können diese Funktion bei CDs/MDs benutzten, für die Sie einen Namein eingebehen haben*1, oder bei CDs mit CD TEXT*2.
1 Ansteuern einer CD/MD anhand des eingegebenen Namens: wenn ein Name für eine CD (Seite 22) bzw. eine MD gespeichert wurde.
2 Ansteuern von CDs anhand der CD TEXT-Informationen: wenn Sie eine CD mit CD TEXT auf einem CD-Gerät mit CD TEXT-Funktion wiedergeben.
1 Drucken Sie LIST.
Der Name der aktuellen CD/MD erscheint im Display.

2 Drücken Sie eine Seite von DISC/PRESET mehrmals, bis Sie die gewünschte CD/MD gefunden haben.
3 Drucken Sie (ENTER), um die Wiedergabe der CD/MD zu starten.
Hinweis
Einige Zeichen können nicht angezeigt werden (Ausnahme: Disc Memo).
Auswahlen bestimmter Titel für die Wiedergabe
— Bank (bei einem CD-Gerät mit der CUSTOM FILE-Funktion)
Wenn Sie eine CD entsprechend definieren, können Sie das Gerät so eingten, daß bestimmte Titel übersprungen und nur die gewündsten Titel wiedergegeben werden.
1 Starten Sie die Wiedergabe der CD, die Sie definieren wollen.
2 Drücken Sie MENU, und drücken Sie anschließend eine Seite von DISC/PRESET so oft, bis „BANK SEL" erscheint.
3 Drucken Sie ENTER

4 Legen Sie die Titel fest, die wiedergegeben bzw. «übersprungen» werden sollen.
1 Drücken Sie eine Seite von (SEEK) mehrmals, um den entsprechenden Titel auszuwahlen.
2 Drucken Sie mehrmals ENTER um PLAY" oder ,SKIP" auszuwahlen.
5 Wenn Sie „PLAY“ oder „SKIP“ für weitere Titel festlegen sollen, gehen Sie wie in Schritt 4 erläutert vor.
6 Drücken Sie zweimal (MENU). Das Gerät schaltet wieder in den normalen CD-Wiedergabemodus.
Hinweise
- Sie können „PLAY“ und „SKIP“ für bis zu 24 Titel einstehen.
- Sie können „SKIP“ nicht für alle Titel auf einer CD definieren.
Wiedergeben bestimmter Titel
Sie haben folgende Möglichkeiten:
.,BANK-ON" — Alle Titel mit der Einstellung ,PLAY" werden wiedergegeben.
- „BANK-INV“ (Inverse) — Alle Titel mit der Einstellung „SKIP“ werden wiedergegeben.
1 Drücken Sie während der Wiedergabe (MENU), und drücken Sie anschließend eine Seite von (DISC/PRESET) so oft, bis „BANK-ON“, „BANK-INV“ oder „BANK-OFF“ erscheint.
2 Drücken Sie die Seite (+) von (SEEK) so oft, bis die gewünschte Einstellung erscheint.

3 Drucken Sie (ENTER).
Die Wiedergabe startet ab dem Titel nach dem aktuellen Titel.
Wenn Sie wieder in den normalen Wiedergabemodus schalten möchten, wahren Sie in Schritt 2 „BANK-OFF".
Weitere Informationen
Wartung
Austauschen der Sicherung
Wenn Sie eine Sicherung austauschen, achten Sie darauf, eine Ersatzsicherung mit dem gleichen Ampere-Wert wie die Originalsicherung zu verwenden. Diese ist auf der Originalsicherung angegeben. Wenn die Sicherung durchbrennt, überprüfen Sie den Stromanschluß und tauchen die Sicherung aus. Brennt die neue Sicherung ebenfläds durch, kann eine interne Fehlfunktion vorliegen. Wenden Sie sich in einem solchen Fall an ihren Sony-Änderer.

Achtung
Verwenden Sie unter keinen Umständen eine Sicherung mit einem höheren Ampere-Wert als dem der Sicherung, die ursprünglich mit dem Gerat geliefert wurde. Andernfalls kann es zu Schäden am Gerätkommen.
Fortsetzung auf der nachsten Seite
Reinigen der Anschlusses
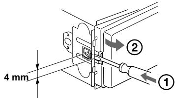
Das Gerät Funktioniert möglicherweise nicht ordnungsgemäß, wenn die Anschlüsse zwischen dem Gerät und der Frontplatte verschmutzt sind. Um dies zu vermeiden, erhnen Sie die Frontplatte ab (Seite 8), und reinigen Sie die Anschlüsse mit einem mit Alkohol angefeuchteten Watestäbchen. Drücken Sie darauf nicht zu fest auf die Anschlüsse. Andernfalls können sie beschädigt werden.

Hauptgerät

Rückseite der Frontplatte
Hinweise
- Schalten Sie aus Sicherheitsgründen vor dem Reinigen der Anschlüsse die Zündung aus, undziehen Sie den Schlüssel aus dem Zündschlof.
- Berühren Sie die Anschlüsse unter keinen Umständen direkt mit den Händen oder einem Metalgegenstand.
Austauschen der Lithiumbatterie
Unter normalen Bedingungen halten die Batterien etwa ein Jahr. Die Lebensdauer der Batterien kann je nach Gebrauch des Geräts jedoch auch kürzer sein. Wenn die Batterie schwacher wird, verkurzt sich die Reichweite der Kartenfernbedienung. Tauschen Sie die Batterie gegen eine neue CR2025-Lithiumbatterie aus.
Entsorgungshinweis:itte werfen Sie nur entladene Batterien in die Sammelboxen beim Handel oder den Kommunen. Entladen sind Batterien in der Regel dann, wenn das Ger at abschaltet und signalisiert „Batterie leer" oder nach längerer Gebrauchsduer der Batterien nicht mehr einwandfrei Funktioniert.
Um sicherzugehen, kleben Sie die Batteriepole z.B. mit einem Klebestreifen ab oder geben Sie die Batterien einzeln in einen Plastikbeutel.



Mit der Seite + nach oben
Hinweise zur Lithiumbatterie
- Bewahren Sie die Lithiumbatterie außerhalb der Reichweite von Kindern auf. Sollte eine Lithiumbatterie verschlukt wirden, ist umgehend ein Arzt aufzusuchen.
- Wischen Sie die Batterie mit einem trockenen Tuch ab, um einen gutekontakt zwischen den Batteriepolen und -anschlüssen sicherzustellen.
- Achten Sie beim Einlagen der Batterie auf die richtige Polarität.
- Halten Sie die Batterie nicht mit einer Metallpinzette. Dies konnte zu einem Kurzschluß führen.
VORSICHT
Die Batterie kann bei falscher Handhabung explodieren!
Auf keinen Fall darauf sie aufgeladen,
auseinandergenommen oder ins Feuer geworfen werden.
AusbauendesGeräts
1 Nehmen Sie die vordere Abdeckung ab.
1 Nehmen Sie dazu die Frontplatte ab (Seite 8).
2 Drucken Sie mit einem kleinen Flachschraubenzieher auf die Federlasche an der Innenseite der vorderen Abdeckung.

Gehen Sie wie in Schritt 2 erlautert auch an der anderen Seite vor.
2 Nehmen Sie das Geräthereus.
1 Drücken Sie mit einem kleinen Flachschraubenzieher auf die Federlasche an der linken Seite des Gerats, undziehen Sie die linke Seite hersaus, bis sich die Lasche nicht mehr in der Halterung befindet.

Gehen Sie wie in Schritt 1 erlautert auch an der rechten Seite vor.
3 Ziehen Sie das Gerät aus seiner Halterung herself.
Technische Daten
Kassettenspieler
Wiedergabesystem 4 Spuren, 2 Kanäle, stereo
Gleichlaufschwankungen 0,08% (bewertet)
Frequenzgang 30 - 18.000Hz
Signal-Rauschabstand
Kassettentypen
| TYPE II, IV | 61 dB |
| TYPE I | 58 dB |
Tuner
UKW
Empfangsbereich 87,5-108,0MHz
Antennenanschluß Anschluß für Außenantenne
Zwischenfrequenz 10,7 MHz/450 kHz
Nutzbare Empfindlichkeit 8 dBf
Trennscharfe 75 dB bei 400kHz
Signal-Rauschabstand 66 dB (stereo),
72 dB (mono)
Harmonische Verzerrung bei 1kHz
0,6% (stereo),
0,3% (mono)
Kanaltrennung 35 dB bei 1kHz
Frequenzgang 30 - 15.000Hz
MW/LW
Empfangsbereich MW:531-1.602kHz
LW: 153 - 279kHz
Anschluß für Außenantenne
10.7 MHz/450 kHz
Empfindlichkeit MW: 30 V
LW: 40~ V
Endverträker
Ausgänge Lautsprecherausgänge
(versiegelte Anschlüsse)
Lautsprecherimpedanz 4-8 Ohm
Maximale Leistungsabgabe
50W× 4 (an 4 Ohm)
Allgemeines
Ausgänge Audioausgänge (hinten)
Motorantennen
Steuerausgang
Steuerausgang fur
Endverstreker
Eingänge Steuerausgang fur
Stummschaltung beim
Telefonieren
BUS-Steuereingang*
BUS-Audioeingang*
Fernbedienungseingang
Antenneneingang
Klangregler Basse ± 8 dB bei 100Hz
Hohen ± 8 dB bei 10kHz
Loudness 100 Hz +8 dB
10kHz + 2dB
Betriebsspannung 12 V Gleichstrom,
Autobatterie
(negativeErdung)
Abmessungen ca. 178× 50× 176mm
(B/H/T)
Einbaumaβ ca. 182 × 53 × 161 ~mm
(B/H/T)
Gewicht ca. 1,2kg
Mitgeliefertes Zubehor Montageteile und
Anschlußzubehör (1 Satz,
mit Ausnahme des
BUS-Kabel (mit einem)
Cinchkabelgeliefert)
Zusätzliche Geräte CD-Wechsler (10 CDs)
CDX-848X, CDX-646
MD-Wechsler (6 MDs)
MDX-65
Signalquellenwahler
XA-C30
- nur XR-CA600X/CA600V/CA600
Hinweis
Dieses Gerät kann nicht an einen digitalen
Vorveränder oder an einen Equalizer angeschlossen werden.
Änderungen, die dem technischen Fortschrift dieren, bleiben vorbehalten.
Störungsbehebung
Anhand der folgenden Checkliste konnen Sie die meisten Probleme, die möglicherweise an Ihr Gemarat auftreten, selbst beheben.
Bevor Sie die folgende Checkliste durchgehen, überprüfen Sieitte zunachst,ob Sie das Gerät richtig angeschlossen und bedient haben.
Allgemeines
EsistkeinTonzuhören.
- Stellen Sie durch Drehen des Lautstärkereglers im Uhrzeigersinn die Lautstärke ein.
- Schalten Sie die ATT-Funktion aus.
- Stellen Sie den Fader-Regler bei einem 2-Lautsprechersystem in die mittlere Position.
Der Speicherinhalt wurde gelöscht.
Die Taste RESET wurde gedrück. Speichern Sie die Einstellungen erneut.
- Das Netzkabel wurde gelöst, oder die Verbindung zur Batterie besteht nicht mehr.
- Das Stromversorgungskabel ist nicht richtig angeschlossen.
Kein Signalton ertont.
Der Signalton ist deaktiviert (Seite 18).
Anzeigen werden ausgeblendet bzw. erscheinen nicht im Display.
Die Uhrzeitanzeige wird ausgeblendet, wenn Sie 2 Sekunden lang OFF drücken.
→Drücken Sie OFF erneut 2 Sekunden lang, um die Uhrzeit anzuzeigen.
- Nehmen Sie die Frontplatte ab, und reinigen Sie die Anschlüsse. Einzelheiten dazu finden Sie unter „Reinigen der Anschlüsse" (Seite 26).
Gespeicherte Sender und die korrekte Uhrzeit werden gelöscht.
Die Sicherung ist durchgebrannt.
Es kommt zu Störgeräuschen, wenn sich der Zündschlüssel in der Position EIN, AUS oder ACC bzw. I (Zubehörposition) befindet.
Die Leitungen sind nicht korrekt an den Hilfsstromanschluß im Auto angeschlossen.
Das Gerät wird nicht mit Strom versorgt.
- Überprüfen Sie die Kabelverbindungen. Wenn die Anschlüsse in Ordnung sind, überprüfen Sie die Sicherung.
- Das Auto hat keine Zubehörposition (ACC bzw. I).
→Drucken Sie (SOURCE),bzw. legen Si eine Kassette ein,um das Gerat einzuschalten.
Das Gerät wird permanent mit Strom versorgt.
Das Auto hat keine Zubehörposition (ACC bzw. I).
Die Motorantenne wird nicht ausgefahren.
Die Motorantenne hat kein Relaiskästchen.
Kassettenwiedergabe
Der Ton ist verzerrt.
Der Tonkopf ist verschmutzt.
Reinigen Sie den Tonkopf mit einer handelsüblichen Trockenreinigungskassette.
Die AMS-Funktion arbeitet nicht ordnungsgemäß.
- Der Bandteil zwischen den Titeln ist verraucht.
- Eine leere Passage ist zu kurz (weniger als 4 Sekunden lang).
- Eine lange Pause oder eine Passage mit niedrigen Frenquenzen bzw. sehr geringem Tonpegel wird wie eine leere Passage behandelt.
Radioempfang
Gespeicherte Sender{lassen sich nicht einstehen.
- Speichern Sie den/die Sender unter der korrekten Frenzab.
- Das Sendesignal ist zu schwach.
Sender laissen sich nicht empfangen. Der Ton ist stark gestört.
- Schlieben Sie ein Motorantennen-Steuerkabel (blau) oder ein Stromversorgungskabel für Zubehörgeräte (rot) an das Stromversorgungskabel für den Antennenversteller eines Fahrzeugs an (nur, wenn das Fahrzeug mit einer in der Heck-/Seitenfensterscheibe integrierten UKW/MW/LW-Anteenne ausgestattet ist).
- Prüfen Sie die Verbindung der Autoantenne.
Die Autoantenne wird nicht ausgefahren. Prufen Sie die Verbindung des Motorantennen-Steuerkabels. - Überprüfen Sie die Frequenz.
Der automatische Sendersuchlauf Funktioniert nicht.
- Der lokale Sendersuchmodus ist auf „ON“ eingestellt.
Setzen Sie den lokalen Suchmodus auf OFF" (Seite 19). - Das Sendesignal ist zu schwach.
→ Stellen Sie die Sender manuell ein.
Die Anzeige „ST“ blinkt.
- Stellen Sie die Frequenz einzel.
- Das Sendesignal ist zu schwach.
→Schalten Sie in den Mono-Empfangsmodus (Seite 19).
Fortsetzung auf der nachsten Seite
Eine Stereosendung ist nur monaural zu horen.
Das Gerät ist in den monauralen
Empfangsmodus geschaltet.
Beenden Sie den monauralen
Empfangsmodus (Seite 19).
RDS
Der Sendersuchlauf (SEEK) startet nach ein paar Sekunden Radioempfang.
Der Sender ist kein Verkehrsfunksender, oder die Sendesignale sind zu schwach.
→Drucken Sie oder so oft, bis „AF-OFF“ oder „TA-OFF“ erscheint.
Es sind keine Verkehrsdurchsagen zu horen.
Aktivieren Sie,TA".
- Der Sender sendet keine
Verkehrs durchsagen, obwohl es sich um einen TP-Sender handelt.
Stellen Sie einen anderen Sender ein.
Bei der PTY-Funktion wird ,- - - - - - - - - - - - - - - - - - - - - - - - - - - - - - - - - - - - - - - - - - - - - - - - - - angezeigt.
- Der aktuelle Sender ist kein RDS-Sender.
- Es wurden keine RDS-Daten empfangen.
- Der Sender gibt den Programmtyp nicht an.
Nur XR-CA600X/CA600V/CA600
CD/MD-Wiedergabe
Tonsprünge treten auf.
Die CD/MD ist schmutzig oder defekt.
Fehleranzeigen
nur XR-CA600X/CA600V/CA600
(wenn ein gesondert erhältliches CD/MD-Gerät angeschlossen ist)
Fehleranzeigen
Folgende Anzeigen blinken etwa 5 Sekunden lang, und ein Alarmton ist zu horen.
NO MAG
Das CD/MD-Magazin ist nicht in das CD/MD-Gerät eingelegt.
Setzen Sie ein Magazin in das CD/MD-Gerät ein.
NO DISC
Es befindet sich keine CD/MD im CD/MD-Gerät.
Legen Sie CDs/MDs in das CD/MD-Gerät ein.
ERROR\*1
-
Eine CD ist verschmutzt oder falsch herum eingelegt.*2
Reinigen Sie die CD, bzw. legen Sie sie korrekt ein. -
Eine MD kann aufgrund einer Störung nicht wiedergegeben werden.*2
Legen Sie eine andere MD ein. - Eine CD/MD kann aufgrund einer Störung nicht wiedergegeben werden.
Legen Sie eine andere CD/MD ein.
BLANK*1
Die MD enthalt keine Titel.*2
Geben Sie eine MD wieder, auf der Titel aufgezeichnet sind.
RESET
Das CD/MD-Gerät kann wegen einer Störung nicht bedient werden.
Drucken Sie die Taste RESET am Gerät.
NOT READ
Der Deckel des MD-Geräts ist offen, oder die MDs wurden nicht korrekt eingelegt.
→ Schließen Sie den Deckel, bzw. legen Sie die MDs korrekt ein.
HI TEMP
Die Umgebungstemperatur istHigher als 50^
Warten Sie, bis die Temperatur unter 50^ sinkt.
Wenn sich das Problem mit diesen
Abhilfemaßnahmen nicht beheben laßt, wenden Sie sich an einen Sony-Handler.
Bienvenue!
Klok automatisch instellen
-CT
De elektrisch bediende antenne schuift nicht uit.
Wanner AMS nicht juist werkt
Radiozenders können nicht worden ontvangen.
Bitte kreuzen Sie zunachst die genaue Modellbezeichnung in dem dazu vorgesehenen Feld an.
Tragen Sie danach die Seriennummer (d.h. SERIAL NO.) in dem reservierten Feld ein. Sie finden diese auf einem Aufkleber, der auf dem Gerätegehause angebracht ist, Es ist sehr wichting, daß Sie den ausgeführten Geräte-Pass abschiedend aus der Bedjenungsanleitung entfemen, falls Sie diese im Fahrzeug aufbewahrenen möchten.itte bewahren Sie den Geräte-Pass an einem sicheren Ort auf, er kann im Falle eines Diebstahls zur Identifikation Ihres Eigentums dieren.
caraudio
Geräte-Pass
SONY®
Dieser Geräte-Pass dient als Eigentumsnachweis für Ihr caraudio-Geräte im Falle eines Diebstahls.
Wir empfehlen, den Geräte-Pass nicht im Fahrzeug aufzubewahren, um unrechtmässigen Gebrauch zu vermeiden.
Modellbezeichnung
□XR-CA600X
□XR-CA600V
□XR-CA600
□XR-L500X
□XR-L500V
□XR-L500
Seriennummer (d.h. SERIAL NO.)
EinfachAnleitung