KM8007 - Soundbar Krüger&Matz - Kostenlose Bedienungsanleitung
Finden Sie kostenlos die Bedienungsanleitung des Geräts KM8007 Krüger&Matz als PDF.
Laden Sie die Anleitung für Ihr Soundbar kostenlos im PDF-Format! Finden Sie Ihr Handbuch KM8007 - Krüger&Matz und nehmen Sie Ihr elektronisches Gerät wieder in die Hand. Auf dieser Seite sind alle Dokumente veröffentlicht, die für die Verwendung Ihres Geräts notwendig sind. KM8007 von der Marke Krüger&Matz.
BEDIENUNGSANLEITUNG KM8007 Krüger&Matz
BEDIENUNGSCANLEITUNG
OWNER'S MANUAL
MODE D'EMPLOI
GEBRUKSAANWIJZING
INSTRUKCJA OBSŁUGI
MANUAL DE UTILIZARE
NAVOD NA POUZITIE
山
PEN
Nrd
V
Bevor Sie beginnen
Vielen Dank für den Kauf these Systems.itte lessen Sie die Bedienungsanleitung bevor Sie das Gerät benutzen. Bewahren Sie die Bedienungsanleitung auf fur späteres nachschlagen.
Für ihre Sicherheit

Vor dem Betrieb these Systems überprüfen Sie die Spannung these System um zu setzen, ob es mit der Spannung ihrer lokalen Stromversorgung übereinstimmt

Die Luftungsöffnungen des Geräts dürfen nicht mit Gegenständen wie Zeitungen, Tischtücher, Vorhänge usw. verdeckt werden. Überhitzung kann zu Beschädigungen führen und verkurzt die Lebensdauer der Geräte.

Wenn Sie den Netzsteckerziehen, ziehen Sie immer am Stecker und nie am Kabel.

Lassen Sie NIEMALS{jemanden, insbesondere Kinder irgendetwas in die Locher, Schlitze oder andere Öffnung des Gerates stecken - das konnte zu einen tõdlichen elektrischen Schlag führen;

Schützen Sie das Netzkabel so, dass nicht getreten oder geknicht wird, insbesondere an Steckern, Steckdosen und dem Punkt, wo es aus dem Gerät heraustritt.

Nie das Produkt mit scharfen Gegenständen schlagen.

Vermeiden Sie das Aufstellen des Gerät sowie Zubehör in der nausea von offenem Feuer oder anderen Wärmequellen, sowie direktem Sonnenlicht.

Um einen Stromschlag zu vermeiden, das Gehäuse nicht offen. Übelassen Sie alle Wartungsarbeiten qualifiziertem Service-personal.

Das Gerät sowie Zubehör nie Regen oder Wasser aussetzen. Stellen Sie niemals Behälter mit Flüssigkeiten wie Vasen in der Nähe des Gerätes auf.

WARNING
UM DIE GEFAHR VON FEUER ODER ELEKTRISCHEN SCHLAG ZU VERMEIDEN, DARF DAS GERÄT NICT TROPF-ODER SPRITZWASSER AUSGESETZ WERDEN.
ACHTUNG:
UM DAS RISIKO VON BRANDVERLETZUNGEN
UND STROMSCHLAGEN ZU VERRINGERN
ENTFERNEN SIE NICT DIE ABDECKUNG
(ODER RÜCKSEITE) DES GERÄTS.
ÜBERLASSEN SIE ALLE WARTUNGSARBEITEN
QUALIFIZIERTEM SERVICEPERSONAL.

CAUTION
RISK OF ELECTRIC SHOCK DO NOT OPEN


Das dreieckige Blitzsymbol mit Pfeilkopf weist den Benutzer auf das Vorhandsein von nicht isolierter „geführlicher Spannung" im Inneren des Gerätes hin, die ausreichen kann, um die Gefahr eines elektrischen Schlags darzustellen.

Das dreieckige Symbol mit dem Ausrufezeichen weist den Benutzer auf wichtige Bedienungs- und Wartungs-(Reparatur-) hinweise hin, die in dieser Bedienungsanleitung enthalten sind.
Gehörschutz
Hören Sie mit einer gemäßigen Lautstärke.
- Die Lautstärke kann tauschen. Im Laufe der Zeit passst sich Ihr "Gehör Komfort" an höhere Lautstärke an. Also nach längerem Hören bei "normaler" Lautstärke kann in Wirklichkeit sehr laut und für Ihr Gehör schädlich sein. Um dem vorzubeugen, sollen den Sie ihre Lautstärke in einem sicheren Bereich einstellen, bevor sich Ihr Gehör anpasst und halten Sie es dort
Um einen sicheren Lautstärkepegel einzurichten:
- Stellen Sie die Lautstärke auf eine geringe Lautstärke.
- Erhöhen Sie langsam die Lautstärke, bis Sie klar und deutlich zu horen ist.
Hören Sie nur für einen angemessenen Zeitraum:
-
Längeres Aussetzen, auch bei eigentlich "sicherem" Lautstärkepegel kann Hörverluste verursichen.
-
Achten Sie darauf, Ihr Gerät angemessen zu verwenden undnehmen entsprechende Pausen.
PRODUKTBESCHREIBUNG



FERNBEDIENUNG
① Taste Standby
② Taste Audio Ein
③ Lautstärke +
④ Taste Klang
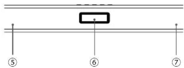
⑤ Taste Ton Aus
Lautstärke -
⑦ Taste Bluetooth
8 Taste AUX
(1) Standby
(2) Quelle
③ Klang
Lautstärke +/Lautstärke -
(5) Linker Laatsprecher
⑥ LCD Display/IR Sensor
⑦ Rechter Lautsprecher
⑧ DC Eingangsbuchse
AUX-IN L/R (RCA) Buchse
Audio-Eingangsbuchse (3,5 mm)

Einlagen der Batterien
- Öffnen Sie das Batteriefach.
- Legen Sie CR2032 Batterie mit der korrekten Polarität (+/-) ein wie angezeigt.
- Schlieben Sie das Batteriefach.


Hinweis:
- Entnehmen Sie die Batterien, wenn die Fernbedienung für einen längeren Zeitraum nicht verwendet wird.
Die Fernbedienung nicht stoßen oder fallen halten. - Kein Wasser oder andere Flüssigkeiten über die Fernbedienung verschütten.
- Legen Sie die Fernbedienung nicht auf ein nasses Objekt.
- Legen Sie die Fernbedienung nicht unter direkter Sonneneinstrahlung oder in der Höhe von Wärmequellen.
Reichweite der Fernbedienung
- Richten Sie die Fernbedienung am IR Sensor an der Vorderseite des Gerätes aus.
- Stellen Sie sich der sich keine Hindernisse zwischen der Fernbedienung und dem IR Sensor am Hauptgerät befinden.

WANDHALTERUNG
Hinweis:
Wandmontagearf nur von qualifiziertem Personal vorgenommen werden. Falsche Montage kann zu schweren Verletzungen und Sachschaden führen Die mitgelieferten Wandhalterungen sind nur fur den Einsatz an senkrechten Wänden geeignet für eine solchen Montage. Es ist die Verantwortung des Installateurs, zu überprüfen, dass die Wand safer die Gesamtlast der Klangeiste und Wandhalterung trägt. Zusätzliche Werkzeuge die fur die Installation benötigt werden, sind nicht enthalten. Schrauben nicht überdrehen.
- Teile

- LÖcher bohren, Dübel B x 2, Schrauben B x 2 montieren.

- Schrauben A montieren.

- Gerät aufhängen

ANSCHLUSS DER EXTERNEN GERÄTE


ANSCHLIESSEN DES AC/DC NETZGERÄTES
ECO-POWER/ BEREITSCHAFTS-FUNKTION
Dieses Gerät verfügt über einen ECO-Power/Bereitschafts-Modus. Drücken Sie die Taste Standby auf der Fernbedienung / am Gerät um in den Bereitschafts-Modus zu wechseln, und den Energieverbrauch zu verringn.
BEDIENUNG
- Einsatzen 2. Lautstärke reguln


KLANGTONAUS
Drücken Sie zum Auswahlen: MUSIK FILM NORMAL
TONAUS
Drücken Sie um den Ton auszuschalten Beim drücken der Taste Lautstärke oder Quelle wird der Ton wieder hergestellt.



AUX-IN (RCA)
Drucken Sie zum Auswahlen von Aux-In

AUDIO EIN (3,5 mm)
Drucken Sie zum Auswahlen von Audio Ein
BLUETOOTH
Koppeln Bluetooth - fahiger Geräte
Hinweis:
- Die Koppelung muss nur einmal durchgeführt werden. Die Reichweite zwischen diesen System und einem Bluetooth-Gerät beträgt etwa 8 Meter.
- Kompatibilität mit allen Bluetooth-Geräten wird nicht garantiert.
-
Jedes Hindernis zwischen diesen System und einem Bluetooth-Gerät kann die Reichweite verringern.
-
Drücken Sie die TasteBluetooth auf der Fernbedienung.
- Schalten Sie die Bluetooth - Funktion auf Ihr gemiet ein
- Suche nach anderen Bluetooth-Geräten mit Ihrem Gerät
- Wahlen Sie "KM8007" in der Kopplungliste.
- Drucken und halten der TasteBluetooth.
Hinweis:
- Die Verbindung wird getrennt, wenn das Gerät über die Reichweite hinaus bewegt wird.
- Wenn Sie das Gerät wieder mit dem System verbinden möchten, beachten Sie die Reichweite.
- Das Gerät unterstützen A2DP Funktion.
Reinigung
Vor der Reinigung Gerät immer von der Stromversorgung trennen.
- Zum Reinigen Gehäuse nur mit einem weichen, leicht angefeuchteten Tuch abwischen und danach trocknen.
- Verwenden Sie keine Reinigungsmittel die Alkohol, Ammoniak oder Scheuermittel enthalten, da diese das Gerät beschädigen können.
FEHLERBEHEBUNG
Wenn Sie ein Problem mit Ihr System haben, suchen Sie in dieser Liste nach einer möglichen Lösung, bevor Sie den Kundendienst anrufen. Wenn Sie das Problem mit den hier angegebenen Hinweisen nicht lösen können, oder das System ist beschädigt worden, rufen Sie eine qualifizierte Person, wie z. B. ihren Fachhändler, für Behebung.
Kann die Klangeleiste nicht auf meinem Bluetooth-Gerät finden
Die Bluetooth Funktion am Gerät ist nicht aktiviert.
Lautes Brummen oder Rauschen ist zu horen.
Die Stecker und Buchsen sind verschmutzt. Wischen Sie diese mit einem Tuch, das leicht mit einem geeigneten nicht scheuernden Reinigungsmittel angefeucht ist.
Kein Strom
- Überprüfen Sie ob das Netzkabel des Gerätes richtig angeschlossen ist.
- Überprüfen Sie ob Spannung an der AC Steckdose ist.
- Stellen Sie sicher dass das Geräteingeschaltet ist
Fernbedienung Funktioniert nicht
Verringern Sie den Abstand zwischen Fernbedienung und Gerät.
- Batterien in der Fernbedienung austauschen.
- Entfernen Sie Hindernisse zwischen Fernbedienung und Gerät.
- Fernbedienung direkt am Sensor des Hauptgerätes ausrichten.
TECHNISCHE DATEN
Verträker
Ausgangsleistung 20 Wx2 RMS
Frequenzgang. 100 Hz ~ 20 KHz
FM Rauschabstand. >70 dB
AUX Eingang. 1000 mV
Abmessungen. 995 x 73 x 60 mm
Allgemeine Informationen
DC Stromversorgung am Gerat. 18 V; 2,5 A
Spannungsversorgung 100-240 V~ 50/60 Hz
Verbrauch 12 W
ECO Bereitschaftsverbrauch.. 0,5 W
Bluetooth
Kommunikationssystem.............Bluetooth Standard Version 2.1 + EDR
Maximale Reichweite. ...etwa8 m
Ko mpatible Bluetooth - Profile.. Advanced Audio Distribution Profile (A2DP)
Unterstutztes Multigerat-Kopplung. bis zu 8 Geräte
Die Spezifikationen können ohne Ankündigung geändert werden.
"Hiermit erklar die Firma Lechpol dass sich das Gerat KM8007 im Einklang mit den grundlegenden Anforderungen und anderen relevanten. Bestimmungen der Richtlinie 1999/5/EG befindet.
Konformitätserklarung zum Download auf www.lechpol.eu"

Deutsch
Korrekte Entsorgung these Products (Elektromull)



(Anzuwenden in den Ländern der Europäischen Union und anderen europäischen Ländern mit einem separaten Sammelsystem)
Die Kennzeichnung auf dem Produkt bzw. auf der dazugehörigen Literatur gibt an, dass es nach seiner Lebensdauer nicht zusammen mit dam normalen Haushaltsmull entsorgt werden darf. Entsorgen Sie these Gerätitte getrennt von anderen Abfallen, um der Umwelt bzw. der menschilchen Gesundheit nicht durch unkontrollierte Müllbeseitigung zu schaden. Recycleln Sie das Gerät, um die nachhaltige Wiederverwertung von stofflichen Ressourcen zu fördern.
Private Nutzer sollten den Handler, bei dem das Produkt gekauft wurde, oder die zuständigen Behörden kontaktieren, um in Erfahrung zu bringen, wie sie das Gerät auf umweltfreundliche Weise recycleln können.
Gewerbliche Nutzer sollenn sich an ihren Lieferanten wenden und die Bedingungen des Verkaufsvertrags konsultieren. Dieses Produkt darf nicht zusammen mit anderen Gewerbemull entsorgt werden.
Vertrieben durch LECHPOL Electronics BV, Nijverheidsweg 15 4311RT Bruinisse, Niederlande.
Before Use
- Bescherm de batterij gegen warmtebronnen, direct zonlicht en brand.
EinfachAnleitung