VEB14026 - Ofen VESTEL - Kostenlose Bedienungsanleitung
Finden Sie kostenlos die Bedienungsanleitung des Geräts VEB14026 VESTEL als PDF.
Häufig gestellte Fragen - VEB14026 VESTEL
Laden Sie die Anleitung für Ihr Ofen kostenlos im PDF-Format! Finden Sie Ihr Handbuch VEB14026 - VESTEL und nehmen Sie Ihr elektronisches Gerät wieder in die Hand. Auf dieser Seite sind alle Dokumente veröffentlicht, die für die Verwendung Ihres Geräts notwendig sind. VEB14026 von der Marke VESTEL.
BEDIENUNGSANLEITUNG VEB14026 VESTEL
Sehr geehrter Kunde,
Unser Ziel ist es, Ihnen hochqualitative Produkte bieten zu küssen, die mehr leisten, als Sie erwarten. Dazu werden unsere Produkte in modernen Fertigungsstätten produziert und ganz besonders auf ihre Qualität getestet.
These Anleitungs erdient, um Sie bei der sicheren und effektiven Bedienung Ihres Gerätes zu Unterstützung, das unter Einsatz aktuellster Technologien für Sie hergestellt wurde.
Bevor Sie Ihr Gerät benutzen,lesen Sie diese Anleitung aufmerksam durch: Sie enthalt grundlegende Informationen zur richtigen und sicheren Installation, zur Wartung und natürlich auch zum Gebrauch. Zum Anschluss Ihrss Produktes wenden Sie sich an den autorisierten Kundendienst in ihrer Höhe.
Inhalt
1-Erscheinungsbild und Gröbe des Produkts
2- Warnhinweise
3-Vorbereitungen fur Installation und Gebrauch
4-Bedienung
5- Reinigung und Wartung Ihres Produktes
6-Service und Transport
TEIL 1: ERSCHEINUNGSBILD UND GROSSE DES PRODUKTS



KOMPONENTEN:
1-Bedienfeld
2 - Griff
3-Ofentur
4 - Kindersicherung
5-Einsatz
6 - Unteres Heizelement (hinter der Platte)
7 - Oberes Heizelement (hinter der Platte)
8 - Grillrost
9-Einschübe
10 - Ofenbeleuchtung
11 - Turboheizelement (hinter der Platte)
12 - Lüfter (hinter der Platte)
13 - Luftauslasse
LESEN SIE DIESE ANWEISUNGEN AUFMERKSAM UND VOLLSTÄNDIG, BEVOR SIE IHR GERÄT VERWENDEN; BEWAHREN SIE SIE ZUM KUNFTIGEN NACHSCHLAGEN AN EINEM SICHEREN ORT AUF.
DIESE ANLEITUNG WURDE FÜR MEHRERE MODELLE GESCHRIEBEN. DAHER KANN ES VORKOMMEN, DASS EINIGE IN DIESER ANLEITUNG BESCHRIEBEN FUNKTIIONEN NICTA Auf IHR MODELL ZUTREFFEN. ACHTEN SIE BEIM LESEN DER BEDIENUNGSANLEITUNG AUF AUSDRUCKE MIT ABBILDUNGEN.
Allgemeine Sicherheitswarnings
- Dieses Gerät kann von Kindern ab 8 Jahren und Personen bedient werden, deren körperliche oder geistige Fähigkeiten eingeschränkt sind bzw. die einen Mangel an Erfahrung und Wissen aufweisen, sofern sie überwacht werden oder in der sicheren Benutzung des Gerätes unterwiesen wurden und die damit verbundenen Gefahren verstehen. Kinder dürfen nicht mit dem Gerät speien. Reinigung und Nutzerwartung dürfen nicht von Kindern durchgeführrt werden, sofern diese nicht beaufsichtigt werden.
- WARNING: Das Gerät und seine erreichbaren Teile werden während der Benutzung heißt. Achten Sie darauf, keine Heizelemente zu berühren. Kinder unter 8 Jahren müssen fergengehalten werden, sofern sie nicht unter kontinuierlicher Beaufsichtigung stehen.
- WARNING: Brandgefahr: Lagern Sie nichts auf den Kochflächen.
- WARNING: Falls die Oberfläche gesprungen ist, schalten Sie das Gerät zur Vermeidung potentieller Stromschlaggefahr ab.
-
Das Gerät ist nicht darauf ausgelegt, über externe Timer oder separate Fernsteuerungssysteme betrieben zu werden.
-
Während der Benutzung wird das Gerät heißt. Achten Sie darauf, keine Heizeelemente im Ofen zu berühren.
-
Während der Benutzung konnen kurzzeitig festgehaltene Griffe heißt werden.
-
Reinigen Sie das Glas der Ofentür sowie andere Oberflächen nicht mit aggressiven Scheuermitteln oder scharfkantigen Metalschabern, da diese die Oberfläche verkratzen und so zu Sprüngen und anderen Oberflächenschäden führen können.
-
Benutzen Sie keinerlei Dampfreiniger zum Reinigen des Gerätes.
-
WARNING: Stellen Sie vor Auswechselung der Lampe zur Vermeidung potentieller Stromschlaggefahr sicher, dass das Gerät ausgeschaltet ist.
-
VORSICHT: Erreichbare Teile konnen beim Kochen oder Grillen heißt werden. Halten Sie keine Kinder fern.
-
Ihr Gerät wurde in Übereinstimmung mit allen lokalen und internationalen Standards und Richtlinien hergestellt.
- Wartungs- und Reparaturarbeiten *{durfen nur von autorisierten Kundendiensttechnikern ausgewührt werden. Installations- und Reparaturarbeiten, die von nicht autorisierten Technikern durchgefuhrt werden, setzen Sie möglicherweise Gefahren aus. Es ist gefährlich, die Spezifikationen des Gerätes auf irgendine Weise zu ändern oder zu modifizieren.
- Überzeugen Sie sich vor der Installation davon, dassörtliche Versorgung (Gasart und Gasdruck oder elektrische Spannung und Frequenz) und Anforderungen des Gerätes aufeinander abgestimmt sind. Die Voraussetzungen these Gerätes sind auf dem Typenschild angegeben.
- Vorsicht: Dieses Gerät ist ausschließlich darauf ausgelegt, Lebensmittel zu garen; es ist nur für den Indoor-Betrieb in Privathaushalten vorgesehen undarf nicht fur andere Zwecke oder in anderen Applikationen eingesetzt werden, wie z. B. fur die nicht-private Nutzung oder in einer komerzellen Umgebung bzw. zum Beheizen von Räumen.
- Versuchen Sie nicht, das Gerät durch Ziehen am Tügriff anzuheiten.
- Es wurden alle möglichen Sicherheitsmaßnahmen zur Gewährleistung ihrer Sicherheit vorgenommen. Da das Glas springen kann, reinigen Sie es zur Vermeidung von Kratzern entsprechend vorsichtig. Achten Sie daraufuf, nicht mit Zubehör gegenüber das Glas zu schlagen.
-- Achten Sie darauf, dass das Netzkabel bei der Installation nicht eingeklemmt wird. Falls das Netzkabel beschädigt sein sollte, muss es vom Hersteller, einer seiner Kundendienstniederlassungen oder einer ähnlich qualifizierten Fachkraft instandgesetzt werden, damit es nicht zu Gefährdungen kommt kann.
- Lassen Sie Kinder nicht auf die Ofentür klettern oder darauf sitzen.
Warnhinweise zur Installation
- Schalten Sie das Gerät nicht ein, bevor es komplett installiert wurde.
- Das Gerät muss von einem autorisierten Techniker installiert und in Betrieb genommen werden. Der Hersteller haftet nicht für jegliche Schäden, die durch falsche Aufstellung/Installation durch nicht autorisierte Personen entstehen.
Vergewissern Sie sich beim Auspacken, dass nichts während des Transports beschadigt wurde. Bei Schaden wenden Sie sichitte umgehend an einen qualifizierten Kundendienstmitarbeiter. Da die Verpackungsmaterialien fur Kinder gefährliche Teile enthalten konnen (Kunststoffe, Heftklammern, Hartschaum usw.), sollen sie umgehend gesammelt und aus der Reichweite von Kindern entfernt werden. - Schützen Sie Ihr Gerät vor Umwelterinflüssen. Setzen Sie das Gerät keiner Sonneneinstrahlung, Regen, Schnee etc. aus.
- Die umgebenden Materialien des Gerätes (Schrank) müssen Temperaturen von mindestens 100 °C standhalten können.
Während der Verwendung
- Wenn Sie ihren Ofen zum ersten Mal benutzen, tritt ein ungewöhnlicher Geruch durch die Erwärung von isolierenden Materialien und Heizelementen auf. Aus thisem Grund让他们 Ohren zunachst 45 Minuten lang bei maximaler Temperatureinstellung arbeiten, bevor Sie Lebensmittel damit zubereiten. Dabei achten Sie besonders auf eine gute Belüfung des Raumes, in dem Sie Ihr Produkt installiert haben.
- Wahlend der Benutzung werden außen- und innenliegende Ofenflächen besteht. Treten Sie beim Offnen der Ofentür aufgrund des aus dem Ofen strömendenheiten Dampfs einen Schritt darüber. Es besteht Verbrennungsgefahr.
- Geben Sie im Betrieb keine entflammbaren oder brennbaren Materialien in das bzw. in die Nähe des Gerätes.
- Tragen Sie beim Herausnehmen und Hineingeben von Lebensmitteln immer Ofenhandschuhe.
- Lassen Sie das Kochgerät nicht unbeaufsichtigt, wenn Sie mit Ölen und Fetten (fest oder flüssig) arbeiten. Bei starker Hitze können sich diese Substanzen spontan entzünden. Geben Sie niemals Wasser auf durch Öl verursachtes Feuer. Erstickten Sie derart entwickelte Flammen mit dem Deckel des jeweiligen Kochgeschirrs und schalten das Kochgerät ab.
- Trennen Sie die Stromversorgung, falls Sie das Gerät voraussichtlich lange Zeit nicht benutzen. Lassen Sie den Hauptschalter abgeschaltet.
Halten Sie bei Nichtbenutzung außer dem das Gasventil geschlossen.
- Stellen Sie sicher, dass die Knöpfte bei Nichtbenutzung immer auf die Position 0 (Stopp) eingestellt sind.
- Die Einschübe neigen sich beim Herausziehen liegt. Achten Sie darauf, keineheiten Flüssigkeiten zu verschüten.
- Stellen Sie nichts auf der geöffneten Ofentür oder Schublade ab. Das Gerät kann kippen, die Abdeckung schwer beschädigt werden.
- Geben Sie keine schweren oder entflammbaren bzw. entzündlichen Gegenstände (Nylon, Plastiktuten, Papier, Stoff etc.) in die Schublade. Dazu zahlt auch Kochgeschirr mit Kunststoffzubehör (z. B. Griffen).
- Hangen Sie keine Handtücher, Spultücher oder dergleichen am Gerät oder seinen Griffen auf.
Während der Reinigung und Wartung
- Schalten Sie das Gerät vor Aktionen wie Reinigung- oder Wartungsarbeiten immer ab. Sie können diese Arbeiten nach Abschalten oder Trennen der Stromversorgung ausführten.
- Entfernen Sie zur Reinigung des Bedienfeldes nicht die Bedienknöfte.
ZUR WAHRUNG DER SICHERHEIT UND EFFIZIENZ IHRES GERÄTES EMPFEHLEN WIR, GRUNDSÄTZLICH ORIGINAL-ERSATZTEILE EINZUSETZEN UND SICH BEI PROBLEMEN AN UNSERE AUTORISIEREN KUNDENDIANSTMITARBEITER ZU WENDEN.
TEIL 3: VORBEREITUNGEN FÜR INSTALLATION UND GEBRAUCH
Dieser moderne, funktionale und practische Ofen wurde mit Teilen und Materialien hochster Güte hergestellt und wird ihre Ansprüche in jeder Hinsicht erfüllen. Vergessen Sie nicht, die Anleitung aufmerksam durchzulesen, damit Sie gleich zu Anfang richtig und sicher mit dem Gerät arbeiten konnen und es auch in Zukunft nicht zu Problemen kommt. In den nachstehenden Informationen finden Sie bestimmte Regel, die wichtig für richtig Aufstellung und Wartungsarbeiten sind. Diese Informationen sollen den (insbesondere vom Installateur) mit besonderer Aufmerksamkeit gelesen werden.
WENDEN SIE SICH ZUR INSTALLATION IHRES OFENS AN DEN AUTORISIERENTEN KUNDENDIENST!
3.1. DER RICHTIGE PLATZ FÜR IHREN OFEN
Bei der Auswahl des richtigen Aufstellungsortes für ihren Ofen müssen einige Punkte beachtet werden. Halten Sie sich in jedem Fall an unsere nachstehenden Empfehlungen, damit es später nicht zu Problemen oder gefährlichen Situationen kommt!
- Bei der Auswahl des richtigen Platzes für ihren Ofen sollen den Sie darauf auf achtenden sich keine entflammbaren oder explosiven Materialien in nachster Höhe befinden; dieser können Vorhänge, ülige Tücher und ähnliche Materialien sein, die schnell Feuer fangen.
Die ihren Ofen umgebenden Möbel müssen aus hitzebeständigen Materialien bestehen, die auch Temperatur von 50^ oberhalb der Raumtemperatur aushalten.
In Abbildung 1 finden Sie eine Darstellung der erforderlichen Gegebenheiten oder Änderungen hinsichtlich Wandschränken und Abzugshauben sowie der notigen Minimalabstände zum Ofen und seinen Flächen. Demzufolge sollte die Abzugshaube mit einem minimalen Abstand von 65 cm von der Oberfläche des Kochfeldes angebracht werden. Ohne Abzugshaube sollte ein Abstand von mindestens 70 cm eingehalten werden.

3.2. EINBAUOFEN INSTALLIEREN
Ausschnittgroßen

Öffnen Sie die Backofentür und setzen Sie zwei Schrauben in die am Rahmen befindlichen Löcher ein. Öffnen Sie die Backofentür und setzen Sie zwei Schrauben in die am Rahmen befindlichen Löcher ein. Ziehen Sie die Schrauben fest, wenn das Gerät die Holzoberfläche der Kühenzeile berührt.
Wenn der Herd unter einem Kochfeld eingebaut wird, sollte der Mindestabstand zwischen dem Kochfeld und der Oberseite des Herdes 50mm betragen; der Mindestabstand zwischen dem Kochfeld und dem Bedienfeld 25mm .
Die Abmessungen des Gehäuses, in das der Ofen eingebaut wird, müssen absolut passend, das Material muss für höhere Temperaturen geeignet sein. Zur korrekten Installation darf das Produkt keine elektrischen oder isolierten Teile berühren. Isolierte Teile müssen so angebracht werden, dass sie auch mit Werkzeugen nicht entfernt werden konnen. Wir raten von der Installation des Gerätes in nachster Höhe zu Kuhl- und Gefriergeräten ab. Andernfalls kann die Leistung dieser Geräte durch Abwärme des Produktes beeinträchtigt werden. Nach dem Auspacken des Ofens überzeugen Sie sich davon, dass das Gerät unversehrt ist. Falls Sie eine Beschädigung des Gerätes vermuten, benutzen Sie es nicht. Wenden Sie sich unverzüglich an den autorisierten Kundendienst.
3.3. VERKABELUNG UND SICHERHEIT - EINBAUOFEN
Be der Verkabelung mssen die nachstehenden Anweisungen exakt eingehalten werden:
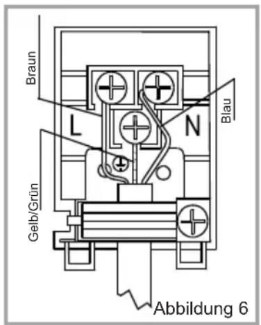
Das Erdungskabel muss über die Schraube mit dem Erdungsanschluss (@) verbunden werden. Das Versorgungskabel muss wie in Abbildung 6 gezeigt angeschlossen werden. Falls kein geerdeter, den lokalen Normen entsprechender Stromanschluss zur Verfügung stehen sollte, wenden Sie sich unverzüglich an den autorisierten Kundendienst.
Die geerdete Steckdose muss sich in unmittelbarer Höhe des Gerätes befinden. Benutzen Siemals Verlängerungskabel.
Das VersorgungskabelarfkeineheißenFlächendesProduktesberühren.
■ Bei jeglichen Beschädigungen des Versorgungskabels wenden Sie sich in jedem Fall an den autorisierten Kundendienst. Das Kabel muss vom autorisierten Kundendienst ausgetauscht werden.
Die Verkabelung des Gerätes muss durch den autorisierten Kundendienst ausgeführrt werden. Dazu müssen Versorgungskabel vom Typ H05VV-F eingesetzt werden.
Durch eine nicht ordnungsgemäß Verkabelung kann das Gerät beschädigt werden. Solche Schäden werden nicht durch die Garantie abgedeckt.
Das Gerät ist auf eine Stromversorgung von 220 bis 240 V Wechselspannung ausgelegt; falls ihre Netzspannung von diesen Werten abweichen sollte, wenden Sie sich unverzüglich an den autorisierten Kundendienst.
- Der Hersteller übernimmt keinerlei Haftung für jegliche Arten von Schäden oder Verlusten, die durch Nichteinhaltung von Sicherheitsnormen entstehen!

4.1 BEDIENFELD
Einbauofen

Ofenfunktion-Einstellknopf:
Drehen Sie den Knopf zur Auswahr der gewünschten Garfungtion auf das entsprechende Symbol (Abbildung 11). Einzelheiten zu Ofenfungtionen werden in Tabelle 1 und im nachsten Abschnitt erklär.
Ofentemperatur-Einstellknopf:
Nach Einstellung der Garfungkction kann die Temperatur über den Ofentemperatur-Einstellknopf (Abbildung 12) angepasst werden und der Ofen nimmt den Betrieb auf (Timer muss eingestellt sein, falls verfügbar).
Je nach Thermostatbetrieb ist die Temperatursignalleuche ein- oder ausgeschaltet.


4.2. OFENFUNKTION-EINSTELLKNOPF VERWENDEN
- Die Funktionen Ihr's Ofens konnen je nach Produktmodell variieren.
| Ofenbeleuchting | |
| Nur die Ofenbeleuchting schaltet sich ein, sie bleibt während aller Garfunktionen eingeschaltet. | |
| Statisches Garen | |
| Ofenthermostat und Warnleuchten werden eingeschaltet, oberes und unteres Heizelement schalten sich ein.Die statische Garfungkction gibt Hitze ab; dies gewährleistet gleichmäßiges Garen der Lebensmittel von oben und unter. Dies eignet sich ideal für Gebäck, Kuchen, Nudelgerichte, Lasagne und Pizza.Bei dieser Funktion empfeihlt es sich, den Ofen 10 Minuten vorzuheizen und nur einen Einschub auf einem zu verwenden. | |
| Unterhitze | |
| Ofenthermostat und Warnleuchten werden eingeschaltet, das untere Heizelement schaltet sich ein.Unterhitze eignet sich ideal beim Backen von Pizzen, da die Hitze vom Boden des Ofens aufsteigt und die Lebensmittel erhitzt.Diese Funktion eignet sich besonders zum Aufwärmen von Lebensmitteln. | |
| Oberhitze | |
| Ofenthermostat und Warnleuchten werden eingeschaltet, das obere Heizelement schaltet sich ein.Bei dieser Funktion wird die größte Hitze im oberen Bereich des Ofens erreicht. Oberhitze eignsit sich besonders zum Erhitzen der Oberseite von Lebensmitteln und zum Bräunen bereits gegart Gerichte. | |
| Auftaufunktion | |
| Ofen-Warnleuchten werden eingeschaltet, der Lüfter schaltet sich ein.Zur Nutzung der Auftaufunktion behmen Sie ihre gefrorenen Lebensmittel und geben sie in den von unten gesehen dritten Einsatz des Ofens. Es empfeihlt sich, ein Blech unter den gefrorenen Lebensmitteln zuplatzieren; diesen kann das beim Schmelzen von Eis entstehende Wasser auffangen. Bei dieser Funktion werden ihre Lebensmittel nicht gegart oder gek帐t, sondern lediglich Schneller aufgetaut. |

Grillfunktion
Ofenthermostat und Warnleuchten werden eingeschaltet, das Grill-Heizelement schaltet sich ein. Diese Funktion dient dem Grillen und Rosten von Lebensmitteln; verwenden Sie die oberen Einschübe des Ofens. Pinseln Sie den Rost leicht mit Öl ein, damit die Lebensmittel nicht daran haften bleiben; geben Sie die Lebensmittel in die Mitte des Rosts. Platzieren Sie zum Auffangen von Öl und Fett immer ein Blech darunter. Wir empfehlen, den Ofen etwa 10 Minuten lang vorheizen zu halten.
Warning: Beim Grillen muss die Ofentür geschlossen bleiben, die Temperatur sollte auf 190 °C eingestellt werden.

Schnellgrillfunktion
Ofenthermostat und Warnleuchten werden eingeschaltet, Grill- und unteres Heizelement schalten sich ein.
These Funktion dient dem Schnellenen Grillen und der Abdeckung einer großeren Fläche, z. B. beim Grillen von Fleisch; verwenden Sie die oberen Einschübe des Ofens. Pinsein Sie den Rost leicht mit Öl ein, damit die Lebensmittel nicht daran haften bleiben; geben Sie die Lebensmittel in die Mitte des Rosts. Platzieren Sie zum Auffangen von Öl und Fett immer ein Blech darunter. Wir empfehlen, den Ofen etwa 10 Minuten lang vorheizen zu setzen.
Warning: Beim Grillen muss die Ofentür geschlossen bleiben, die Temperatur sollte auf 190 °C eingestellt werden.

Turbofunktion
Ofenthermostat und Warnleuchten werden eingeschaltet, Ring-Heizelement und Lüfter schalten sich ein.
Die Turbofunktion sorgt für eine gleichmäßige Wärmeverteilung im Ofen. Dadurch werden Lebensmittel aufSAMTlichenEinschübengleichmäßiggegart.Wirempfehlen,denOfenetta10 Minuten lang vorheizen zu lassen.

Umluft:
Ofenthermostat und Warnleuchten werden eingeschaltet, oberes und unteres Heizelement sowie Lüfter schalten sich ein.
These Funktion eignet sich optimal bei Gebäck. Die Lebensmittel werden über das obere und unter Heizelement im Ofen gegart, der Lüfter zirkuliert die Luft, damit ein leichter Grilleffekt erzielt wird. Wir empfehlen, den Ofen etwa 10 Minuten lang vorheizen zu setzen.

Grill + Umluft:
Ofenthermostat und Warnleuchten werden eingeschaltet, Grill-Heizelement und Lüfter schalten sich ein.
These Funktion eignet sich beim Grillen dickerer Lebensmittel; verwenden Sie die oberen Einschübe des Ofens. Pinseln Sie den Rost leicht mit Öl ein, damit die Lebensmittel nicht daran haften bleiben; geben Sie die Lebensmittel in die Mitte des Rosts. Platzieren Sie zum Auffangen von Öl und Fett immer ein Blech darunter.
Warning: Beim Grillen muss die Ofentür geschlossen bleiben, die Temperatur sollte auf 190 °C eingestellt werden.

Doppelgrill + Umluft
Ofenthermostat und Warnleuchten werden eingeschaltet, Grill- und unteres Heizelement sowie Lüfter schalten sich ein.
These Funktion dient dem schnellen Grillen dickerer Lebensmittel und der Abdeckung einer großeren Fläche. Oberes Heizelement und Grill werden zur Erzielung einer gleichmäßigen Garung gemeinsam mit dem Lüfter in Betrieb genommen. Verwenden Sie die oberen Einschübe des Ofens.
Pinseln Sie den Rost leicht mit Öl ein, damit die Lebensmittel nicht daran haften bleiben; geben Sie die Lebensmittel in die Mitte des Rosts. Platzieren Sie zum Auffangen von Öl und Fett immer ein Blech darunter. Wir empfehlen, den Ofen etwa 10 Minuten lang vorheizen zu setzen.
Warning: Beim Grillen muss die Ofentür geschlossen bleiben, die Temperatur solte auf 190^ eingestellt werden.

Unterhitze + Umluft
Ofenthermostat und Warnleuchten werden eingeschaltet, unteres Heizelement und Lüfter schalten sich ein.
Die Kombination aus Lüfter und unterem Heizelement eignet sich ideal zum Schnellen und gleichmäßigen Erhitzen von Lebensmitteln. Wir empfehlen, den Ofen etwa 10 Minuten lang vorheizen zu halten.
| SPEISEN | TURBO | OBER-/UNTERHITZE | OBER-/UNTERHITZE + UMLUFT | GRILL | ||||||||
| Temperatur (°C) | Einschub position | Garzeit (Min.) | Temperatur (°C) | Einschub position | Garzeit (Min.) | Temperatur (°C) | Einschub position | Garzeit (Min.) | Temperatur (°C) | Einschub position | Garzeit (Min.) | |
| Schichtgebäck | 170 - 190 | 1-2-3 | 35 - 45 | 170 - 190 | 1-2 | 35 - 45 | 170 - 190 | 1-2 | 25 - 35 | |||
| Kuchen | 150 - 170 | 1-2-3 | 30 - 40 | 170 - 190 | 1-2 | 30 - 40 | 150 - 170 | 1-2-3 | 25 - 35 | |||
| Kekse | 150 - 170 | 1-2-3 | 25 - 35 | 170 - 190 | 1-2 | 30 - 40 | 150 - 170 | 1-2-3 | 25 - 35 | |||
| Frikadellen | 200 | 4 | 10 - 15 | |||||||||
| Wasserhaltigeteileisen | 175 - 200 | 2 | 40 - 50 | 175 - 200 | 2 | 40 - 50 | 175 - 200 | 2 | 40 - 50 | |||
| Geflügel | 200 | 1-2 | 45 - 60 | 200 | 1-2 | 45 - 60 | 200 | ★ | 50 - 60 | |||
| Koteletts | 200 | 3-4 | 15 - 25 | |||||||||
| Rindersteaks | 200 | 4 | 15 - 25 | |||||||||
| Zwei-Blech-Kuchen | 160 - 180 | 1-4 | 30 - 40 | |||||||||
| Drei-Blech-Kuchen | 170 - 190 | 1-4 | 35 - 45 | |||||||||
4.8. IM OFEN GENUTZTE ZUBEHÖRTEILE
Wir empfehlen, bei der Zubereitung von Speisen die in der Tabelle angegebenen Behälter zu verwenden; Sie können auch Glasbehälter, Kuchenformen und sonstige Einschübe verwenden, die sich für ihren Ofen eignen. Beachten Sieitte grundsätzlich die Anweisungen und Informationen des Herstellers. Wenn Sie kline Behälter verwenden, platzieren Sie these exakt in der Mitte des Rostes. Die nachstehenden Hinweise gelten insbesondere fur emaillierte Behälter.
Wenn Speisen das Blech nicht komplett ausfüllen, tieftegrefren in den Ofen gegeben werden oder Sie ein Blech zum Auffangen von Flüssigkeiten einsetzen, kann sich das Blech aufgrund der hohen Temperaturen verformen. Dies ist vollig normal und das Ergebnis unterschiedlicher Ausdehnung von Materialien bei hohen Temperaturen. Achten Sie daraufuf, dass sich Kochutensilien aus Glas nach der Zubereitung nicht schlagartig stark abkühlen. Setzen Sie solche Utensilien nicht auf kalte oder nasse Oberflächen. Sorgen Sie damit, dass solche Gegenstände langsam abkühlen, indem Sie sie auf ein Tuch setzen. Andernfalls kann das Glas brechen. Wenn Sie ihren Ofen zum Grillen einsetzen, schiben Sie am besten die Grillschale (eventuell mitgeliefert) unter. Auf diese Weise verhindern Sie Verschmutzungen Ihres Ofens durch spritzendes oder tropfendes Fett. Wenn Sie das Grillrost verwenden, schiben Sie ein Blech in der unteren Position ein, in dem sich tropfendes Fett}sammeln kann. Geben Sie etwas Wasser hinzu; dies erleichtert die Reinigung. Beim Grillen benutzen Sie den dritten oder vierten Einschub und fetten das Rost etwas ein, damit nichts daran kleben bleibt.

Rost: Zum Grillen und als Unterlage für Behälter.
Flaches Blech: Für Gebäck wie Obsttorten.


5.1. REINIGUNG
Bevor Sie ihren Ofen reinigen, vergewissem Sie sich zunachst, dassSAMTliche Bedienelemente abgeschaltet sind und der Ofen abgekuhl ist. Ziehen Sie wenn möglich den Netzstecker.
Benutzen Sie keine Reinigungsmittel, die Scheuermittel enthalten: Diese können die emailierten und lackierten Teile Ihres Ofens beschädigen. Verwenden Sie Creme- oder Flüssigreiniger ohne Scheuerzusätze. Benutzen Sie keinerlei atzende Reiniger, Scheuerpulver, Stahlwolle oder harte Gegenstände, damit die Oberflächen Ihres Gerätes nicht beschädigt werden. Überlaufende Lebensmittel und verschüttete Flüssigkeiten können sich in die Oberflächen Ihres Ofens einbrennen und Schaden an der Emaille verursachen. Wischen Sie verschüttete Flüssigkeiten(sofort auf. Benutzen Sie keinerlei Dampfreiniger zum Reinigen des Ofens.
Ofen-Innenraum reinigen
Trennen Sie den Ofen vor dem Reinigen von der Stromversorgung. Der Ofen-Innenraum lassst sich am besten reinigen, wenn er noch etwas warm ist. Wischen Sie den Ofen nach jeder Benutzung mit einem weichen Tuch aus, das Sie mit etwas Seitenwasser angefeucht haben. Wischen Sie den Ofen anschließend mit einem feuchten Tuch aus, danach wischen Sieihn trocken. Benutzen Sie keine Trockenreiniger und keine Reinigungspulver. Bei Produkten mit katalytischen Emailerahmen müssen Rückwand und Seitenwände des Ofen-Innenraums nicht gereinigt werden. Allerdings sollenn diese nach einer bestimmten Zeit (abhängig von der Nutzung) ausgetauscht werden.
Kochfeld reinigen
Die Kochfelder sollenn mit einem feuchten Tuch abgewischt werden. Edelstahlteile sollenn lediglich mit Wasser abgewaschen und mit einem weichen Tuch oder Fensterleder getrocknet werden. Vertiefungen und Ecken setzen sich am besten mit einem flüssigen Reinigungsmittel oder etwas handwarmem Essig reinigen. Glasdeckel reinigen Sie mit freiem Wasser und einem rauen Tuch. Versuchen Sie, beim Reinigen auf starkes Reiben und Scheuern zu verzachten. Nötigenfalls konnen Sie flüssige Reinigungsmittel verwenden. Achten Sie auch daraufuf, den Glasdeckel nicht zu schreiben, bis das Kochfeld komplett abgekühlt ist.
Glaskeramik reinigen
Trennen Sie das Gerät von der Stromversorgung, bevor Sie mit dem Reinigen beginnen.
Lassen Sie die Glaskeramik vor dem Reinigen komplett abkühlen.
Vergewissern Sie sich, dass die von Ihnen eingesetzten Reinigungsmittel keinerlei Scheuermittel enthalten, die das Glas verkatzen konnen. Benutzen Sie am besten Creme- oder Flüssigreiniger.
Die Glaskeramik sollte mit kaltem Wasser abgewischt und mit einem weichen Tuch trocken gerieben werden, bis auch der letzte Reinigungsmittelrest entfernt ist.
- Übergelaufene Lebensmittel und sonstige Rückstände können Sie mit dem Schaben entfernen, der mit ihrem Gerät geliefert wurde.
Zuckerhaltige Lebensmittel sollenen sofort entfernt werden, solange die Glaskeramik noch heiß ist.
Stahlwolle kann zu Beschädigungen der Glaskeramik führen. Staub entfern den Sie am besten mit einem angefeuchteten Tuch von den entsprechenden Oberflächen.
- Im Laufe der Zeit können Verfährungen der glaskeramischen Oberfläche auftreten; diese,) dar. der Grund dieser Verfahrungen liegt nicht in Veränderungen der Glaskeramik: Solche Verfärbungen treten auf, wenn sich Lebensmittelreiste in die Oberfläche einbrennen, die Glaskeramik durch Kochgeschirr abgenutzt wird oder ungeeignete Reinigungsmittel verwendet wurden.
Bevor Sie chemische Reinigungsmittel einsetzen, sollen den Sie zunachst grundsätzlich den mitgelieferten Schaber verwenden. Mit thisem Schaber konnen Sie auch die kleinsten Verschmutzungen von der Glaskeramik entfernen. Auch schwierig zu entfernende Verunreinigungen wie geschmolzene Kunststoffe, Öl und Fette sowie zuckerhaltige Substanzen konnen ebenfls leicht mit dem Schaber halten werden. Da der Schaber mit einer scharfen Rasierklinge arbeitet, ist er nicht ganz ungefährlich und sollte stets außerhalb der Reichweite von Kindern aufbewahrt werden.
Achten Sie beim Einsatz des Schabers darauf, nicht das Silikon an den Kanten des Glases zu beschädigen.
5.2.WARTUNG
Ofenbeleuchtung austauschen
Die Ofenbeleuchtung muss durch einen autorisierten Techniker ausgetaucht werden. Verwenden Sie ein Leuchtmittel des Typs E14, T300 mit 230 V, 25 Watt. Vor dem Austausch der Beleuchtung sollte der Ofen vom Stromnetz getrennt und vollständig abgekühlt sein.
Das Lampendesign ist speziell zur Nutzung in Haushaltskochgeräten vorgesehen und eignet sich nicht zur Raumbeleuchtung.
6.1. BEVOR SIE SICH AN DEN KUNDENDIENST WENDEN
Falls der Ofen nicht Funktionieren sollen:
Der Ofen ist eventuell von der Stromversorgung getrennt oder ein Stromausfall ist eingetreten. Bei Modellen mit Timer ist eventuell eine falsche Uhrzeit eingestellt.
Falls sich der Ofen nicht aufheizen sollen:
Mölicherweise haben Sie vergessen, die Ofentemperatur einzustellen.
Falls die Ofenbeleuchting nicht aufleuchten sollen:
Überprüfen Sie die Stromversorgung. Vergewissern Sie sich, dass das Leuchtmittel nicht defekt ist. In thisem Fall tauschen Sie das Leuchtmittel nach Anleitung aus.
Probleme beim Garen (z. B. ungleichmäßige Erwärnung bei Oberhitze/Unterhitze):
Kontrollieren Sie, ob das Grillrost/Backblech in der richtigen Position eingeschoben, die richtige Garzeit eingehalten und die Temperatur richtig eingestellt wurde.
Falls nach wie vor Probleme mit ihrem Produkt auftreten sollenen, wenden Sie sichitte an den Kundendienst.
6.2. HINWEISE ZUM TRANSPORT
Falls das Gerät transportiert werden muss:
Zum Transportieren des Gerätes benutzen Sie am besten das Original-Verpackungsmaterial. Halten Sie sich an die Transporthinweise auf der Verpackung. Fixieren Sie die oberen Teile des Gerätes, Brenner, Köfe und Geschirrhalter mit Klebeband am Kochfeld.
Legen Sie Papier zwischen Abdeckung und Kochfeld,decken Sie die Abdeckung ab und befestigen Sie sie mit Klebeband an den Seitenflächen des Ofens.
Schützen Sie das Glas der Ofentür mit Pappe oder Papier, damit das Glas beim Transport nicht durch Grillrost, Backblech oder ähnliche Gegenstände beschädigt wird. Befestigen Siesamtliche weiteren losen Gegenstände mit Klebeband an den Seitenwänden des Gerätes.
Falls die Originalverpackung nicht mehr greifbar sein sollte:
Schützen Sie die Außenflächen (Glas und lackierte Flächen) des Ofens vor möglichen Stößen.
| Marke | VESTEL | |
| Modell | VEB13026 | |
| Ofentyp Elektro | ||
| Gewicht kg 29,0(+/-2) | ||
| Energieeffizienzindex – konventionell 103,8 | ||
| Energieeffizienzindex – Umluft - | ||
| Energieklasse A | ||
| Energieverbrauch (Elektrizität) – konventionell kWh/Zyklus 0,85 | ||
| Energieverbrauch (Elektrizität) – Umluft kWh/Zyklus - | ||
| Anzahl Kavitäten 1 | ||
| Heizquelle Elektro | ||
| Volumen I 64 | ||
| Dieser Ofen stimmt mit EN 60350-1 überein | ||
| Energiespartipps | ||
| Ofen | ||
| - Kochen Sie Mahlzeiten wenn möglich zur gleichen Zeit. | ||
| - Halten Sie Vorheizzeiten kurz. | ||
| - Verlangern Sie die Kochzeiten nicht unnöttig. | ||
| - Vergessen Sie nicht, den Ofen am Ende des Kochvorgangs abzuschalten. | ||
| - Öffnen Sie nicht die Ofentür während des Kochvorganges. | ||
| Modell | VEB15016 | |
| Ofentyp Elektro | ||
| Gewicht kg 30,0(+/-2) | ||
| Energieeffizienzindex – konventionell 118,4 | ||
| Energieeffizienzindex – Umluft 104,6 | ||
| Energieklasse A | ||
| Energieverbrauch (Elektrizität) – konventionell kWh/Zyklus 0,94 | ||
| Energieverbrauch (Elektrizität) – Umluft kWh/Zyklus 0,83 | ||
| Anzahl Kavitäten 1 | ||
| Heizquelle Elektro | ||
| Volumen I 58 | ||
| Dieser Ofen stimmt mit EN 60350-1 überein | ||
| Energiespartipps | ||
| Ofen | ||
| - Kochen Sie Mahlzeiten wenn möglich zur gleichen Zeit. | ||
| - Halten Sie Vorheizzeiten kurz. | ||
| - Verlangern Sie die Kochzeiten nicht unnötig. | ||
| - Vergessen Sie nicht, den Ofen am Ende des Kochvorgangs abzuschalten. | ||
| - Öffnen Sie nicht die Ofentür während des Kochvorganges. | ||
| Modell | VEB14026 | |
| Ofentyp Elektro | ||
| Gewicht kg 30,0(+/-2) | ||
| Energieeffizienzindex - konventionell 118,4 | ||
| Energieeffizienzindex - Umluft 104,6 | ||
| Energieklasse A | ||
| Energieverbrauch (Elektrizität) - konventionell kWh/Zyklus 0,94 | ||
| Energieverbrauch (Elektrizität) - Umluft kWh/Zyklus 0,83 | ||
| Anzahl Kavitäten 1 | ||
| Heizquelle Elektro | ||
| Volumen I 58 | ||
| Dieser Ofen stimmt mit EN 60350-1 überein | ||
| Energiespartipps | ||
| Ofen | ||
| - Kochen Sie Mahlzeiten wenn möglich zur gleichen Zeit. | ||
| - Halten Sie Vorheizzeiten kurz. | ||
| - Verlangern Sie die Kochzeiten nicht unnötig. | ||
| - Vergessen Sie nicht, den Ofen am Ende des Kochvorgangs abzuschalten. | ||
| - Offnen Sie nicht die Ofentür während des Kochvorganges. | ||
Konformitätserklarung
Wir erklären, dass unsere Produkte die geltenden europäischen Richtlinien, Entscheidungen und Regularien sowie die in den referenzierten Standards gelisteten Anforderungen erfüllen.

Entsorgung des Gerätes

Altgeräte)dürfen nicht in den Hausmüll!
Sollte das Gerät einmal nicht mehr benutzt werden konnen, so ist jeder Verbraucher gesetzlich verpflichtet, Altgeräte getrennt vom I Hausmüll z.B bei einer Sammelstelle seiner Gemeinde / seines Stadtteils abzugegeben. Damit wird gewährleistet, dass die Altgeräte fachgerecht verwertet und negative Auswirkungen auf die Umwelt vermieden werden.
Deshalb sind Elektrogetäte mit dem abgebildeten Symbol gekennzeichnet.
Recycling

Unsere Verpackungen werden aus umweltfeundlichen, wiedervertbaren Materialen hergestellt:
Außenverpackung aus Pappe
Formteile aus geschäumtem, FCKW-freiem Polystyrol (PS)
Foilen und Beutel aus Polyäthylen (PE)
Spannbänder aus Polypropylen (PP).
Sollten es ihre räumlichen Verhältnisse zulassen, empreflen wir Ihnen, die Verpackung zumindest während der Garantiezeit aufzubewahren. Sollte das Gerät zur Reparatur eingeschiedt oder in eine Reparatur-Annahmestelle gebracht werden müssen. ist das Gerät nur in der Originalverpackung ausreichend geschützt.
Wenn Sie sich von der Verpackung trennen möchten, entsorgen Sie dieseitte umweltfreiundlich.
VESTEL
VEB13026 / VEB14026 VEB15016
EN
Indien de oven nicht werkt:
Indien de oven nicht opwarmt:
EinfachAnleitung