GLLH 2547 - Vertikutierer Gardenline - Kostenlose Bedienungsanleitung
Finden Sie kostenlos die Bedienungsanleitung des Geräts GLLH 2547 Gardenline als PDF.
Häufig gestellte Fragen - GLLH 2547 Gardenline
Benutzerfragen zu GLLH 2547 Gardenline
0 Frage zu diesem Gerät. Beantworten Sie die, die Sie kennen, oder stellen Sie Ihre eigene.
Eine neue Frage zu diesem Gerät stellen
Laden Sie die Anleitung für Ihr Vertikutierer kostenlos im PDF-Format! Finden Sie Ihr Handbuch GLLH 2547 - Gardenline und nehmen Sie Ihr elektronisches Gerät wieder in die Hand. Auf dieser Seite sind alle Dokumente veröffentlicht, die für die Verwendung Ihres Geräts notwendig sind. GLLH 2547 von der Marke Gardenline.
BEDIENUNGSANLEITUNG GLLH 2547 Gardenline
Deutsch .......Seite 06
Français .... Page 31
Italiano...Pagina 57

Mit QR-Codes Schnell und einfach ans Ziel
Egal, ob Sie Produktinformationen, Ersatzteile oder Zubehör benötigen, Angaben über Herstellergarantien oder Servicestellten sich, oder sich bequem eine Video-Anleitung anschauen möchten, mit unseren QR-Codes gelangen Sie kinderleicht ans Ziel.
Was sind QR-Codes?
QR-Codes (QR = Quick Response) sind grafische Codes, die mithilfe einer Smartphone-Kamera gelesen werden und beispisse einen Link zu einer Internetseite oder Kontaktdaten enthalten.
Ihr Vorteil: Kein bisheriges Eintippen von Internet-Adressen oder Kontaktdaten!
Und so Goes
Zum Scannen des QR-Codes benötigen Sie ledigious ein Smartphone, einen installierten QR-Code Reader sowie eine Internet-Verbindung*. Einen QR-Code Reader finden Sie in der Regel kostenlos im App Store Ihres Smartphones.
Jetzt ausprobieren
Scannen Sie einfach mit Ihrlem Smartphone den folgenden QR-Code und erfahren Sie mehr über ihr neu erworbenes Aldi-Produkt.*
Ihr Aldi Serviceportal
Alle oben genannten Informationen erhalten Sie auch im Internet über das Aldi Serviceportal unter www.aldi-service.ch.

Inhaltsverzeichnis
Übersicht. 4
Verwendung 5
Lieferumfang/Geräteteile 6
Allgemeines 7
Bedienungsanleitung lesen und aufbewahrenen ....7
Zeichenerklarung 7
Sicherheit 9
Bestimmungsgemäßer Gebrauch 9
Restrisiko 9
Sicherheitshinweise 10
Erstinbetriebnahme 12
Gartenhacksler und Lieferumfang prufen 12
Gartenhacksler zusammenetzen 13
Bedienung 16
Netzanschluss herstellen 16
Ein-/Ausschalten 16
Sicherheitsschalter 17
Motorschutz 17
Häckseln 17
Verklemmtes Material losen 20
Entleeren der Häckselgutfangbox 22
Reinigung, Pflege und Lagerung 22
Reinigung 23
Einstellen des Gegenmessers 24
Häckselmesser und Gegenmesser austauschen 24
Lagerung. 25
Ersatz- und Zubehörteile 25
Technische Daten 26
Gerausch 26
Fehlersuche 27
Entsorgung 28
Konformitätserklung 29
Garantiekarte 83
Garantiebedingungen 84



54

Lieferumfang/Geräteile
1 Drehrichtungsumschalter
2 Ein-/Ausschalter
3 Motoreinheit
4 Sicherheitsschalter
5 Häckselgutfangbox
6 Untergestell
7 Rader (2 Stuck)
8 Radkappen (2 Stuck)
9 Knauf zur Gegenmesser-Einstellung
10 Integrierter Netzstecker
11 Transportgriff
12 Rückstelltaste
13 StandfuBe (inkl. Befestigungsschrauben)
14 Kreuzschlitzschraubendreher
15 Gabelschlüssel (Sw 10/13, 2 Stück)
16 Schraubensatz für Radmontage (inkl. Radbuchse, Beilagscheiben und Mutter, jeweils 2 Stück)
17 Beilagscheiben für Montage Motoreinheit (4 Stück)
18 Schrauben fur Montage Motoreinheit (4 Stück)
19 Schiene für Häckselgutfangbox
Allgemeines
Bedienungsanleitunglesen und aufbewahren

These Bedienungsanleitung gehört zu diesen Gartenhäcksler. Sie enthalt wichtige Informationen zur Inbetriebnahme und Handhabung.
Lesen Sie die Bedienungsanleitung, insbesondere die Sicherheitshin-weise, sorgfältig durch, bevor Sie den Gartenhacksler einsetzen. Die
Nichtbeachtung dieser Bedienungsanleitung kann zu schweren Verletzungen oder Schaden am Gartenhacksler führen.
Die Bedienungsanleitung basiert auf den in der Europäischen Union gültigen Normen und Regeln. Beachten Sie im Ausland auch landesspezifische Richtlinien und Gesetze.
Bewahren Sie die Bedienungsanleitung für die weitere Nutzung auf. Wenn Sie den Gartenhäcksler an Dritte weitergeben, geben Sie unbedingt diese Bedienungsanleitung mit.
Zeichenerklärung
Die folgenden Symbole und Signalworte werden in dieser Bedienungsanleitung, auf dem Gartenhächsler oder auf der Verpackung verwendet.

WARNING!
Dieses Signalsymbol-/wort bezeichnet eine Gefährung mit einem mittleren Risikograd, die, wenn sie nicht vermieden wird, den Tod oder eine schwere Verletzung zur Folge haben kann.

VORSICHT!
Dieses Signalsymbol-/wort bezeichnet eine Gefährdung mit einem niedrigen Risikograd, die, wenn sie nicht vermieden wird, eine gingefugige oder mäßige Verletzung zur Folge haben kann.
HINWEIS!
Dieses Signalsymbol-/wort warnt vor möglichen Sachschäden.

Dieses Symbol weist auf nützliche Zusammeninformationen zum Zusammenbau oder zum Betrieb hin.

E
Konformitätserklarung (siehe Kapitel „Konformitätserklarung“): Mit diesen Symbol gekennzeichne Produkte erfüllen alle anzuwendenden Gemeinschaftsvorschriften des Europäischen Wirtschaftsrums.


Bedienungsanleitunglesen und Warn- und Sicherheitshinweise befolgen.


Achtung vor rotierenden Messern. Höhe und Fuß nicht in Öffnungen halten, wenn die Maschine lauft.


Unbeteiligte Personen, sowie Tiere aus dem Gefahrenbereich fernhalten.

Gartenhäcksler vor Feuchtigkeit schützen und nicht dem Regen aussetzen.

Tragen Sie einen Gehorschutz.

Tragen Sie eine Schutzbrille.

Tragen Sie Schutzhandschuhe.

Häckselgutfangbox ist verriegelt, Gartenhächsler kann eingeschaltet werden.
Häckselgutfangbox ist nicht verriegelt, Gartenhächsler kann nicht eingeschaltet werden.


Vor Arbeitsen am Schneidwerkzeug, Netzsteckerziehen!
Vor jeglichen Arbeiten am Gartenhacksler wie Einstellung, Reinigung, usw. und bei Beschädigung der Netzleitung, Gartenhacksler ausschalten und Stecker aus der Steckdoseziehen.

Rechtsdrehen: Abstand Messerwalze zu Gegenmesser verringern.
Linksdrehen: Abstand Messerwalze zu Gegenmesser erhöhen.
Sicherheit
BestimmungsgemäßerGebrauch
Der Gartenhacksler ist ausschließlich zum Zerkleinern von Baum- und Heckenschnitt-gut konzipiert. Er ist ausschließlich für den Privatgebrauch bestimmt und nicht für den gewerblichen Bereich geeignet.
Verwenden Sie den Gartenhäcksler nicht für weiche Materialien, wie z. B. Kuchenabfälle, da diese das Häckselwerk verstopfen.
Verwenden Sie den Gartenhächsler nur wie in dieser Bedienungsanleitung beschreiben.Eine andere Verwendung gilt als nicht bestimmungsgemäß und kann zu Sachschäden oder)sogar zu Personenschäden führen.Der Gartenhächsler ist kein Kinderspielzeug.
Der Hersteller oder Handler übernimmt keine Haftung für Schäden, die durch nicht bestimmungsgemäßen oder falschen Gebrauch entwickelten sind.
Restrisiko
Auch wenn Sie diesen Gartenhäcksler bestimmungsgemäß verwenden, können nicht offensichtliche Restrisiken nicht vollständig ausgeschlossen werden. Folgende Gefahren können im Zusammenhang mit der Bauweise und Ausführung dieseres Gartenhäckslersauftreten:
- Verletzungsgefahr durch Einzug beim Hineingreifen in den Einfüllschacht;
- Kratz-, Quetsch- oder Schnittverletzungen beim Arbeiten ohne Schutzhand schuhe;
- Augenschäden durch weggeschleuderte Teile oder zusackspringendes Schnitt-gut, wenn keine Schutzbrille getragen wird;
- Gehörschäden, wenn kein geeigneter Gehörschutz getragen wird.
Vermindern Sie das Restrisiko, indem Sie den Gartenhächsler sorgfältig und vorschrifsmäßig benutzen und alle Anweisungen befolgen.
Sicherheitshinweise
WARNING!
Stromschlaggefahr!
Fehlerhafte Elektroinstallation oder zu hohe Netzspannung konnen zu elektrischem Stromschlag führen.
- Schließen Sie den Gartenhäcksler nur an, wenn die Netzspannung der Steckdose mit der Angabe auf dem Typsvild übereinstimmt.
- Schließen Sie den Gartenhächksler nur an eine gut zugäng liche Steckdose an, damit Sie den Gartenhächksler bei einem Störfall schnell vom Stromnetz trennen können.
- Betreiben Sie den Gartenhäcksler nicht, wenn er sightbare Schaden aufweist.
- Öffnen Sie das Gehäuse nicht, sondern überlassen Sie die Reparatur Fachkräften. Wenden Sie sich dazu an eine Fachwerkstatt. Bei eigenständig durchgeführten Reparaturen, unsachgemäßem Anschluss oder falscher Bedienung sind Haftungs- und Garantieansprüche ausgeschlossen.
- Bei Reparaturen dürfen nur Teile verwendet werden, die den ursprünglichen Gerätedaten entsprechen. In thisem Gartenhächsler befinden sich elektrische und mechanische Teile, die zum Schutz gegen Gefahrenquellen unerlösslich sind.
- Der Gartenhäckslerarf nicht mit einer externen Zeitschaltuhr oder separatemFernwirksystembetriebenen werden.
- Betreiben Sie den Gartenhäcksler nur an einer Steckdose mit Schutzkontakt, die mit mindestens 16 A abgesichert ist.
- Der Gartenhäcksler muss über eine Fehlerstrom-Schutz-einrichtung (Fl) mit einem Bemessungsfehlerstrom von nicht mehr als 30mA versorgt werden.
-
Elektrische Zuleitungen sind so zu verlegen, dass sie nicht in den Gartenhäcksler geraten können.
-
Tauchen Sie den Gartenhäcksler nicht in Wasser oder andere Flüssigkeiten.
- Halten Sie den Gartenhäcksler von offenem Feuer und heißen Flächen fern.
- Benutzen Sie den Gartenhäcksler nie bei Regen, in feuchter, nasser Umgebung oder wenn die Gefahr von Blitzschlag besteht. Schützen Sie den Gartenhäcksler vor Feuchtigkeit und Regen.
- Wenn Sie den Gartenhäcksler nicht benutzen, reinigen oder wenn eine Störung auftritt, schalten Sie den Gartenhäcksler immer aus undziehen Sie den Netzstecker aus der Steckdose.
- Verwenden Sie den Gartenhäcksler nicht, falls der Ein-/Ausschalter nicht einwandfrei Funktioniert.
- Gartenhächsler mit fehlerhaftem Ein-/Ausschalter)dürfen nicht verwendet werden.

WARNING!
Gefahren für Kinder und Personen mit verringgerten physischen, sensorischen oder mentalen Fähigkeiten (beispiels weise Behinderte, ältere Personen mit Einschränkung ihrer physischen und mentalen Fähigkeiten) oder Mangel an Erfahrung und Wissen (beispelssweise Kinder).
Kinder dürfen nicht mit dem Gartenhäckslerspielen.
- Der Gartenhäckslerarf ausschließlich von Erwachsenen benutztwerden.
- Erlauben Sie niemals Kindern, das Gerät zu benutzen.
- Lassen Sie den Gartenhäcksler während des Betriebs nicht unbeaufsichtigt.
- Lassen Sie Kinder nicht mit der Verpackungsfolie speiten. Sie können sich beim Spieler darin verfangen und ersticken.
- Halten Sie Kinder von Kleinteilen fern. Bei Verschlucken besteht Erstickungsgefahr.
- Zusätzlich zu den Hinweisen in dieser Bedienungsanleitung mussen die allgemeinen Sicherheits- und Unfallverhütungsvorschriften des Gesetzgebers berücksichtigt werden.
▲WARNUNG!
Verletzungsgefahr!
Der Gartenhäcksler besitzt verschiedene Schutzeinrichtungen, um Verletzungen weltgehend auszuschreiben.
- Vor Inbetriebnahme müssen Sie den Gartenhäcksler correkt zusammenbauen.
- Vor Inbetriebnahme des Gartenhäckslers sind alle Schrauben, Muttern, Bolzen und andere Befestigungsmaterial auf festen Sitz zu überprüfen.
- Achten Sie darauf, dass alle Abdeckungen und Abweiser an ihren Platz und in gutem Arbeitszustand sind.
- Setzen Sie nie Sicherheitsvorrichtungen außer Kraft.
- Ersetzen Sie beschädigte oder unleserliche Aufkleber.
A VORSICHT!
Verletzungsgefahr
Unsachgemäß Handhabung kann zu schweren Verletzungen führen.
- Arbeitsen Sie nur beiugen Lichtverhältnissen oder sorgen Sie für eine entsprechende künstliche Beleuchtung.
Erstinbetriebnahme
Gartenhäcksler und Lieferumfang prüfen
A VORSICHT!
Verletzungsgefahr!
Der Gartenhacksler ist schwer.
-
Wir empfehlen, den Gartenhäcksler zu zweit aus der Verpackung zu haben.
-
Nehmen Sie den Gartenhäcksler aus der Verpackung und kontrollieren Sie, ob der Gartenhäcksler oder die Einzelteile Schäden aufweisen. Ist dies der Fall, benutzen Sie den Gartenhäcksler nicht. Wenden Sie sich über die auf der Garantiekarte angegebene Serviceadresse an den Hersteller.
-
Prüfen Sie, ob die Lieferung vollständig ist (siehe Abb. A und Abb. B).
Gartenhäcksler zusammensetzen
Motoreinheit montieren

-
Stellen Sie die Motoreinheit 3 kopfüber auf den Boden.
-
Verschrauben Sie die Motoreinheit 3 und das Untergestell 6 mit dem Kreuzschlitzschraubendreher 14. Verwenden Sie hierzu die Beilagscheiben 17 sowie die Schrauben 18.
Räder montieren

-
Nehmen Sie die Radkappen 8 von den Rädern 7 ab.
-
Schieber Ben Sie je eine Buchse des Schraubensatzes 16 in die Bohrung eines Rades.

Stecken Sie jeweils eine Schraube des Schraubensatzes 16 mit einer Beilegscheibe des Schraubensatzes von der Radseite mit den Stegen her durch die Buchse.

- Verschrauben Sie die Räder mit dem Untergestell 6. Legen Sie darauf je eine Beilegscheibe vor und nach dem Untergestell unter. Ziehen Sie die Sicherungsmattern des Schraubensatzes 16 mit den Gabelschlüsseln 15 nur soweit fest, dass sich die Räder noch leicht drehen setzen.

- Drücken Sie die Radkappen 8 wieder auf die Räder 7.
StandüBe und Häckselgutfangbox montieren

- Montieren Sie die Standfuße 13 am Untergestell 6. Benutzen Sie dazu den Kreuzschlitzschraubendreher 14. Stellen Sie sicher, dass die Schrauben gut festgezogen sind.

- Schieber Ben Sie Häckselgutfangbox 5 mit dem Sicherheitsschalter 4 voran in die Aufnahme. Achten Sie daraufuf, dass die Häckselgutfangbox oberhalb der Führungsschienen 19 lauft.

- Verriegeln Sie die Häckselgutfangbox, indem Sie den Sicherheitschalter nach oben schieben.
Bedienung

Beachten Sie zu Betriebszeiten die gesetzlichen Bestimmungen zur Lärmschutzverordnung, die örtlich unterschiedlich sein konnen.
Netzanschluss herstellen
- Schließen Sie den Gartenhächsler mit einem Verlängerungskabel am integrierten Netzstecker 10 an.
HINWEIS!
Überlastungsgefahr!
Ein zu kleiner Querschnitt der Anschlussleitung konnte diese überlasten und zu einer Minderleistung des Gartenhäckslers führen.
-
Verwenden Sie nur Anschlussleitungen, die nicht leichter als leichte Gummischlauchleitungen H07RN-F nach DIN 57282/VDE 0282 sind und einen Mindestquerschnitt von 1,5mm^2 aufweisen. Die Steckverbin dungen müssen Schutzkontakte aufweisen und die Kupplung muss spritzwassergeschützt sein. Die Anschlussleitung muss regelmäßig auf Anzeichen einer Beschädigung oder Alterung untersucht werden. Der Gartenhächslerarf nicht benutzt werden, falls der Zustand der Anschlussleitung nicht einwandfrei ist.
-
Eine Anschlussleitung mit zu keinem Leiterquerschnitt verursicht eine deutliche Verringerung der Leistungsfähigkeit des Gartenhäckslers. Bei Kabeln bis 25 m Länge ist ein Leiterquerschnitt von mindestens 3 x 1,5 mm², bei einer Länge über 25 m ein Leiterquerschnitt von mindestens 3 x 2,5 mm² erforderlich.
Ein- / Ausschalten
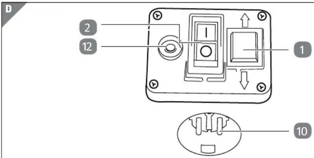
- Drücken Sie zum Einsatz des Gartenhäckslers den grünen Einschalter „I" (siehe Abb. D).
- Drücken Sie zum Ausschalten des Gartenhäckslers den roten Ausschalter „0" (siehe Abb. D).
Nullspannungsschalter
Der Gartenhächsler verfügt über einen Nullspannungsschalter. Dieseer verhindert, dass der Gartenhächsler nach einer Stromunterbrechung unbeabsichtigt wieder anlauft.
- Falls es eine Stromunterbrechnung gab, schalten Sie den Gartenhächsler wieder ein, indem Sie zuerst den Ausschalter und danach erneut den Einschlalter betätigten (siehe Abb. D).
Sicherheitschalter
Zum Betrieb muss sich die Häckselgutfangbox 5 in ihrer Position befinden und der Sicherheitschalter 4 muss in der oberen Position verriegelt sein (siehe Abb. C).
Motorschutz
Eine Überlastung (z. B. Blockade der Messer) führt nach ein paar Sekunden zum Stillstand des Gartenhäckslers. Um den Motor vor Beschädigung zu schützen, schaltet der Motorschutzschalter die Stromzufuhr automatisch ab:
- Warten Sie mindestens 1 Minute ab.
- Drücken Sie die Rückstelltaste 12
- Schalten Sie den Gartenhäcksler am grünen Einsatzalter 2 ein.
Ist das Messer blockiert, lösen Sie das Material wie oben beschrieben (siehe „Verklemmtes Material lösen").
Häckseln
Das Häckselgut wird durch die Messerwalze gequetscht, zerfasert und geschnitten, was den Zerfallsprozess beim Kompostieren begunstigt.
▲WARNUNG!
Verletzungsgefahr!
Längeres, aus dem Gartenhäcksler ragendes Häckselgut kann beim Einziehen rutenartig ausschlagen. Teile des Häckselgutes oder eventuelle Fremdkörper im Häckselgut konnten Herausgeschleudert werden.
-
Vergewissern Sie sich vor Starten des Gartenhäckslers, dass der Einfülltrichter leer ist.
-
Tragen Sie Ohrenschutz und eine Schutzbrille. Tragen Sie diese während der gesamten Betriebsdauer der Maschine.
-
Setzen Sie den Gartenhäcksler niemals ein, während Personen in der Höhe sind. Die Bedienungsperson ist im Arbeitsbereich des Gartenhäckslers gegenüber Dritten verantwortlich.
-
Benutzen Sie den Gartenhäcksler nicht auf einer gepflasterten mit Kies bestreuten Fläche, auf der ausgeworfenes Material Verletzungen verursachen können.
-
Halten Sie sich bei Inbetriebnahme des Gartenhäckslers immer außerhalb der Auswurfzone auf.
-
Achten Sie bei Einwurf von Material besonderss daraufuf, dass darin kein Metall, Steine, Flaschen, Dosen oder andere Fremdkörper enthalten sind.
-
Sollten in das Schneidwerkzeug Fremdkörper gelangen oder der Gartenhäcksler ungewöhnliche Gerausche erzeugen oder ungewöhnlich vibrieren, schalten Sie sofort den Motor ab und halten Sie den Gartenhäcksler auslaufen. Ziehen Sie den Netzstecker ab und führen Sie folgende Schritte aus:
-
Überprüfen Sie den Gartenhäcksler auf Schäden.
- Überprüfen Sie die Teile auf festen Sitz undziehen sie gegebenenfalls nach.
-
Lassen Sie jegliche beschädigten Teile ersetzen oder reparieren, wobei die Teile gleichwertige Beschaffenheit aufweisen müssen.
-
Benutzen Sie den Gartenhächsler nur im Freien (d. h. nicht nahe an einer Wand oder einem anderen starren Gegenstand) und auf einer festen, ebenen Flächen.
- Lassen Sie verarbeitetes Material nicht innerhalb des Auswurf-bereiches anhäufen; dies konnte den richtigen Auswurf verhindern und zum Rückschlag des Materials durch den Einfulltrichter führen.
- Schalten Sie den Motor aus, sobald Sie den Arbeitsplatz verlassen undziehen Sie den Netzstecker.

VORSICHT!
Verletzungsgefahr!
Im Gartenhäckslerarbeiteteinerehende Messerwalze, die zu Verletzungen führenkonnte.
-
Überprüfen Sie, dass der Gartenhächskler vor dem Einschalten des Motors vorschrifsmäßig geschlossen ist (Aufnahmetricher und Auswurfeinrichtung).
-
Während des Arbeitsens muss der Gartenhäcksler standssicher auf einer ebenen, festen Fläche und der gleichen Ebene wie der Bediener stehen.
-
Muss der Gartenhäcksler zum Transport angehoben werden, stellen Sie den Motor ab und warten den Stillstand des Werkzeugesab.
-
Transportieren Sie den Gartenhäcksler nicht bei laufendem Motor.
-
Halten Sie immer Höhe und Fuß von der Schneideeinrichtung halten, vor allem, wenn Sie den Motor einschalten.
-
Tragen Sie keine lose herabhängende Kleidung oder Kleidung mit hangenden Bändern oder Kordeln.
-
Halten Sie mit Kopf und Körper Abstand zu der Einwurföffnung.
-
Höhe, andere Körperteile und Kleidung sind nicht in die Einfüllkammer, Auswurfkanal oder in die Höhe anderer beweglicher Teile zu bringen.
-
Kippen Sie den Gartenhäcksler nicht bei laufendem Motor.
-
Vermeiden Sie unkontrolliertes Anlaufen:
-
Ziehen Sie bei Nichtbenutzung den Netzstecker.
-
Vergewisern Sie sich vor dem Einstecken des Netzsteckers, dass der Gartenhächsler ausgeschaltet ist.
-
Schalten Sie den Gartenhäcksler vor dem Ziehen des Netzsteckers aus.
-
Achten Sie immer auf ihr Gleichgewicht und festen Stand.
Strecken Sie sich nicht vor. Stehen Sie beim Einwerfen von Material niemalsHigher als der Gartenhäcksler.
HINWEIS!
Beschädigungsgefahr!
Eine Überhitzung des Gartenhäckslers kann zu einer Beschädigung führen.
- Achten Sie darauf, dass die Lüftungsschlitze nicht abgedeckt werden.
- Achten Sie daraufuf, dass der Motor frei von Abfallen und sonstigen Ansammlungen ist, um den Motor vor Schäden oder möglich Feuer zu bewahren.
- Häckseln Sie kein Astmaterial, das mehr als 40 mm Durchmesser hat.
-
Ändern Sie nicht die Reglereinstellung des Motors; die Drehzahl regelt die sichere maximale Arbeitsgeschwindigkeit und schützt den Motor und alle sich drehenden Teile vor Schaden durch übermäßig Geschwindigkeit. Wenden Sie sich bei Problemen an den Kundendienst.
-
Überprüfen Sie das Häckselgut vor Arbeitsbeginn. Ent fernen Sie vorhandene Fremdkörper.
- Führer Sie das zu häckselnde Material in den weiteren Teil des Einfülltrichters ein. Zugeführtes Häckselgut wird automatisch eingezogen.
Führer Sie nur soviel Häckselgut ein, dass der Einfülltrichter nicht verstopft.
Weiche Abfälle (z.B. Kuchenabfälle) nicht häckseln, sondern direkt kompostieren.
- Häckseln Sie stark verzweigtes, laubhaltiges Gut erst vollständig, bevor Sie neues Häckselgutnahfahlen.
- Achten Sie daraufuf, dass die Auswurföffnung nicht durch gehäckseltes Material verstopft wird - Rückstaugefahr.
- Vermeiden Sie das ununterbrochene Einführren von schwerem Material oder starken Ästen. Dies kann zur Blockierung der Messer führen.
Verklemmtes Material lösen
VORSICHT!
Verletzungsgefahr!
Im Gartenhäcksler arbeitet eine drehende Messerwalze, die zu Verletzungen führen können.
- Bei Verstopfungen im Ein- oder Auswurf der Maschine schalten Sie den Motor aus undziehen Sie den Netzstecker, bevor Sie Materialreiste in der Einwurföffnung oder im Auswurfkanal beseitigen.
Der Drehrrichtungsumschafter 1 wird benötigt, wenn sich Häckselgut im Messer verklemmt hat.
HINWEIS!
Beschädigungsgefahr!
Wenn der Drehrichtungsumschalter während des laufenden Motors betätig wird, kann der Gartenhäcksler beschädigt werden.
- Betätigten Sie den Drehrrichtungsumschalter nur bei abgeschalteten Gartenhäcksler.
Im Normalbetrieb befindet sich der Drehrrichtungsumschafter auf Stellung
Um eingeklemmtes Material freizubekommen, muss das Messer entgegengesetzt drehen:
- Schalten Sie den Gartenhäcksler am roten Ausschalter aus.
- Benutzen Sie einen Stopfer (aus Holz) zum Entfernen von blockierten Gegenständen aus der Einfülltrichteröffnung, bzw. einen Haken zum Entfernen von blockierten Gegenständen aus der Auswurföffnung.
- Legen Sie Drehrrichtungsumschalter auf Stellung
- Halten Sie den grünen Einschalter 2 gedrückt: Das Messer dreht in die entgegengesetzte Drehri
Wird der Einschalter losgelassen, bleibt der Gartenhacksler automatisch stehen. Bei Mittelstellung des Drehrrichtungsumschalters 1 lauft der Motor nicht an.
Warten Sie stets bis der Gartenhächsler stillsteht, bevor er wieder eingeschaltet wird.
Zu großes Schnittgut oder Holzstücke werden nach mehrmaliger Betätigung sowohl in Schneide-, als auch in Freigaberichtigung halten.
Entleeren der Häckselgutfangbox
Der Füllstand der Häckselgutfangbox 5 kann durch die Seitenlichen Schlitze an der Abdeckung eingesehen werden. Entleeren Sie die Häckselgutfangboxrechtzeitig, um ein Überfüllen zu vermeiden.
A VORSICHT!
Verletzungsgefahr!
Im Gartenhäckslerarbeiteteinerehende Messerwalze, die zu Verletzungen führenkonnte.
- Schalten Sie den Gartenhäcksler vor Anbringen und Entfernendes Sammelbehalters ab.
Zum Entleeren gehen Sie wie folgt vor:
- Schalten Sie den Gartenhäcksler am roten Ausschalter aus.
- Um die Häckselgutfangbox 5 zu entriegeln, schieben Sie den Sicherheitschalter 4 nach unten.
- Ziehen Sie die Häckselgutfangbox nach vorne heraus.
Reinigung, Pflege und Lagerung
▲WARNUNG!
Stromschlaggefahr!
Eindringendes Wasser kann zu einem elektrischen Stromschlag führen.
- Spritzen Sie den Gartenhäcksler nicht mit Wasser ab.
- Vermeiden Sie unbedingt ein Eindringen von Wasser in den Gartenhäcksler.
▲WARNUNG!
Verletzungsgefahr!
Auch nach dem Ausschalten des Motors kann das Schneidewerkzeug noch laufen:
-
Bei Wartung des Schneidwerkzeugs ist zu berücksichtigigen, dass these durch den Startmechanismus immer noch laufen kann, selbst wenn der Motor durch die Verriegelung der Abdeckung nicht lauft.
-
Ist der Gartenhäcksler zwecks Wartung, Lagerung oder Austausch eines Zubehörs ausgeschaltet, stellen Sie safer, dass die Energiequelle ausgeschaltet und der Netzstecker gezogen ist. Stellen Sie safer, dass alle beweglichen Teile stillstellen und falls es einen Schlüssel gibt, dieser abgezogen ist. Lassen Sie den Gartenhäcksler vor Wartung, Verstellung usw. abkühlen.
VORSICHT!
Verbrennungsgefahr!
Der Gartenhacksler wird während des Betriebs geß.
- Lassen Sie den Gartenhäcksler vor jeder Reinigung oder Wartung vollständig abkühlen!
Reinigung
Reinigen Sie den Gartenhächsler regelmäßig. Dadurch gewährleisten Sie die Funk tionstüchtigkeit und eine lange Lebensdauer.
HINWEIS!
Beschädigungsgefahr!
Unsachgemäß Umgang mit dem Gartenhäcksler kann zu Beschäftigung führen.
-
Verwenden Sie keine aggressiven Reinigungsmittel, Bürsten mit Metall- oder Nylonborsten, sowie scharfe oder metallische Reinigungsgegenstände wie Messer, harte Spachtel und dergleichen. Diese können die Oberflächen beschädigen.
-
Halten Sie während der Arbeit die Luftungsschlitze sauber.
- Säubern Sie den Kunststoffkörper und die Kunststoffeile mit leichtem Haushaltsreiniger und einem feuchten Tuch.
- Prüfen Sie die Befestigungsschrauben des Untergestells von Zeit zu Zeit auf festenSitz.
Einstellen des Gegenmessers

Gegenmesser 21 und Messerwalze 22 sind vom Werk optimal justiert. Nur bei Abnutzung ist eine Nachjustierung des Gegenmessers bei eingeschaltetem Motor erforderlich. Für einen optimalen Betrieb ist es nötig, dass der Abstand zwischen Gegenmesser und Messerwalze ca. 0,50 mm beträgt.
Auf der rechten Seite des Kunststoffgehäuses befindet sich hierzu die Einstellvorrichtung 9.
- Drücken Sie den grünen Einschalter 2 in Position „I" um den Gartenhäcksler einzuschalten (siehe Abb. D).
- Drehen Sie den Knauf nach rechts, so dass sich die Schraube 20 zur Messerwalze hin bewegt.
- Drehen Sie soweit, bis Sie einen leichten Widerstand spuren und drehen Sie dann den Knauf eine halbe Umdrehung darüber.
Falls die Messerwalze das Gegenmesser berührt, wird diese nachgeschritten und keine Metallspane konnen aus der Auswurföffnung fallen. Dies ist kein Fehler, jedocharf nur im erforderlichen Maß nachjustiert werden, da sonst das Gegenmesser vorzeitig verschreiben.
- Prufen Sie nach dieser Einstellung, ob das Messer wie gewünscht schneidet.
Häckselmesser und Gegenmesser austauschen
- Schalten Sie den Gartenhacksler am roten Ausschalter 2 aus.
- Ziehen Sie den Netzstecker.
- Entriegeln und entfernen Sie die Häckselgutfangbox 5.
- Losen Sie den Knauf zur Gegenmesser-Einstellung 9 ca. 5 Umdrehungen.

- Losen Sie die 4 Innensechskantschrauben komplett.
Die Innensechskantschrauben können nur gelöst, nicht abgenommen werden.

- Losen Sie Sicherungsschraube 25 an der Unter-nde des Gartenhackslers bis zum Anslag.
Die Sicherungsschraube kann nur gelöst, nicht abgenommen werden.
- Nehmen Sie den Deckel 24 ab.

- Entfernen Sie Gegenmesser 21 und Messerwalze 22 und überprüfen Sie diese.
Abgenutzte oder beschädigte Teile müssen ersetzt werden. Verwenden Sie nur die damit vorgesehen. Ersatzteile vom Hersteller (siehe „Ersatz- und Zubehörerteile").
-
Zur Montage gehen Sie in umgekehrter Reihenfolge vor. Stellen Sie damit sich, dass die Messerwalze richtig ausgerichtet ist (Krumming der Messerzacken beachten). Achten Sie auf einen festen Sitz der Schrauben.
-
Stellen Sie das Gegenmesser neu ein (siehe „Einstellen des Gegenmessers").
Lagerung
- Wenn Sie den Gartenhäcksler länger nicht benutzen, schützen Sieihn mit umweltfreundlichem Öl vor Korrosion.
- Lagern Sie den Gartenhäcksler in einem trockenen Raum.
- Lagern Sie den Gartenhäcksler außerhalb der Reichweite von Kindern.
Ersatz- und Zubehörteile
Passende Ersatz- und Zubehörerteile für ihren Gartenhäcksler können Sie über das Internetbestellen: www.isc-gmbh.info.
Dort finds Sie aktuelle Preis und Informationen. Folgende Angaben sollen Sie bei der Ersatzteilbestellung machen:
- Modell: GLLH 2547
- Artikelnummer: 3430613
- Ident-Nr: 11015
- Ersatzteilnummer des erforderlichen Ersatzteiles
Technische Daten
Modell: GLLH 2547
Nennspannung: 230V /50Hz
Aufnahmeleistung: 2500 Watt (S6-40%); 2000 W (S1)
Schutzart: IP24
Leerlaufdrehzahl Messerwalze: 40 min-1
Astdurchmesser: max. 40 mm
Gewicht: 28 kg
Die Betriebsart S1 (100%) bezeichnet Dauerbetrieb. Die Betriebsart S6 (40%) bezeichnet ein Belastungsprofil, das 4 min Belastung und 6 min Leerlauf Annimmt. Max. je nach Beschaffenheit des Häckselgutes.
Beim Anlaufen (Starten) dieser Ausrüstungen kann ein kurzzeitiger Spannungseinbruch auftreten, insbesondere bei schlechter Netzqualität. Diese Einbrüche können andere Geräte beeinflussen (z.B. Flimmern einer Lampe). Bei einer Netzimpedanz Z_ < 0.328 OHM sind solche Störungen nicht zu erwarten (bitte kontaktieren Sie Ihr lokales Energie-Versorgungsunternehmen für weitere Informationen).
Gerausch
Die Bestimmung der Gerauschemissionswerte wurde nach EN 50434, Anhang F und 2000/14/EC erweitert durch 2005/88/EC durchgeführt.
gemessener Schalldruckpegel L_pA : 83 dB(A)
gemessener Schalleistungspegel L_WA : 91,48 dB(A)
Unsicherheit K_pA: 3 dB
garantieter Schalleistungspegel LwA: 92 dB(A)
Unsicherheit K_WA 0,44 dB
Fehlersuche
| Störung Mögliche Ursache Behebung | ||
| Motor lauft nicht. | Falscher Netzanschluss. | Netzsicherung prüfen bzw. Netzanschluss vom Fachmann prüfen{lassen. |
| Stromunterbrechung. Netzleiitung, Stecker und Sicherung prüfen. | ||
| Motorschutz hat ausgelöst. | Rückstell taste drücken. | |
| Sicherheitsschalter gibt keinen Kontakt. | Fangbox richtig einsetzen und Sicherheitsschalter nach oben schieren, bis er einrastet. | |
| Drehrichtungsumschafter steht in Mittelstellung. | Laufrichtung am Dreh-richtungsumschafter einstellen | |
| Zu häckselndes Material wird nicht eingezogen. | Häckselmesser lauft rückwärt. | Drehrichtung umschanten. |
| Materialstau im Einfulltrichter. | Drehrichtungumschalten und das Material aus dem Einfulltrichterziehen. Dicke Zweige neu ein-führen, so dass das Messer nicht sofort in die vorgeschnittenen Kerben greift. | |
| Häckselmesser ist blockiert. | Drehrichtung um-schalten. Das Messer gibt das verklemmte Material frei. | |
| Zu häckselndes Material wird nicht richtig gehäckselt. | Gegenmesser falsch eingestellt. | Gegenmesser einstellen. |
Entsorgung
Verpackung entsorgen

Entsorgen Sie die Verpackung sortenrein. Geben Sie Pappe und Karton zum Altpapier, Folien in die Wertstoff-Sammlung.
Altgerät entsorgen
(Anwendbar in der Europäischen Union und anderen europäischen Staaten mit Systemen zur getrennten Sammlung von Wertstoffen).

Altgeräte)dürfen nicht in den Hausmüll!
Solle der Gartenhäcksler einmal nicht mehr benutzt werden konnen, so ist jeder Verbraucher gesetzlich verpflichtet, Altgeräte getrennt vom Hausmüll, z. B. bei einer Sammelstelle seiner Gemeinde/seines Stadtteils, abzugeben. Damit wird gewährleistet, dass Altgeräte fachgerecht verwertet und negative Auswirkungen auf die Umwelt vermieden werden. Deswegen sind Elektrogeräte mit oberstehendem Symbol gekennzeichnet.
Konformitätserklärung
Einhell Germany AG · Wiesenweg 22 · D-94405 Landau/Isar

Konformitätserklarung
D erklart folgende Konformität gemäß EU-Richtlinie und Normen für Artikel
GB explains the following conformity according to EU directives and norms for the following product
F déclare la conformité suivante selon la directive CE et les normes concernant l'article
I dichiara la seguente conformità secondo la direttiva UE e le norme per l'articolo
NL verkaart de volgende overeenstemming conform EU richtlijn en normen voor het product
E declara lasuma conformidad a tenor de la directiva y normas de la UE para el articulo
P declara a segunte conformidade, de acordo com a directiva CE e normas para o artigo
DK attesterer folgende overensstemmelse i medfor af EU-direktivamt standarder for arterikel
S forklarar foljande overensstammelse enl. EU-direktiv och standarder for articeln
FIN vakuuttaa, etta tuote tayttä EU-direktiivin ja standardien vaatimukset
EE toendab toote vastavust EL direktivile ja standarditele
CZ vydáva následujíci prohlášeni o shodé podle směrnice EU a norem pro vyrobek
SLO potrjue sledeco skladnost s smernico EU in standardi za izdelek
SK vydáva nasledujúce prehlásenie o zhode podla smernice EU a noriem pre vyrobok
H a cikkekhez az EU-irányvonal és Normák szerint a kővetkező konformitást jelenti ki
PL deklaruje zgodnosc wymienione go ponizej artykuu z nastepujacymi normami na podstawie dyrektywy WE.
BG DeKnappa CbOTBETHOTo CbOTBeTCTBNE CbIaCHO DnpeKTnBaHa EC n HopmN 3a apTnKyn
LV paskaidro sādu atbilstibu ES direktivai un standartiem
LT apibudina šj atitikimæ EU reikalavimams ir prekës normoms
RO declara urmatoarea conformitate conform directivei UE si normelor pentru articolul
GR Odyia EK ka ta npotuna yia to npoi
HR potvrduje sljedecu uskladenost prema smjernicama EU i normama za artikl
BIH potvrduje sljedeću uskladenost prema smjernicama EU i normama za artikl
RS potvrduje sledecu uskladenost prema smernicama EZ i normama za artikal
RUS CLEyIOUIM yOCTOBepaETcA, TTO CLEyIOUne npOdyKtbI COOTBETCTBYOT DIPeKTHBAM HOpMaM EC
UKR nporolowye npo 3aHaueHy HnKHe BiinobiHicTb Bnpo6y DnpeKTbAm Ta CTaHapTAM CC Ha Bpi6
MK ja n3jaBya CnEHaTc COo6p3HOCT CoNlacoHO EY-dIpeKTHBaTa H HopMTe 3a apTNkIN
TR Ürünü ile ilgili AB direktifleri ve normlan geregüncaşağida açiklanan uygunluğu belirir
N erklærer ffolgende samsvar i henhold til EU-direktivet og standarder for artikkel
IS Lysir uppyfllingu EU-reglna og annarra stabla voru
Gartenhacksler GLLH 2547 (Gardenline)
87/404/EC_2009/105/EC
2005/32/EC_2009/125/EC
2006/95/EC
2006/28/EC
2004/108/EC
2004/22/EC
1999/5/EC
97/23/EC
□90/396/EC_2009/142/EC
89/686/EC_96/58/EC
2011/65/EU
2006/42/EC
Annex IV
Notified Body:
fied Body No.:
Reg.No.:
2000/14/EC_2005/88/EC
Annex V
Annex VI
Landau/Isar, den 23.02.2015

Gao/Product-ManagementWeichselgartner/General-Manager
First CE:13
Art.-No.:34.306.13
I-No.:11015
Einhell Germany AG · Wiesenweg 22 · D-94405 Landau/Isar
CE
Konformitätserklarung
D erklart folgende Konformität gemäß EU-Richtlinie und Normen für Artikel
Landau/Isar, den 23.02.2015


Gao/Product-ManagementWeichselgartner/General-Manager
First CE:13
Art-No.:34.306.13 I-No.:11015
Einhell Germany AG · Wiesenweg 22 · D-94405 Landau/lsar
CE
Konformitätserklarung
D erklärart folgende Konformität gemäß EU-Richtlinie und Normen für Antikel
Landau/Isar, den 23.02.2015


Gao/Product-ManagementWeichselgartner/General-Manager
First CE:13
Art.-No.:34.306.13 I.-No.:11015
Zum regulären Festnetztarif Ihres Telefonani bieters.
Sehr geehrter Kunde!
Die ALDI Garantie betet Ihnenweitreichende Vorteile gegenüber der gesetzlichen Gewährleistungspflicht:
Garantiezeit: 3 Jahre ab Kaufdatum
6 Monate für Verschleiß- und Verbrauchsteile bei normalem und ordnungsgemäßem Gebrauch (z. B. Akkus)
Kosten: Kostenfreie Reparatur bzw. Austausch oder Geldrückgabe
Keine Transportkosten
TIPP: Bevor Sie Ihr Gerät einsenden, wenden Sie sich Telefonisch, per Mail oder Fax an unsere Hotline. So können wir Ihnen bei eventuellen Bedienungsfehlern halten.
Um die Garantie in Anspruch zunehmen, senden Sie uns:
- zusammen mit dem defekten Produkt den Original-Kassenbon und die vollständig ausgeführte Garantiekarte.
- das Produkt mit allen Bestandteilen des Lieferumfangs.
Die Garantie gilt nicht bei Schäden durch:
- Unfall oder unvorhergesehene Ereignisse (z. B. Blitz, Wasser, Feuer, etc.).
- unsachgemäß Benutzung oder Transport.
- Missachtung der Sicherheits- und Wartungsvorschriften.
- sonstige unsachgemäße Bearbeitung oder Veränderung.
Nach Ablauf der Garantiezeit haben Sie ebenfalls die Möglichkeit an der Servicestelle Reparaturen kostenpflichtig durchführten zu laßen. Falls die Reparatur oder der Kostenvoranschlag für Sie nicht kostenfrei sind, werden Sie vorher verständigt.
Die gesetzliche Gewährleistungspflicht des Übergebers wird durch diese Garantie nicht eingeschrankt. Die Garantiezeit kann nur verlangert werden, wenn dies eine gesetzliche Norm vorsieht. In den Ländern, in denen eine (zwingende) Garantie und/oder eine Ersatzteillagerhaltung und/oder eine Schadenersatzregelung gesetzlich vorgeschreiben sind, gelten die gesetzlich vorgeschreibenbenen Mindestbedingungen. Das Serviceunternehmen und der Verkäfer übernehmen bei Reparaturannahme keine Haftung für eventuell auf dem Produkt vom Kunden gespeicherte Daten oder Einstellungen.
Conditions de garantie
Cher client!
Einhell Germany AG Wiesenweg 22 94405 Landau a. d. Isar GERMANY
KUNDENDIENST · SERVICE APRES-VENTE · ASSISTENZA POST VENDITA


EinfachAnleitung