PAS8060E - Herd PROGRESS - Kostenlose Bedienungsanleitung
Finden Sie kostenlos die Bedienungsanleitung des Geräts PAS8060E PROGRESS als PDF.
Laden Sie die Anleitung für Ihr Herd kostenlos im PDF-Format! Finden Sie Ihr Handbuch PAS8060E - PROGRESS und nehmen Sie Ihr elektronisches Gerät wieder in die Hand. Auf dieser Seite sind alle Dokumente veröffentlicht, die für die Verwendung Ihres Geräts notwendig sind. PAS8060E von der Marke PROGRESS.
BEDIENUNGSANLEITUNG PAS8060E PROGRESS
Sicherheitshinweise 32
Sicherheitsanweisungen 34
Montage 36
Gerätebeschreibung 38
Täglicher Gebrauch 39
Tipps und Hinweise 41
Reinigung und Pflege 42
Fehlersuche 43
Technische Daten 45
Energieeffizienz 46
Änderungen vorbehalten.
SICHERHEITSHINWEISE
Lesen Sie vor der Montage und dem Gebrauch des Geräts zuerst die Gebrauchsanleitung. Bei Verletzungen oder Schäden infolge nicht ordnungsgemäßer Montage oder Verwendung des Geräts übernimmt der Hersteller keine Haftung. Bewahren Sie die Anleitung immer an einem sicheren und zugänglichen Ort zum späteren Nachschlagen auf.
Sicherheit von Kindern und schutzbedürftigen Personen
- Das Gerät kann von Kindern ab 8 Jahren und Personen mit eingeschränkten physischen, sensorischen oder geistigen Fähigkeiten oder mit mangelnder Erfahrung und/oder mangelndem Wissen nur dann verwendet werden, wenn sie durch eine für ihre Sicherheit zuständige Person beaufsichtigt werden oder in die sichere Verwendung des Geräts eingewiesen wurden und die mit dem Gerät verbundenen Gefahren verstanden haben.
- Kinder dürfen nicht mit dem Gerät speiten.
- Halten Sie samentliches Verpackungsmaterial von Kindern fern und entsorgen Sie es auf angemessene Weise.
- Halten Sie Kinder und Haustiere während des Betriebs oder der Abkuhlphase vom Gerät fern. Berührbare Teile sind frei.
- Falls Ihr Gerät mit einer Kindersicherung ausgestattet ist, empfehlen wir, diese einzuschalten.
-
Kinder dürfen keine Reinigung und Wartung ohne Beaufsichtigung durchführren.
-
Kinder bis zu 3 Jahren sind während des Betriebs unbedingt von dem Gerät fernzuhalten.
Allgemeine Sicherheit
- WARNUNG: Das Gerät und die zugänglichen Geräteille werden während des Betriebs besteht. Seien Sie vorsichtig und berühren Sie niemals die Heizelemente. Halten Sie Kinder unter 8 Jahren vom Gerät fern, wenn sie nicht ständig beaufsichtigt werden.
- Schalten Sie das Gerät nicht über eine externe Zeitschaltuhr oder eine separate Fernsteuerung ein.
- WARNUNG: Kochen mit Fett oder Öl auf einem unbeaufsichtigten Kochfeld ist gefährlich und kann zu einem Brand führen.
- Versuchen Sie NICHT einen Brand mit Wasser zu Löschen, sondern schalten Sie das Gerät aus und bedecken Sie die Flamme mit einem Deckel oder einer Feuerlöschdecke.
VORSICHT: Der Kochvorgang muss überwacht werden. Ein kurzer Kochvorgang muss kontinuierlich überwacht werden. - WARNUNG: Brandgefahr: Legen Sie keine Gegenstände auf dem Kochfeld ab.
- Legen Sie keine Metallgegenstände wie Messer, Gabeln, Löffel oder Topfdeckel auf die Oberfläche des Kochfelds, da diese bereits werden können.
- Reinigen Sie das Gerät nicht mit einem Dampfstrahlreiniger.
- Hat die Glaskeramik-/Glasoberfläche einen Sprung, schalten Sie das Gerät aus, um einen Stromschlag zu vermeiden.
- Wenn das Netzkabel beschädigt ist, muss es vom Hersteller, einem autorisierten Kundendienst oder einer gleichermaßen qualifizierten Person ausgetauscht werden, um Gefahrenquellen zu vermeiden.
- WARNUNG: Verwenden Sie nur Schutzabdeckungen des Herstellers des Kochgerats, von ihm in der Bedienungsanleitung als geeignete und empfohlene
Schutzabdeckungen oder die im Gerät enthaltene Schutzabdeckung. Es besteht Unfallgefahr durch die Verwendung ungeeigneter Schutzabdeckungen.
SICHERHEITSANWEISUNGEN
Montage

WARNING! Die Montage des Gerats darf nur von einer qualifizierten Fachkraft durchgefuhrt werden.

WARNING! Verletzungsgefahr sowie Risikovon Schaden am Gerat.
- Entfernen Sie das gesamte Verpackungsmaterial.
- Montieren Sie ein beschädigtes Gerät nicht und benutzen Sie es nicht.
- Halten Sie sich an die mitgelieferte Montageanleitung.
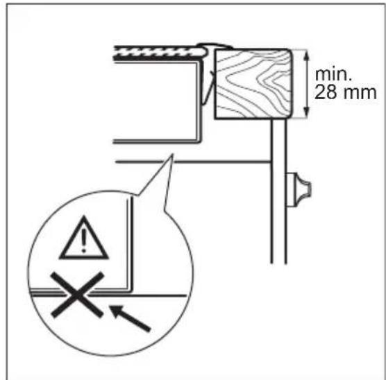
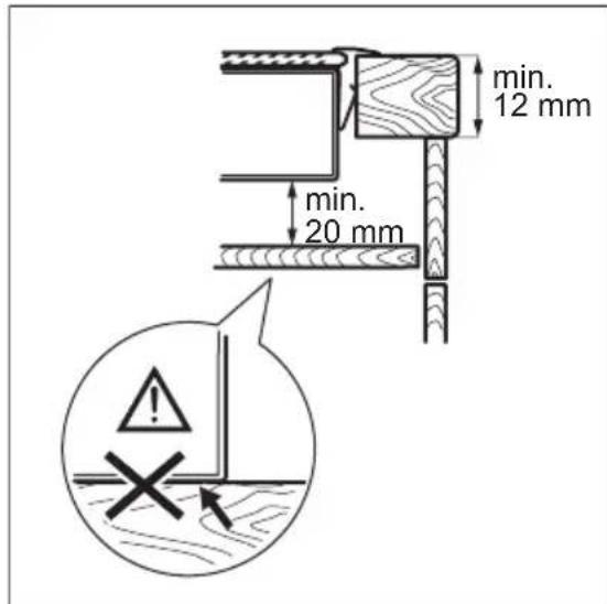
Die Mindestabstände zu anderen Geräten und Kuchenmöbeln sind einzuhalten. - Seien Sie beim Umsetzen des Gerätes vorsichtig, da es sehr schwer ist. Tragen Sie stets Sicherheitshandschuhe und festes Schuhwerk.
- Dichten Sie die Ausschnittskanten mit einem Dichtungsmittel ab, um ein Aufquellen durch Feuchtigkeit zu verhindern.
- Schützen Sie die Geräteunterseite vor Dampf und Feuchtigkeit.
- Installieren Sie das Gerät nicht direkt geben einer Tur oder unter einem Fenster. So kann heiBes Kochgeschirr nicht herunterfallen, wenn die Tur oder das Fenster geöffnet wird.
- Wird das Gerät über Schubladen eingebaut, achten Sie darauf, dass zwischen dem Geräteboden und der oberen Schublade ein ausreichender Abstand für die Luftzirkulation vorhanden ist.
- Der Boden des Geräts kann heißt werden. Achten Sie darauf eine feuerfeste Trennplatte aus Sperrholz,
Kuchenmöbelmaterial oder einem anderen nichtentflammbaren Material unter dem Gerät anzubringen, damit der Boden nicht zugänglich ist.
Elektrischer Anschluss

WARNING! Brand- und Stromschlaggefahr.
- Alle elektrischen Anschlüsse sind von einem geprüften Elektriker vorzunehmen.
- Das Gerät muss geerdet sein.
Vor der Durchführung jeglicher Arbeiten muss das Gerät von der elektrischen Stromversorgung getrennt werden. - Stellen Sie sicher, dass die Daten auf dem Typenschild mit den elektrischen Nennwerten der Netzspannung übereinstimmen.
- Achten Sie darauf, dass das Gerät ordnungsgemäß montiert wird. Wenn freiliegende oder ungeeignete Netzkabel oder Netzstecker (fall vorhanden) verwendet werden, kann der Anschluss überhitzen.
- Stellen Sie sicher, dass Sie das richtige Kabel für den elektrischen Netzanschluss verwenden.
- Achten Sie darauf, dass das Netzkabel nicht lose hangt oder sich verheddert.
Sorgen Sie davon, dass ein Berührungsschutz installiert wird. - Verwenden Sie die Zugentlastung für das Kabel.
-
Stellen Sie beim elektrischen Anschluss des Gerätes sicher, dass das Netzkabel oder ggf. der Netzstecker nicht mit dem bereits Gerät oder freiem Kochgeschirr in Berührung kommt.
-
Verwenden Sie keine Mehrfachsteckdosen oder Verlängerungskabel.
- Achten Sie darauf, Netzstecker (falls vorhanden) und Netzkabel nicht zu beschädigen. Wenden Sie sich zum Austausch des beschädigten Netzkabels an unseren autorisierten Kundendienst oder eine Elektrofachkraft.
- Alle Teile, die gegen direktes Berühren schützen, sowie die isolierten Teile müssen so befestigt werden, dass sie nicht ohne Werkzeug halten.
- Stecken Sie den Netzstecker erst nach Abschluss der Montage in die Steckdose. Stellen Sie sicher, dass der Netzstecker nach der Montage noch zugänglich ist.
- Falls die Steckdose lose ist, schlieben Sie den Netzstecker nicht an.
- Ziehen Sie nicht am Netzkabel, wenn Sie das Gerät von der Stromversorgung trennen möchten. Ziehen Sie stets am Netzstecker.
- Verwenden Sie nur geeignete Trenneinrichtungen: Überlastschalter, Sicherungen (Schraubsicherungen müssen aus dem Halter entfern werden können), Fehlerstromschutzschalter und Schütze.
Die elektrische Installation muss eine Trenneinrichtung aufweisen, mit der Sie das Gerät allpolig von der Stromversorgung trennen können. Die Trenneinrichtung muss mit einer Kontaktöffnungsbreite von mindestens 3 mm ausgeführct sein.
Gebrauch

WARNING! Verletzungs-, Verbrennungs- und Stromschlaggefahr.
- Entfernen Sie vor dem ersten Gebrauch das gesamte Verpackungsmaterial, die Aufkleber und Schutzfolie (falls vorhanden).
Das Gerät ist für die Verwendung im Haushalt vorgesehen.
- Nehmen Sie keine technischen Änderungen am Gerät vor.
Die Luftungsöffnungen dürfen nicht abgedeckt werden.
- Lassen Sie das Gerät bei Betrieb nicht unbeaufsichtigt.
- Schalten Sie die Kochzonen nach jeder Gebrauch aus.
- Legen Sie kein Besteck und keine Topdeckel auf die Kochzonen. Anderenfalls werden sie sehr heiß.
Bedieren Sie das Gerät nicht mit feuchten oder nassen Händen oder wenn es mit Wasser in Kontakt gekommen ist.
- Benutzen Sie das Gerät nicht als Arbeits- oder Abstellfläche.
- Hat die Geräteoberfläche einen Sprung, trennen Sie das Gerät umgehend von der Spannungsvorsorgung. Dies dient zur Vermeidung eines Stromschlags.
- Wenn Sie Nahrungsmittel in heiBes Öl geben, kann diese spritzen.

WARNING! Brand- und Explosionsgefahr!
- Erhitzte Ole und Fette konnen brennbare Dämpfe freiisetzen. Halten Sie Flammen und erhitzte Gegenstände beim Kochen mit Fetten und Olen von diesen fern.
Die von sehr heisem Öl freigesetzten Dämpfe können eine Selfbstzündung verursachen. - Bereits verwendetes Öl kann Lebensmittelrechte enthalten und schon bei niedrigeren Temperaturen eher einen Brand verursachen als frisches Öl.
- Laden Sie keine entflammbaren Produkte oder Gegenstände, die mit entflammbaren Produkten benetzt sind, in das Gerät und stellen Sie solchenicht in die Nähe oder auf das Gerät.

WARNING! Das Gerät könnte beschädigt werden.
- Stellen Sie keinheits Kochgeschirr auf das Bedienfeld.
- Stellen Sie keine bereits Pfaffen auf die Glasoberfläche des Kochfeldes.
- Lassen Sie das Kochgeschirr nicht leerkochen.
- Lassen Sie keine Gegenstände oder Kochgeschirr auf das Gerät fallen. Die Oberfläche konnte beschädigt werden.
- Schalten Sie die Kochzonen niemals ein, wenn sich kein Kochgeschirr darauf auf befindet, oder wenn das Kochgeschirr leer ist.
- Legen Sie keine Alufolie auf das Gerät.
Kochgeschirr aus Gusseisen, Aluminium oder mit beschädigten Böden kann die Glas- bzw. Glaskeramikoberfläche verkratzen. Hebben Sie das Kochgeschirr stets an, wenn Sie es auf dem Kochfeld umsetzen möchten. - Dieses Gerät ist nur zum Kochen bestimmt. Jeder andere Gebrauch ist als bestimmungsfremd anzusehen, zum Beispiel das Beheizen eines Raums.
Reinigung und Pflege
- Reinigen Sie das Gerät regelmäßig, um eine Verschlechterung des Oberflächenmaterials zu verhindern.
- Schalten Sie das Gerät vor dem Reinigen aus und setzen Sie es abkühlen.
MONTAGE

WARNING! Siehe Kapitel Sicherheitshinweise.
Vor der Montage
Notieren Sie vor der Montage des Kochfelds folgende Daten, die Sie auf dem Typenschild finden. Das Typenschild ist auf dem Boden des Kochfelds angebracht.
Seriennummer
- Trennen Sie das Gerät vor Wartungsarbeiten von der Spannungsvorsorgung.
- Reinigen Sie das Gerät nicht mit Wasserspray oder Dampf.
- Reinigen Sie das Gerät mit einem weichen, feuchten Tuch. Verwenden Sie ausschließlich Neutralreiniger. Benutzen Sie keine Scheuermittel, scheuernde Reinigungsschwammchen, Lösungsmittel oder Metallgegenstände.
Entsorgung

WARNING! Verletzungs- und Erstickungsgefahr.
- Für Informationen zur ordnungsgemäßen Entsorgung des Geräts wenden Sie sich an die zuständigeCOMMUNALE Behörde vor Ort.
- Trennen Sie das Gerät von der Stromversorgung.
- Schneiden Sie das Netzkabel in der Nähe des Geräts ab, und entsorgen Sie es.
Service
Wenden Sie sich zur Reparatur des Geräts an einen autorisierten Kundendienst.
- Verwenden Sie ausschließlich Originalersatzteile.
Einbau-Kochfelder
Einbau-Kochfelder dürfen nur nach dem Einbau in bzw. unter normgerechte, passende Einbauschränke und Arbeitsplatten betrieben werden.
Anschlusskabel
- Das Kochfeld wird mit einem Anschlusskabel gefelfert.
- Ersetzen Sie ein defektes Netzkabel durch den Kabeltyp H05V2V2-F, der einer Temperatur von mindestens 90
°C standhalt. Wenden Sie sich an den Kundendienst vor Ort.
Montage




GERÄTEBESCHREIBUNG
Kochfeldanordnung

1 Kochzone
2 Bedienfeld
Bedienfeldanordnung

Bedieren Sie das Gerät über die Sensorfelder. Die Anzeigen, Kontrollampen und akustischen Signale informieren Sie über die aktiven Funktionen.
| Sens-feld | Funktion Kommentar | ||
| 1 | 0 | EIN/AUS Ein- und Ausschalten des Kochfeldes. | |
| 2 | 0-π | Verriegeln / Kindersiche-rung | Verriegeln/Entriegeln des Bedienfelds. |
| 3 | 0 | - Ein- und Ausschalten des äußerten Kreises. | |
| 4 | - Kochstufenanzeige Zeigt die Kochstufe an. | ||
| 5 | - Kochzonen-Anzeigen des Timers | Zeigt an, für welche Kochzone die Zeit einge-stellt wurde. | |
| 6 | - Timer-Anzeige Zeigt die Zeit in Minuten an. | ||
| 7 | ∞ | - Ein- und Ausschalten des äußerten Kreises. | |
| 8 | ⊙ | - Auswahlen der Kochzone. | |
| 9 | +/- | - Erhöhen oder Verringern der Zeit. | |
| 10 | +/- | - Einstellen der Kochstufe. | |
Anzeigen der Kochstufen
| Display Beschreibung | |
| 0 | Die Kochzone ist ausgeschaltet. |
| 1-9 | Die Kochzone ist eingeschaltet. |
| 8 | Die Funktion Ankochautomatik ist in Betrieb. |
| E + Zahl | Eine Störung ist aufgetreten. |
| H | Eine Kochzone ist noch heiß (Restwärme). |
| L | Die Funktion Verriegeln/Kindersicherung ist in Betrieb. |
| - | Die Funktion Abschaltautomatik ist in Betrieb. |
Restwärmeanzeige

Verbrennungsgefahr durch
Restwärme.
TÄGLICHER GEBRAUCH

WARNING! Siehe Kapitel
Sicherheitshinweise.
Ein- und Ausschalten
Berühren Sie Sekunde lang, um das Kochfeld ein- oder auszuschalten.
Abschaltautomatik
Mit dieser Funktion wird das Kochfeld in folgenden Fällen automatisch ausgeschaltet:
- Alle Kochzonen sind ausgeschaltet.
-
Nach dem Einsatz des Kochfelds wird keine Kochstufe gewählt.
-
Das Bedienfeld ist mehr als 10 Sekunden mit verschütteten Lebensmitteln oder einem Gegenstand bedeckt (Topf, Tuch usw.). Ein akustisches Signal ertont und das Kochfeld schaltet ab. Entfern den Sie den Gegenstand oder reinigen Sie das Bedienfeld.
- Eine Kochzone wurde nicht ausgeschaltet bzw. die Kochstufe wurde nicht geändert. Nach einer Weile leuchtet auf und das Kochfeld schaltet sich aus.
Verhältnis zwischen der Kochstufe und der Zeit, nach der das Kochfeld ausgeschaltet wird:
| Kochstufe Das Kochfeld wird ausgeschaltet nach | |
| 0, 1 - 2 | 6 Stunden |
| 3 - 4 5 Stunden | |
| 5 4 Stunden | |
| 6 - 9 1,5 Stunden | |
Einstellen der Kochstufe
Berühren Sie um die Kochstufeneinstellung zu erhöhen.
Berühren Sie um die Kochstufeneinstellung zu verringn. Berühren Sie zum Ausschalten der
Kochzone und gleichzeitig.
Ein- und Ausschalten der äußerten Heizkreise
Die Kochflächen können an die große des Kochgeschirrs angepasst werden.
Verwenden Sie das Sensorfeld:
Einschalten des äußerten Heizkreises:
Berühren Sie das Sensorfeld. Die Kontrollampe leuchtet auf.
Ausschalten des äußerten Heizkreises:
Berühren Sie das Sensorfeld, bis die Kontrollampe erlischt.
Ankochautomatik
Durch Einschalten dieser Funktion lässt sich die erforderliche
Kochstufeneinstellung Schneller erzielen.
Bei Verwendung der Funktion wird eine bestimmte Zeit lang die höchste Kochstufe eingestellt und anschließend auf die erforderliche Stufe zurückgeschalte.
Zum Einsatz der Funktion muss die Kochzone abgekühlt sein.
Einschalten der Funktion für eine
Kochzone: Berühren Sie bis die erforderliche Kochstufeneinstellung angezeigt wird. Nach 3 Sekunden leuchtet auf.
Ausschalten der Funktion: Berühren Sie
Timer
Kurzzeitmesser
Mit dieser Funktion stellen Sie ein, wie lange eine Kochzone für einen einzelnen Kochvorgang eingeschaltet bleiben soll.
Stellen Sie zuerst die Kochstufe für die Kochzone und erst danach die Funktion ein.
Auswahlen der Kochzone: Berühren Sie so oft, bis die Anzeige der gewünschten Kochzone aufleucht.
Einschalten der Funktion oder Andern
der Zeit: Berühren Sie oder, um die Dauer für den Timer einzustellen (00 - 99 Minuten). Wenn die Anzeige der Kochzone langsam blinkt, wird die Zeit heruntergebnigt.
So wird die Restzeit angezeigt: Wahlen
Sie die Kochzone mit aus. Die Anzeige der Kochzone blinkt schneller. Das Display zeigt die Restzeit an.
Ausschalten der Funktion: Wahlen Sie die Kochzone mit und berühren Sie. Die Restzeit wird auf 00 heruntergebnlt. Die Anzeige der Kochzone erlischt.

Wenn die eingestellte Zeit abgelaufen ist, ertont ein Signalton und 00 blinkt. Die Kochzone wird ausgeschaltet.
Ausschalten des Signaltons: Berühren Sie
Kurzzeit-Wecker
Sie können diese Funktion als Kurzzeit-Wecker benutzen, wenn das Geräteingeschaltet ist und die Kochzonen nicht in Betrieb sind. Das Display zeigt an.
Einschalten der Funktion: Berühren Sie
Berühren Sie oder des Timers, um die Zeit einzustellen. Wenn die eingestellte Zeit abgelaufen ist, ertont ein Signalton und 00 blinkt.
Ausschalten des Signaltons: Berühren Sie

These Funktion hat keine Auswirkung auf den Kochzonenbetrieb.
Verriegeln
Sie konnen das Bedienfeld sperren, wenn Kochzonen eingeschaltet sind. So wird verhindert, dass die Kochstufe versehentlich geändert wird.
Stellen Sie zuerst die Kochstufe ein.
Einschalten der Funktion: Berühren Sie 0-4. Jeuchtet 4 Sekunden auf. Der Timer bleibt eingeschaltet.
Ausschalten der Funktion: Berühren Sie
- Die vorherige Kochstufe wird angezeigt.
TIPPS UND HINWEISE

WARNING! Siehe Kapitel Sicherheitshinweise.

These Funktion wird auch ausgeschaltet, sobald das Kochfeld ausgeschaltet wird.
Kindersicherung
These Funktion verhindert ein versehentliches Einsatzen des Kochfelds.
Einschalten der Funktion: Schalten Sie das Kochfeld mit ein. Stellen Sie keine Kochstufe ein. Berühren Sie 4 Sekunden lang. Leuchtet auf. Schalten Sie das Kochfeld mit aus.
Ausschalten der Funktion: Schalten Sie das Kochfeld mit ein. Stellen Sie keine Kochstufe ein. Berühren Sie 4 Sekunden lang. 4euchtet auf. Schalten Sie das Kochfeld mit 1 aus.
Vorübergehendes Ausschalten der Funktion für einen einzelnen Kochvorgang: Schalten Sie das Kochfeld mit ① ein. Leuchtet auf. Berühren Sie 4 Sekunden lang. Stellen Sie die Kochstufe innerhalb von 10 Sekunden ein. Das Kochfeld kann jetzt benutzt werden. Wenn Sie das Kochfeld mit ① ausschalten, wird diese Funktion wieder eingeschaltet.
Kochgeschirr

Der Boden des Kochgeschirrs sollte so dick und flach wie möglich sein.

Kochgeschirr aus Stahlemaille oder mit Aluminium- oder Kupferboden kann Verfärbungen der Glaskeramikoberfläche verursachen.
Anwendungsbeispiele für das Garen

Bei den Angaben in der folgenden Tabelle handelt es sich um Richtwerte.
| Kochstufe Verwendung: Dauer | (Min.) | Hinweise | |
| u - 1 | Warmhalten von gegarten Speisen. | Nach Bedarf | Legen Sie einen Deckel auf das Kochgeschirr. |
| 1 - 2 Sauce Hollandaise, Schmel-zen von: Butter, Schokolade, Gelatine. | 5 - 25 Gelegentlich umrähen. | ||
| 1 - 2 Stocken: Lockere Omeletts, gehockene Eier. | 10 - 40 | Mit Deckel garen. | |
| 2 - 3 Köcheln von Reis und Milchgerichten, Erhitzen von Fertiggerichten. | 25 - 50 | Mindestens doppelte Menge Flüssigkeit zum Reis geben, Milchgerichte zwischen durch umrähen. | |
| 3 - 4 Dünsten von Gemüse, Fisch, Fleisch. | 20 - 45 | Einige Esslöfel Flüssigkeit hinzugeben. | |
| 4 - 5 Dampfgaren von Kartoffeln. 20 - | 60 | Max. ¼ I Wasser für 750 g Kartoffeln verwenden. | |
| 4 - 5 Kochen größer Speisemen-gen, Eintopfgerichte und Suppen. | 60 - 150 | Bis zu 3 I Flüssigkeit plus Zu-taten. | |
| 6 - 7 Bei geringer Hitze anbraten: Schnitzel, Cordon bleu, Kotelett, Frikadellen, Bratzwürste, Leber, Mehlschwitze, Eier, Pfannkuchen, Donuts. | Nach Bedarf | Nach der Hälfte der Zeit wen-den. | |
| 7 - 8 Braten bei starker Hitze: Rösti, Lendenstücke, Steaks. | 5 - 15 Nach der Hälfte der Zeit wen-den. | ||
| 9 Aufkochen von Wasser, Nudeln kochen, Anbraten von Fleisch (Gulasch, Schmorbraten), Frittieren von Pommes frites. | |||
REINIGUNG UND PFLEGGE

WARNING! Siehe Kapitel Sicherheitshinweise.
Allgemeine Informationen
-
Reinigen Sie das Kochfeld nach jedem Gebrauch.
-
Achten Sie immer daraufuf, dass der Boden des Kochgeschirrs sauber ist.
- Kratzer oder dunkle Flecken auf der Oberfläche beeinträchtigen die Funktionsfähigkeit des Kochfelds nicht.
- Verwenden Sie einen Spezialreiniger zur Reinigung der Kochfeldoberfläche.
- Verwenden Sie einen speziellen Reinigungsschaber für Glas.
Reinigen des Kochfelds
- Folgendes muss�始entwert werden: geschmolzener Kunststoff, Plastikfolie, Zucker bzw. zuckerhaltige Lebensmittel. Andernfalls konnen die Verschmutzungen das Kochfeld beschädigen. Achten Sie darauf, dass sich niemand Verbrennungen zuzieht. Den speziellen Reinigungsschaber
schräg zur Glasfläche ansetzen und über die Oberfläche bewegen.
- Folgendes kann nach ausreichender Abkuhlung des Kochfelds entfernt werden: Kalk- und Wasserränder, Fettspritzer und metallisch schimmernde Verfürbungen. Reinigen Sie das Kochfeld mit einem feuchten Tuch und nicht scheuernden Reinigungsmittel. Wischen Sie das Kochfeld nach der Reinigung mit einem weichen Tuch trocken.
- Entfernen Sie metallisch schimmernde Verfarbungen: Benutzen Sie für die Reinigung der Glasoberfläche ein mit einer Lösung aus Essig und Wasser angefeuchtetes Tuch.
FEHLERSUCHE

WARNING! Siehe Kapitel Sicherheitshinweise.
Was tun, wenn ...
| Störung Mögliche Ursache | Abhilfe | |
| Das Kochfeld kann nicht ein-geschalten oder bedient wer-den. | Das Kochfeld ist nicht oder nicht ordnungsgemäß an die Spannungsversorgung an-geschlossen. | Prüfen Sie, ob das Kochfeld ordnungsgemäß an die Spannungsversorgung an-geschlossen ist. Nehmen Sie dazu den Anschlussplan zu Hilfe. |
| Die Sicherung ist durchge-brannt. | Vergewissern Sie sich, dass die Sicherung der Grund für die Störung ist. Brennt die Sicherung wiederholt durch, wenden Sie sich an eine zu-gelassene Elektrofachkraft. | |
| Schalten Sie das Kochfeld | erneut ein und stellen Sie in-nerhalb von 10 Sekunden die Kochstufe ein. | |
| Zwei oder mehr Sensorfel-der wurden gleichzeitig be-rührt. | Berühren Sie nur ein Sen-sorfeld. | |
| Störung Mögliche Ursache Abhilfe | ||
| Auf dem Bedienfeld befin- | den sich Wasser- oder Fett-spritzer. | Wischen Sie das Bedienfeld ab. |
| Ein akustisches Signal er- tont und das Kochfeld schal- tet ab. | Mindestens ein Sensorfeld wurde bedeckt. | Entfernen Sie den Gegen- stand von den Sensorfel- dern. |
| Wenn das Kochfeld ausge-schaltet wird, ertont ein akustisches Signal. | ||
| Das Kochfeld wird ausge-schaltet. | Sie haben etwas auf das Sensorfeld Bestellt. | Entfernen Sie den Gegen- stand vom Sensorfeld. |
| Die Restwärmeanzeige Funktioniert nicht. | Die Kochzone ist nicht heißt, da sie nur kurze Zeit in Be-trieb war. | War die Kochzone large ge-nug eingeschaltet, um heißt zu sein, wenden Sie sich an den autorisierten Kunden-dienst. |
| Die Ankochautomatik startet nicht. | Die Kochzone ist heißt. Lassen Sie die Kochzone lange genug abkühlen. | |
| Die höchste Kochstufe ist | eingestellt. | Die höchste Kochstufe hat die gleiche Leistung wie die Funktion. |
| Sie haben die Kochstufe auf | 0 verringt. | Beginnen Sie bei 0 und er-höhen Sie nur die Kochstu-fe. |
| Der äußere Heizkreislässt sich nicht einschalten. | Schalten Sie zuerst den in- neren Heizkreis ein. | |
| In der Mehrkreis-Kochzone befindet sich ein dunkler Bereich. | Es ist normal, dass sich in der Mehrkreis-Kochzone ein dunkler Bereich befindet. | |
| Die Sensorfelder werden heiß. | Das Kochgeschirr ist zu groß, oder Sie haben es zu nahe an die Bedienelemente gestellt. | Stellen Sie großeSesKochge-schirr nach Möglichkeit auf die hinteren Kochzonen. |
| - leuchtet auf. | Die Abschaltautomatik hat ausgelöst. | Schalten Sie das Kochfeld aus und wieder ein. |
| L leuchtet auf. | Die Kindersicherung oder die Tastensperre ist eing-schaltet. | Siehe Kapitel „Täglicher Ge-brauch". |
| E und eine Zahl werden angezeigt. | Es ist ein Fehler im Kochfeld aufgetreten. | Trennen Sie das Kochfeld eine Zeit lang vom Strom-netz. Schalten Sie die Sicherung im Sicherungskosten der Hausinstallation aus. Schalten Sie die Sicherung wieder ein. Wenn erneut aufleucht, wenden Sie sich an den autorisierten Kundendentenst. |
| E6 leuchtet auf. Die zweite Phase der Strom-versorgung feht. | Prüfen Sie, ob das Kochfeld ordnungsgemäß an die Spannungsversorgung angeschlossen ist. Nehmen Sie die Sicherung hereaus, warten Sie eine Minute und setzen Sie die Sicherung wieder ein. | |
Wenn Sie das Problem nicht offen können...
Wenn Sie das Problem nicht selbst lösenkonnen, wenden Sie sich an ihren Handler oder einen autorisierten Kundendienst. Geben Sie die Daten, die Sie auf dem Typenschild finden, an. Geben Sie damit den dreistelligen Buchstaben-Code für die Glaskeramik (befindet sich in der Ecke der Glasfläche) und die angezeigte
Fehlermeldung an. Vergewissern Sie sich, dass Sie das Kochfeld korrekt bedient haben. Wenn Sie das Gerät falsch bedient haben, fällt auch während der Garantiezeit für die Reparatur durch einen Techniker oder Handler eine Gebühr an. Die Informationen zum Kundendienst und die Garantiebedingungen finden Sie im Garantieheft.
TECHNISCHE DATEN
Typenschild
Modell PAS8060E Produkt-Nummer (PNC) 949 593 001 03
Typ 60 HBD 47 AO 220 - 240 V, 50 - 60 Hz
Made in Germany
Ser. Nr. 7.0 kW
PROGRESS

Technische Daten der Kochzonen
| Kochzone | Nennleistung (höchste Kochstu- fe) [W] | Durchmesser der Kochzone [mm] |
| Vorne links 750 / 2200 120 / 210 | ||
| Hinten links 1200 145 | ||
| Vorne rechts 1200 145 | ||
| Hinten rechts 1500 / 2400 170 / 265 | ||
Verwenden Sie für optimale Kochergebnisse kein Kochgeschirr,
dessen Durchmesser größe als der der Kochzone ist.
ENERGIEEFFIZIENZ
Produktinformationen gemäß EU 66/2014
| Modellidentifikation PAS8060E | ||
| Kochfeldtyp Einbau-Kochfeld | ||
| Anzahl der Kochzonen 4 | ||
| Heiztechnologie Kochzone mit | Strahlungsbehei-zung | |
| Durchmesser der kreisfür-migen Kochzonen (Ø) | Vorne links | 21,0 cm |
| Hinten links | 14,5 cm | |
| Vorne rechts | 14,5 cm | |
| Länge (L) und Breite (B) der nicht kreisfürmigen Kochzone | Hinten rechts L 26,5 cm | B 17,0 cm |
| Energieverbrauch pro Kochzone (EC electric coo-king) | Vorne links | 200,1 Wh/kg |
| Hinten links | 188,0 Wh/kg | |
| Vorne rechts | 188,0 Wh/kg | |
| Hinten rechts | 191,6 Wh/kg | |
| Energieverbrauch des Kochfelds (EC electric hob) | 191,9 Wh/kg | |
EN 60350-2 - Elektrische Kochgeräte für den Hausgebrauch - Teil 2: Kochfelder - Verfahren zur Messung der Gebrauchseigenschaften
Energie sparen
Beachten Sie folgende Tipps, um beim tätiglichen Kochen Energie zu sparen.
- Wenn Sie Wasser erwärmen, verwenden Sie nur die benötigte Menge.
- Decken Sie Kochgeschirr, wenn möglich, mit einem Deckel ab.
- Stellen Sie Kochgeschirr auf die Kochzone, bevor Sie sie einschalten.
-
Der Boden des Kochgeschirrs sollte denselben Durchmesser wie die Kochzone haben.
-
Stellen Sie kleineres Kochgeschirr auf die kleineren Kochzonen.
-
Stellen Sie das Kochgeschirr mittig auf die Kochzone.
-
Nutzen Sie die Restwärme, um die Speisen warm zu halten oder zu schmelzen.
UMWELTTIPPS
Recycleln Sie Materialien mit dem Symbol
Entsorgen Sie die Verpackung in den entsprchenden Recyclingbehältern. Recycleln Sie zum Umwelt- und Gesundheitsschutz elektrische und elektronische Geräte. Entsorgen Sie
Geräte mit thisem Symbol nicht mit dem Hausmüll. Bringen Sie das Gerät zu ihrer örtlichen Sammelstelle oder wenden Sie sich an Ihr Gemeindeamt.
INDICE
wwwprogress-hausgeraete.de
EinfachAnleitung