AI 221100 - Dunstabzugshaube GAGGENAU - Kostenlose Bedienungsanleitung
Finden Sie kostenlos die Bedienungsanleitung des Geräts AI 221100 GAGGENAU als PDF.
Benutzerfragen zu AI 221100 GAGGENAU
0 Frage zu diesem Gerät. Beantworten Sie die, die Sie kennen, oder stellen Sie Ihre eigene.
Eine neue Frage zu diesem Gerät stellen
Laden Sie die Anleitung für Ihr Dunstabzugshaube kostenlos im PDF-Format! Finden Sie Ihr Handbuch AI 221100 - GAGGENAU und nehmen Sie Ihr elektronisches Gerät wieder in die Hand. Auf dieser Seite sind alle Dokumente veröffentlicht, die für die Verwendung Ihres Geräts notwendig sind. AI 221100 von der Marke GAGGENAU.
BEDIENUNGSANLEITUNG AI 221100 GAGGENAU
de Gebrauchs- und Montageanleitung
Allgemeine Informationen 4
Hinweise zum Umweltschutz 4
Vor dem ersten Benutzen 4
Sicherheitschinweise 5
Bestimmungsgemäbe Verwendung 5
Technische Sicherheit 5
Spezielle Hinweise für Gaskochgeräte 6
SachgemäBer Gebrauch 7
Sachgemäß Montage 7
Betriebsarten 8
Abluftbetrieb 8
Umluftbetrieb 8
Bedienung 9
Reinigung und Pflege 11
Aus- und Einbau der Fettfilter 12
Aus- und Einbau der Metall-Fettfilter 12
Ein- und Ausbau den Aktivkohlefilters 12
Ausweiseln der Lampen 13
Montageanleitung
Montagehinweise 14
Rohrverbindung 14
Elektrischer Anschluss 15
Montage 16
Montagevorbereitung 16
Befestigung 17
Montage der Kaminverblendung 18
Hinweise zum Umweltschutz
Entsorgung der Transportverpackung
Ihr neues Gerät wurde auf dem Weg zu Ihnen durch die Verpackung geschützt. Alle eingesetzten Materialien sind umweltverträglich und wieder verwertbar.itte halten Sie mit und entsorgen Sie die Verpackung umweltgerecht.
VERLETZUNGSGEFAHR
Verpackungsteile konnen für Kinder gefährlich sein.
Insbesondere durch Kunststofffolien und -beutel besteht Erstickungsgefahr. Bewahren Sie diese deshalb außerhalb der Reichweite von Kindern auf.
Entsorgung des Altgerätes
Altgeräte sind kein wertloser Abfall. Durch umweltgerechte Entsorgung konnen wertvolle Rohstoffe wiedergewonnen werden.

Dieses Gerät ist entsprechend der europäischen Richtlinie 2002/96/EG über Elektro- und Elektronik-Altgeräte (waste electrical and electronic equipment - WEEE) gekennzeichnet. Die Richtlinie gibt
den Rahmen für eine EU-weit gültige Rücknahme und Verwertung der Altgeräte vor.
Bevor Sie das Altgerät entsorgen, machen Sie es unbrauchbar.
Geben Sie Ihr Altgerät auf keinen Fall in den Restmüll!
Über aktuelle Entsorgungswege informieren Sie sichitte beiHremFachhandleroderbeiHrer Gemeindeverwaltung.
Sorgen Sie davon, dass das Altgerät bis zur Entsorgung kindersicher aufbewahrt wird.
VordemerstenBenutzen
Hinweis: These Gebrauchsanleitung gilt für mehrere Geräteausführungen. Es ist möglich, dass einzeln Ausstattungsmerkmale beschrieben sind, die nicht auf Ihr Gerät zuteffen.
Bevor Sie das neue Gerät in Betrieb besteht,lesen Sieitte die Gebrauchsanleitung und besonders die Sicherheitshinweise sorgfältig durch und beachten Sie diese. Sie enthalten wichtige Informationen für ihre Sicherheit sowie zum Gebrauch und zur Pflege des Gerätes.
Bewahren Sie die Gebrauchs- und Montageanleitung gut auf und geben Sie sie einem eventuellen Nachbesitzer weiter.
Störungen
Wenn in der Anzeige ein Ferscheint:
Siehe Abschnitt „Bedienung".
Wenn sich die Dunstabzugshaube nicht bedienen lasst:
Fur ca. 1 Minute die Dunstabzugshaube durch Ziehen des Netzsteckers bzw. Ausschalten der Sicherung stromlos machen. Danach neu einschalten.
Bei eventuellen Rückfragen oder Störungen, Kundendienst anrufen.
(Siehe Kundendienststellenverzeichnis).
Bei Anrufitte angeben:
E-Nr.
FD
Die Nummern sind auf dem Typenschild, nach Abnahme der Fettfilter, im Innenaum der Dunstabzugshaube zu finden.
Tragen Sie die Nummern in obige Felder ein.
Bestimmungsgemäß Verwendung
- These Dunstabzugshaube entspricht den vorgeschriebenen Sicherheitsbestimmungen. Ein unsachgemäßer Gebrauch kann zu Schäden an Personen oder Sachen führen.
Die DunstabzugshaubearfasschlieBichim Haushaltbenutzwerden.DerHerstellerhaftet nicht fur Schaden, die durch unsachgemaben Gebrauch oder falsche Bedienung verursacht werden.
Der Hersteller kann nicht für Schäden verantwortlich gemacht werden, die auf Nichtbeachtung der Sicherheitshinweise zurückzuführen sind.

VERLETZUNGSGEFAHR
Kinder nicht mit der Dunstabzugshaube spielen.
lassen! Erwachsene und Kinder durren nie
unbeaufsichtigt das Gerat betreiben,
- wenn sie körperlich oder geistig dazu nicht in der Lage sind,
- oder wenn ihren Wissen und Erfahrung fehlen, das Gerät richtig und sicher zu bedieren.
Technische Sicherheit
Die Dunstabzugshaube hat das Werk in einwandfreiem Zustand verlassen. Kontrollieren Sie das Gerät davon vor der Montage auf sichbare Schäden. Ist es beschädigt, darüber Sie es nicht einbauen oder installieren!
- Wird die Anschlussleitung der Dunstabzugshaube beschädigt, muss sie durch den Hersteller, seinen Kundendienst oder einer ähnlich qualifizierten Person ersetzt werden, um Gefährdungen zu vermeiden.
- Montage (einschließlich elektrischer Anschluss), Wartung oder Reparatur der Dunstabzugshaube dürfen nur von einer Fachkraft durchgeführt werden. In jedem Fall muss die Dunstabzugshaube durch Ziehen des Netzsteckers oder Ausschalten der Sicherung stromlos gemacht werden!
Durch unsachgemäße Montage, Wartung oder Reparatur konnen erhebliche Gefahren für den Benutzer entstehen, für die der Hersteller nicht haftet.
Veränderungen des elektrischen oder mechanischen Aufbaus sind gefährlich und)dürfen nicht vorgenommen werden! Sie konnen auch zu Fehlfunktionen an der Dunstabzugshaube führen.
Gleichzeitiger Betrieb der Dunstabzugshaube mit einer raumluftabhängigen Feuerstätte
- Raumluftabhängige Feuerstätten sind z.B gas-, öl-, holz-, oder kohlebetriebene Heizgeräte, Durchlauferhitzer, Warmwasserbereiter, Kochmulen oder Backöfen, die Verbrennungsluft aus dem Aufstellraum beziehen und deren Abgase durch einen Kamin ins Freie abgeführt werden.

VERGIFTUNGSGEFAHR
Bei gleichzeitigem Betrieb der Dunstabzugshaube mit einer raumluftabhängigen Feuerstätte besteht Vergiftungsgefahr durch zusückgesaugte Verbrennungsgase.

- Ein gefahrloser Betrieb ist möglich, wenn der Unterdruck im Aufstellraum der Feuerstände 4Pa (0,04mbar) nicht überschreitet. Dies kann erreicht werden, wenn durch nicht verschliebsbare Öffnungen, z.B. in Türen, Fenstern, in Verbindung mit einem Zuluft-/ Abluftmauerkasten oder durch andere technische Maßnahmen, die zur Verbrennung benötigte Luft nachströmen kann.

Es muss saber immer für ausreichend Zuluft gesorgt werden.
- Ein Zuluft-/Abluftmauerkasten allein stellt die Einhaltung des Grenzwertes nicht sicher.
Hinweis: Bei der Beurteilung muss immer der gesamte Lüftungsverbund der Wohnung beachtet werden. Ziehen Sie zur Beurteilung den Rat des zuständigen Schornsteinfeger-meisters hinzu.
- Wird die Dunstabzugshaube ausschließlich im Umluftbetrieb eingesetzt, ist der Betrieb ohne Einschränkung möglich.
Spezielle Hinweise für Gaskochgeräte
- Bei der Montage über Gaskochstellen sind die national einschlagigen gesetzlichen Bestimmungen (zB in Deutschland: Technische Regeln Gasinstallation TRGI) zu beachten.
Es müssen die jeweils gultigen Einbauvorschriften und -hinweise der Gas-Gerätehersteller beachtet werden. - Bei der Montage ist zu beachten, dass sich nur eine Seite der Dunstbzugshaube direkt befinden einem Hochschrank oder einer Wand befinden darauf. Es besteht sonst die Gefahr eines Hitzestaus. Der Abstand zur Wand oder zum Hochschrank muss mindestens 50mm betragen.
VERBRENNUNGSGEFAHR
Betreiben Sie nicht mehr als zwei Gaskochstellen gleichzeitig über einen Zeitraum von max. 15 Minuten bei hochster Wärme-belastung. Durch die Hitzeeinwirkung besteht Verbrennungsgefahr beim Berühren der Gehäuseoberflächen!
- Beachten Sie, dass ein Großbrenner mit mehr als 5 kW (Wok) der Leistung von zwei Gasbrennern entspricht.
Die Dunstabzugshaube kann durch die starke Hitzeinwirkung beschädigt werden. - Betreiben Sie eine Gaskochstelle nie ohne aufgesetztes Kochgeschirr. Regeln Sie die Flamme so, dass sie nicht über das Kochgeschirr hinausragt.
Sachgemäßer Gebrauch
Reinigen Sie die Dunstabzugshaube sorgfältig vor der ersten Inbetriebnahme.
Vor jeder Reinigung und Pflege ist die Dunstabzugshaube durch Ziehen des Netzsteckers oder Ausschalten der Sicherung stromlos zu machen.
- Lampen (insbesondere Halogenlampen) werden bei Betrieb sehr heiß. Auch einige Zeit nach dem Ausschalten besteht noch Verbrennungsgefahr!
Vor jedem Lampenwechsel muss die Dunstabzugshaube stromlos gemacht werden und die Lampen müssen abgekühlt sein!
- Betreiben Sie die Dunstabzugshaube nur mit eingesetzten Lampen.
Schalten Sie die Dunstabzugshaube immer ein, wenn eine Kochstelle benutzt wird. Bei nicht eingeschalteter Dunstabzugshaube kann sich Kondenswasser bilden. Dadurch konnen Korrosionsschäden am Gerät auftreten.
- Stellen Sie keine Gegenstände auf der Dunstabzugshaube ab.

BRANDGEFAHR
Nicht unter der Dunstabzugshaube flambieren oder mit offener Flamme arbeiten.
Die eingeschaltete Dunstabzugshaubezieht Flammen in den Filter.Durch Ablagerungen am Fettfilterbesteht Brandgefahr!
Beaufsichtigen Sie Töppe, Pfaffen und Frittiergeräte, wenn Sie Speisen mit Ölen und Fetten, z.B. Pommes Frites, zubereiten. Überhitzte Öle oder Fette können sich leicht entzünden!
Durch regelmäßige Reinigung der Fettfilter und den rechtzeitigen Wechsel des Aktiv- kohlefilters beugen Sie einer Brandgefahr vor.
- Betreiben Sie die Dunstabzugshaube nie ohne Fettfilter.
Sachgemäß Montage
- Beachten sie die Herstellerangaben für das Kochgerät, ob der Betrieb einer Dunstabzugshaube darüber möglich ist.
-
Sofern vom Hersteller des Kochgerätes keine größeren Sicherheitsabstände vorgegeben sind, gilt ein Mindeststand
-
zwischen Elektrokochstellen und Unterkante der Dunstabzugshaube von 550 mm
- zwischen Gaskochstellen (Oberkante Topfträger) und Unterkante der Dunstabzugshaube von 650 mm
(siehe Abbildungen auf Seite 2)
- Werden unterschiedliche Kochgeräte betrieben, gilt der größte angegebene Abstand.
Die Breite der Dunstabzugshaube muss der Breite der Kochstelle entsprechen. - Über einer Feuerstätte für feste Brennstoffe, von der eine Brandgebung (z.B. Funkenflug) ausgehen kann, ist die Montage der Dunstabzugshaube nur dann zulässig, wenn die Feuerstätte eine geschlossene, nicht abnehmbare Abdeckung hat und die länderspezifischen Vorschriften eingehalten werden. Diese Einschränkung gilt nicht für Gas-Herde und Gas-Mulden.
Um Schaden an der Kochstelle zu vermeiden, muss diese bei der Montage der Dunstabzugshaube abgedeckt werden.
Die Dunstabzugshaube ist im Abluft- und Umluftbetrieb verwendbar. Die seriennäBige Einstellung ist Abluftbetrieb.
Abluftbetrieb

Die angesaugte Luft wird durch die Fettfilter gereinigt und durch ein Rohrsystem ins Freie geleitet.
Gerätemaße Abluft

Umluftbetrieb

Die angesaugte Luft wird durch die Fettfilter gereinigt und durch ein Rohrsystem ins Freie geleitet.
Um die Geruchsstoffe im Umluftbetrieb zu binden, muss ein Aktivkohlefilter eingebaut werden (siehe "Aus- und Einbau der Fettfiter").
Das komplette Montage-Set sowie die Ersatzfilter sind im Fachhandel, beim Kundendienst oder im Online-Shop erhältlich. Die Zubehör-Nummer findsie am Ende der Gebrauchsanleitung.
Die Steckdose muss mindestens 170 mm unterhalb der Decke angebracht sein.
Gerätemaße Umluft

Bedienung
Der Kuchendunst wird am wirkungsvollsten beseitigt durch:
Einschalten der Dunstabzugshaube bei Kochbeginn.
Ausschalten der Dunstabzugshaube erst eine Minute nach Kochende.

Einschalten des Lufters:
- Drucken Sie die Taste 1, 2, 3 oder Int.
Ausschalten des Lufters:
- Drucken Sie die Taste 0.
Intensivistufe
Durch die Intensivstufe wird die höchste Leistung erreicht. Sie wird kurzzeitig benötigt.
- Beim Anbraten und Braten in der offenen Pfanne sollen die Taste Int für Intensivstufe gedrückt werden.
Haben Sie die Haube durch Betätigungen der Intensivstufe eingeschaltet, wird diese automatisch nach einer Dauer von 5 Minuten wieder ausgeschaltet. - Drücken Sie die Taste Int während die Haube in der Lüftungsstufe 1, 2 oder 3 betrieben wird, schaltet die Elektronik automatisch nach 5 Minuten auf die zuvor gewährte Lüftungsstufe darüber.
- Mochten Sie die Intensivstufe vor Ablauf der 5 Minuten beenden, drücken Sie die Taste 0 ("Motor aus") oder eine andere Stufe. Die Absaugung der Wandhaube kann tatsächcher jederzeit mit der Taste 0 ("Motor aus") ausgeschaltet werden.
Spezialfunktionen
Intensiv-Zeitdauer:
Durch gleichzeitiges Betätigkeiten der Int-Taste und der Tasten 1, 2 oder 3 können Sie die Zeitdauer der Intensiv-Stufe auf 3, 5 oder 10 Minuten einstehen und abspeichern; Auslieferungszustand sind fünf Minuten, d.h. Tastenkombination Int/Taste 2.
Lüfternachlauf:
Der Nachlauf ist in einer beliebigen Stufe möglich. Drücken Sie zuerst die gewünschte Taste 1, 2, 3 oder Int und betätigten Sie dann die Taste
Die Nachlaufzeit beträgt für alle Stufen zehn Minuten. Nach diesen zehn Minuten schaltet sich die Luftung automatisch ab, die Beleuchtung bleibt weiterhin an.
Intervall-Luftung:
- Eine Besonderheit these Gerätes ist die Intervaallüfung. Dies ist ein automatisches periodisches Einsatzen der Lüfung für jeweils fünf Minuten pro Stunde. Sie können diese Funktion durch gleich zeitiges Betätigkeiten der Taste 0 und, je nach gewünschter Absaugleistung, der Taste 1, 2 oder 3 ein schal ten.
These Betriebsart wird durch wechselndes Leuchten des fasters mit der entsprechenden Stufen-Anzeige angezeigt.
Die Intervall-Luftung wird durch Drucken der Taste 0 ausgeschaltet.
Beleuchtung:
- Drücken Sie kurz die Taste zum Ein- und Ausschalten.
Die Beleuchtung kann zu jeder Zeit verwendet werden, auch wenn der Lüfter ausgeschaltet ist.
Einstellen der Helligkeit: Halten Sie die Taste gedrückt, bis die gewünschte Helligkeit erreicht ist.
Sattigungsanzeige: F
- Nach einer Betriebszeit von 30 Stunden blinkt die Fettfilter-Sattigungsanzeige F. Das Blinken dieser Kontrolleuche signalisiert Ihnen, dass die Fettfilter gereinigt werden sollenn. Selfstverständlich ist das Reinigen der Fettfilter jederzeit, auch ohne Blinken der Fettfilter-Sattigungsanzeige, möglich.
Zum Löschen der Anzeige drucken Sie die Taste F.
VERLETZUNGSGEFAHR
Vor jeder Reinigung und Pflege ist die Dunstabzugshaube durch Ziehen des Netzsteckers oder Ausschalten der Sicherung stromlos zu machen.
Geräteoberflächen
Hinweis: Beachten Sie die Garantiebestimmungen im beiliegenden Serviceheft.
Die Geräteoberflächen und Bedienelemente sind kratzempfindlich. Beachten Sie dazu die folgenden Reinigungshinweise:
- Vermeiden Sie die Reinigung der Dunst-abzugshaube mit trockenen Tuchern, kratzenden Schwämmen, Scheuermitteln sowie sand-, soda-, säure-, chloridhaltigen oder sonstigen aggressiven Reinigungsmitteln.
- Reinigen Sie die Geräteoberflächen und Bedienelemente nur mit einem weichen, feuchten Tuch, Spülmittel oder einem milden Fensterreiniger.
- Kratzen Sie angetrocknete Verschmutzungen nicht ab, sondern weichen Sie diese mit einem feuchten Tuch auf.
- Reinigen Sie im Bereich der Bedienelemente vorsichtig, um ein Eindringen von Nasse in die Elektronik zu vermeiden.
Hinweis: Reinigen Sie Edelstahloberflächen nur in Schliffrichtung!
Verwenden Sie für die Bedientasten keinen
Edelstahlreiniger!
Hinweis zur Gerätepflege
Geeignete Reinigungs- und Pflegemittel für Ihr Gerät können Sie über die Hotline oder den Online-Shop (siehe Umschlagseite) beziehen.
Metall-Fettfilter
Die eingesetzten Metall-Fettfilter fühmen die fettigen Bestandteile des Kuchendunstes auf.
Die Filtermatten bestehen aus unbrennbarem Metall.
BRANDGEFAHR
Bei zunehmender Sattigung der Filter mit fetthaltigen Rückständen erhöht sich die Entflammarkeit. Außer dem kann die Funktion der Dunstabzugshaube beeinträchtigt werden.
Durchrechtzeitiges Reinigen der Metall-Fettfilter wird der Brandgebung vorgebeugt.
- Beim Reinigen der Fettfilter auch die zugänglichen Gehauseteile mit einem feuchten Tuch von abgelagertem Fett reinigen.
Reinigen der Metall-Fettfilter ...
- Bei normalem Betrieb (täglich 1 bis 2 Stunden) müssen die Metall-Fettfilter 1x im Monat gereinigt werden.
... in der Spülmaschine
Das Reinigen der Metall-Fettfilter kann in der Geschirrspulmaschine erfolgen. Dabei können leichte Verfarbungen auftreten, die aber keinen Einfluss auf die Funktion der Fettfilter haben.
Die Filter mussen locker in der Geschirrspulmaschine liegen. Sie dürfen nicht eingeklemmt sein.
- Filter mit Randabsaugung mussen mit der Edelstahlseite nach oben in der Geschirrspulmaschine liegen.
Hinweis: Stark gesattigte Metall-Fettfilter nicht zusammen mit Geschirr reinigen.
... von Hand
- Beim Reinigen von Hand, die Fettfilter in Höhe Spüllauge einweichen, abbürsten, gut aussprülen und abtropfen halten.
- Verwenden Sie keine aggressiven, säure- oder laugenhaltigen Reinigungsmittel.
- Beirysbers hartoackigen Verschmutzungen empfehlen wir die Reinigung mit einem speziellen Fettloser-Spray. Dieses kann über den Online-Shop bestellt werden.

VERLETZUNGSGEFAHR
Vor dem Ein- und Ausbau der Fettfilter ist die Dunstabzugshaube durch Ziehen des Netzsteckers oder Ausschalten der Sicherung stromlos zu machen.
Aus- und Einbau der Metall-Fettfilter
1 Öffnen Sie die Verriegelung und klappen Sie die Fettfilter ab.
Fassen Sie damit mit der anderen Hand unter die Fettfilter.



(bei Filtern mit Randabsaugung)
2 Reinigen Sie die Fettfilter.
3 Setzen Sie die gereinigten Fettfilter wieder ein.
Aktivkohlefilter
Aktivkohlefilter binden die Geruchsstoffe bei Umluftbetrieb.
- Bei normalem Betrieb (täglich 1 bis 2 Stunden) müssen die Aktivkohlefilter ungebärn 2x im Jahr ausgetauscht werden.
Der Aktivkohlefilter ist im Fachhandel, beim Kundendienst oder im Online-Shop erhältlich (siehe Sonderzubehör). Verwenden Sie nur Originalfilter.
Aktivkohlefilter enthalten keine Schadstoffe. Sie können im Hausmull entsorgt werden.
Ein- und Ausbau den Aktivkohlefilters
1 Bauen Sie die Fettfilter aus (siehe Aus- und Einbau den Metall-Fettfilter).

2 Setzen Sie den Aktivkohlefilter ein.
3 Rasten Sie die Lasche ein.
4 Setzen Sie die Fettfilter wieder ein (siehe Ausund Einbau den Metall-Fettfilter).
Auswechseln der Lampen
- Beachten Sie vor dem Auswechseln der Lampen unbedingt die Hinweise und Warnungen im Kapitel "Sicherheitshinweise!"!
Die Beschreibung des Lampenwechsels gilt für mehrere Geräteausführungen.
Hinweis: Beachten Sie die Garantiebestimmungen im beiliegenden Serviceheft.
Wechsel der Halogenlampen
VERLETZUNGSGEFAHR
Halogenlampen werden bei Betrieb sehr heiß. Auch eine Zeit nach dem Ausschalten besteht noch Verbrennungsgefahr!
Defekte Lampen sollen sofort ersetzt werden, um Überlastung der restlichen Lampen zu vermeiden.
Die Halogenlampen müssen vor dem Wechseln vollständig abgekühlt sein.
1 Entfernen Sie den Lampenring vorsichtig mit einem geeigneten Werkzeug.

2 Ersetzen Sie die defekte Lampe durch eine neue des gleichen Typs und gleicher Leistung (siehe Typenschild).

Hinweis: Halogenlampen dürfen beim Einsetzen nicht am Glaskolben berührt werden. Verwenden Sie dazu zum Einsetzen des Leuchtmittels ein sauberes Tuch.
3 Setzen Sie die Lampenabdeckung wieder ein.
4 Stellen Sie durch Einstecken des Netzsteckers oder durch Einschalten der Sicherung die Stromversorgung wieder her.
Wechsel der Gluhlampen
VERLETZUNGSGEFAHR
Gliuhlampen werden bei Betrieb sehr heiß. Auch eine Zeit nach dem Ausschalten besteht noch Verbrennungsgefahr!
Gluhampen vor dem Wechseln vollständig abkühlen halten.
1 Heben Sie die Lampenabdeckung liegt an.
2 Schieben Sie die Lampenabdeckung zur Gerätemitte.

3 Ersetzen Sie die defekte Lampe durch eine neue des gleichen Typs und gleicher Leistung (siehe Typenschild).

4 Setzen Sie die Lampenabdeckung wieder ein.
5 Stellen Sie durch Einstecken des Netzsteckers oder durch Einschalten der Sicherung die Stromversorgung wieder her.
Hinweis: Sollte die Beleuchtung nicht Funktionieren, kontrollieren Sie, ob die Lampen richtig eingesteckt sind.
Montagehinweise
- Beachten Sie vor der Montage unbedingt die Hinweise und Warnungen im Kapitel "Sicherheitshinweise"!
Abluftbetrieb:
Die Abluft wird über einen Luftungsschacht nach oben, oder direkt durch die Außenwand ins Freie geleitet.
Hinweis: Die Abluftarf weder in einen in Betrieb befindlichen Rauch- oder Abgaskamin noch in einen Schacht, welcher der Entlüftung von Aufstellungsraumen von Feuerstätten dient, abgegeben werden.
- Soll die Abluft in einen nicht in Betrieb befindlichen Rauch- oder Abgaskamin geführt werden, ist die Zustimmung des zuständigen Schornsteinfegermeisters einzuholen.
- Bei der Ableitung von Abluft sind die behördlichen und gesetzlichen Vorschriften (z.B. Landesbauordnungen) zu beachten.
Wird die Abluft durch die AuBenwand geleitet, sollte ein Telescop-Mauerkasten verwendet werden.
Die Dunstabzugshaube erreicht ihre optimale Leistung durch:
-
ein kurzes, geradliniges Abluftrohr und
-
einen möglichst groben Rohrdurchmesser.
-
Sollten sich Rohrbögen nicht vermeiden给你们, achen Sie auf möglichst großes Radien.
Hinweis: Der Einsatz von langen, rauhen Abluftrohren,vielen Rohrbogen oder Rohrdurchmessernkleinerals 150~mm ,fuhrt zu einer Abweichung von der optimalen Luftleistung und zu einer Gerauscherhöhung.
Zum Verlegen der Abluftleitung dürfen nur Rohre oder Schläuche aus nichtbrennbarem Material verwendet werden.
Fur Beanstandungen, die auf Planung und Ausführung der Rohrstrecke zurückzuführen sind, übernimmt der Hersteller der Dunstabzugshauben keine Gewährleistung.
Edelstahloberflächen:
- Der Durchmesser der Abluftrohre sollt nicht kleiner als 150mm sein.
Rundrohre:
Wir empfehlen einen Innendurchmesser von 150 mm, jedoch mindestens 120 mm. - Flachkanäle mösen einen gleichwertigen Innenquerschnitt wie Rundrohre haben. Sie sollen keine scharfen Umlenkungen haben.
0150mmca.177cm²
0 120 mm ca. 113 cm²
Bei abweichenden Rohrdurchmessern: Dichtstreifen einsetzen.
Anschluss Abluftrohr 150 mm (empfohlene GröBe)
Abluftrohr direkt am Luftstutzen befestigen und geeignet abdachten. Bei Verwendung eines Aluminiumrohres, den Anschlussbereich vorher glätten.

Anschluss Abluftrohr 120 mm
Reduzierstutzen direkt am Luftstutzen befestigen.
Abluftrohr am Reduzierstutzen befestigen.
- Beide Verbindungsstellen geeignet abdichten.

Elektrischer Anschluss
- Beachten Sie vor dem elektrischen Anschluss unbedingt die Hinweise und Warnungen im Kapitel "Sicherheitshinweise"!
Die Dunstabzugshaube darf nur durch einen qualifizierten Elektroinstalleur, der die Vorschriften des zuständigen Elektrizitäts-Versorgungsunternehmens kennt, angeschlossen werden.
VERLETZUNGSGEFAHR
Wird die Anschlussleitung der Dunstabzugshaube beschädigt, muss sie durch den Hersteller, seinen Kundendienst oder einer ähnlich qualifizierten Person ersetzt werden, um Gefährdungen zu vermeiden.
Die Dunstabzugshaubearfuran an e n e vorschrifsmbiginstallierte Schutz-kontaktsteckdose angeschlssen werden.
Die Schutzkontaktsteckdose möglichst direkt hinter der Kaminverblendung anbringen.
Die Schutzkontaktsteckdose sollte über einen eigenen Stromkreis angeschlossen sein.
- Ist die Schutzkontaktsteckdose nach der Montage der Dunstabzugshaube nicht mehr zugänglich, muss eine Trennvorrichtung wie beim Festanschluss vorhanden sein.
Bei erforderlichem Festanschluss
- Installationsseitig ist eine Trennvorrichtung vorzusehen. Als Trennvorrichtung gelten Schalter mit einer Kontaktöffnung von mehr als 3 mm und allpoliger Abschaltung. Dazu gehoren LS-Schalter, Sicherungen und Schütze.
Elektrische Daten
Die erforderlichen Anschlussdaten sind nach Herausnahme der Fettfilter auf dem Typenschild im Innenraum des Gerätes zu finden.
Lange der Anschlussleitung: ca. 1,30 m.
These Dunstabzugshaube entspricht den EG-Funkentstörbestimmungen.
Montage
Die Dunstabzugshaube ist für die Montage an der Kuchendecke oder einer stabil abgehängten Decke vorgesehen.
- Achten Sie bei der Montage auch auf eventuell zu montierende Sonderzubehörteile.
Achten Sie auf den Mindestabstand zwischen Kochstelle und Dunstabzugshaube (siehe "Sicherheitshinweise")! - Vermeiden Sie Beschädigungen der empfindlichen Oberflächen!
Vorbereiten der Decke
VERLETZUNGSGEFAHR, GEFAHR VON SACHSCHÄDEN
Überprüfen Sie vor dem Bohren den vorgesehenen Montageort auf das Vorhandensein von unter Putz verlegten elektrischen oder anderen Installationsleitungen.
Die Decke muss eben und waagerecht sein.
Die beiliegenden Schrauben und Dubel sind für Beton und Naturstein geeignet. Verwenden Sie für andere Deckenkonzstruktionen die entsprechenden Befestigungsmittel. Achten Sie auf eine ausreichende Tragfähigkeit der Decke.
- Achten Sie daraufuf, dass die Tiefe der Bohrlocher der Länge der Schrauben entspricht.
Fur festen Halt der Dubel ist zu sorgen.
Max. Gewicht der Dunstabzugshaube: 50 kg.
Konstruktionsänderungen im Rahmen der technischen Entwicklung bleiben vorbehalten.
Montage des oberen Tragegestells
1 Die Gesamthöhe des Tragegestells vor der Montage festlegen und die Schraublocher markieren. Das Tragegestell ist hohenverstellbar, in Abständen von 20mm.
Die Gesamthöhe ergibt sich aus der Deckenhöhe, der Höhe der Arbeitsplatte und den entsprechenden Abständen zwischen Kochmulde und Dunstabzugshaube.
2 An der Decke den Mittelpunkt der Dunstabzugshaube anzeichnen.
3 Mit Hilfe der beiliegenden Schablone Positionen für die Schrauben an der Decke anziehnen.

44 Llicher 8 mm bohren und Dubel deckenbündig eindrücken.
5 Den oberen Teil des Tragegestells mit 4 Schrauben an der Decke befestigen.
6 Achten Sie auf die richtige Position des Tragegestells. Der mittlere Bügel definiert die Vorzugssiete. Er muss in Richtung Bedienelement des Kochfeldes zeigen.
Montage des unteren Tragegestells
Ober- und Unterveri des Tragegestells in der festgelegten Gesamthöhe mit 10 Schrauben befestigen (bevorzugte Lochwahl, s.h. Bild).
- Achten Sie auf die richtige Position des unteren Tragegestells. Die offene Seite muss in Richtung Bedienelement des Kochfelds zeigen.

HINWEIS: Durch Lösener Befestigungsschrauben an der Decke, kann das Tragegestell nachträglich ausgerichtet werden.
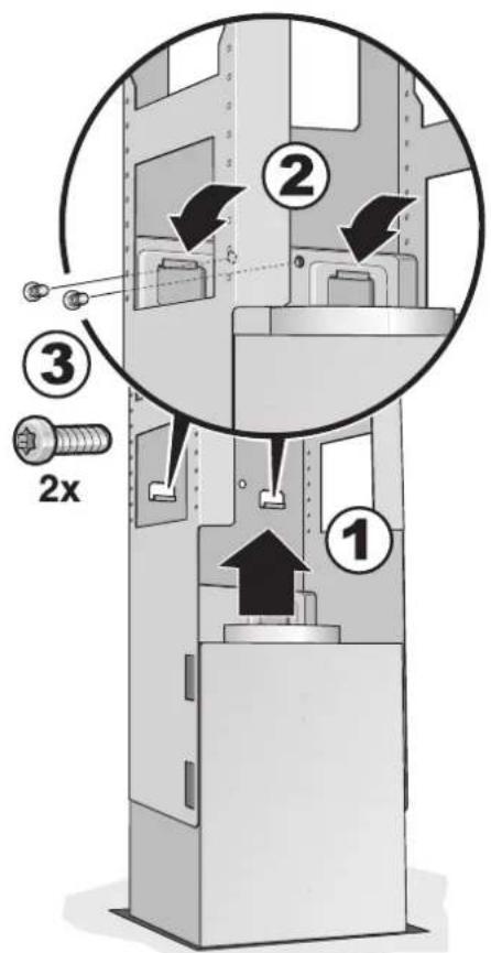
Montage der Dunstabzugshaube
1 Die Dunstabzugshaube von unter in das Tragegestell einhängen.
Achten Sie darauf, dass das Netzkabel nicht eingeklemmt wird!
2 Die Dunstabzugshaube mit 2 Sicherungsschrauben am Tragegestell befestigen.


3 Sicherungsbügel einhagen und festschrauben.
4 Rohrverbindung herstellen.
5 Elektrische Verbindung herstellen.
Montage der Kaminverblendungen
VERLETZUNGSGEFAHR
Die Innenseiten der Kaminverblendungen konnen scharfkantig sein. Wir empfehlen bei der Montage Schutzhandschuhe zu trag.
1 Die Kaminverblendungen trennen. Dazu das Klebeband abziehen.
2 Die Schutzfolie an beiden Kaminverblendungen abziehen.
3 Die beiden Teile des oberen Kamins auf der Dunstabzugshaube aufsetzen und zusammenstecken.
HINWEIS: Schützen Sie die Dunstabzugshaube vor Beschädigungen. Vermeiden Sie Kratzer auf den empfindlichen Oberflächen.

4 Oberes Kaminteil hochschieben und mit 2 Schrauben befestigen.

5 Die beiden unteren Teile des Kamins einsetzen und zusammenstecken.

Table of contents
Technische verilgheit 53
Speciale opmerkingen over gaskooktoestellen 54
Juist gebruik 55
Juiste montage 55
EinfachAnleitung