BPV 6410 B - Kochfeld BRANDT - Kostenlose Bedienungsanleitung
Finden Sie kostenlos die Bedienungsanleitung des Geräts BPV 6410 B BRANDT als PDF.
Benutzerfragen zu BPV 6410 B BRANDT
0 Frage zu diesem Gerät. Beantworten Sie die, die Sie kennen, oder stellen Sie Ihre eigene.
Eine neue Frage zu diesem Gerät stellen
Laden Sie die Anleitung für Ihr Kochfeld kostenlos im PDF-Format! Finden Sie Ihr Handbuch BPV 6410 B - BRANDT und nehmen Sie Ihr elektronisches Gerät wieder in die Hand. Auf dieser Seite sind alle Dokumente veröffentlicht, die für die Verwendung Ihres Geräts notwendig sind. BPV 6410 B von der Marke BRANDT.
BEDIENUNGSANLEITUNG BPV 6410 B BRANDT
Vou venez d'acquerir un produit BRANDT et nous vous remercions de la confiance que vous nous accordez.
Nous avons conscience et fabriqué ce produit en pensant à vous, à votre mode de vie, à vos besoin, pour qu'il réponde au moins à vos attentes. Nous y avons mis notre savoir-faire, notre esprit d'innovation et toute la passion qui nous animé depuis plus de 60 ans.
Dans un souci permanent de tous jours比较好 satisfaire vos exigences, notre service consommateurs est à votre disposition et à votre écoute pour répondre à toutes vos questions ou suggestions.
Connectez-vous aussi sur notre site www.brandt.com où vous trouvrez nos dernières innovations, ainsi que des informations utiles et complémentaires.
BRANDT est heures de vous accompagner au quotidien et vous souhaite de profiter pleinement de votre achat.

Important: Avant de mettre votre apparéil en marche, veuillez lire attentivement ce guide d'installation et d'utilisation afin de vous familiariser plusrapidement avec son fonctionnement
Sommaire
1. Avant-propos 5
1.1 Avertissement de sécurité 5
1.2 Installation 5
1.2.1 Risque d'electrocution 5
1.2.2 Risque de coupure 5
1.2.3 Mesures de sécurité importantes 5
1.3 Fonctionnement et entretien 6
1.3.1 Risque d'electrocution 6
1.3.2 Danger pour la sante 6
1.3.3 Danger surface chaude.. 6
1.3.4 Risque de coupure 7
1.3.5 Mesures de sécurité importantes 7
2. Introduction Produit 9
2.1Vue de dessus 9
2.2 Bandeau de commande 11
2.3 Principe de fonctionnement 12
2.4 Avant l'utilisation de votre nouvelle table de cuisson vitrocéramique...12
2.5 Specifications techniques 12
3. Fonctionnement du produit 13
3.1 Commandes tactiles 13
3.2 Choisir les bons ustensiles de cuisson 14
3.3 Comment utiliser BPV6320B / BPV6321B / BPV6420B / BPV6421B / BPV6423B. 14
3.3.1 Commencer la cuisson 14
3.3.2Aprés la cuisson 15
3.3.3 Utilisation de la fonction Double zone (Seulement pour BPV6421B/BPV6423B) 16
3.3.4 Utilisation de la fonction Triple Zone (Seulement pour BPV6321B) 17
3.3.5 Verrouillage des commandes 18
3.3.6 Minuterie 19
3.3.7 Protection contre la surchauffe 21
3.3.8 Temoin de chaleur résiduelle 21
3.3.9 Durée de fonctionnement par défaut 21
3.4 Comment utiliser BPV6410B 21
3.4.1 Demarrer la cuisson 21
3.4.2Après la cuisson 22
4. Instructions de cuisson 22
4.1 Conseils de cuisson 22
4.1.1 Mijoter à feu doux, cuisson du riz 22
4.1.2 Cuisson des steaks 22
4.1.3 Pour les sautés 23
5 Reglages de puissance 23
- Entretien et nettoyage 24
-
Conseils et astuces 25
-
Installation 25
8.1 Sélection de l'équipement d'installation 25
8.2 Avant d'installer les supports de fixation 26
8.3 Précautions 27
8.4 Raccordement de la table de cuisson à l'alimentation secteur. 27
9. Relations consommateurs et interventions 28
9.1 Relations consommateurs France 28
9.2Interventions France 29
1. Avant-propos
1.1 Avertissement de sécurité
Votre sécurité est importante pour nous. Veuillez lire ces informations avant d'utiliser votre table de cuisson.
1.2 Installation
1.2.1 Risque d'électrocution
- Débranche l'appareil du réseau électrique avant d'effectuer toute opération de maintenance sur l'appareil.
- La connexion à un bon système de câblage à la terre est essentielle et obligatoire.
- Les modifications apportées au système de câblage domestique doivent être effectués uniquement par un électricien qualifié.
- Si ces conseils ne sont pas suivis, cela peut entraîner un chocolélectrique ou la mort.
1.2.2 Risque de coupure
- Faites attention - les bords du chassin sont tranchants.
- Cela peut entrainer des blessures ou des coupures.
1.2.3 Mesures de sécurité importantes
- Lisez attentivement ces instructions avant d'installer ou d'utiliser cet apparéil.
- Aucun matériel ou produits combustibles ne doit être placé sur l'appareil, à aucun moment.
- VeuillezMETTREcEsInformationsa dispositionde la personneresponsibledeI'installationdeI'appareilcarcela pourraitréduirevocutsd'installation.
- Afin d'eviter tout risque, cet appeareil doit être installé conformément à ces instructions d'installation.
- Cet apparéil doit être correctement installé et mis à la terre par une personne qualifiée.
- Cet apparéil doit être connecté à un circuit qui comprend un sectionneur permettant une coupure totale de l'alimentation électrique.
- Une installation incorrecte de l'appareil pourrait invalider toute réclamation de garantie ou de responsabilité.
1.3 Fonctionnement et entretien
1.3.1 Risque d'électrocution
- Ne pas faire cuire sur une table de cuisson cassée ou fissurée. Si la surface de la table se brise ou se fissure, éteignez l'appareil immédiatement en le déconnectant de l'alimentation secteur (interrupteur mural) et contactez un technicien qualifié.
- Eteignez la table de cuisson en retardant la prise murale avant l'entretien de l'appareil.
- A défaut de suivre ces conseils, cela peut entraîner un choc électrique ou la mort.
1.3.2 Danger pour la santé
- Cet apparéil est conforme aux normes de sécurité électromagnétiques.
- Toutefois, les personnes portant un stimulator cardiaque ou autres implants électriques (teils que les pompes à insuline) doivent consulter leur médecin ou le fabricant de l'implant avant d'utiliser cet apparéil afin de s'assurer que leurs implants ne seront pas affectés par le champ électromagnétique.
- A défaut de suivre ces conseils, cela peut entraîner la mort.
1.3.3 Danger surface chaude
- Lors de l'utilisation, les éléments accessibles de cet apparéil deviennent assez chauds et peuvent cause des brûlures.
- Ne laissez pas votre corps, des vêtements ou tout autre élément, autre que les recipients adaptés, être en contact avec la table de cuisson vitrocéramique jusqu'à ce que la surface soit refroidie.
- Les objets métalliques tels que des couteaux, des fourchettes, des cuillères et des couvercles ne doivent pas été placés sur la surface de la table de cuisson, car ils peuvent devenir chauds
- Gardez les enfants loin de l'appareil.
- Les poignées des casseroles peuvent être chaudes. Vérifier que les poignées de casseroles ne surplombent pas d'autres zones de cuisson. Gardez les poignées hors de portée des enfants.
- Le non-respect de ces conseils pourrait entraîner des brûlures.
1.3.4 Risque de coupure
- La lame de rasoir du racloir du plateau de cuisson est exposée lorsque le couvercle de sécurité est retire. Utilisez le racloir avec une extrème prudence et stockez le dans un endroit sur et hors de portée des enfants.
- Le non-respect de ces conseils pourrait entraîner des blessures ou coupures.
1.3.5 Mesures de sécurité importantes
- Ne jamais laisser l'appareil sans surveillance lorsqu'il est en marche. Le débordement cause de la fumée et des projections deGRAISSE qui peuvent prendre feu.
- Ne jamais utiliser votre apparéil comme surface de travail ou de stockage.
- Ne jamais laisser d'objets ouustensiles sur l'appareil.
- Ne pas placer ou laisser d'objets magnétisables (par exemple des cartes de crédit, cartes mémoire) ou des dispositifs électroniques (par exemple des ordinateurs, des lecteurs MP3) pres de l'appareil, car ils peuvent être affectés par son champ electromagnétique.
- Ne jamais utiliser votre apparéil pour réchauffer la pièce.
- Àprousutilisation, éteignez tousjours les zones de cuisson et la table de cuisson comme décrit dans ce manuel. La fonction de détéction de casserole n'eteint pas les zones de cuisson lorsque vous retirez les casseroles.
- Ne pas laisser les enfants jouer avec l'appareil ou s'asseoir, semettre debout, ou monter sur celui-ci.
- Ne pas stocker des objets pouvant interesser les enfants dans les armoires au-dessus de l'appareil. Les enfants grimpant sur la table de cuisson peuvent se blesser sévèrement.
- Ne pas laisser les enfants seuls ou sans surveillance dans la zone où l'appareil est en cours d'utilisation.
- Les enfants ou les personnes ayant un handicap qu qui limite leur capacité à utiliser l'appareil doivent avoir une personne responsable et compétente pour les instruire sur l'utilisation de l'appareil. L'instructeur doit être convaincu qu'ils peuvent utiliser l'appareil sans lesmettre eux-mêmesou leur entourage en danger.
-
Ne pas réparer ou remplaçer quelconque partie de l'appareil à moins d'une Recommendation précise dans le manuel. Toute autre réparation doit être effectuee par un technicien qualifié.
-
Ne pas utiliser un nettoyeur à vapeur pour nettoyer votre table de cuisson.
- Ne pas placer ou laisser tomber des objets lourds sur votre table de cuisson.
- Ne pas se tenirABOUT sur la table de cuisson.
- Ne pas utiliser de casseroles avec des bords irréguliers ou des casseroles qui peuvent glisser sur la surface vitrocérément que car cela peut rayer le verre.
- Ne pas utiliser des tampons à récurer ou d'autres agents de nettoyage abrasifs pour nettoyer votre table de cuisson, car ils peuvent rayer le verre céramique.
- Si le cordon d'alimentation est endommagé, il doit être remplace par le fabricant, son distributeur ou une personne qualifiée afin d'eviter tout danger.
- Cet apparéil est exclusivement destiné à un usage domestique dans des habitations privées. Il ne peut être utilisé qu'en milieu couvert, fermé et chauffé tel qu'une cuisine ou toute autre piece répondant aux mêmes specifications.
- L'utilisation de ce produit dans des locaux communs ou professionnels tels que local de pause de bureau ou atelier, local de camping, hôtel, etc. ne répond pas à une utilisation conforme telle que définie par le constructeur.
- ATTENTION: L'appareil et ses parties accessibles deviennent chaudes pendant l'utilisation.
- Des précautions doivent être prises pour éviter de toucher les éléments chauffants.
- Les enfants de moins de 8 ans doivent être tenus à l'écart à moins d'être surveillés en permanence.
- Cet apparéil peut être utilisé par des enfants âgés de 8 ans et plus et des personnes avec des capacities physiques, sensorielles ou mentales restreintes ou avec un manque d'expérience et de connaissances, si elles sont surveillées ou instruites concernant l'utilisation de l' apparéil en toute sécurité et complènnet les risques encourus.
- Les enfants ne doivent pas journé avec l'appareil. Le nettoyage et l'entretien ne doit pas été effectuels par des enfants sans surveillance.
-
ATTENTION: La cuisson sans surveillance sur une table de cuisson avec de laGRAisse ou de I'huile peut etre dangereux et peut provoquer un incendie. NE JAMAIS essayer d'eteindre un incendie avec de I'eau, mais eteindre I'appareil, puis couvrir la flamme par exemple avec un couvercle ou une couverture anti-feu.
-
ATTENTION: Risque d'incendie: Ne pas stocker d'éléments sur les surfaces de cuisson.
- Attention: Si la surface est fissurée, éteindre l'appareil pour éviter tout risque de chocolélectrique.
- Ne pas utiliser un nettoyeur à vapeur.
- L'appareil ne doit pas etre opere au moyen d'une minuterie externe ou d'un systeme de commande a distance séparé.
Félicitations pour l'achat de votre nouvelle table vitrocéramique.
Nos您可以 recommendons de passer un peu de temps pour dire ces Instructions / Manuel d'installation afin de bien comprendre comment installer et utiliser l'appareil correctement. Pour l'installation, veuillez dire la section installation.
Lisez toutes les instructions de sécurité avant utilisation et conserveze ce manuel d'instructions / Installation pour une reférence ultérieure.
2. Introduction Produkt
2.1 Vue de dessus

- Zone 16,5cm - Max. 1200 W
- Zone 20cm - Max. 1800 W
- Zone 23cm - Max. 2300 W
- Plaque de verre
- Marche/Arrêt
- Bandeau de commande

- Zone 16,5cm - Max. 1200 W
- Zone 20cm - Max. 1800 W
- Zone 23cm - Max,800/1600/2300W
- Plaque de verre
- Marche/Arrêt
- Bandeau de commande

- Zone 16,5cm - Max. 1200 W
- Zone 20cm - Max. 1800 W
- Zone 16,5cm - Max. 1200 W
- Zone 20cm - Max. 1800 W
- Plaque de verre
- Marche/Arrêt
- Bandeau de commande
BPV6420B/ BPV6423B

- Zone 16,5cm-Max. 1200 W
- Zone 20cm-Max. 1800 W
- Zone 16,5cm -Max. 1200 W
- Zone 23cm-Max. 1000/2200 W
- Plaque de verre
- Marche/Arrêt
- Bandeau de commande
BPV6421B

- Zone 16,5cm-Max. 1200 W
- Zone 20cm-Max. 1800 W
- Zone 16,5cm-Max. 1200 W
- Zone 20cm-Max. 1800 W
- Plaque de verre
- Bandeau de commande
BPV6410B
2.2 Bandeau de commande

- Touche Marche/Arrêt
- Regulateur de puissance
- Sélection de zone de cuisson
- Commande de verrouillage des touches
- Régulateur minuterie

BPV6320B
- Touche Marche/Arrêt
- Regulateur de puissance
- Sélection de zone de cuisson
- Commande de verrouillage des touches
- Régulateur minuterie
- Reglage triple zone

BPV6321B
- Touche Marche/Arret
- Regulateur de puissance
- Sélection de zone de cuisson
- Commande de verrouillage des touches
- Régulateur minuterie

BPV6420B/BPV6423B
- Touche Marche/Arrêt
- Régulateur de puissance
- Sélection de zone de cuisson
- Commande de verrouillage des touches
- Régulateur minuterie
- Reglage double zone

BPV6410B
- Régulateur de puissance
- Témoin de chaleur résiduelle
2.3 Principé de fonctionnement
Cette table de cuisson vitrocéramique utilise une résistance de chauffe et ajuste la puissance grâce au réglage par les commandes tactiles ou les commandes à manettes.
2.4 Avant l'utilisation de votre nouvelle table de cuisson vitrocéramique
- Lisez ce guide, en prenatal note en particulier de la section « Consignes de sécurité ».
- Retirer tout film de protection qui peut encore être sur votre table vitrocérément.
2.5 Spécifications techniques
| Table de cuisson | BPV6320B |
| Zones de cuisson | 3 Zones |
| Tension d'alimentation | 220-240V~ 50/60Hz |
| Puissance électrique installée | 4900-5800W |
| Taille du produit LxP×H(mm) | 580X510X55 |
| Dimensions d'encastrement A×B (mm) | 560X490 |
| Table de cuisson | BPV6321B |
| Zones de cuisson | 3 Zones |
| Tension d'alimentation | 220-240V~ 50/60Hz |
| Puisance électrique installée | 4900-5800W |
| Taille du produit LxP×H(mm) | 580X510X55 |
| Dimensions d'encastrement A×B (mm) | 560X490 |
| Table de cuisson | BPV6420B/ BPV6423B |
| Zones de cuisson | 4 Zones |
| Tension d'alimentation | 220-240V~ 50/60Hz |
| Puisance électrique installée | 5500-6600W |
| Taille du produit LxP×H(mm) | 580X510X55 |
| Dimensions d'encastrement A×B (mm) | 560X490 |
| Table de cuisson | BPV6421B |
| Zones de cuisson | 4 Zones |
| Tension d'alimentation | 220-240V~ 50/60Hz |
| Puisance électrique installée | 6000-7000W |
| Taille du produit LxP×H(mm) | 580X510X55 |
| Dimensions d'encastrement A×B (mm) | 560X490 |
| Table de cuisson | BPV6410B |
| Zones de cuisson | 4 Zones |
| Tension d'alimentation | 220-240V~ 50/60Hz |
| Puisance électrique installée | 5500-6600W |
| Taille du produit LxP×H(mm) | 590X510X75 |
| Dimensions d'encastrement AxB (mm) | 560X490 |
Le poids et les dimensions sont approximatifs. Dans la mesure où nous nous efforçons continulement d'améliorer nos produits, les specifications et le design peuvent être modifiés sans préavis.
3. Fonctionnement du produit
3.1 Commandes tactiles
- Les commandes réagissant au toucher, de sorte que vous n'avez pas à exercer de pression.
Utilise le bout du doigt, pas la pointe. - Vous entendrez un bip à chaque fois qu'une touche est activée.
Assurez-vous que les commandes soient toujours propres et sèches, et qu'il n'y ait pas d'objet (par exemple un ustensile ou un chiffon) qui les recouvre. Meme une fine pellicule d'eau peut rendre les commandes difficiles à utiliser.

3.2 Choisir les bons ustensiles de cuisson
Ne pas utiliser une batterie de cuisine avec des bords irréguliers ou une base incurvee.

Assurez-vous que la base de votre casserole est lisse, qu'elle se trouve à plat sur la vitre, et qu'elle a la même taille que la zone de cuisson. Centrez toujours votre casserole sur la zone de cuisson.

Soulevez toujours votre casserole hors de la table de cuisson - Ne pas faire glisser, car cela peut rayer le verre.

3.3 Comment utiliser BPV6320B / BPV6321B / BPV6420B /
BPV6421B / BPV6423B
3.3.1 Commencer la cuisson
Après la mise sous tension, le buzzer émet un bip, tous les voyageants sont allumés pendant 1 seconde puis s'éteignent, ce qui indique que la table vitrocéramique est entrée en mode veille.
| Appuyez sur la touche Marche/Arrêt. Tous les indicateurs affichent " " pendant 8 secondes,Après 8 secondes ou après avoir pressé n'importe celle touche,les indicateurs de puissance affichent « » | 1 |
| Placez un récipient approprié sur la zone de cuisson que vous souhaitez utiliser,Assurez-vous que le fond de la casserole et la surface de la zone de cuisson sont propres et secs. | 2 |
| Appuyez sur la touche de sélection de la zone de cuisson | 3 |
| Sélectionnez un réglage de puissance en touchant «-» ou «++». • Àprous avoir régèle le niveau de puissance désiré, confirmez-le en appuyant sur la touche de scélection de la zone de cuisson. Par défaut, le niveau de puissance sera automatiquement confirmé après 5 secondes. • En maintainant la touche «-» ou «++», la puissance augmente ou diminue. • Accès direct au niveau de puissance "9" en appuyant sur la touche "-"la première fois. • Si vous ne désissez pas un réglage de puissance au bout d'une minute, la table de cuisson vitrocérémique se met automatiquement hors tension. Vous doivent alors recommencer depuis l'étape 1. • Vous pouvè modifier le réglage de puissance à tout momentpendant la cuisson. |

3.3.2 Àprous la cuisson
| Appuyez sur la touche de scélection de la zone de cuisson que vous poulez éteindre. | 6 |
| Eteignez la zone de cuisson en faisant défiler la puissance jusqu'à "0" ou en touchant et maintainant la touche de scélection de la zone de cuisson pendant 3 secondes. | + 6 ou 9 |
| Eteignez toute la table de cuisson en appuyant sur la touche Marche/Arrêt pendant 3 secondes. | 1 |
Faites attention aux surfaces chaudes
La dette "H" s'affiche et indique la zone de cuisson qui est chaude. Elle disparaitra lorsque la surface est refroidie à une température sécuritaire. Pour économiser de l'énergie, vous pouvez utiliser la table de cuisson qui est encore chaude pourCHAffer d'autres casseroles.

3.3.3 Utilisation de la fonction Double zone (Seulement pour BPV6421B/BPV6423B)
- La fonction Double zone fonctionne uniquement pour la zone de cuisson 4.
- La Double zone dispose de deux zones de cuisson que vous pouvez utiliser : une section centrale et une section extérieure, Vous pouvez utiliser independantly la section centrale (A) ou les deux sections simultanément (B).

| Activer la fonction Double Zone | |
| Régler le niveau de puissance entre 1 et 9 (par exemple : 6). | 6 |
| La section centrale (A) de la Double zone de cisson s'allume. | 6 |
| En touchant une fois la touche Double zone "®, la section extérieure (B) se met en marche. | 6 |
| L'indicateur de la zone de cisson affiche tour à tour " = " et "5". | 6←60 |
| Déactiver la fonction Double zone | |
| En touchant à nouveau la touche Double Zone "®, la fonction Double Zone se déactive. | 6 |
| L'indicateur de la zone de cuisson affiche "6". | Ø |
| Ø | |
3.3.4 Utilisation de la fonction Triple Zone (Seulement pour BPV6321B)
- La fonction Triple zone fonctionne uniquement pour la zone de cisson 3.
- La triple zone dispose de trois zones de cuisson que vous pouvez utiliser : une section centrale (A), une section intermédiaire (B) et une section extérieure (C). Vous pouvez utiliser independantly la section centrale (A), ou les deux sections (A) et (B) simultanément, ou les trois sections (A), (B) et (C) simultanement.

| Activer la fonction Zone Triple | |
| Régler le niveau de puissance entre 1 et 9 (par exemple : 6). | 6 |
| La section centrale (A) de la triple zone de cuisson s'allume. | 6 |
| En touchant une fois la touche Triple Zone®, la section intermédiaire (B) se met en marche. | 6 |
| L'indicateur de la zone de cuisson affiche tour à tour " = " et "6". | 6 |
| En touchant une deuxième fois la touche Triple Zone, la section extérieure (C) se met en marche. | |
| L'indicateur de la zone de cuisson affiche tour à tour "三" et "6". | |
| Désactiver la fonction Zone Triple | |
| Lorsque la section (B) de la triple zone est activée, en touchant deux fois la touche ☎ la fonction Triple Zone est désactivée et vous revenez à la section (A). | |
| Lorsque la section (C) de la triple zone est activée, en touchant une fois la touche ☎ la fonction Triple Zone est désactivée et vous revenez à la section (A). | |
| Une fois la fonction Zone Triple désactivée, l'indicateur de la zone de cuisson affiche "6". | |
3.3.5 Verrouillage des commandes
- Vous pouvez verrouiller les commandes pour empêcher l'utilisation involontaire de la table de cuisson (par exemple éviter que les enfants allument accidentellement les zones de cuisson).
- Vous pouvez également verrouiller temporairement les commandes pendant 30 secondes pour faciliter le nettoyage de la table de cuisson (fonction Clean Lock).
Lorsque les commandes sont verrouillées, toutes les commandes sauf la touche « Marche/Arrêt » sont désactivées.
| Pour verrouiller les commandes | |
| Fonction Clean Lock : Appuyez brièvement sur la touche verrouillage | L'indicateur de la minuterie affiche "Lo" pendant 30 secondes, sauf si vous appuyez à nouveau sur la touche verrouillage. |
| Appuyez et maintenez la touche verrouillage pendant 3 secondes | L'indicateur de la minuterie affiche " Lo". ÀpRES 10 secondes, tous les indicateurs affichent les régles enregistrés. Si vous appuyez sur une touche lorsque la table est verrouillée, l'indicateur de la minuterie affiche à nouveau « Lo » pendant 10 secondes. |
| Pour déverrouiller les commandes | |
| Assurez-vous que la table de cuisson est allumée. Appuyez et maintenez la touche verrouillage pendant 3 secondes. | |

Lorsque la table de cuisson est verrouillée, toutes les commandes sauf la touche « Marche/Arrêt » ① sont déactivées. Vous pouvez toujours étéindre la table de cuisson avec la touche Marche/Arrêt ① en cas d'urgence, mais vous devrez d'abord déverrouiller la table de cuisson lors de la prochaine opération.
3.3.6 Minuterie
a) Vous pouvez régler la miniterie pour une ou plusieurs zones de cuisson. Une fois que la durée demandée est écoulée, la zone de cuisson s'est automatiquement.
b) Vous pouvez également régler une alarme. Dans ce cas, aucune zone de cuisson ne s'estint une fois que la durée demandée est écoulée.
- La duréeemaxale de la minuterie est de 99 minutes.
a) Réglage de la minuterie pour éteindre une zone de cuisson
| Régler une zone | |
| Sélectionnez la zone que vous souhaitez régler. | 6 |
| Appuyez sur la commande de la minuterie, un point rouge s'affiche autour de la minuterie indiquant la zone sélectionnée. | 00 |
| Réglez l'heure en appuyant sur les touches "-" ou "+" | + |
| Appuyez à nouveau sur la commande de la minuterie pour confirmer la durée, ou attendez 5 secondes pour qu'elle soit confirmée automatiquement. | + .10 = 10 |
| Lorsque l'heure est réalisée, le compte à rebours commence immédiatement. L'écran affiche le temps restant et le point rouge de la zone sélectionnée s'allume. | 17/2 |
| Lorsque la durée demandée est écoulée, un bip retentit et la zone de cuisson correspondante s'éteint automatiquement. | □ ○ |
b) Réglage de l'alarme
| Appuyez sur la commande de l'alarme. | 00 |
| Réglez l'alarme en appuyant sur les touches "-" ou "+" . | + |
| Appuyez à nouveau sur la commande de l'alarme pour confirmer la durée, ou attendez 5 secondes pour qu'elle soit confirmée automatiquement. | +10 |
| Lorsque l'alarme est réalisée, le compte à rebours commence immédiatement, L'écran affiche le temps restant. | ÷7÷ |
| Lorsque la durée demandée est écoulée, un bip retentit. La table continuae de fonctionner jusqu'à ce que vous l'éteigniez. | 00 |
Note :
a) You pouvez régler simultanément une alarmé et une minuterie pour une ou plusieurs zones. Si vous pouze changer la durée une fois que la minuterie est régée, vous nez deccernencer à partir de l'etape 1.
b) Accès direct à la minuterie "99" minutes en appuyant sur la touche "-" la première fois.
c) La méthode de réglage de deux zones est identique à celle mentionnée ci-dessus.
d) Si les timers de deux zones de cuisson ont ete regles, le temps le plus court est affiché et le voyant de la zone de cuisson correspondante clignote
3.3.7 Protection contre la surchauffe
Un capteur de température peut surveiller la température à l'intérieur de la table de cuisson vitrocérément. Lorsqu'une température excessive est mesurée, la table vitrocérément s'arrête automatiquement.
3.3.8 Témoin de chaleur résiduelle
Lorsque la table de cuisson a ete utilisee pendant un certain temps, il y aura un peu de chaleur residuelle. La lecture "H" apparait pour vous avertir de rester loin de I'appareil.
3.3.9 Durée de fonctionnement par défaut
Une autre caractéristique de sécurité de la table de cuisson est l'arrêt automatique. Cela se produit lorsque que vous oubliez d'éteindre une zone de cuisson. Les temps d'arrêt par défaut sont indiqués dans le tableau ci-dessous:
| Niveau de puissance | 1 | 2 | 3 | 4 | 5 | 6 | 7 | 8 | 9 |
| Durée de fonctionnement par défaut (heure) | 8 | 8 | 8 | 4 | 4 | 4 | 2 | 2 | 2 |
3.4 Comment utiliser BPV6410B
3.4.1 Demarrer la cuisson
| Placez un réseau approprié sur la zone de cuisson que vous souhaitez utiliser. • Assurez-vous que le fond de la casserole et la surface de la zone de cuisson sont propres et secs. | |
| Tournez la manette et réglez la puissance au niveau souhaité pour démarrer la cuisson. | 9 1 2 8 7 6 5 4 |
3.4.2 Àprous la cuisson
Eteignez la zone de cuisson en tournant la manette de réglage jusqu'à "0".


Faites attention aux surfaces chaudes
Lorsque le plateau en verre de la table de cuisson est chaud, le témoin de chaleur résiduelle s'allume. Ne touche pas le verre jusqu'à ce que l'indicateur s'éteigne. Pour économiqueir de l'énergie, vous pouvez utiliser la table de cuisson qui est encore chaude pourCHAuffer d'autres casseroles.
4. Instructions de cuisson

Prenoze garde lorsque vous faites frire des alimentes car I'huile et la graisse chauffent très rapidement. A des températures très élevées, I'huile et la graisse s'enflammment spontanément et cela présente un grand risque d'incendie.
4.1 Conseils de cuisson
Lorsque la préparation vient à ébullition, réduisez le réglage de la température.
- En utilisant un couvercle, vous réduirez les temps de cuisson et économiserez de l'énergie en retenant la chaleur.
Réduisez la quantité de liquide ou de graisse pour réduire les temps de cuisson.
- Démarrez la cuisson sur une puissance élevée et diminuez le réglage lorsque la préparation est chaude.
4.1.1 Mijoter à feu doux, cuisson du riz
Pour mischief à feu doux, vous doivent en dessous du point d'ébullition, à environ 85^ C, lorsque les bulles apparaissent parfoids à la surface du liquide de cuisson. C'est la clé de délieuses soupes et de tendres ragôuts car les saveurs se développement sans trop cuire la nourriture. Vous pouvez aussi faire cuire les sauscs épaisses à base d'œufs et de farine en-dessous du point d'ébullition.
- Certaines préparations, y compris la cuisson du riz par la méthode d'absorption, peuvent nécessiter un réglage supérieur pour s'assurer que la nourriture est cuite correctement dans le temps recommandé.
4.1.2 Cuisson des steaks
Pour faire cuire des steaks juteux et savoureux :
- Placer la viande à une température ambiente pendant environ 20 minutes avant la cuisson.
- Chauffer une poèle à fond épais.
- Verser une petite quantité d'huile dans la poèle chaude puis poser la viande sur la poèle chaude.
- Tournez le steak une seule fois pendant la cuisson. Le temps de cuisson exact dépendra de l'épaissieur du steak et du résultat de cuisson désire. Le temps de cuisson peut varier entre environ 2-8 minutes
de chaque côte. Appuyez sur le steak pour vérifier comment il est cuit - Plus le steak sera ferme, le « plus cuit » il sera.
- Laissez le steak se reposer sur une plaque chaude pendant quelques minutes pour qu'il soit tendre avant de servir.
4.1.3 Pour les sautés
- Choisissez un wok compatible en ceramique à base plate ou une grande poèle à frire.
- Ayez tous les ingrédents et le matériel prét. Sauter les ingrédents doit être rapide. Pour cuire de grandes quantités, faites cuire les alimentés en plusieurs petites portions.
- Préchauffez la poèle brievement et ajoutez deux cuillères à soupe d'huile.
- Faites cuire la viande d'abord, mettez-la de côté et garder au chaud.
- Faites sauter les légumes. Quand ils sont chauds mais encore croquants, diminué la zone de cuisson sur une puissance inférieure, mettez à nouveau la viande dans la poële et ajouter votre sauce.
- Faites chauffir les ingrédients légèrement pour vous assurer qu'ils soient bien chauds.
- Servez immédiatement.
5. Réglages de puissance
Les paramètres ci-dessous sont seulement des directives générales. Le réglage exact dépendra de plusieurs facteurs, notamment de votre ustensile de cuisine et de la quantité que vous cuisines.
Experimentez avec la table de cuisson vitrocérément pour trouver les régles qui vous conviennent le mistroux.
| Réglage de puissance | Utilisation |
| 1 - 2 | • Réchauffer délicatement de petites quantités de nourriture • Faire fondre le chocolat, le beurre et les aliments qui brûlent rapidement • Mijoter à feu doux • Réchauffer lentement |
| 3 - 4 | • Réchauffer • Cuisson rapide • Cuisson du riz |
| 5 - 6 | • Pancakes |
| 7 - 8 | • Sautés • Cuisson des pâtes |
| 9 | • Sautés • Saisir, cuisson des steaks • Porter la soupe à ébullition • Eau bouillante |
6. Entretien et nettoyage
| Quoi? | Comment? | Important! |
| Salissures quotidiennes sur le verre (empreintes de doigt, marques, taches laissées par les retombées alimentaires non-sucrées sur le verre) | 1. Couper l'alimentation de la table de cuisson.2. Appliquer un nettoyant pour table de cuisson lorsque que le verre est encore tiède (mais pas chaud!)3. Rincez et séchez avec un chiffon propre ou une serviette en papier.4. Mettez de nouveau la table de cuisson en marche. | • Lorsque l'alimentation de la table de cuisson est étente, il n'y aura pas d'indication «surface chaude», mais la zone de cuisson peut être encore chaude! Faites très attention.Les éponges à récurer lourdes, les tampons à récurer en nylon et les agents de nettoyage agressifs/abrasifs peuvent rayer le verre. Toujours lièr l'étiquette pour vérifier si votre nettoyant ou récurant est approprié.Ne jamais laisser les résidus du nettoyage sur la table de cuisson : le verre peut être taché. |
| Débordements, matières fondues, et déversements sucrés chauds sur le verre | Enlevez-les immédiatement avec une spatule, un couteau à palette ou un racloir adapté pour la table de cuisson vitrocéramique, mais faites attention aux surfaces chaudes des zones de cuisson :1. Couper l'alimentation de la table de cuisson de la prise murale.2. Maintenez la lame ou l'outil à un angle de 30° et gratter les salissures ou le déversement dans un endroit frais de la table de cuisson.3. Enlevez les saletés ou le déversement avec un torchon ou une serviette en papier.4. Suivez les étapes 2 à 4 pour «les salissures de tous les jours sur le verre» ci-dessus. | • Enlever dès que possible les taches laissées par les aliments fondus et sucrés ou les débordements. Si on les laisse refroidir sur la vitre, ils peuvent être difficilles à enlever ou même endommager la surface du verre.Risque de coupe : lorsque le couverde de sécurité est rétracté, la lame du racloir est coupante. Utiliser avec précaution et toutes stocker dans un lieu sûr et hors de portée des enfants. |
| Retombées sur les commandes tactiles | 1. Couper l'alimentation de la table de cuisson.2. Faire tremper le déversement.3. Essuyez la zone de commande tactile avec une éponge ou un chiffon propre et humide.4. Essuyez la zone avec une serviette en papier de sorte que la zone soit complètement sèche.5. Mettez de nouveau la table de cuisson en marche. | • La table de cuisson peut biper et s'éteindre, et les commandes tactiles ne plus fonctionner, lorsqu'il y a du liquide dessus. Assurez-vous que la zone de commande soit sèche avant de remettre la table de cuisson en marche. |
7. Conseils et astuces
| Problème | Causes possibles | Que faire |
| La table de cuisson ne s'allume pas. | Pas d'alimentation électrique. | Assurez-vous que la table vitrocérément est reliée à la source d'alimentation et qu'elle est sous tension.Vérifiez s'il y a une panne de courant dans votre maison ou dans la zone. Si vous avez tout vérifié et que le problème persiste, appeler un technicien qualifié. |
| Les commandes tactiles ne fonctionnent pas. | Les commandes sont verrouillées. | Déverrouillez les commandes. Voir les instructions dans la section 'Utilisation de votre table de cuisson vitrocérément'. |
| Les commandes tactiles sont difficilles à utiliser. | Il peut y avoir une fine couche d'eau sur les commandes ou vous utilisez peut-être la pointe de votre doigt lorsque vous touche les commandes. | Assurez-vous que la zone de commande tactile est s'est che et utiliser le bout de votre doigt lorsque vous touche les commandes. |
| Le verre est rayé. | Ustensiles de cuisine à bords irréguliers.Tampon à recycler abrasif ou produits de nettoyage utilisés inadaptés | Utiliser des ustensiles avec des bases plates et lisses. Voir la section «Choisir lesbons ustensiles de cuisine».Voir la section «Entretien et nettoyage». |
| Certaines casseroles font des bruits de craquements ou des cliquetis. | Cela peut être causé par la structure de votre ustensile de cuisine (les couches de différents métaux vibrant différemment). | Ceci est normal pour un ustensile de cuisine et ne constitue pas un défaut. |
8. Installation
8.1 Sélection de l'équipment d'installation
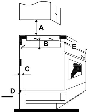
Découper la surface de travail en fonction des dimensions indiquées sur le schéma.
Aux fins d'installation et d'utilisation, un espace minimum de 5 cm doit etre preservé autour du trou.
Assurez-vous que l'épaissur de la surface de travail est d'au moins 30 mm. Veuillez seLECTIONner un matériel de plan de travail résistant à la chaleur pour éviter une déformation plus importante causée par le rayonnement de la table chaude. comme indiqué ci-dessous:


| L(mm) | P(mm) | H(mm) | D(mm) | A(mm) | B(mm) | X(mm) |
| 580 | 510 | 55 | 51 | 560+4 | 490+4 | 50 mini |
| +1 | +1 |
Dans tous les cas, assurez-vous que la table de cuisson vitrocéramique est bien ventilée et que l'entrée et la sortie d'air ne sont pas bloquées. Assurez-vous que la table de cuisson vitrocéramique est en bon état de marche. comme indiqué ci-dessous :

Note: La distance de sécurité entre la table de cuisson et l'armoire au-dessus de la table de cuisson doit être d'au moins 760 mm.


| A(mm) | B(mm) | C(mm) | D | E |
| 760 | 50 mini | 20 mini | Entrée d'air | Sortie d'air 5mm |
8.2 Avant d'installer les supports de fixation
L'appareil doit être placé sur une surface stable, lisse (utiliser l'emballage). Ne forcez pas sur les commandes depassant de la table de cuisson.
Fixer la table de cuisson sur la surface de travail en vissant les quatre crochets sur le fond de la table de cuisson (voir photo) après l'installation.


| A | B | C | D |
| Vis | Support | Trou de vis | Base |
Ajustez la position du support en fonction de l'épaissur de la surface de travail.

TABLE DE CUISSON

TABLE DE CUISSON
8.3 Précautions
- La table de cuisson vitrocéramique doit être installée par du personnel ou des techniciens qualifiés. Nous avons des professionnelnels à votre service. Veuillez ne jamais mener l'opération par vous-même.
- La table de cuisson vitrocéramique ne doit pas être montée sur un équipement de refroidissement, lave-vaisselle ou sèche-linge.
- La table de cuisson vitrocéramique doit être installée de telle sorte que le rayonnement thermique est assureé pour améliorer sa fiabilité.
- Le mur et la zone de cuisson induite au-dessus de la surface de travail doivent résister à la chaleur.
- Ne pas utiliser un nettoyeur à vapeur.
8.4 Raccordement de la table de cuisson à l'alimentation secteur
L'alimentation doit être connectée en conformité avec la norme correspondante, ou un disjoncteur unipolaire. La méthode de connexion est illustrée ci-dessous.



A - Une ligne monophasée 220-240V 50Hz Ph+N 32A
B-Deux lignes monophasées 220-240V 50Hz séparés Ph+N 16A (2x)
C - Une ligne triphasée 230-400V ~50Hz 3Ph+N 32A (utilisation de 2 phases uniquement)
- Si le cable est endommage ou doit être remplace, cela doit être fait par un technicien du service après-vente en utilisant les outils appropriés, afin d'éviter tout accident.
- Si l'appareil est connecté directement au réseau électrique, un disjoncteur omnipolaire doit être installé avec un écart minimum de 3 mm entre les contacts.
- L'installateur doit veiller à ce que la connexion électrique soit correcte et qu'elle est conforme aux normes de sécurité.
- Le cable ne doit pas etre plie ou compressé.
- Le cable doit être vérifié régulièrement et Replacement uniquement par une personne d'umont qualifié.
9. Relations consommateurs et interventions
9.1 Relations consommateurs France
Pour en savoir plus sur nos produits ou nous contacter, vous pouvez:
consulter notre site: www.brandt.fr
nous écrire à l'adresse postale suivante:
Service Consommateurs BRANDT
5 avenue des Béthunes
CS69526 SAINT OUEN L'AUMONE
95060 CERGY PONTOISE CEDEX
nous appeler du lundi au vendredi de 8h30 à 18h00 au:
0 892 02 88 01 Service 0,50 € / min + prix appel
Service fourni par Brandt France, S.A.S. au capital social de 100.000.000 euros
RCS Nanterre 801 250 531.
Les éventuelles interventions sur votre apparéil doivent être effectuees par un professionnelnel qualifié dépositaire de la marque. Lors de votre appel, afin de facilititer la prise en charge de votre demande, munissez-vous des références complètes de votre apparéil (référence commerciale, référence service, numéro de série). Ces renseignements figurent sur la plaque signalétique.


ou

B:Référence commerciale
C:Référence service
H:Numéro de série
Vous pouvez nous contacter du lundi au samedi de 8h00 à 20h00 au :
09 69 39 25 25 + service gratuite + prix appel
Pièces d'origine :
Lors d'une intervention, demandez l'utilisation exclusive de pieces détachées certifiées d'origine.



ELMINATION: Ne jetez pas ce produit avec les ordures menagères municipales.
Veuilleze effectuer le tri de ces ordures pour un traitement adapté si nécessaire.
Cet apparéil est étiquété conformément à la directive européenne 2012/19 /UE sur les déchets d'équipements électriques et électroniques (DEEE). En veillant à ce que cet apparéil soit correctement recyclé, vous aiderez à éviter tout dommage possible à l'environnement et à la santé humaine.
Le symbole sur le produit indic que'il ne peut etre traité comme un déchet menager normal. Il doit etre amene a un point de collecte pour le recyclage des produits électriques et électroniques.
Cet apparéil nécessite l'élimination des déchets par des spécialistes. Pour de plus amples informations concernant le traitement, la récapération et le recyclage de ce produit, veuillus contacter yourselves, cette service de traitement des déchets menagers ou le magasin où vous l'avez achété.
EinfachAnleitung