SINUS W - Dunstabzugshaube ORANIER - Kostenlose Bedienungsanleitung
Finden Sie kostenlos die Bedienungsanleitung des Geräts SINUS W ORANIER als PDF.
Benutzerfragen zu SINUS W ORANIER
0 Frage zu diesem Gerät. Beantworten Sie die, die Sie kennen, oder stellen Sie Ihre eigene.
Eine neue Frage zu diesem Gerät stellen
Laden Sie die Anleitung für Ihr Dunstabzugshaube kostenlos im PDF-Format! Finden Sie Ihr Handbuch SINUS W - ORANIER und nehmen Sie Ihr elektronisches Gerät wieder in die Hand. Auf dieser Seite sind alle Dokumente veröffentlicht, die für die Verwendung Ihres Geräts notwendig sind. SINUS W von der Marke ORANIER.
BEDIENUNGSANLEITUNG SINUS W ORANIER
Bedienungs- und Installationsanleitung
ORANIER
Küchentechnik
Sinus S
Dunstabzugshaube mit IR-Fernbedienung
Sinus 60 S
Sinus 90 S
Sinus 60 W
Sinus 90 W
Sehr geehrter Kunde,
vielen Dank, dass Sie sich für ein ORANIER-Haus-haltsgerät entschieden haben!
ORANIER-Haushaltsgeräte bieten Ihnen ausgereiffe und zuverlässige Technik, Funktionalität und ansprechendes Design.
Sollten Sieriotz unserer sorgfaltigen Qualitätskontrolle einmal etwas zu beanstanden haben, so wenden Sie sichitte an unserenzentralen Kundendienst, hier wird man Ihnen offensehlich sein:
Kundendienst-Anforderung
eMail service-kt@oranier.com
Telefon 02771/2630-355
Telefax 02771/2630-359
Ersatzteil-Anforderung
eMail ersatzteil-kt@oranier.com
Telefon 02771/2630-355
Telefax 02771/2630-359
Alle Dienste sind erreichenbar
Mo - Do 8.00 - 17.00 Uhr
Fr 8.00 - 15.00 Uhr
Außerhalb der Dienstzeiten teilen Sie uns ihre Wünscheitte per eMail oder Telefax mit.
Ländervertretungen:
Österreich
ORANIER
Niederlassung Österreich
Blutenstraße 15/4
A-4040 Linz
eMail service-kt@oranier.com
Telefon +43(0) 7 32 66 01 88 70
Telefax +43(0) 7 32 66 01 88 80
Die in thisem Benutzerhandbuch verwendeten
Darstellungen sind schematisch und modellabhängig.
Inhaltsverzeichnis
Sicherheitshinweise 3
Ihr Gerät im Überblick 4
Bedienung der Haube 5
Bedieneinheit 5
Nachlaufautomatik 5
Fettfilter-Reinigungsanzeige "F" 5
Welche Leistungsstufe soll gewählt werden? 5
Elektronische Steuerung 6
Geratemotor ein-/ausschalten 6
Leistungsregelung 6
Beleuchtung ein-/ ausschalten 6
Wartung, Reinigung und Pflege 7
Wartungsintervalle 7
Reinigung der Haube 7
Metallfettfilter reinigen 8
Metallfettfilter-Sattigungsanzeige loschen 9
Aktivkohlefilter austauschen
(nur Umluftbetrieb) 9
LED-Leuchtmittel austauschen 10
Im Falle einer Störung 11
Kundendienst 12
Montage der Haube 12
Abluft- oder Umluftbetrieb? 12
Hinweise zu baulichen Voraussetzungen 13
Elektroanschluss 13
Wichtige Hinweise 13
Ubersicht Lieferumfang 14
Montageskizze 15
Wandmontage 16
Luftschlauch montieren 16
Netzanschluss herstellen 16
Schachtmontage 16
Inbetriebnahme 17
Hinweise zur Verringerung
der Umwelterinflüsse 17
Technische Daten 17
Produktdatenblätter nach EU-Verordnung
65/2014 und 66/2014 18
Abmessungen 20
Dunstabzugshauben im Abluftbetrieb -
Tipps und Tricks 21
Dunstabzugshauben im Umluftbetrieb -
Tipps und Tricks 24
Hinweise zur Entsorgung 26
ORANIER-Werksgarantie 27
Sicherheitshinweise zum Gebrauch
- Die Bedienungsanleitung ist Bestandteil des Gerätes.itte bewahren Sie das Dokument sorgfältig auf.
- Die Dunstabzugshaubearfur überElektro-oderGasherden verwendet werden.Unsere Gerade sind nicht fur die gewerbliche Nutzung bestimmt, sondernnur fur den Gebrauch im Haushalt.
- Wahlend des Betriebes der Dunstabzugshaube müssen die Metallfettfilter immer eingesetzt sein, ansonsten kann sich Fettdunst in der Haube und im Abluftsystem ablagern.
- Bei Gasherden ist darauf zu achtenden, dass die Kochstellen nicht ohne Kochgeschirr betriebenen werden. Bei offenen Gasflammen konnen Teile der Dunstabzugshaube durch die aufsteigende starke Hitze beschädigt werden.
- Flambieren unter der Dunstabzugshaube ist wegen der Brandgefahr nicht erlaubt. Die aufsteigende Flamme kann das im Filter abgelagerte Fett entzünden.
- Frittieren oder das Arbeits mit Ölen oder Fetten unter der Dunstabzugshaube darf wegen der Brandgefahr nur unter ständiger Beaufsichtigung durchgeführt werden. Bei bereits mehrfach verwendetem Öl steigt das Risiko der Selfstentzündung!
- Sonstige Arbeiten mit offener Flamme sind nicht gestattet. Sie konnten einen Brand auslösen und die Metallfettfilter oder sonstige Teile beschädigen. Ausgenommen ist die sachgemäße Benutzung eines Gasherdes.
- Bei gleichzeitigem Betrieb des Kochfeldabzugs im Abluftbetrieb und Feuerstätten darf im Aufstellraum der Feuerstätte der Unterdruck nicht länger als 4 Pa (4 x 10 ^-5 bar) sein. In jedem Fall ist der zuständige Kaminkehrmeister zu befragen.
Die Haubearf auf keineilen Fall an einen in Betrieb befindlichen Rauch- oder Abgaskamin anderer Geräte (Boiler, Kessel, Öfen etc.) angeschlossen werden. Esarf auch kein Schacht verwendet werden, welcher der Be- und Entlufung von Räumen mit Feuerstätten dient! - Aus Sicherheitsgründen muss der Abstand zwischen Haubenunterseite und Kochfläche bei Elektrokochstellen mindestens 40 cm und bei Gaskochstellen mindestens 65 cm betragen.

VORSICHT! Berührbare Teile können bereits werden, wenn sie mit Kochgeräten genutzt werden.
Sicherheitshinweise zu Wartung, Reinigung und Pflege:
- Bei allen Wartungs- und Reinigungsrarbeiten Netzsteckerziehen oder die entsprechende Sicherung im Haussicherungskasten ausschalten.
Die DunstabzugshaubearfichtmiteinemDampfreinigergereinigtwerden. - Bei Nichtbeachtung der Wartungs- und Reinigungsrarbeiten besteht infolge von Fettablagerungen Brandgefahr!
- Reparaturen dürfen nur von autorisiertem Fachpersonal durchgeführt werden. Bei eigenmächtigem Eingriff erlösen alle Haftungs- und Gewährleistungsansprüche.
Ihr Gerät im Überblick
Modell „Sinus"
1 Netzstecker
2 Telescopschacht
3 Grundschacht
4 Haubenkörper
5 Bedieneinheit
6 Metallfettfilter
7 LED-Strahler
8 IR-Fernbedienung
9 Glasschirm Randabsaugung

Eine Entsorgung von Gerät und Verpackung über den normalen Haushaltabfall ist nicht zulässig! Die Entsorgung muss gemäß den örtlichen Bestimmungen zur Abfallbeseitigung erfolgen (siehe Hinweis Seite 26).


Bedienung der Haube (Touch-Control)

Abb. 2: Bedienfeld elektronische Steuerung
Bedieneinheit / Fernbedienung
Die Bedieneinheit befindet sich an der Front des Gerätes; sie ist benutzerfreundlich gestaltet und einfach zu hand haben (Abb. 2).
Zusätzlich kann diese Gerät auch sehr bequem über die mitgelieferte IR-Fembedienung gesteuert werden:

Bedienelemente Fernbedienung
Nachlaufautomatik
Initialisierung am Gerät:
Für 5 Sekunden + am Gerat berührt halten.
Nach 15 Minuten wird der Motor automatisch ausgeschaltet.
Initialisierung über die Fermbediennung:
Taste an der Fernbedienung betätig.
Nach 15 Minuten wird der Motor automatisch ausgeschaltet.
Fettfilter-Reinigungsanzeige "F"
Nach ca. 35 Betriebsstunden blinkt "F" in der Leistungs-anzeige. Zum Löschen fur 10 Sek. Schaltfläche + am Gerät berührt setzen.
Nach 3 Stunden wird Anzeige „F" automatisch gelöscht.
Welche der 3 Leistungsstufen soll gewählt werden?
Die Leistung des Gerätes soll den anfallenden Koch- und Bratendünsten angepasst werden, d.h. bei geringem Dunst sollen eine geringe bzw. bei starkem Dunst eine höhere Leistungsstufe gewählt werden:
Für den Dauerbetrieb stehen 3 Leistungsstufen zur Verfugung ("1" = keine Leistung, "2" = normale Leistung, "3" = hohe Leistung).
Vorübergehend{lssichaseIntensivstufe(blinkende Anzeige "4" )furhochestAbsaugleistungzuschalten(fur maximal5Min.,danach schaltet die Elektronikwieder automatisch zurück auf Leistungsstufe "3" ).
Bitte beachten Sie, dass Sie das Gerät bereits zusammen mit der Kochstelle einschalten, damit sich ein Luftstrom aufbauen kann. Dies wirdt sich positiv auf die Absaugleistung aus. Nach dem Kochen sollte das Gerät noch etwas nachlaufen, damit die restlichen Gerüche und verbleibende Restfeuchtigkeit abgezogen werden konnen.
Das Gebläse schaltet sich selbsttig 2 Stunden nach dem Einsatzen bzw. der letzten Änderung der Leistungsstufe aus.
Elektronische Steuerung
Im Standby-Betrieb ist die Beleuchtung des Bedienfeldes ausgeschaltet. Die Schaltfläche "Gebäse ein / aus" ist durch einen Kreis zu erkennen. Die anderen Schaltflächen werden erst nach Inbetriebnahme des Gerätes sightbar. Wenn Motor oder Beleuchtung nicht in Betrieb sind, schaltet sich die Beleuchtung des Bedienfeldes nach 10 Sekunden aus.
Gerätemotor ein-/ausschalten.
Beim Berühren von

(Geblase ein/aus)
wird automatisch die zuletzt eingestellte Leistungsstufe gewählt und in der Leistungsanzeige dargestellt. Wiederholtes Berühren der Schaltfläche schaltet das Geblase wieder aus.
Wenn Sie diese Schaltfläche für die Dauer von mindestens 5 Sekunden berühren, wird das Bedienfeld gegen unbeabsichtigte Betätigung gespert. In der Leistungs-anzeige erscheidt ein Punkt. Wiederholtes Berühren dieser Schaltfläche für mindestens 5 Sekunden hebt die Sperre des Bedienfeldes wieder auf.
Beim Berühren von

(Leistung verringn)
erscheint in der Leistungsanzeige eine „1". Das heißt: Beim Einschalten mit dieser Schaltfläche wird automatisch die niedrigste Leistungsstufe „1" gewählt.
Verwenden Sie diese Schaltfläche auch zum Verringer der Gebläseleistung. Das Verweilen auf der Schaltfläche verändert die Leistungstufe fortlaufend bis zur niedrigsten Leistungsstufe.
Beim Berühren von

(Leistung erhöhen)
erscheint in der Leistungsanzeige eine ^4 .Das hei:Beim Einsatzen mit dieser Schaltflache wird automatisch die hochste Leistungsstufe ^4 gewählt.DasVerweilen auf der Schaltflache verändert dieLeistungsstufe forlaufend bis zur hochsten Leistungsstufe.
Bitte beachten Sie:
Leistungsstufe,4" (Intensivstufe) wird nach f芮 Minuten automatisch in Stufe 3 zurückgeschaltet
Beleuchtung ein-/ausschalten

Die Beleuchtung wird durch Berühren dieser Schaltfläche ein- bzw. ausgeschaltet.
Wartung, Reinigung und Pflege

ACHTUNG:
Vor samtlichen Wartungs- und Reinigungserbeiten ist der Netzstecker zuziehen bzw. die Sicherung auszuschalten oder herauszuschrauben!
Wartungsintervalle
Eine regelmäßige Wartung der Dunstabzugshaube ist unbedingt erforderlich, um die Leistungsfähigkeit des Gerätes über einen langen Zeitraum zu gewährleisten. Wenn Metallfettfilter mit Fett- und Schmutzpartikel zugesetzt sind, wird die Funktion des Gerätes stark beeinträchtigt. Innerhalb der Dunstabzugshaube und des Ablufty systems kann es zu unnötnigen Fettablagerungen kommt, was im Laufe der Zeit zu einem erhöhten Brandrisiko führen kann.
Aktivkohlefilter (nur bei Umluftbetrieb erforderlich) sind weder wasch- noch regenerbar. Deshalb müssen Aktivkohlefilter in regelmäßigen Abständen ausgetauscht werden. Ersatz-Aktivkohlefilter konnen Sie bei Imrem Fachhändler beziehen.
- Reinigungssinterval der Metalfettfilter: alle 2-3 Wcchen, entsprechend der Gebrauchs-. hauftigkeit, oder nach Erscheinen der Metalfettfilter. Sattigungsanzeige "F".
- Austauschinterval von Aktivkohlefiltern: (nur bei Umluftbetrieb) alle 3-6 Monate, entsprechend der Gebrauchshäufigkeit.
Die Reinigungs- und Wartungsintervalle sollenen generell eingehalten werden, damit sich der Fettdunst nicht an Kuchenwänden und -möbeln niederschlagen kann.
Wenn Metallfettfilter bei Umluftbetrieb nicht regelmäßig gereinigt werden, setzen sich auch Aktivkohlefilter Schneller zu und das Gerät verliert an Leistungsfähigkeit.
Reinigung der Haube
- Netzsteckerziehen bzw. die Sicherung ausschalten!
Die Dunstabzugshaubeorida nicht mit einem Dampfreiniger gereinigt werden! - Unsachgemäß Reinigung von Edelstahl-Oberflächen führt zu Farbveränderungen und Beschädigungen der Oberflächen!
Außenflächen der Dunstabzugshaube sollen mit einem milden Reinigungsmittel (z.B. Spülmittel) und einem weichen Tuch gereinigt und trockengerieben werden.
Aggressive Reinigungsmittel, wie z.B. Essigreiniger, Scheuermittel, Schleifgranulat und spitze Gegenstände beschädigen die Oberfläche des Gerätes und sollen den daher keinesfalls verwendet werden.
Der Glasschirm kann Fertigungstoleranzen aufweisen undleich weniger sein. Ebenso sind gingefüge Unregelmäßigkeiten in der Glasoberfläche möglich. Beides zeigt die handwerkliche Qualität des Glases und stellt keinen Grund zur Reklamation dar.
Metalfettfilter reinigen
Netzsteckerziehenbzw.dieSicherungausschalten!
Abnehmer des Metalfettfilters
Erst oberen (1) dann unteren Glasschirm der Randabsaugung aufklappen (2),Griffleiste des Metalfettfilters leicht nach unten drücken, Metalfettfilter hersausklappen und schrag nach vorne Herausnehmen (3).

Bitte beachten Sie:
Den Glasschirm der Randabsaugung stets sorgfältig offen und schlieben. Übermäßige außere Kraftein-wirkung ist zu vermeiden!
Reinigung
- Metallfettfilter in heiBem Spulwasser gut einweichen, dann mit einer weichen Bürste reinigen und anschließend mit heiBem Wasser gut abbrausen. Eventuell den Vorgang wiederholen.
- Metallfettfilter konnen auch in der Geschirrspulmaschine bei einem Normalprogramm mit ca. 55^ gereinigt werden.
Hinweis
Beim Reinigen von Metallfettfilternitte darauf aufachten, dass das Gitter nicht beschadigt wird. Durch haufiges Reinigen oder die Verwendung von aggressiven Reinigungsmitteln konnen Farbveränderungen auftreten. Diese haben keinen Einfluss auf die Filterfunktion und sind kein Reklamationsgrund!
Nach der Reinigung den trockenen Metallfettfilter mit der Hinterkante voraus unter in den Filterrahmen der Haube einsetzen. Filter nach oben klappen, Verriegelung kurz betätigten und Fettfilter in endgültiger Lage einrasten halten. Glasschirm der Randabsaugung schließen.
Die Metallfettfilter sind mit einer sog. Sperrlage ausge-stattet. Achten Sie beim Einsetzen des Metallfettfiltersitte darauf, dass sich die Sperrlage unten befindet (Abb. 3c).

Abb. 3c
Metalfettfilter-Sattigungsanzeige loschen
Nach erfolgter Reinigung ist die Metallfettfilter-Sattigungsanzeige "F" folgendermaßen zu Löschen:
- Schaltfläche "-" am Gerät für ca. 10 Sekunden berührt lessen, die Anzeige verlischt.
- Soltte sich die Metallfettfilter-Sättigungsanzeige "F" nicht Löschen halten, trennen Sie die Dunstabzugshaube für etwa 15 - 20 Sekunden vom Stromnetz und wiederholen Sie den Vorgang gg.f. noch einmal.
Die Metalfettfilter-Sattigungsanzeige ist zeitgesteuert und erinnert nach ca. 35 Stunden Betriebszeit erneut durch Erscheinen der Metalfettfilter-Sattigungsanzeige "F" an die anstehende Reinigung der Metalfettfilter.
Aktivkohlefilter austauschen
Filtertyp KSC 700 (nur bei Umluftbetrieb)
- Netzsteckerziehen bzw. Sicherung ausschalten!
Die beiden Aktivkohlefilter sind links und rechts am Gebläsemotor aufgesetzt und werden nach Entfemen der Abdeckung der Randabsaugung und des Metalfettfilters sightbar und zugänglich.

- Zur Entnahme der verbrauchten Aktivkohlefilter diese jeweils etwas auf der Zentralbefestigung verdrehen, bis der Aktivkohlefilter frei gegeben wird. Danach Filter abheben und herausnehmer.
- Nach der Entnahme der neuen Filterkassetten aus der Verpackung muss das enthaltene Granulat durch Schütteln gleichmäßig verteil werden.
- Beim Einsetzen werden die neuen Aktivkohlefilter auf die Zentralbefestigung aufgesetzt, möglich an das Motergehause gedrückt und um eine Viertelumdrehung verdreht, um sie zu sichern.
Hinweis
Bei Umluftbetrieb sollte die Dunstabzugshaube nach Beendigung des Kochvorganges zum Nachtrocknen des Kohlefilters für etwa 10 bis 15 Minuten eingeschaltet werden.
Bei diesen Gerät bietet es sich an zu dieser Zwecke die praktische Nachlaufautomatik zu verwenden. Siehe dazu auch Abschnitt "Bedienung der Haube".
Im Umluftbetrieb erhöhen sich der Gerauschpegel der Dunstabzugshaube merklich. Dies ist verursacht durch den Aktivkohlefilter, der einen zusätzlichen Widenstand für die Luft darstellt. Daher stellt ein erhöhter Gerauschpegel im Umluftbetrieb kein Reklamationsgrund dar.
LED-Leuchtmittel austauschen
Durch die Verwendung von LED-Strahlern als Arbeitsplatzbeleuchtung wird ein Austausch von defekten Leuchtmitteln hochst unwahrscheinlich.
Lebensdauer, Zuverlösigkeit und Energieeffizienz liegen um Größenordnungen über jedem herkömmlichen Leuchtmittel, se es Halogen, Leuchtstoffrohré o.a.
Sollte es doch einmal zu einem Ausfall der Leuchtmittel kommt,itte wie folgt vorgehen:

ACHTUNG:
Vor samtlichen Wartungs- und Reinigungserbeiten ist der Netzstecker zuziehen bzw. die Sicherung auszuschalten oder herauszuschrauben!
Das Austausch-Leuchtmittel muss diese elektrischen Werte aufweisen: 230 V, 2,8 W, GU10.
Um Verschmutzungen im Haubeninneren zu verringem, sind die LED-Strahler der Arbeitsplatzbeleuchtung bündig in den Haubenkorper eingelassen. Mit einem kleinen Kniff ist der Wechsel des Leuchtmittels trotzdem ein Kinderspiel:
Reinigen Sie die Glasscheibe des LED-Strahlers mit einem handelsüblichen Glasreiniger und machen Sie die Oberfläche damit fettfrei.
Kleben Sie nun ein etwa 10-15 cm langes Stück Klebestreifen auf die Glasscheibe des LED-Strahlers (Abb. 5a).
Mit einer Viertelumdrehung nach links lost sich das Leuchtmittel aus der Fassung bzw. wird durch eine Vierteldrehung nach rechts gesichert (Abb. 5b).
Durch den Einsatz des Klebestreifens wird das Leuchtmittel zusätzlich gegen Herabfallen gesichert (Abb. 5c). Das Einsetzen des neuen Leuchtmittels erfolgt in umgekehrter Reihenfolge.

Abb. 5a

Abb. 5b
Abb. 5c

Im Falle einer Störung
Die Haube Funktioniert überhaupt nicht:
- Wurde eventuell die Sicherung in der Hausinstallation ausgelost? Stromversorgung der Haube bzw. Haupt-sicherung überprüfen.
- Ist der Netzstecker eingesteckt?
- Ziehen Sie den Netzstecker, um die Steuerelektronik in den Ausgangszustand zurückzusetzen. Warten Sie etwa 15 - 20 Sekunden, bevor Sie den Netzstecker wieder einstecken. Alternativ konnen Sie auch die entsprechende Netzsicherung für den o.g. Zeitraum aus- und dann wieder einschalten.
Die Leistung ist unzureichend / erhöhtes Betriebsgeräusch:
- Ist der Querschnitt der Abluftleitung ausreichend? (min. Ø 125 mm)
- Hat sich die Rückstauklappe vom Mauerkasten eventuell verklemmt?
- Falls der Mauerkasten mit einem Fliegengitter verstehen ist, diesen bitte entfern.
- Sind die Metallfettfilter sauber?
- Der Aktivkohlefilter solte nicht alter als 6 Monate sein (nur bei Umluftbetrieb).
- Wird, damit kein Unterdruck entsteht, die der Kuche entnommene Luftmenge durch genügend frische Zuluft ausgegliedchen?
Sollte die Leistung immer noch nicht zufriedenstellend sein, wenden Sie sichitte an unseren Kundendienst.
Gerätesicherung austauschen
Sollte es durch einen äußerten Einfluss zu einem Kurzschluss innerhalb des Gerätes kommt, wird die in der Elektronikbox befindliche Schmelzsicherung anspruchen und muss ausgetauscht werden.

ACHTUNG:
Die Schmelzsicherungarf Nur vom Hersteller oder seinem Kundendienst ausgewechselt werden!
Achtung!
In den meisten Fällen hat das Ansprechen der Schmelzsicherung eine Ursache, die mit dem Austausch der Sicherung nicht behoben wird.
Solle the Schmelzsicherung nach dem Austausch sofort wieder anspechen (durchbrennen), muss ein Fachmann mit der Sueche und Behebung des eigentlichen Fehlers betraut werden, bevor das Gerät wieder betrieben werden damit!

ACHTUNG:
Vor samtlichen Wartungs- und Reinigungserbeiten ist der Netzstecker zuziehen bzw. die Sicherung auszuschalten oder herauszuschrauben!
Glasabdeckung der Randabsaugung aufklappen, Metallfettfilter entfern. Die Elektronikbox ist jetzt sightbar und zugänglich.
Lösen Sie beide Schrauben des Gehäusedeckels (Abb. 6a).
Abb. 6a (Abb.ähnlich)

Jetzt ist die Fassung der Schmelzssicherung zuganglich (Abb. 6b, Pfeil).
Abb. 6b

Verbrauchte Sicherung hersaushebeln und durch neue Sicherung mit den gleichen Werten ersetzen.
AnschlieBend Gehausedeckel schlieBen, beide Schrauben einsetzen und festziehen.
Kundendienst
Sollte am Gerät ein technischer Mangel auftreten, setzen Sie sichitte mit dem ORANIER-Kundendienst in Ver-. binding:
Für Deutschland:
eMail service-kt@oranier.com
Telefon 02771/2630-355
Telefax 02771/2630-359
FürÖsterreich:
eMail service-kt@oranier.com
Telefon < 43> 07 32 / 66 01 88 70
Telefax < 43> 07 32 / 66 01 88 80
Bitte beachten Sie:
Damit unser Kundendienst Reparaturen sorgfältig vorbereiten und die benöttigen Ersatzteile bereitstellen kann, benötigwen wir folgende Informationen:
- Ihr genaue Anschrift
- Its Telefonnummer
(ggf. Telefaxnummer, eMail-Adresse)
- Wann kann unser Kundendienst Sie besuchen?
- Alle auf dem Typenschild enthaltenen Angaben
- Kaufdatum (Kaufbeleg)
- Eine möglichst genaue Beschreibung des Problems oder Ihr's Service-WUNSches.

Garantie
Ausfuhrliche Garantie-Informationen finden Sie am Ende dieser Bedienungsanleitung.
Abluft- oder Umluftbetrieb?
Beim Abluftbetrieb (Abb. 7, empfohlen) wird der Dunst über ein Abluftsystem mit Mauerkasten ins Freie gefuhr. Bei Umluftbetrieb (Abb. 8) wird der Dunst von Fettrückständen und Gerüchen befrei und wieder in die Küche ausgeblasen. Zur Bindung der Gerüche mussen unbedingt Aktivkohlefilter in der Dunstabzugshaube eingesetzt werden.
These Betriebsart wird nur dann eingesetzt, wenn keine Möglichkeit besteht, die Abluft nach außen zu leiten.
Der Einsatz eines Aktivkohlefilters erhöht den Saugwiderstand des Gebläses, d.h. der Luftdurchsatz verringert sich bei zunehmender Luftgeschwindigkeit. Das typische Luftströmungsgeräusch erhöht sich dadurch ebenfalls.
Werkseitig wird die Haube ohne Aktivkohlefilter ausgeliefert, d.h. sie ist für Abluftbetrieb vorgesehen. Aktivkohlefilter konnen Sie über ihren Fachhändler beziehen.

Abluftbetrieb
Abb. 7

Umluftbetrieb
Abb. 8
Wichtiger Hinweis
Bei gleichzeitigem Betrieb des Kochfeldabzugs im Abluftbetrieb und Feuerstätten darf im Aufstellraum der Feuerstätte der Unterdruck nicht länger als 4 Pa (4 x 10-5 bar) sein.
Zu dieser Zweck sind unbedingt die notwendigen Maßnahmen zum Druckausgleich zu trefen.
Dies geschieht entweder durch eine geeignete Zuluftöffnung mit zumindest dem gleichen Querschnitt wie die Abluftöffnung, oder durch Einsatz eines Fensterschalters, der eine Inbetriebnahme der Dunstabzugshaube nur bei geöffnetem bzw. gekipptem Fenster zulässst.
Hinweise zu baulichen Voraussetzungen
Bei der Montage der Dunstabzugshaube im Abluftbetrieb beachten Sieitte folgende Hinweise:
- In Aufstellräumen ohne offene Feuerstelle sollen der Querschnitt der Zuluftöffnung mindestens so groß wie der Abluftquerschnitt sein, damit kein Unterdruck entsteht und die Haube gut Funktioniert.
Wichtig: In Wonnungen mit offenen Feuerstellen wie z.B. Kachelöfen, Kohleöfen, Kamine o.a. muss grundsätzlich eine ausreichende Frischluftzufuhr sichergestellt sein. Dies geschiett am besten durch einen Ab- und Zuluftmaerkasten oder einen Fensterkippschalter. Vor Inbetriebnahme muss die Dunstabzugshaube von einem Kaminkehremeister abgenommen werden.
Grundsätzlich soll von dem Abluftquerschnitt der dreifache Querschnitt für die Zuluftleitung vorgesehen werden. Dabei ist der gesamte Luftingsverbund der Wohnung zu beachten (Raumvolumen, Fensterdichtigkeit usw.). Notwendige Informationen zu den lufttechnischen Vorkehrungen sind vom zuständigen Kaminkehrermeister einzuholen.
Die Haubearf auf keinein Fall an einen in Betrieb befindlichen Rauch- oder Abgaskamin anderer Gerate (Boiler, Kessel, Ofen etc.) angeschlüssen werden. Esarf auch kein Schacht verwendet werden, welcher der Be- und Entlungtung von Räumen mit Feuerstätten dient.
- Bei Anschluss an stillgelegte Rauch- oder Abgaskamine ist die Zustimmung des zuständigen Kaminkehrmeisters einzuholen.
In jedem Fall sind die jeweiligen Länder-Bauvorschriften zu beachten!
- Beim Verlegen der Abluftleitung sollte folgenden beachtet werden:
- Kurze, gerade Abluftstrecken wahlen.
- Mänglichst weniger Rohrbögen verwenden.
Wichtige Hinweise
Aus Sicherheitsgrunden muss bei thisem Modell der Abstand zwischen Haubenunterseite und Kochfläche bei Elektrokochstellen mindestens 40~cm und bei Gaskochstellen mindestens 65~cm betragen.
- Vor dem elektrischen Anschluss ist zu prüfen, ob die auf dem Typenschild angegebene Spannung mit der vorhandenen ortlichen Netzspannung übereinstimmt. Das Typenschild befindet sich im Innerer der Haube und wird nach dem Abnehmer der Metallfettfilter sightbar.
- Bei Abluftbetrieb muss das Abluftsystem einen Durchmesser von mindestens 125 mm aufweisen. Um optimale Lüfterleistung und geringes Betriebsgeräusch zu gewährleisten, wird ein Durchmesser von 150 mm empfohlen.
- Verlegen der Rohre nicht in spitzen Winkeln, sondern in flachen Bogen.
- Abluftkästen und Rohre mit 100 mm und kleiner sind ungeeignet. Die Garantie erlischt, wenn Abluftkästen und Rohre mit einem Durchmesser von 100 mm und kleiner an das Gerät angeschlossen werden.
Die Haube soll an einer gemauerten Wand befestigt werden. Holzwände o.a. sind ungeeignet, da diese bei eingeschalteten Geblasemotor als Resonanzkorper wirken und dadurch hohe Betriebsgeräuche verursachen.
Keine Kunststoff-Flex-Abluftschläuche verwenden, da sonst eventuell unerwünschte Luftlaufgeräische wie z.B. Rascheln, Rattorn usw. entstehen können. - Beim Bohren der erforderlichen Dubel-Löcher ist Sorge zu tragen, dass in der Wand verlaufende Leitungen (Strom, Gas, Wasser) nicht beschädigt werden können.
Elektröanschluss
Die Dunstabzugshaube wird ab Werk mit Anschlussleitung und Netzstecker ausgeliefert. Sie kann an jeder vorschrittsmäßig installierte und abgesicherte Schutzkontaktsteckdose (230 V / 50 Hz Wechselspannung) angeschlossen werden.

ACHTUNG: Die Anschlussleitung muss im Falle einer Beschädigung durch eine neue Anschlussleitung vom Hersteller oder seinem Kundendienst ersetzt werden.
- Falls die verwendete Steckdose nach Montage der Haube nicht mehr frei zugänglich ist, muss der verwendete Stromkreis zum Zwecke von Wartungsarbeiten abgeschaltet werden konnen.
Das Gerät entspricht Schutzklasse 1
Abstand A:
Elektrokochstelle
40-65cm
Gaskochstelle
65-75cm

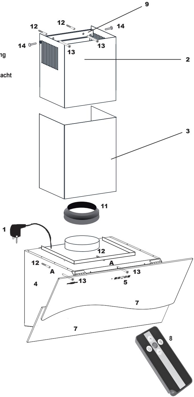
Übersicht Lieferumfang
Abb. 11
1 - Netzstecker
2 - Telescopschacht
3 - Grundschacht
4 - Haubenkörper mit Motorblock
5 - Bedienfeld
7 - Glasabdeckung Randabsaugung
8 - IR-Fernbedienung
9 - Montageblech für Teleskopschacht
11 - Reduzierstück 150/120 mm
12-Dubel 8× 40mm
13 - Schraube 4 x 45 mm
14 - Schraube 3,9 × 9,5 ~mm

Abb. 10

Montageskizze
Abb. 12

Wandmontage
Unter Beachtung des Mindestabstandes zum Kochfeld die Einbauhöhe der Haube ermitteln (Abb. 12). Schlüssellochbohrungen, A' for Wandbefestigung an-zeichen, bohren, 2 Dulb 8 mm (12) einseten und 2 Schrauben 4 × 45 ~mm (13) nur soweit eindrehen, bis die Schraubenköpfe noch ca. 10 ~mm aus der Wand hersausragen.
Den Haubenkorper (4) mit den Schlüssellochbohrungen, in beide Schrauben (13) einhängen, Haubenkorper waagrecht austrichten und Schrauben (13) festziehen.
Luftschlauch montieren
(nur bei Abluftbetrieb)
Verwenden Sie für die Verbindung mit dem Wandurchbruch ein Kunststoffrohr oder einen Abluftschlauch 0150 mm (min. 0125 mm) (Nicht im Lieferumfang).
Wichtig: Der Abluftanschluss muss vor Befestigung der Dunstabzugshaube fertiggestellt sein!
Rohr bzw. Schlauch auf die benöttige Länge zuschneiden. Der Schlauch damit nicht geknicht werden. Rohr/ Schlauch auf der einen Seite am Anschlussstuten der Dunstabzugshaube und an der anderen Seite am Abluftanschluss in der Wand verbinden.
Wichtig: Wird die Abluft zu einer Außenwand geführt, muss der Luftastritt von außen mit einer Abdeckung mit selbstflündenden Schlitzen oder einer Rückschlagklappe (nicht im Lieferumfang) versehen werden.
Beauftragen Sie damit den Fachbetrieb der den Wandurchbruch vomimmt.
Netzanschluss herstellen
Stecken Sie den Netzstecker des Gerätes in die Steckdose ein. Nachdem alle Montagearbeiten beendet sind, können Sie den Strom für die Steckdose der Dunstabzugshaube wieder einschalten.
Schachtmontage
Schutzfolien entfemen. Den aus Grundschacht (3) und Teleskopschacht (2) bestehenden Schacht folgendermaßen zusammensetzen:
Bei Umluftbetrieb: den Teleskopschacht (2) so einset- zen, dass die Luftaustrittsschitze oben sind. (Abb. 14).
Bei Abluftbetrieb: den Teeskopschacht (2) mit den Luftaustrittsschlitzen nach unten einsetzen. Die Luftaus-trittsschlitze sind dann verdeckt.
Befestigen Sie das Montageblech (9) (Abb. 13) mit zwei Schrauben 4 × 45 ~mm (12) und zwei Dübeln 8 ~mm (13) an der Wand. Wahlen Sie den Abstand des Montagebleches (9) entsprechend befindender Skizze (Abb. 13)
Den Grundschacht (3) mit eingeschobenem Teeskopschacht (2) über den Motorblock (12) schieben. Nun den Teeskopschacht (2) bis zur Raumdecke hochziehen und am Montageblech (5) mit 2 Schrauben 3,9 × 9,5 ~mm (14) befestigen.

Inbetriebnahme
Nach vollständiger Montage der Haube:
- Bitte alle Kartonagen aus der Haube entfernen und alle Schutzfolien auf den Edelstahlflächen abziehen.
- Einen Funktionstest durchfuhren (siehe Kapitel „Bedienung der Haube").
- Dem Kunden diese Bedienungsanleitung übergeben.

Hinweis: Die obere Klappe der Randabsaugung ist im Betrieb zu öffnen. Bei geöffneter Klappe wird die Absaugleistung und der Fettabscheidegrad erhöht (Abb. 6).
Hinweise zur Verringerung der Umwelteinflüsse (z.B. Energieverbauch):
- Benutzen Sie die Dunstabzugshaube in geeigneter Leistungsstufe.
- Schalten Sie den Motor der Dunstabzugshaube rechtzeitig auf eine Kleinere Stufe, wenn sich der Wrasen verringert.
- Lassen Sie den Motor der Dunstabzugshaube nicht unnötig in Betrieb.
- Achten Sie darauf, dass die Reinigungssintervalle der Fettfilter eingehalten werden.
- Achten Sie darauf, dass das Abluftsystem über einen optimal großeng Querschnitt verfügbar.
- Das Abluftsystem sollte glatte Rohrinnenwände haben. Vermeiden Sie Bögen und Verengungen.
Technische Daten
Spannung: 230 V ~
Frequenz: 50 Hz
Motorleistung: 275 W
Anzahl der Normalstufen: 3
Anzahl der Intensivstufen: 1
Beleuchtung: 2 × 2,8 W (LED-Leuchte 230 V / 2,8 W / GU 10 oder GZ 10)
Gesamtlistung (Anschlusswert): 280,6 W
Stromaufnahme: 1,20 A
Schutzklasse: 1
Lange Netzanschlusskabel: 1,0 m
Abluftanschluss: 150/120 mm Ø
Produktdatenblatt nach EU-Veränderungen 65/2014 und 66/2014
Sinus 60 S Sinus 60 W


Name oder Warenzeichen des Lieferanten:
ORANIER Kuchentechnik
Modellkennung des Lieferanten:
8612 62/1 / 8613 62/1
| Jährlicher Energieverbrauch | AEChood | [kWh/Jahr] | 59,0 |
| Energie-Effizienzklasse | [-] | A | |
| Lüfter-Effizienzwert | FDEhood | [-] | 30,2 |
| Lüfter-Effizienzklasse | [-] | A | |
| Beleuchtungs-Effizienzwert | LEhood | [lx/Watt] | 71,8 |
| Beleuchtungs-Effizienzklasse | [-] | A | |
| Fettfilter-Effizienzwert | GFEhood | [%] | 87,4 |
| Fettfilter-Effizienzklasse | [-] | B | |
| Abluftleistung nach EN 61591 (min. Normalstufe) | Q1 | [m3/h] | 340 |
| Abluftleistung nach EN 61591 (max. Normalstufe) | Q3 | [m3/h] | 575 |
| Abluftleistung nach EN 61591 (Intensivstufe) | Qintensiv | [m3/h] | 780 |
| Geräusch (min. Normalstufe) | LwA, min. Normalstufe | [dB] | 56 |
| Geräusch (max. Normalstufe) | LwA, max. Normalstufe | [dB] | 64 |
| Geräusch (Intensivstufe) | LwA, Intensivstufe | [dB] | 69 |
| Leistungsaufnahme im Aus-Zustand | PO | [W] | 0,36 |
| Leistungsaufnahme im Bereitschaftszustand | PS | [W] | - |
Der Energieeffizienzklasse, dem jährlichen Energieverbrauch und der fluidodynamischen Effizienz liegen nach Anhang II der DELEGIERTEN VERORDNUNG Nr. 65/2015 DER KOMMISSION vom 01. Oktober 2013 und Anhang II der VERORDNUNG (EU) Nr. 66/2014 DER KOMMISSION vom 14. Januar 2014 folgende Werte zu Grunde:
| Zeitveränderungsfaktor | f | [-] | 0,9 |
| Energieeffizienzindex | EEIhodium | [-] | 53,5 |
| Luftvolumenstrom im Bestpunkt | QBEP | [m3/h] | 400,5 |
| Statischer Druckunterschied im Bestpunkt | PBEP | [Pa] | 453 |
| Elektrische Eingangsleistung im Bestpunkt | WBEP | [W] | 167,1 |
| Nennwärmeleistung des Beleuchtingssystems | WL | [W] | 5,6 |
Der Beleuchtungseffizienz liegt nach Anhang II der DELEGIERTEM VERORDNUNG Nr. 65/2015 DER KOMMISSION vom 01. Oktober 2013 folgende Werte zu Grunde:
| Durchschnittliche Beleuchtungsströme des Beleuchtungssystems | Emiddle | [ lux ] | 402 |
| Nennleistungsaufnahme des Beleuchtungssystems | WL | [W] | 5,6 |
Produktdatenblatt nach EU-Veränderungen 65/2014 und 66/2014
Sinus 90 S Sinus 90 W


Name oder Warenzeichen des Lieferanten:
ORANIER Kuchentechnik
Modellkennung des Lieferanten:
8612 92/1 / 8613 92/1
| Jährlicher Energieverbrauch | AEChood | [kWh/Jahr] | 60,3 |
| Energie-Effizienzklasse | [-] | A | |
| Lüfter-Effizienzwert | FDEhood | [-] | 29,6 |
| Lüfter-Effizienzklasse | [-] | A | |
| Beleuchtnungs-Effizienzwert | LEhood | [lx/Watt] | 65,2 |
| Beleuchtnungs-Effizienzklasse | [-] | A | |
| Fettfilter-Effizienzwert | GFEhood | [%] | 90,8 |
| Fettfilter-Effizienzklasse | [-] | B | |
| Abluftleistung nach EN 61591 (min. Normalstufe) | Q1 | [m3/h] | 335 |
| Abluftleistung nach EN 61591 (max. Normalstufe) | Q3 | [m3/h] | 575 |
| Abluftleistung nach EN 61591 (Intensivstufe) | Qintensiv | [m3/h] | 775 |
| Geräusch (min. Normalstufe) | LwA, min. Normalstufe | [dB] | 52 |
| Geräusch (max. Normalstufe) | LwA, max. Normalstufe | [dB] | 63 |
| Geräusch (Intensivstufe) | LwA, Intensivstufe | [dB] | 69 |
| Leistungsaufnahme im Aus-Zustand | PO | [W] | 0,36 |
| Leistungsaufnahme im Bereitschaftszustand | PS | [W] | - |
Der Energieeffizienzklasse, dem jährlichen Energieverbrauch und der fluidodynamischen Effizienz liegen nach Anhang II der DELEGIERTEN VERORDNUNG Nr. 65/2015 DER KOMMISSION vom 01. Oktober 2013 und Anhang II der VERORDNUNG (EU) Nr. 66/2014 DER KOMMISSION vom 14. Januar 2014 folgende Werte zu Grunde:
| Zeitveränderungsfaktor | f | [-] | 0,9 |
| Energieeffizienzindex | EEIhodium | [-] | 53,6 |
| Luftvolumenstrom im Bestpunkt | QBEP | [m3/h] | 409,8 |
| Statischer Druckunterschied im Bestpunkt | PBEP | [Pa] | 445 |
| Elektrische Eingangsleistung im Bestpunkt | WBEP | [W] | 171,1 |
| Nennwärmeleistung des Beleuchtingssystems | WL | [W] | 5,6 |
Der Beleuchtungseffizienz liegt nach Anhang II der DELEGIERTEM VERORDNUNG Nr. 65/2015 DER KOMMISSION vom 01. Oktober 2013 folgende Werte zu Grunde:
| Durchschnittliche Beleuchtungsströme des Beleuchtungssystems | Emiddle | [ lux ] | 365 |
| Nennleistungsaufnahme des Beleuchtungssystems | WL | [W] | 5,6 |
Abmessungen
Abb. 15
Abmessungen Modelle
"Sinus"

Dunstabzugshauben im Abluftbetrieb - Tipps und Tricks
Frischluftzufuhr
Im Abluftbetrieb ist es von ganz besonderer Wichtigkeit, dass die Luftmenge, die aus dem Raum abgesaugt wird, auch ungehindert als Frischluft von Draußen nachstrom kann. Andermoffs wird durch den entstehenden Unterdruck im Raum/Haus die Absaugleistung ernsthaft beeinträchtigt und in der Dunstabzugshaube sammelt sich Fett und Kondenswasser an.
Eine geöffnete Kuchentür z.B. zum Flur oder Wohnzimmer ist nicht ausreichend !!
Die Frischluftzufuhr kann z.B. durch ein gekipptes Kuchenfenster oder geöffnete Balkon-/Terrassentür erfolgen.
Dies gilt zu jeder Jahreszeit und bei jeder Witterung!!
Bitte beachten Sie, dass die Dunstabzugshaube bereits zusammen mit der Kochstelle eingeschaltet wird, damit sich ein Luftstrom im Kichenraum aufbauen kann. Dies wirkt sich positiv auf die Absaugleistung aus.
Danach muss die Leistung der Dunstabzugshaube den Koch- und Bratendünsten angepasst werden, d.h. bei geringem Dunst sollte eine geringe bzw. bei starkem Dunst eine hohe Leistungsstufe gewählt werden.
Nach dem Kochen sollte die Dunstabzugshaube noch etwas nachlaufen, damit die restlichen Gerüche und noch verbliebene Restfeuchtigkeit abgezogen werden.
Bei gleichzeitigem Betrieb des Kochfeldabzugs im Abluftbetrieb und Feuerstätten darf im Aufstellraum der Feuerstätte der Unterdruck nicht länger als 4 Pa (4 x 10-5 bar) sein.
Esmüssen notwendige Maßnahmen zum Druckausgleich getroffen werden. Dies geschieht entweder durch geeignete Zuluftöffnung oder durch Einsatz eines Fensterschalters, der die Inbetriebnahme der Dunstabzugshaube nur bei geöffnetem bzw. gekipptem Fenster zulässt.
Installation des Abluftsystems
Grundsätzlich gilt:
Der Luftstrom wird im Abluftsystem komprimiert. Je erger und länger der Abluftkanal,esto stärker die Kompression.Im ungunstigsten Fall,also bei sehr langen Abluftkanalen,kommen der Forderstrom zum Stillstand. Daher sollte der Abluftkanal eine Gesamtlange von 4m möglichst nicht überschreiben.Wird aber 1 Bogen eingesetzt,solle der Abluftkanal eine Gesamtlange von 3m möglichst nicht überschreiben.
Das Abluftsystem muss durchgehend einen Durchmesser (rund) von mindestens 125mm aufweisen. Um optimale Leistung und geringes Betriebsgeräusch zu gewährleisten, wird ein Durchmesser von 150~mm empfohlen.
Die ORANIER-Garantie ist nur dann gültig, wenn die Dunstabzugshaube fachmännisch an ein 125er- oder 150er-Abluftsystem angeschlossen ist.
Die Planung und Installation der Abluftkanäle ist sehr wichtig, Denn hier konnen schwerwiegende Planungsfehler die Investition in eine leistungsstarke Dunstabzugshaube zunichte machen. Beim Verlegen des Abluftkanals sollen folgende Hinweise berücksichtigt werden:
- Der Abluftkanal soll idealerweise auf kurzem und geradem Weg nach Draußen führen.
- Engstellen, Querschnittsänderungen und weitere 90^ Bogen müssen vermieden werden.
- Der erstige Bogen darf nicht direkt auf den Abluftstutzen der Dunstabzugshaube angebracht werden. Es sollte eine Einströmstrecke von mind. 30 cm berücksichtig werden, ansonsten entsehen zusätzliche Verwirbelungen und erhöhte Betriebsgeräusche.
- Verlegen des Abluftkanals in flachen Bögen und/oder spurze Winkel vermeiden.
- Leichtes Gefälle (2^) nach außen (von der Dunstabzugshaube weg), um Rücklauf von Kondensat zu verhindern.
Werden obige Hinweise nicht beachtet, wird der Luftströmungswiderstand nurunnötg erhöht. Das Geblase versucht dann durch erhöhte Leistungsaufnahme den Widerstand zu kompensieren und wird damit unange-nehm laut und die Luftströmung bricht zusammen.
In der Folge sammelt sich Fett und Kondenswasser in der Dunstabzugshaube an. Als weitere Konsequenz wird die Geblaseeinheit überlastet und die Lebensdauer der Dunstabzugshaube verkurzt sich.
Das Material des Abluftkanals hat hohen Einfluss auf die Leistung einer Dunstabzugshaube. Feststehende Abluftrohre aus Kunststoff sind flexiblen Alu-Flex-Schläuchen in jedem Fall vorzuziehen. Bei Alu-Flex-Schläuchen muss darauf geachtet werden, dass diese nicht flach gedrück werden (speziell in den Bögen) und keine Knicke aufweisen.
Ein mit Spiraldraht durchzogener Kunststoffschlauch ist nicht zulässig, da unerwünsche Luftlaufgeräische wie z.B. Rascheln, Rattern usw. entstehen konnen und die Leistung der Dunstabzugshaube erheblich beeinträchtigt wird. Die relativ großen Wellen im Kunststoffschlauch让他们 keine reibungsflose Luftströmung zu. Es kommt zu starken Verwirbelungen und in der Dunstabzugshaube sammelt sich Fett und Kondenswasser an. Durch die Abluft erwärmen sich zugemissione diese Schläuche und das Material dehnt sich dann aus. Es kommt zur Sackbildung mit Kondenswasseransammlung, zusätzlichen Luftverwibelungen und Druckverlusten.
Damit kann eine Dunstabzugshaube nicht Funktionen!!
Fazit zur Installation des Abluftsystems:
- Sorgen Sie für möglichst kurze Abluftwege.
- Vermeiden Sie Bögen, Querschnittsänderungen und Reduzierungen.
- Nehmen Sie das richtige Material.
- Sorgen Sie für ausreichende Frischluftzufuhr.
Mauerkästen
Auch bei Mauerkästen gibt es erhebliche Unterschiede. Hochleistungsmauerkasten mit beweglichen Kunststofflarmellen gewährleisten einen hohen Durchgang von bis zu 98% :

Viele Mauerkästen haben aber starre Lamellen. Hier konnen erhebliche Leistungsverluste entstehen:

1 = Rückstauklappe
2 = Fliegengitter ca. 5 - 100 % Leistungsverlust (abhängig vom Verschmutzungsgrad des Gitters)
3 = schrages Auengitter bis zu 25% Leistungsverlust
Abluftkamin
Soll die Abluft in einen Schornstein gefuhrt werden, so muss der Einführungsstutzen in Strömungsrichtung gelenkt werden. Es muss safer gestellt sein, dass ein ausreichender Schornsteinzug mit einem Mindest-Förderdruck von 5 mbar vorhanden ist.
Ansonsten kann die Luftströmung im Schornstein zusammen brechen.
In jedem Fall ist der zuständige Kaminkehrmeister vorher zu befragen.
Rückstauklappe
Eine Rückstauklappe solle am Übergang zwischen Innen und Außen, also z.B. am Mauerdurchbruch eingesetzt werden. Die Rückstauklappe hilft gerade in kalten Jahreszeiten, dass kalte Luft nicht in das Abluftsystem einfällt und das Abluftsystem stark abkühlt. Stromt dann warme Luft in das Abluftsystem, kondensiert diese und es sammelt sich Kondenswasser und Fett im Abluftsystem an, das in ungünstigen Fälle durch die Dunstabzugshaube zurück auf das Kochfeld gelangen kann. Zusätzlich kuhlt der Dunstabzugshaubenkörper aus, auf der Außenfläche der Dunstabzugshaube tritt erhöhte Kondenswasserbildung auf. Lösung: Rückstauklappe nachrufen.
Gerausche
Die Dunstabzugshaube soll an einer gemauerten Wand befestigt werden. Holzwände / Gipskartonwände / Ständerwände o.a. sind ungeeignet, da diese bei eingeschalteten Gebläsemotor als Resonanzkorper wirken und dadurch hohe Betriebsgeräusche verursachen.
Lösung: Steht keine gemauerte Wand zur Verfügung, sollen die Dunstabzugshaube auf einer mind. 4 cm starken Holzplatte montiert werden.
Keine Kunststoff-Flex-Abluftschläuche verwenden, daß onerwünschte Luftlaufgeräuche wie z.B. Rascheln, Ratten usw. entstehen können.
Lösung: Abluftschlauch austauschen gegen glattes Kunststoffrohr oder Alu-Flex-Schlauch.
Fehlende Frischluftzufuhr sorgt bereitsfalls für erhöhte Betriebsgeräutsche. Lösung: Fenster, Balkontür etc. kippen.
AbluftytemhatzuhohenLuftstromungswiderstand,dadurcherhohensich die Betriebsgerausche.
Lösung: Abluftsystem prufen und Schwachstellen ausbessern.
Abluftsystem ist blockiert (z.B. verdrecktes Fliegengitter am Mauerkasten, geknicker Schlauch etc.)
Lösung: Blockade lose.
Kondenswasserbildung
Die Außenflächen der Dunstabzugshaube sind zu Kochbeginn deutlich kälter als der Kochdunst, davon ist es normal, dass sich, insbesondere bei Dunstabzugshauben mit großem Glasschirm, am Haubenkörper Kondenswasser bildet.
Lösung: Dunstabzugshaube bereits bei Kochbeginn einschalten, auch wenn noch kein Dunst aufsteigt. Soltte sich trotzdem noch Kondenswasser bilden, diesen mit einem geeigneten Tuch aufnehmen.
Ist die gewähte Leistungsstufe der Dunstabzugshaube zu gering, kann sich Kondenswasser auf der Oberfläche der Dunstabzugshaube bilden.
Lösung: Leistungsstufe erhöhen.
Fehlt die Frischluftzufuhr bildet sich Kondenswasser auf der Oberfläche der Dunstabzugshaube.
Lösung: Fenster, Balkontür etc. kippen.
Es fehlte die Rückstauklappe. Kalte Luft kann in das Abluftsystem einfallen und kuhl den Abluftkanal und den Dunstabzugshaubenkorper ab. Kondenswasser tropf auf das Kochfeld, am gesamten Dunstabzugshaubenkorper bildet sich Kondenswasser.
Lösung: Rückstauklappe nachrufen.
Die Dunstabzugshaube wurde nicht gemäß dem empfohlenen Abstand über dem Kochfeld montiert. Ist die Dunstabzugshaube zu niedrig montiert, sammeln sich Fett und Kondenswasser auf den Außenflächen und in der Dunstabzugshaube.
Lösung: Empfohlene Einbauhöhe den Herstellerangaben entnehmer und einhalten.
Dunstabzugshauben im Umluftbetrieb - Tipps und Tricks
Gerausche
Im Umluftbetrieb sind die Betriebsgeräusche generell deutlichhigher als im Abluftbetrieb. Hauptgrunde sind hierfür der zusätzliche Aktivkohlefilter und der Austritt der Umluft durch die Schlitze im Teleskopschacht. Beide stellen zusätzliche Hindernisse im Abluftsystem dar und erhöhen die Betriebsgeräusche.
Die Dunstabzugshaube soll an einer gemauerten Wand befestigt werden. Holzwände / Gipskartonwände / Ständerwände o.a. sind ungeeignet, da diese bei eingeschalteten Gebläsemotor als Resonanzkorper wirken und dadurch hohe Betriebsgeräuche verursachen.
Lösung: Steht keine gemauerte Wand zur Verfugung, sollen die Dunstabzugshaube auf einer mind. 4 cm starken Holzplatte montiert werden.
Die Schlitze vom Teeskopschacht sind nicht komplett frei und z.B. durch den Grundschacht verdeckt. Die Umluft kann nicht aus dem Dunstabzugshaubenschacht stromen.
Lösung: Dunstabzugshaubenschachtändern,damit die Schlitze frei sind.
Das Umluftset ist nicht installiert und die Luft wird nicht zu den Schlitzen im Telescopschacht gelenkt, sondern prallt direkt gegen die Decke. Die Luft staut sich im System und damit erhöhen sich die Betriebsgeräusche.
Lösung: Umluftset installmenten
Nicht korrekt montierte Aktiv-Kohlefilter konnen Gerausche verursachen.
Lösung: Setzen Sie den/ die Aktiv- Kohlefilter wie in der Bedienungsanleitung beschrieben ein.
Überhängendes Vlies am Rahmen der Aktiv-Kohlefilter kann zu Pfeifgeräussen führen.
Lösung: Überhängendes Vlies am Rahmen abschreiben.
Kondenswasserbildung
Die Außenflächen der Dunstabzugshaube sind zu Kochbeginn deutlich kälter als der Kochdunst, daher ist es normal, dass sich, insbesondere bei Dunstabzugshauben mit großem Glasschirm, am Haubenkorper Kondenswasser bildet.
Lösung: Dunstabzugshaube bereits bei Kochbeginn einschalten, auch wenn noch kein Dunst aufsteigt. Sollte sich trotzem noch Kondenswasser bilden, diesen mit einem geeigneten Tuch aufnehmen.
Ist die gewählte Leistungsstufe der Dunstabzugshaube zu gering, kann sich Kondenswasser auf der Oberfläche der Dunstabzugshaube bilden.
Lösung: Leistungsstufe erhöhen.
Die Umluft ist blockiert in der Dunstabzugshaube und/oder im Schacht (z.B. durch verdeckte Schlitze im Teleskopschacht, fehlendes Umluftset). Es sammelt sich Fett und Kondenswasser in der Dunstabzugshaube an.
Lösung: Blockade beseitigen
Die Dunstabzugshaube wurde nicht gemäß dem empfehlenen Abstand über dem Kochfeld montiert. Ist die Dunstabzugshaube zu niedrig montiert, sammeln sich Fett und Kondenswasser auf den Außenflächen und in der Dunstabzugshaube.
Lösung: Empfohlene Einbauhöhe den Herstellerangaben entnahmen und einhalten.
Hinweise zur Entsorgung
In Übereinstimmung mit den Anforderungen der Europäischen Richtlinie 2012/19/EU über Elektro- und Elektronik-Altgeräte (WEEE) ist auf dem vorliegenden Produkt und der Bedienungsanleitung das Symbol einer durchgestruchenen Abfalltonne abgebildet.

Eine Entsorgung von Gerät und Verpackung über den normalen Haushaltsabfall ist nicht zulässig!
- Entsorgen Sie these Gerät im Recyclunghof mit einer getrennten Sammlung für Elektro- und Elektronikgeräte.
Die Entsorgung muss gemäß den ortlichen Bestimmungen zur Abfallbeseitigung erfolgen. - Bitte wenden Sie sich an die zuständigen Behörden ihrer Gemeinverwaltung, an den örtlichen Recyclinghof für Haushaltsmüller oder an den Handler, bei dem Sie这点es Gerät erworben haben, um weitere Informationen über Behandlung, Verwertung und Wiederverwendung这点es Produktés zu erhalten.
- Sortieren Sie die Verpackung vor der Entsorgung nach Materialarten wie z.B. Karton (Papier), Plastikfolie usw.
- Sie leisten damit einen wertvollen und positiven Beitrag zum Schutz der Umwelt und der Gesundheit ihrer Mitmenschen.
- Im unsortierten Siedlungsmull konnte ein solches Gerät这点bezüglich negative Konsequenzen haben.
Zur Inanspruchnahme von Garantieleistungen ist in jeder Fall die Vorlage des Kaufbeleges erforderlich. Für unsere ORANIER-Geräte leisten wir unabhängig von den Verpflichtungen des Handlers aus dem Kaufvertrag gegenüber dem Endabnehmer unter den nachstehenden Bedingungen Werksgarantie:
Die ORANIER-Garantie erstreckt sich auf die unentgeltliche Instandsetzung des Gerätes bzw. der beanstandeten Teile. Anspruch auf kostenlosten Ersatz besteht nur für solche Teile, die Fehler im Werkstoff und in der Verarbeitung aufweisen. Übernommen werdenthere samtliche direkten Lohn- und Materialkosten, die zur Beseitigung these Mangels anfallen. Weitergehende Ansprüche sind ausgeschlossen.
-
Die Werksgarantie beträgt 24 Monate und beginnnt mit dem Zeitpunkt der Übergabe, der durch Rechnung oder Lieferrschein nachzuweisen ist.
-
Innerhalb der Werksgarantie werden alle Funktionsehler, dieTOTZ vorschrifsmäßigem Anschluss, sachgemäßer Behandlung und Beachtung der gütigen ORANIER-Einbauvorschriften und Betriebsanleitungen nachweisbar auf Fabrikations- oder Materialfehler zureckzuführen sind, durch unseren Kundendienst beseitigt. Emaile- und Lackschemen werden nur dann von dieser Werksgarantie erfasst, wenn sie innerhalb von 2 Wochen nach Übergabe des ORANIER-Gerätes unserem Kundendienst angezeigt werden. Transportschäden (diese müssen entsprechend den Bedingungen des Transporteurs gegen den Transporteur geltend gemacht werden) sowie Einstellungen-, Einregulierungs- und Umstellarbeiten an Gasverbrauchseinrichtungen fallen nicht unter diese Werksgarantie.
-
Durch Inanspruchnahme der Werksgarantie verlangert sich die Garantiezeit weder für das ORANI-ER-Gerät, noch für neu eingebaute Teile. Ausgewechseltte Teile gehen in unser Eigentum über.
-
Über Ort, Art und Umfang der durchzuführenden Reparatur oder über einen Austausch des Gerätes entscheidet unser Kundendienst nach billigem Ermessen. Soweit nicht anders vereinbart, ist unsere Kundendienstzentrale zu benachrichtigen.
Die Reparatur wird in der Regel am Aufstellungsort, ausnahmsweise in der Kundendienstwerkstatt durchgeführrt.
Zur Reparatur anstehende Geräte sind so zugänglich zu machen, dass keine Beschädigungen an Möbeln, Bodenbelag etc. entstehen können.
-
Die für die Reparatur erforderlichen Ersatzteile und die anfallende Arbeitszeit werden nicht berechnet.
-
Wir haften nicht für Schäden und Mängel an Geräten und deren Teile, die verursacht wurden durch:
-
Außer chemische oder physikalische Einwirkungen bei Transport, Lagerung, Aufstellung und Benutzung (z.B. Schäden durch Abschrecken mit Wasser, überlaufende Speisen, Kondenswasser, Überhitzung). Haarrissbildung bei emaiillierten oder kachelglasierten Teilen ist kein Qualitätsmangel.
- Falsche Großwahl.
- Nichtbeachtung unserer Aufstellungs- und Bedienungsanleitung, der jeweils geltenden baurechtlichen allgemeinen und ortlichen Vorschriften der zuständigen Behörden, Gas- und Elektrizitätsversorgungsunternehmen. Darunter fallen auch Mängel an den Abgasleitungen (Ofenrohr, ungenügender oder zu starker Schornsteinzug) sowie unsachgemäß ausgeführte Instandhaltungsarbeiten, insbesondere Vornahme von Veränderungen an den Geräten, deren Armaturen und Leitungen.
- Verwendung ungeeigneter Brennstoffe bei mit Kohle und Heizöl gefeuerten Geräten; ungeeigneter Gasbeschaffenheit und Gasdruckschwankungen bei Gasseräten; ungewöhnliche Spannungsschwankungen gegenüber der Nennspannung bei Elektrogeräten.
- Falsche Bedienung und Überlastung und dadurch verursachte Überhitzung der Geräte, unsachgemäße Behandlung, ungenügende Pflege, unzu-reichende Reinigung der Geräte oder ihrer Teile; Verwendung ungeeigneter Putzmittel (siehe Bedienungsanleitung).
- Verschleib der den Flammen unmittelbar ausgesetztene Teile aus Eisen und Schamotte (z.B. Stahl-, Guss- oder Schamotteauskleidungen).
Wir haften nicht für mittelbare und unmittelbare Schäden, die durch die Geräte verursacht werden. Dazu gehören auch Raumverschmutzungen, die durch Zersetzungsdprodukte organischer Staubanteile hervorgerufen werden und deren Pyrolyseprodukte sich als dunkler Belag auf Tapeten, Möbeln, Textilien und Ofenteilen niederschlagen können.
Fällt die Beseitigung eines Mangels nicht unter unsere Gewährleistung, dann hat der Endabnehmer für die Kosten des Monteurbesuches und der Instandsetzung aufzukommen.
ORANIER Kuchentechnik GmbH
Oranier Str. 1
35708 Haiger
ORANIER






- Insel-, Kopffrei-, Wandhauben und Deckenlufter
- Einbaubacköfen, Einbauherde
Kochfeldabzüge
Kochfelder: Induktion-, Gas- und Hilight
Dampfgarer und Mikrowellen
Kuhl- und Gefriergeräte
Geschirrpulmaschinen - Standherde Gas und Elektro
Koch- und Backstationen
ORANIER Kuchentechnik GmbH
Oranier Str. 1
35708 Haiger
Telefon +49 (o) 2771 2630-150
Telefax +49 (0) 2771 2630-348
E-Mail info-kuechentechnik@oranier.com
www.oranier.com
Oranier Heiz- und Kochtechnik GmbH
Niederlassung Österreich
Blutenstraße 15/4
A-4040 Linz
Telefon +43(0)73266018860
Telefax +43(0) 73266018880
E-Mail info-kuechentechnik@oranier.com
www.oranier.com
EinfachAnleitung