DP-450 - Dvd-afspiller KISS - Gratis brugsanvisning og manual
Find enhedens vejledning gratis DP-450 KISS i PDF-format.
Brugerspørgsmål om DP-450 KISS
0 spørgsmål om dette apparat. Besvar dem du kender, eller stil dit eget.
Stil et nyt spørgsmål om dette apparat
Download vejledningen til din Dvd-afspiller i PDF-format gratis! Find din vejledning DP-450 - KISS og tag din elektroniske enhed tilbage i hånden. På denne side er alle dokumenter nødvendige for brugen af din enhed offentliggjort. DP-450 af mærket KISS.
BRUGSANVISNING DP-450 KISS
Den vil i mange ar frem vare dig til glaed med alle de mange functiorer, den tilbyder dig. Du kan naturligvis afspille og se DVD-film i en fremragende kvalitet bade med hensyn til lyd og billede.
Du kan se en film i mange andre formater end DVD, f.eks. SVCD, MPEG-4 erer DivX (ver. 4 og hjere). På lydsiden har du ligeledes mulighed for afspilning af musik-CD'er erer MP3-filer.
DP-450 vil automatisk genkende de enkelte formater og kan lese bade CD-RW og DVD-RW. Din nye DP-450 understotter ogss Photo CD (jpg), hvilket betyder, at du kan vise dine billedder direkte pa TV-skærmen, bade dem, du har fæt fra fotohandleren, og dem, du selv har scannet og gemt pa CD.
Vigtige sikkerhedsoplysninger
Laesiennevejledninggrundigtigennem,ogvær opmærksompalle advarsler ogvejledninger.
Overbelast ikke stikkontakter og forlængerledninger. Overbelastning kan medføre brand eller elektrisk stød.
Stik aldrig genstande ind i DVD-afspillerens kabinetdor. De kankommen beroring med farlige spændingspunkter ellkortslutte dele, hvilket kan medfore brand eller elektrisk stod.
Undgå at spilde væsker på DVD-afspilleren.
Hvis DVD-afspilleren ikke virker normalt, især hvis den udsender unormale lyde eller lugte, skal stikket straks tages ud, og en autoriseret tekniker skal kontaktes.
- Forsøg ikke selv at udføre service på DVD-afspilleren. Hvis du abner eller afmonterer afskærmninger, kan du blive udsat for farlig spænding eller andre farer. Al service skal overlades til uddannet servicepersonale.
Miljømæssig information
Anlagget bestar af materialer, der kan genbruges, hvis de adskilles af autoriseret personel.
Folg venligst de lokale regler for bortkastning af indpakningsmaterialer, brugte batterier og kasserede apparater.
Copyright
Dette produit indeholder copyright beskyttet tekologi, der er beskyttet i henhold til patenter, som tilhorer Macrovision corporation og andre rettighedsindehavere. Anvendelse af dette copyright beskyttede tekologi skal godkendes af Macrovision corporation. Teknologien er beregnet til hjemmebrug, medmindre andet er godkendt af Macrovision corporation. Nedbrydning og adskilelse er forbidt.
Fremstillet på licens fra Dolby-laboratorierie. "Dolby" og symbolet med det dobbelte "D" er varemærker, der tilhører Dolby-laboratorierie. "DTS" og "DTS Digital Out" er varemærker tilhorende Digital Theater Systems, Inc.
Vigtig meddeelse
DVD-afspilleren kan forst benyttes, nár konfigurationsmenuen er gennemgået. Dertil skal DVD-afspilleren vare tilsluttet et TV. Se side 4
Indhold
Tilbehør 2
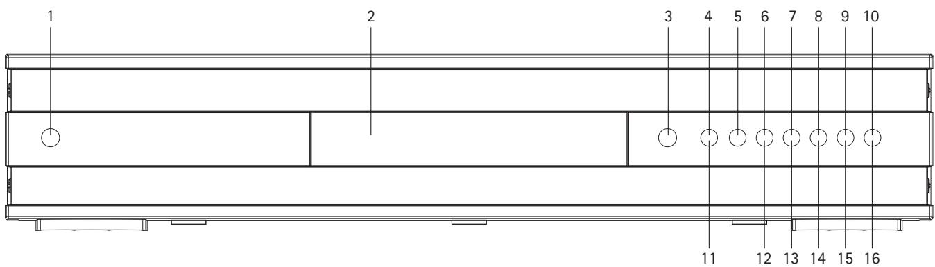
Frontpanel 2
Bagpanel 2
Fjernbetjening 3
Frontpanelets display 3
Videotilslutning 4
Audiotilslutning 4
Hurtig konfiguration 5
Avanceret opsætning 6
Afpilning af medier 7
Support og opdatering 9

Tilbehør
(11) Enter
(12) Naviger til venstre
(13) Naviger til højre
(14) Navigator op
(15) Naviger ned
(16) Afsnut


2.3 Fjernbetjening
(1) Afbryder
(2) Åbn/Luk
(3) Titel/Menu
(4) Menu
(5) Tilbage
(6) Pil op
(7) Pil til venstre
(8) Enter
(9) Pil til højre
(10) Pil ned
(11) Tilbagespoling
(12) Afspil/Pause
(13) Fremadspoling
(14) Forrige kapitel
(15) Stop
(16) Næste kapitel
(17) Vælg sprog/Lyd
(18) Næste bilde
(19) Vaelg undertekster
(20) Vælg vinkel
(21) Zoom
(22) Gentag
(23) Ikke anvendt
(24) Indstilling
(25) Slet input
(26) Sog
(27) Lydstyrke op
(28) Lydstyrke ned

Bemærk: Visse Funktioner virker kun, nr DVD'en understotter det.
2.4 Display
DVD-afspilleren er udstyret med et VFD-display, der viser, hvilke aktivitet der udfores.

3.1 Videotilslutning
Alt afhengigt af dit TV og andet udstyr er der forskellige mader at tilslutte DVD-afspilleren pa. Du skal kun benytte en af de beskrevne metoder.
| 1: RGB via Scart | RGB via Scart-stikket er en@måde at tilslutte DVD-afspilleren til dit TV på. Se i brugermanualen til dit TV, om det understandetter RGB. |
| 2: S-Video | S-Video er en,anden@måde at forbinde DVD-afspilleren og TV'et på. Det kræver dog et nyere TV med en S-Video-indgang (kablet er ekstraudstyr). |
| 3: Scart | Den mest anvendte@måde at forbinde TV'et med din DVD-afspiller på er med et Scart-stik. Med Scart-stikket overfører du[både billede og lyd direkte til dit TV. |
| 4: Composite Video | Composite Video er en nem@måde at overføre videosignaler via et phono-kabel på, men kræver separat tilslutning af lyd. |
| 5: Component Scart | YPbPR, som det øgså kaldes, er en@måde at tilslutte DVD-afspilleren til dit TV på. Se i brugermanualen til dit TV, om det har Component Video-stik. (Kræver et specielt kabel). |
Bemärk: Man kan opnå Progressive Scan med et specielt type kabel og speicielle TV-apparater.
Video
1: RGB via Scart
2: S-Video (kablet er ekStraudstyr)
3:Scart
4: Composite Video
5: Component Scart (kablet er ekstraudstyr)
Lyd
6: Optisk udgang (kablet er ekstraudstyr)
7: Koaksial udgang (kablet er ekStraudstyr)
8: Stereo

Billede: Tilslutning of DVD-afspilleren
3.2 Audiotilslutning
Tilslut DVD-afspillerens lydudgang til den tilsvarende indgang på forstærken eller stereoanlægget ved hjælp af lydkablet (phono-kablet).
Avanceret/digital audiotilstutning:
Tilslut afspillerens digitale lydudgang (optisk: 5 eller koaksialt: 6) til den tilsvarende indgang på forstærken.
- Der skal bruges specielle kabler til dette formål.
Derefter skal DVD-afspillerens indstlinger eendres i menuen til indstilling af "Lyd". Se brugermanualen til din forstærker for at fä yderligere oplysninger om korrekt opsætning.
Hvis din DVD-afspiller er korrekt tilsluttet (se kapitel 3 om kabelforbindelse), vil der, nár du tænder for DVD-afspilleren, starte en menu, som installerer de vigtigste opsætninger i forhold til dit fjernsyn og sprog.
Bemerk: Hvis davon menu ikke vises,ningar du starter DVD-afspilleren, skal du undersøge kabelforbindelsene igen.
Bemerk: Du kan forsoge at forbinde dit TV med Composite Video-kablerne, der altid vil give dig et billede.

1. skærmbillede: Sprog
Vælg her det sprog, som skal være gældende, nár du bruger de indbyggede menuer i DP-450. Med pilesterne på fjernbetjeningen bevæger du den firkanteede ramme hen til det sprog, du vil vælg, og trykker på ENTER.

2. skærmbillede: Tilslutning
Her skal du vælge tilslutningen til dit TV. Du kan vælge mellem Scart, S-Video aller Composite. Tilslutningen afhænger af, hvilket stik der er på dit TV. (Vælger du Scart, er der i davon tilslutning ogss RGB og Composite Video).

3. skærmbillede: TV
Billedet viser nu de to forskellige typé TV-skærme, som du har (4:3 der er det normale eller 16:9 der er bredformat).
Bemærk: Nogle 4:3 TV kan vise 16:9 format.

4. skærmbillede: Lyd
Har du tilsluttet dit TV via Scart, fãr du automatisk lyden via dit fjernsyn. Vil du hellere bruge din forstærker til at gengive lyden, kan du vælge at koble den til med phono-stikket eller via en af de to digitale udgange.
Du vil altid kinne gå tilbage og starte forfra, hvis du skulle lave noget forkert eller senere ønsker at gå ind i menuen Setup og rette den. Se side 6 under diverse indstillinger.
5.1 Avanceret opsætning
Du kan til enhver tid gå ind i menuen Setup og tilpasse DP-450 til netop dine krav og din hardware. När DP-450 står i hovedskærmbilledet, kan du trykke på knappen SETUP på din fjernbetjening og her &,nde en menu med de muligheder, der er. Den orange ramme viser, hvor du er i menuen, og du bevæger rammen rundt med piletasterne og vælger med knappen ENTER. Nogle af menuerne er der allerede taget stilling til i Hurtig konfiguration, men her i den avancerede opsætning er der flere indstellingsmuligheder.

1. skærmbillede: Sprog
Den Forste menu er menuen for Sprog Instillinger. Her skal du vælge det sprog, du vil have til de menuer der skal vises på skærmen, og det sprog, som du foretrækker,ningar der afspilles en DVD-film - bade til undertekster, tale og menuer (de benyttes dog kun, hvis filmen understøtter sproget).

2. skærmbillede: Video
I menuen Hurtig Konfiguration har du allerede valgt det TV, som du har, men som tidligere nævnt kan du ændre det i dette menu. Du kan samtidig vælgge et andet TV-system end PAL, der er den europæiske standard, og du kan angive, om du har RGB via Scart, Component via Scart eller S-Video. Se i din manual til fjernsynet, før du vælger tilslutningen.
Bemærk: Composite Video via Scart er altid slæt til.

3. skærmbillede: Audio
Menuen giver dig mulighed for at vaelge mellem RAW og PCM.
PCM: Sterolyd. Bruges til lidt ældre forstærkere.
RAW: Afpiller det lydspor, der er på disken. Anbefales som standard.

4. skærmbillede: Diverse indstlinger
Man kan her bestemme, hvilken beskyttelsesgrad man vil have på filmene. De flete film er delt op i niveauer, sö man kan undgå, at børn ser en bestemt type film. I æste menupunkt oprettner man det kodeord, der skal til for atændre i dette opsæting*.
Lyset i selve displayet på DVD-afspilleren kan ændres, SSE det enten lyser ganske svagt, normalt eller kraftigt. Alle opsætninger kan nulstilles i menuen "Gendan indstillinger", og i den sidste menu kan man starte den hurtige konfiguration igen.
*Nár man senere vil ændre dette opsætning, skal kodeordet indtastes igen.
Bemärk: For at forlade en menu trykkes pa pil til venstre pa fjernbetjeningen.
6.1 Afspinning af medier
DVD-afspilleren understotter fologende medier:
DVD-video
DivX Ver. 4 og højere
ISO MPEG-4
VCD og SVCD
Audio CD og MP3
JPG

1. Skærmbillede: DVD-Menu
Hvis du har indstillet DVD-afspilleren after de foregående instrukser, kan du nu indsætte en DVD i din DVD-afspiller. After et stykke tid vil DVD-menuen vises, og du kan med piletasterne navigere rundt og eventuelt starte filmen.
Bemærk: Denne menu er en del af delve DVD'en og er derfor individuel fra DVD til DVD.

2. Skaermbillede: MP3
När du indsætter en CD med MP3-musik, vil afspilleren automatisk genkende formatet og give dig mulighed for at vælge, hvilke melodier du vil høre. Du kan vælge, hvilken rækkefolge du vil høre numre i, høre enkelte numre/mapper/ foldere eller afspille dem vilkårligt ved at trykke på knappen SETUP på din fjernbetjening og vælge den ønskede metode for afspilningsrækkefolge.

3. Skærmbillede: DivX og MPEG-4
DP-450 genkender formatet og starter automatisk afspilningen,ningar du sætter en CD i drevet. Du kan ved hjælp af tælleren i displayet se, hvor langt du er i filmen. Man har de gængse afspilningsmuligheder, feks. stop, pause, spring til æste etc.

4. Skærmbillede: Photo CD og JPG
Du kan enten fä dine billedder lagt på CD, der hvor du fär dem fremkaldt, eller selv brænde en CD på din computer.
Billederne kan derefter vises på dit TV til glæde for familie og venner. Vælg selv, om billedderne skal vises enkeltvis i den rækkefolge, du ønsker, eller som diasshow. Tryk på SETUP for at vælge diasshow.
Bemerk: DVD-film kan vare forsynet med en regionskode (1), (2)... og kan kun afspilles på DVD-afspillere med den samme regionskode. DVD-afspilleren er forhandsindstillet til region 2, medindre andet er angivet på emballagen.






7.1 Avancerede Funktioner
I bunden af fjernbetjeningen findes en række avancerede Funktioner, som beskrives i kapitlet nedenfor.

(STEP)
Med donne Funktion kan du se et billede ad gangen. Filmen stopper, og for hver gang, du trykker på knappen (STEP), vises næste billede. Du gár tilbage til filmen ved at trykke på knappen (PLAY).
(AUDIO)
Ved at trykke pa knappen (AUDIO) skifter du lydformat. Mulighederne for de forskellige lydformater, feks. 2-kanals stereo, 6-kanals surround, er bestemt af filmproducenten.
(ZOOM)
När filmen afspilles, kan du zoome ind på enkelte områder. Du kan både gøre det,;när filmen er i gang, ellr när du har sat den på pause. Du aktiverer Funktionen ved at trykke på knappen (ZOOM) ogkommen tilbage til normalbilledet ved at trykke gentagne gange på knappen.
TIP: Du kan bruge piletasterne til at bevæge dig rundi det forstørrede skærmbillede.
(REPEAT)
Mens filmen afspilles, kan du trykke på knappen (REPEAT), og skærmbilledet viser nu tre muligheder.
MODE: Shuffle (tilfældig afspilning af kapitler) eller Off (slæt fra)
Gentag: Man kan bestemme, om det er afsnittet aller filmen, der skal gentages.
(CLEAR)
Medienne Funktion kan du slette alle forudgående indtastninger.
(SRCH)
Med (SRCH) er det muligt at lokalisere et bestemt sted på disken
Tid: Angiv time, minutter og sekunder
7.2 Avancerede Funktioner
(ANGLE)
När filmen understätter flere kameravinkler, kan du ved at at trykke på knappen (ANGLE) skifte mellem kameravinklerne.
(SUBPIC)
Her skifter du undertekster på filmen. Når du trykker på knappen (SUBPIC),kommen der en meddeelse øverst i venstre hjørne på skærmen om, hvor mange sprog der er, og hvilket sprog som aktuelt er valgt. Trykker du på knappen (SUBPIC) igen, skifter du til æste sprogmulighed. Antallet af sprog er ligeledes bestemt af filmproducenten.
(SETUP)
Hvis DVD-afspilleren er i gang med at vise en film eller afspille musik, när du trykker på knappen (SETUP), giver skærmbilledet et overblick over de muligheder, der er på disken. Dvs. ser du en DVD-film, viser den skærmbilledet til venstre med oplysning om filmens længde, antal kapitler, sprogmuligheder og antal undertekster.
När DVD-afspilleren er tændt, men/DD, nkr d kppk, komme ind i en menu, hvor du kan konfigurere din DVD-afspiller. Her kan du bl.a. angive indstillingen for sprog, lyd, video ogforallrekontrol, der skal vare standard. Se punkt 2.5
(-) (+)
Her kan du skrue op og ned for lydstyrken.

8.1 Support
Ønsker du yderligere oplsninger erer hjælp, kan dette findes på KiSS Technologys website under support til DVD-afspiller.
Adresse: www.kissdvd.com
8.2 Opdatering
DVD-afspillerens firmware/operativsystem kan opdateres med de sidste nye tilretninger fra vores website. Dette gores ved, at du downloader softwaren direkte fra supportsektionen på websiden www.kissdvd.com. Derefter skal den brændes på et CD-R-medie og inclæses i DVD-afspilleren. Se vores website under support for at få yderligere oplysninger.
Hvis man不解 har adgang til internettet, ell er icke har en CD-brander, kan man kobe en opdatering hos den forhandler, hvor DVD-afspilleren er kobt.
Nulstilling af alle indstillinger:
KiSS Technology forbeshder sig ret til at aendre alle opsætninger og specifikationer utden yderligere varsel.
KiSS Instant Repair Service
Hvis DVD-afspilleren er INDEN FOR GARANTI, betaler KiSS Technology A/S transporten frem og tilbage. Følg venligst Helpdeskens anvisninger. Husk altid at skrive RMA-nummer (oplyses af Helpdesk) på fragtbrevet. Hvis DVD-afspilleren er UDEN FOR GARANTI, afholds alle omkostninger af kunden.
Der er 3 mader at indhente RMA-nummeret på. "Et RMA-nummer er et referencingenummer, som oprettes for hver enkelt sag af administrative Årsager".
- Via fax ell er e-mail: Fax: +45 44 78 41 48 og e-mail: kiss@esupport.dk: Vedhaft fejlbeskrivelse, seriern., fakturanr., kopi af faktura/kassebon og garantibevis.
- Ved personlig kontakt: Ring til KiSS's Helpdesk +45 70 26 82 70, og bed om et RMA-nummer.
- Via forhandlieren: Indlever Produktet til den forhandler, hvor det er kegt.
Vigtigt: Send aldrig produitet til reparation uten et RMA-nr., da det vil blive afvist. Produktet skal altid vare forsvarligt pakket, ellers bortfalder garantien pa produitet. (Emballage kan kbes hos KiSS Technology til dagspris).
Afhentning og levering hos slutbrugeren:
Produktet kan afhentes hos og leveres direkte til slutbrugeren. Dette kræver, at slutbrugeren følger Helpdeskens anvisninger ved RMA-henvendelsen. Hvis de/DDke overholds, bliver slutbrugeren debiteret en ekstraomkostning, som skal betales ved levering.
Garantibevis
KiSS Technology A/S yder fireogntyve (24) maneders garanti fra kobsdatoen mod materiale- og fabrikationsfejl. I tilfelse af fejl, som kan henvises til garantien, skalprodukitet indleveres til den forhandler, som har solgtproduktet, ull se vedlagte bilag om KiSS Instant Repair Service. Den forventede reparationsid inkl. transport er ca. 5 arbejdsdage (med undtagelse af yderomrader).
I tilfælde af problemer kan du få oplysninger om vores autoriserede servicecentre på følgende adresse eller hos den forhandler, som har solgt produitet:
KiSS Technology A/S, Slotsmarker 10, 2970 Hørsholm, Danmark
Hotline (brugersupport) +45 45 17 00 07, Helpdesk (reparationsupport) +45 70 26 82 70
Garantibetingelser
- Garantien dækker kun mod forevising af korrekt udfyldt originalt garantibevis og kvittering, og safremt serienummeret på produitet er fuldt leseiigt.
- KiSSTechnologysforpligtelserbegraansestilentenreparationllerudskiftningafdefektedele.Reparationllerudskiftning af defekte dele beror på KiSS Technologys skøn.
- Garantireparationerskal udforesafenautoriseretKiSSTechnology-forhandler,elleretautoriseretservicecenter.Derydes ingen godtgorelse for reparationser udfort af uautoiserede varksteder. Eventuelle reparationser og beskadigelser af Produktet som folge af uautoiserede indgreb, omfattes ici ofne garanti.
- Detteproduktbetragtesikkesomdefektimateriaellerfabrikation,safremtderkravestilpasningtilnationaleellerlokale tekniskeller sikkerhedsmaesige kravandre lande end netop det land,produktotoprindeligt er designet og fremstillet til.
- Denne garanti omfatter icke sadanne tilpasninger, og der ydes ingen godtgorelse for sadanne tilpasninger og eventuelle ffolgeskader. Garantien dækker icke ffolgende:
a) Periodiske eftersyn, vedligeholdelse og reparation, eller udskiftning af dele som følge af normalt slid.
b) Omkostninger i forbindelse med transport, demontering eller installering afproduktet.
c) Misbrug, inklusive anvendelse til andre formål end det tiltænkte, eller forkert installation.
d) Skader som føge af lynnedlag, vand, ild, naturkatastrofer, krig, oprør, forkert forsinyningsspænding, utilstrækkelig ventilation, eller andre ørsager der er utden for KiSS Technologys kontrol.
6. Denne garanti er gyldig for enhver lovlig ihendehaver afproduktet i garantiperioden.
Oplysninger, der skal vare os i hende ved en reparation:
Modelnavn: KiSS DVD Player DP-450
Serienr.:
RMA-nr.:
Kopi af faktura aller kassebon
NemManual