HIES644DC - štedilnik HOOVER - Brezplačna navodila za uporabo
Brezplačno poiščite navodila za napravo HIES644DC HOOVER v formatu PDF.
Vprašanja uporabnikov o HIES644DC HOOVER
0 vprašanje o tej napravi. Odgovorite na tiste, ki jih poznate, ali zastavite svoje.
Zastavite novo vprašanje o tej napravi
Prenesite navodila za vaš štedilnik v formatu PDF brezplačno! Poiščite svoja navodila HIES644DC - HOOVER in vzemite svojo elektronsko napravo nazaj v roke. Na tej strani so objavljeni vsi dokumenti, potrebni za uporabo vaše naprave. HIES644DC znamke HOOVER.
NAVODILA ZA UPORABO HIES644DC HOOVER
Indukcijska kuhalna plošča
Navodila za uporabo
SI
Pianicottura
Nebezpečenstvo porezania
Zvyste pozornost - hrany panela su osterreich.
Nedodrzanim tohto varovania sa mozete vazne zranit.
Vaša varnost je zelo pomembna, zato vas prosimo, da pred uporabo vaše nove kuhalne plošće pozorno preberete ta navodila.
Instalacija
Tveganje za elektricni udar
- Pred kakrsnimi koli posegi ali vzdrževalnimi deli izkljucite aparat iz elektrčega omrežja.
- Aparat mora biti priključen na pravilno ozemljeno elektricno omrežje; to je ključnega pomena za varnost.
- Če so potrebne spremembe na hišnem elektricnem omrežju, jih mora opraviti ustrezno usposobljen elektricar.
- Neupoštevanje the navodil lahko povzroči elektirčni udar in v skrajnih primerih celo smrt.
Nevarnost poškodb
- Bodite previdni - robovi plošć so ostri!
- Zaradi neprevidnegara ravnanja bi se lahko poškodovali ali urezali.
Pomembna navodila za varno uporabo
Pred vgradnjo in uporabo tega apparata pozorno preberite ta navodila.
- Na kuhalno plošco nikoli ne odlagajte vnetljivih snovi ali predmetov.
- Poskrbite, da bo imela oseba, ki bo aparat vgradila, na voljo tudi ta navodila; tako boste morda tudi zmanjsali strošek za vgradnjo.
- Kuhalna plošča mora biti instalirana skladno s temi navodili, da bi se izognili tveganju.
- Za pravilno prikljucitev aparata in ozemljitev mora poskrbeti ustrezno usposobljena oseba.
- Aparat mora biti priključen na tokokrog s prekinjalom, ki omogoča, da ga izklopite iz elektricnega omrežja.
- Garancija nePokriva škode ali poskodb ter zahtevkov po povrnitvi škode v primeru neupoštevanja teh navodil pri priključitvi na elektricno omrežje.
Delovanje in vzdhrževanje
Nevarnost elektricnega udara
-
Kuhalne plošće ne uporabljajte, Če je njena povrsina počena ali poškodovana. Če se povrsina kuhalne plošće zlomi ali poči, takoj izklopite kuhalno plošćo iz elektricnega omrežja (s pomoćjo stikala na zidu) in se obrnite na najblžji pooblasčeni servis.
-
Pred cisćenjem in vzdṛževalnimi deli izklopite kuhalno plošćo iz elektrčega omrežja.
-
Neuostoševanje teh navodil bi lahko povzročilo elektrICI udar in usodne poškodbe.
Tveganje za zdravje
-
Ta apparat je izdelan skladno z varnostimi predpis i o elektromagnetem sevanju.
-
Kljub temu pa osebam s srcnimi spodbujevalniki ali drugimi elektricnimi implantati (npr. inzulinske Črpalke) svetujemo, da se pred uporabo tega aparata posvetujujo z zdravnikom ali proizvajalcem implantata in se takoprepcića, da elektromagnetno polje ne bo vplivalo na delovanje implantata.
-
Neuostoovanja tega nasveta bi lahko pozvroci lo smrt.
Tveganje zaradi vroce povrsine
-
Med uporabo se deli kuhalne plošće zelo segrejejo in bi lahko povzročili opekline.
-
Pazite, da se s telesom, oblačilom ali drugim predmetom - z izjemo posode, v kateri kuhate - ne dotaknete indukcijske kuhalne povrsine, dokler se ta ne ohladi.
-
Pazite: magnetni kovinski predmeti, ki jih morebiti nosite, bi se lahko v blizini kuhalne plošće segreli. To ne velja za zlat ali srebrn nakit!
-
Otroci naj se ne priblizujujo kuhalni plošči.
-
Ročaji posod, v katerih kuhate, se lahko segrejejo. Pazite, da ročaji ne segajo nad druga vklopljena kuhališča! Pazite, da so ročaji izven dosega
otrok!
- Če teh nasvetov ne boste upoštevali, obstaja tveganje za poškodbe; lahko bi se opekli ali poparili.
Nevarnost poškodbe s strgalom
- Strgalo za steklokeramično povrsino ima zelo ostro rezilo, ki je dostopno, Če je varnostniPokrovček snet. Strgalo uporabljajte zelo previdno in ga po vsaki uporabi shranite na varno mesto izven dosega otrok.
- Neprevidnost bi lahko imela resne posledice.
Pomembna navodila za varno uporabo
- Med kuhanjem nikoli ne puscajte kuhalne plošće brez nadzora. Če jest prekipi ali se razljije maščoba, lahko hitro pride do vžiga.
Kuhalne plošće nikoli ne uporabljajte kot odlagalno povrsino. - Na kuhalni plošči nikoli ne pusčajte nikakrsnih predmetov ali posode.
- V blizino kuhalno plošćo nikoli ne odlagajte namagnetenih predmetov (npr. kreditne kartice, spominske kartice) ali elektronskih naprav (npr. računalnikov, predvajalnikov MP3), saj bi lahko elektromagnetno polje vplivalo na te predmete.
Kuhalne plošće nikoli ne uporabljajte za ogrevanje prostora. - Po uporabi vsakič izklopite kuhališča in kuhalno plošćo, kot je to opisano v the navodilih (npr. s pomočjo tipal). Ne zanašajte se, da bo za to poskrbela funkcija za zaznavanje posode, ko odstranite posodo s kuhalne plošće.
- Otrokom ne smete dovoliti, da se igrajo z aparatom, sedajo, stopajo ali plezajo nanj.
V visecih omaricah nad kuhalno plošco ne hranite za otroke zanimivih predmetov. Otroci bi se med plezanjem na kuhinjski pult lahko resno poškodovali. - Otrok ne pušćajte samih ali nenadzorovanih v blizini kuhalne plošće oz. v prostoru, kjer kuhate.
-
Otroci in osebe, ki niso sposobne neodvisne uporabe kuhalne plošće, smejo to uporabljati samo pod nadzorom odgovorne in pristojne osebe, ki jih mora poučiti o pravilni uporabi, ki se mora prepričati, da so sposobni uporabljati aparat brez tveganja za lastno varnost in okolico.
-
Ne popravljaje in ne menjaje posameznih delov aparata, razen ce je to izrecno navedeno v teh navodilih. Vse potrebne posege prepustite ustrezno usposobljenim strokovnjakom pooblaščenegа servisa.
- Ne uporabljajte parnih Čistilnikov za Čiščenje kuhalne plošće.
- Na kuhalno plošćo ne odlagajte težkih predmetov; pazite, da vam ti ne padejo iz rok na kuhalno plošćo.
- Ne stopajte na kuhalno plošćo.
- Za kuhanje ne uporabljajte posod z okrušenimi robovi; ne potiskajte posod po steklokeramični plošči, da je ne poškodujete.
- Pri cisćenju si ne pomagajte z gobicami iz jeklene volne ali drugimi grobimi Čistilnimi pripomočki ali Čistili, saj bi ti lahko opraskali steklokeramićno povrsino.
- Poškodovan priključni elektrichi kabel smejo zamenjati samo ustrezno usposobljeni strokovnjaki pooblasčeneqa servisa.
- Ta aparat je namejen izključno uporabi v gospodinjstvih.
- Ta aparat smejo uporabljati otroci, starejši od 8 let. Osebe z zmanjsanimi fizičnimi, zaznavnimi in umskimi sposobnostmi ali s pomanjkljivimi izkušnjami in znanjem smejo uporabljati ta aparat le pod nadzorom oseb, odgovornih za njihovo varnost, ki so jim tudi razložili tveganja, ki jih uporaba prinaša. Otroke nadzirajte in poskrbite, da se ne igrajo z aparatom. Otroci smejo aparat Čistiti in opravljati vzdřevalna dela le pod nadzorom odraslih.
- OPOZORILO: Med cvrenjem na olju ali masti se ne oddalujte od kuhalne plošće, saj se lahko maščoba hitro vname. NIKOLI ne poskušajte pogasiti ognja z vodo - takoj izklopite kuhalno plošćo in natoPokrijte plamen, nth. s Pokrovko ali na ogenj odporn odejo.
- Ne odlagajte na kuhalno plošćo kovinskih predmetov, npr. nožev, vilic,Žlic aliPokrovk,saj bi se lahko segreli.
- Po uporabi izklopite kuhalno plošćo s pritiskom na ustrezno tipko; ne zanašajte se na funkcijo za zaznavanje posode.
- Kuhalna plošča ni namenjena upravljanju s pomočjo zunanje programsk ure ali zunanjegaSYSTEMA za daljinski upravljanje.
Spostovani kupec, hvala, da ste se odlocili za nakup naše indukcijske kuhalne plošće. Prosimo, da pred uporabo kuhalne plošće pozorno preberete navodila za instalacijo in za uporabo. Knjižico z navodili preberite v celoti, nato pa jo shranite na varno, saj jo boste morda še potrebovali.
Opis kuhalne plošće
Pogled od zgoraj


- Kuhalisče maks.1800/3000 W
- Kuhališče maks. 1800/3000 W
- Kuhališče maks. 1800/3000 W
- Kuhališče maks. 1400/2000 W
5-6. Prilagodljivo kuhalisce 3000/4000 W - Steklokeramična plošča
-
Stikalna plošča
-
Kuhalisch maks.1800/3000 W
- Kuhališče maks. 1800/3000 W
- Kuhališče maks. 1800/3000 W
- Kuhališče maks. 1400/2000 W
- Prilagodljivo kuhalisce 3000/4000 W
- Steklokeramična plošča
- Stikalna plošča
Stikalna plošča

- Drsnik za nastavljanje programske ure / moci
- Tipala za izbiranje kuhališč
- Zaklepanje
- Tipalo za vklop/izklop
- Tipalo za ohranjanje toplote
- Tipalo za segrevanje s pojačano močjo - Boost
- Tipalo programske ure
Princip delovanja indukcieje
Indukcijsko kuhanje je varna, napredna, učinkovita in gospodarna tehnologija. Deluje na osnovi elektromagnetnih vibracij, ki ustvarjajo toploto neosredno v posodi in ne posredno preko segrevanja steklokeramične povrsine. Steklokeramika se segrejeramento zaradi vroče vsebine v posodah.

Litoželezna posoda
Magnetni tokokrog
Steklokeramična
plošča
Indukcijsko navitje Inducirani tok
Pred prvo uporabo indukcijske kuhalne plošće
- Pozorno preberite ta navodila, še posebej poglavje o varnostnih opozorilih.
- Odstranite zašcitno folijo, Če je vaša indukćija kuhalna plošča z njo zašcitena.
Upravljanje tipali
- Tipala se odzivajo na dotik, tako da vam ni treba pritiskati nanje.
Dotaknite se tipala z blazinico prsta, ne s konico. - Vsakič ko tipalo zazna vaš dotik, kuhalna plošča zapiska.
- Stikalna plošča nj bo vedno Čista in suha, na njo ne odlagajte nikakrsnih predmetov (npr. kuhalnic ali kuhinjskih krp). Tudi tanka plast vode lahko oteži upravljanje.


Izbiranje ustrezne posode

- Kuhajte samo v posodah, katerih dno je primerno za indukcijsko kuhanje. Prepričajte se, Če je na embalaži posode ali na dnu
odtisnen symbol za indukcijo.
- Primernost posode lahko preverite tudi
s pomocjo magneta.Približajte magnet dnu posode;
ce ga dno privlači, je posoda
primerna za indukcijsko kuhanje.
- Če nimate magneta:

- V posodo, katere primernost zeelite preveriti, vlijte malo vode.
-
Sledite navodilom za začetak kuhanja
-
Če na prikazovalniku ne utripa simbol , voda pa se segreva, je posoda primerna.
- Neprimerna je posoda, izdelana iz naslednjih materialov:: cisto nerjavece jeglo, aluminij ali baker brez magnetega dna, steklo, les, porcelain, keramika, lončena posoda.
Ne uporabljajte posode z okrušenimi robovi ali ukrivljenim dnom.



Prepričajte se, da je dno posode gladko in ravno ter se plosko prilega stekokeramiki. Premer dna mora biti enak premeru izbranega kuhališča, tj. obrisu, odtisnjenem na kuhalni plošči. Najbolj učinkovito porabo energije boste dosegli s kuhanjem v posodi, katere dno je nekoliko večje od premera izbranega kuhališča. Če uporabite posodo, katerega dno je manjše od premera kuhališča, bo učinkovitost manjsa od pričakovane. Možno je, da kuhalna plošča ne bo zaznala prisotnosti posode s premerom pod 14 mm. Vedno postavite posodo na sredino kuhališča.




Pri premikanju vedno dvignite posodo, ne potiskajte je po kuhalni plošci, da ne poškodujete steklokeramične povrsine.


Velikost posod
Kuhališča se do dolocene mere samodejno prerlagajajo premeru posode. Vendor pa mora premer posode dosegati minimalno vrednost, odvisno od izbranega kuhališča. Za optimalno učinkovitost kuhalne plošće vedno postavite posodo na sredino kuhalisšča.
HIES430B
| Kuhališće | Premer dna posode,primerne za indukcjio | |
| Najmanj (mm) | Največ (mm) | |
| 1,2,3 | 140 | 220 |
| Prilagodljivo kuhališće | 220 | 220x400 |
| 4 | 140 | 140 |
HIFS430B
| Kuhališće | Premer dna posode,primerne za indukcijo | |
| Najmanj (mm) | Največ (mm) | |
| 1,2,3,4 | 140 | 220 |
| Prilagodljivo kuhališće | 220 | 220x400 |
Uporaba indukcijske kuhalne plošće
Kako začeti
- Dotaknite se tipala za vklop/izklop (ON/OFF) ① Po vklopu se enkrat oglasi zvočni signal, prikaže se symbol ure, ob tipalih za izbiranje kuhališć pa ustrezni simboli
-
Če v roku 1 minute na nastavite stopnje moči, se indukcijska kuhalna plošča samodejno izklopi. V tem primeru začnite ponovno s 1. korakom.
-
Moč segrevania lahko prilagodite v vsakem trenutku, kadarkoli je to potrebno.
Če izmenično z nastavljeno stopnjo utripa simbol

Ta symbol opozarja
da niste postavili posode na pravo kuhalische, ali
- ste izbrali posodo, ki nj primerna za indukciisko kuhanie, ali
- je posoda premajihna, ali je niste postavili točno na sredino kubališča
Dokler na kuhalisce ne postavite posode, se segrevanje ne začne. V tem primeru se po 1 minuti prikazovalnik samodejno izklopi.
Po koncu kuhanja
- Dotaknite se tipala za izbiranje kuhalisč za kuhalisče, ki gaŽelite izklopiti.

- Izklopite kuhališće s pomočjo drsnega stikala (proti levi). Prepričajte se, da je na prikazovalniku prikazana"0"

-
Izklopite kuhalno plošćo v celoti s pomocjo tipala za vklop/izklop ON/OFF control.
-
Bodite previdni - povrsina kuhališča je lahko vroča!

Crka H vas opozori, katero kuhalische je se vroce.
Ko se povrsina kuhalisca ohladi na varno temperaturo, crka H izgine. To opozorilo vam je lahko tudi v pomoč, ceŽelite prihraniti na energiji in izrabiti preostalo toploto.

Segrevanje z ojačano močjo (Boost)
Aktiviranje funkcije Boost
- Dotaknite se tipala za izbiranje kuhalisč.

- Dotaknite se tipala za funkcijo Boost B. V prikazovalniku za kuhalischecke se prikaze Črka "b" in kuhalischecke se začne segrevati z največjo močjo.

- S pomocjo tipala za izbiranje kuhališč
izberite kuhališće, za kateregaŽelite
preklicati segrevanje z ojačano močjo

- a: Dotaknite se tipala za funkcijo Boost; kuhališće se preklopi na prej nastavljeno stopnjo moči.
b: Dotaknite se drsnika in nastavite zeeleno stopnjo.

- Funkcija je na voljo za vsa kuhališča.
- Kuhalische se po 5 minutah delovanja funkcjje Boost samodejno preklopi na prej nastavljeno stopnjo.
- Ce aktivirate funkcjio Boost za 1. kuhališće, je med delovanjem te funkcjije najvisja można stopnja, ki jo lahko nastavite za 2. kuhališće, stopnja 2 ali manj, in obratno.
- Če je bila pred aktiviranjem funkcjje Boost nastavljena stopnja 0, se kuhališće po 5 minutah preklopi na stopnio 15.
Funkcija za ohranjanje toplote
Aktiviranje funkcjije za ohranjanje toplete
- Dotaknite se tipala za izbiranje kuhalischa.

- Dotaknite se tipala funkcjje za ohranjanje toplote ; na prikazovalniku se prikaze .

Preklic funkcije za ochranjanje toplote
- Dotaknite se tipala za izbiranje kuhalisca.

- a: Dotaknite se drsnika; kuhalisce se bo preklopilo na izbrano stopnjo

b: Dotaknite se tipala za aktiviranje katere od funkcj, nth. Boost; kuhalisce se preklopina prej izbrano stopnjo.
PRILAGODLJIVO KUHALIŠČE
- To kuhališće lahko uporabljate kot enojno kuhališće ali kot dve ločeni kuhališci, odvisno od vaših potreb.
- Prilagodljivo kuhalischecke tvorita dva neodvisna induktorja, ki ju lahko upravljate loceno. Čedulje prilagodljivo kuhalischecke kot enojno, se del kuhalischecka, ki ni večPokrit s posodo, poeni minuti samodejno izklopi.
- POMEMBNO: Posodo vedno postavite na sredino enega kuhalisča. Če kuhate v veliki posodi ali posodi ovalne ali pravokotne oblike, posodo postavite na kuhalisće tako, da prekriva oba logotipa.
Primeri pravilne in nepravlne postavitve posode.



Uporaba kot veliko kuhališće
- Ko Želite aktivirati prerilagodljivo kuhalisće kot enojno povrsino, se enostavno dotaknite ustreznegatipala.

- Moč nastavite takot za običajno kuhalisće.
- Če premaknete posodo s sprednjega na zadnji del kuhališča ali obratno, prerlagodljivo kuhališće samodejno zazna novi položaj in ochrani isto moč.
- Čeželite na prerilagodljivo kuhalisće postaviti še eno posodo, se znova dotaknite ustreznegā tipala, da kuhalna plošča zazna dodano posodo.
Dve ločeni kuhališči
Čeželite uporabiti preragodljivo kuhališće kot dve ločeni kuhališci in nastaviti različne stopnjemeči, se dotaknite ustreznih tipal.

Zaklepanje stikalne plošće
- Stikalno plošćo lahko zaklenete in s tem preprečite nehoteno spreminjanje nastavitev (npr. preprečite, da bi otroci med igro slučajno vklopili kuhališća).
- Če jestikalna plošča zaklenjena, se na ukase odziva samo tipalo za vklop/izklop (ON/OFF).
Zaklepanje stikalne plošće
Dotaknite se tipala sssimbolom ključavnice prikaže napis "Loc"
. Na prikazovalniku programske ure se
Odklepanje stikalne plošće
- Dotaknite se tipala in se ga nekaj trenutkov dotikajte.
- Zdaj lahko spet uporabljate kuhalno plošćo.

Če je stikalna plošča zaklenjena, se odziva samo tipalo za vklop/izklop ON/OFF ①. V vsakem trenutku lahko kuhalno plošćo izklopite s pomocjo tipala za vklop/izklop ①, za vse druge operacije pa morate najprej odkleniti kuhalno plošćo.
Zaščita pred pregrevanjem
Temperaturni senzor nadzira temperaturo v notranjosti indukcijske kuhalne plošće. Če zazna previsoko temperaturo, se indukcijska kuhalna plošča samodejno izklopi.
Zaznavanje majhnih predmetov
Če na kuhalno plošćo odložite predmet neustrezne oblike oz. posodo iz neustreznega materiala (npr. aluminij), ali kakšen manjši predmet (npr. nož, vilico, ključ), se kuhališće za 1 minuto samodejno preklopi v stanje mirovanja. Ventilator še 1 minuto hladi indukcijsko plošćo.
Samodejen varnostni izklop
Samodejen varnostni izklop je varnostna funkcija, ki samodejno izklopi kuhalno plošćo, Če vi to pozabite storiti. Predvideni časi izklopa glede na izbrano stopnjo moči so prikazani v spodnjī razpredelnici:
| Stopnja moči | Ohranjanje toplote | 1-5 | 6-10 | 11-14 | 15 |
| Predviden šas izklopa (ure) | 2 | 8 | 4 | 2 | 1 |
Če odstranite posodo s kuhališča, se segrevanje takoj prekine; kuhalna plošča se samodejno izklopi po 2 minutah.

Osebe s srčnim spodbujevalnikom raj se pred uporabo te kuhalne plošće posvetujujo z zdravnikom!
Uporaba programske ure
Programsko uro lahko uporabljate na dva načina:
- Kot obicajen stevec minut. V tem primeru programska ura ne izklopi nobenega od kuhalisch, ko pretece nastavljeni chas.
- Programsko uro pa lahko nastavite tak, da po preteku nastavljenega casa izklopi kuhališča.
- Programsko uro lahko nastavite zaČas do 99 minut.
Uporaba programske ure kot stevca minut
Če ni izbrano nobeno od kuhalisč
- Prepricajte se, da je kuhalna plošča vklopljena.
Opomba: Števec minut lahko uporabljate, tudi ēe ni izbrano nobeno od kuhalisč.
- Dotaknite se tipala za programsko uro, na prikazovalniku za programsko uro se
prikaze vrednost "0: 10", "0" pa utripa.

- S pomocjo drsnika nastavite ustrezen cas (npr. 6).

4.Znova se dotaknite tipala za programsko uro "1" začne utripati.

- S pomocjo drsnika nastavite ustrezen chs (npr. 9). Zdaj ste nastavili chs 56 minut.
0:56

- Ko preteče nastavljeni Čas, se za 30 sekund oglasi zvočni signal, na prikazovalniku pa se prikaže vrednost “0:00”
Izklop kuhalisč s pomocjo programske ure
Če je programska ura nastavljena za eno kuhalischecke:
- Dotaknite se tipala in izberite kuhalische, za katerega ze lite nastaviti programsko uro.

- Dotaknite se tipala za programsko uro.
V prikazovalniku se prikaže "0: 10". "0" utripa
- S pomocjo drsnika nastavite ustrezen Czechs (npr. 6)

- Znova se dotaknite tipala za programsko uro: "1" utripa.


- Znova se dotaknite drsnika in nastavite Čas, (npr.5); zdaj je nastavljen Čas 56 minut.
0:56

- Ko nastavite Čas, se takoj začne odštevanje
Na prikazovalniku je viden preostali cas do konca odstevanja, indicator programske ure 5 sekund utripa.
8
OPOMBA: Rdeča pika ob prikazu izbrane stopnje se osvetli, kar opozjar na izbrano kuhališće.
- Ko preteče nastavljeni Čas, se ustrezno kuhališće samodejno izklopi.
0:00

Če je bilo katero od drugih kuhalisč vklopljeno, se kuhanje na njih nadaljuje.
Če je programska ura nastavljena za veckuhalisč:
- Ko nastavite programsko uro za vec kuhališč hkrati, se osvetljio pike of ustreznih kuhališčih. Na prikazu časa je prikazan majkraji nthastavljeni ās, pika za kuhalisče, za katerega ta ācas velja, pa utripa.
15
3
8.
(nastavljen cas 15 minut)
(nastavljen cas 45 minut)
- Ko preteče nastavljeni Čas, se kuhalisče, za katerega ste Čas nastavili, izklopi. Prikaže se drugi majkrajiši Čas, pika za kuhalisče, za katerega velja Čas, pa utripa.
30
8
- Ce se dotaknete tipala za izbiranje kuhalisč, se prikaže Čas, nastavljen za to kuhalisšče..
Nekaj napotkov za kuhanje
Pri cvrenju bodite zelo previdni, saj se olje ali mast zelo hitro segrejeta, še posebej pa bodite pozorni, Če aktivirate segrevanje z ojačano močjo. Razgreta maščoba se hitro vname, kar pomeni veliko tveganje za požar.

Nekaj nasvetov
- Ko jed zavre, znižajte stopnjo moči.
- ČePokrijete posodo sPokrovko, s tem skrajšate Čas kuhanja in prihranite na energiji, są s tem zadržite toploto.
- Cas kuhanja je krajsi, ce uporabite manj tekocine ali maščobe.
- Za začetak kuhanja nastavite visjo stopnjo, ko se paživilo v celoti segreje, stopnjo znižajte.
Počasno kuhanje, kuhanje rīža
- Pocasno kuhanje poteka pri temperature, ki je nižja od vrelišča, in sicer pri pribl. 85^ , ko se mehurčki le obcasno dvigajo na površino tekovičine, ki se kuha. To je ključnega pomena za okusne juhe in mehko meso v golažu ipd., saj se okus razvije, ne da bi seŽivilo razkuhalo. Tudi jajčne Jedi in Jedi, ki jih zgostite z moko, nj se kuhajo pri temperaturi, ki je nižja od vrelišča.
- Za dolocenaŽivila, med drugimi tudi riž, ki absorbira tekočino, bo morda potrebno nastaviti nekoliko višjo od najnizje sstopnje, da se boŽivilo dobro skuhalo v predvidenemČasu.
Zrezki
Čeželite pripraviti okusne sočne zrezke:
-
Meso naj pred kuhanjem priblizno 20 minut počiva pri sobni temperaturi.
-
Segrejte težko ponev z debelim dnom.
- Obe strani zrezka namezite z oljem. Malo olja vljte v vroco ponev in nato položite mesona vroco ponev.
- Zrezek med kuhanjem obrnite samo enkrat. Tocen czs pecenja je odvisen od debeline zrezka, ter od stopnje, do katere ga zeelite prepeci; to lahkoTRAjod 2-8 minut naeni strani. Ce je zrezek pecen se prepri cate tak, da nanj pritisnete z vilico -cim bolj cvrst je, tem bolj je pecen.
- Pečen zrezekNJ nekaj minut počiva na toplem krožniku, da se meso sprosti in je mehko, ko z njim postrežete.
Hitro prazenje
- Za hitro prazenje je najboljprimeren vok z ravnim dnom ali velika ponev.
- Pred začetakom kuhanja priapravite vse sestavine in pripomočke; praženje mora biti hitro. Če pripravljate večjo količino Jedi, ne pražite vseh sestavin naenkrat, ampak po manjsih porcjiah.
- Na katko segreje ponev in dodajte dveŽlici olja.
- Najprej prepražite meso in ga shranite na topo.
- Nato prepražite zelenjavo. Ko je zelenjava vroča, a še hrustljava, znižajte stopnjo ter znova stresite meso v ponev, nato pa dodajte omako.
- Sestavine previdno premešajte, da se enakomerno segrejo.
- Takoj postrezite.
Ustrezne stopnje moči
V spodnji razpredelnici so podane samo smernice; tocne nastavitve so odvisne od stevilnih dejavnikov - posode, ki jo uporabljate, količine Živil ... Po nekaj poskusih na vaši novi indukcijski plošci boste hitro dolocili nastavitve, ki vam najbolj ustrezajo.
| Stopnja | Primerno za |
| 1 - 2 | • počasno segrevanje manjše količine Živil • taljenje Čokolade, masla in Jedi, ki se hitro prismodijo • počasno kuhanje na šibkem ognju • počasno segrevanje |
| 3 - 5 | • pogrevanje • malo hitrajše počasno kuhanje • kuhanje riža |
| 6 - 11 | • palačinke |
| 12- 14 | • praženje • kuhanje testenin |
| 15/P | • hitro praženje • pečenje (npr. zrezkov) • segrevanje juhe do vrelišča • segrevanje vode do vrelišča |
Čiščenje in vzdhrževanje
| Kaj? | Kako? | Pomembno! |
| Vsakdanja nečistоča na steklokeramiki (prstni odtisi, lise, MADEži odživil ali polita tekovičina, ki ne vsebuje sladkorja) | 1. Izklopite kuhaln o plošć oz elektrčega omrežja. 2. Medtem ko je kuhalna plošć še topla (ne vroča!) nanesite malo Čistila za steklokeramiko. 3. Izperite in do suhega obrišite površino s Čisto krpo ali papirnato brisačo. 4. Ponomvno priključite kuhaln o plošć no elektrčno omrežje. | • Ko je kuhalna plošć iz klopljena iz elektrčega omrežja, na prikazovalniku ni prikazana Črka H, ki opozjar, da je kuhališće še vroče. Bodite zelo previdni! • Gobice iz jeklene volne ali najlona ter agresivna Čistila lahko opraskajo steklokeramično površino. Vedno preberite navodila proizvajalca, da se prepričate o ustreznosti Čistila oz. • Čistilnegа pripomočka. • Čistilo ne sme nikoli ostati na steklo-keramiki, saj bi lahko pustilo madeže. |
| Madeži od prekipelih jedi, staljene snovi in razlite jedi/tekoviçine z vsebnostjo sladkorja na steklokeramiki | Take snovi morate takoj odstraniti s strgalom ali drugim pripomočkom, primernim za Čiščenje indukcijske steklokeramične kuhalne plošć. Bodite previdni, Če so kuhališć še vroča! 1. Izključite kuhaln o plošć oz elektrčega omrežja. 2. Držite rezilo ali podoben pripomoček pod kotom 30° in zdrgnite nečistoco proti hladnemu delu kuhalne plošć. 3. Obrišite nečistoco s krpo ali papirnato bristačko. 4. Nato nadalujte s Čiščenjem, kot je to povasnjeno v prejšnji točki, koraki 2 do 4. | • Madeže, ki so ostali na kuhalni plošć zaradi staljenih Živil ali snovi z vsebnostjo sladkorja očistite Čimprej. Če se ti ohladijo na steklokeramiki, jih je veliko težje ali celo nemogoče odstraniti in lahko celo poškodujevo steklokeramiko. • Pazite, da se ne urežete! Ko snamete zašćito s strgalo, je pod njim zelo ostro rezilo. Pri uporabi bodite izjemno previdno; stgalo vedno shranite na varno, izven dosega otrok |
| Tekočina, Razlita po stikalni plošći | 1. Izključite kuhaln o plošć oz elektrčega omrežja. 2. Vpijtce tekovićo s papirnato brisačko. 3. Obrišite območje stikalne plošće s Čisto vlžno gobico ali krpo. 4. S papirnato brisačko do suhega obrišite povrsino. 5. Ponomvno priključite kuhalno plošć no elektrčno omrežje. | • Če se po območju stikalne plošće razljee tekovićina, se lahko kuhalna plošća samodejno izklopi, ali pa se tipala ne odzivajo na ukaze, dokler so prekrita s tekovićino. Pred ponomnim vklopom kuhalne plošće obvezno do suhega obrišite povrsino! |
Nekaj namigov in nasvetov
| Težava | Možen vzrok | Kaj storiti |
| Indukcijska kuhalna plošča se ne vklopi. | Ni električne energije. | Prepričajte se, da je indukcijska kuhalna plošča priključena na električno omrežje ter da je vklopljena.Preverite, Če morda ni zmanjkalo električne energije pri vas doma ali na širšem območju. Če je omrežje pod napetostjo in je kuhalna plošča pravilno priključena in vklopljena, pa kljub temu ne deljuje,Pokličite najblžji pooblaščeni servis. |
| Tipala se ne odzivajo na ukase. | Stikalna plošča je zaklenjena. | Odklenite stikalno ploščo, kot je to pojasnjeno v poglavju ‘Uporaba indukcijske kuhalne plošče’. |
| Tipala se odzivajo s težavo. | Morda so tipala prekrita s tanko plastjo tekovičine, ali pa se jih dotikate s konico in ne blazinico prsta. | Prepričajte se, da je površina stikalne plošće suha in se tipala dotaknite z blazinico prsta. |
| Steklokeramika je opraskana. | Uporabili ste posodo spoškodovanim ali grobim dnom.Za Čiščenje ste uporabili neprimerne, grobe gobice iz jeklene volne ali neustrezno Čistilo. | Kuhajte v posodah z ravnim, gladly dnom, kot je to pojasnjeno v poglavju ‘Ustrezna posoda.Upoštevajte navodila v poglavju ‘Čiščenje in vzdřevanje’. |
| Med kuhanjem dolоčene posode proizvajajo Čuden zvok, pokanje ali klikanje. | To je lahko posledica sestave posode (plasti iz razlćnih materialov razlćno vibriraju). | To je normalen pojav in ne kaže na okvaro. |
| Indukcijska kuhalna plošča brenci, ko kuhate na visoki stopnji moči. | To povzroča tehnologija indukcijskega kuhanja. | To je normalno; Če znižate stopnjo moči, je brencanje tišje oziroma povsem preneha. |
| Sliši se zvok ventilatorja. | Ventilator za hlajenje, vgrajen v vašo indukcijsko kuhalno plošćo, preprečuje pregrevanje elektronskih delov. Ventilator v dolocenih primerih deluje tudi potem, ko izklopite kuhalno plošćo. | To je normalno, ukrepanje ni potrebno. Ne izklaplajte kuhalne plošće iz elektrčnegа omrežja, dokler ventilator deluje! |
| Posoda se ne segreva, na prikazovalniku se prikaže simbol. | Indukcijska kuhalna plošća ne zazna posode,ker ta ni primerna za indukcijsko kuhanje. Indukcijska kuhalna plošća ne zazna posode, ker je ta premajhma, ali je niste postavili prvilno – na sredino kuhališča. | Uporabite posodo, ki je primena za kuhanje na indukcijski kuhalni plošći. Preverite navodila v poglavju 'Izbiranje ustrezne posode'. Postavite posodo na sredino kuhališča in se prepričajte, da se dno po velikosti prilega premeru kuhališča. |
| Indukcijska kuhalna plošća ali kuhališće se nenadoma samodejno izklopi, oglasi se zvočni signal in prikaže se koda napake (obicajno izmenično, medtem ko je prikazovalniku programske ure vidna številka). | Tehnicna okvara. | Zabeležite si kodo okvare (črko in številko), izklopite indukcijsko kuhalno plošćo iz elektrčnegа omrežja in se obrnite na najblžji pooblašćeni servis. |
Prikaz kod napak in njihovo odpravljanje
V primeru nepravilnosti v delovanju se indukcijska kuhalna plošča samodejno preklopi v varni način, na pri Kazovalniku pa se prikaže ena od spodnjih kod:
| Problem | Možen vzrok | Kaj storiti |
| F1-F6 | Okvara temperaturnega tipala | Obrnite se na pooblaščeni servis. |
| F9-FA | Okvara temperaturnega tipala za IGBT | Obrnite se na pooblaščeni servis. |
| FC | Napaka na povezavi med prikazovalnikom in osnovno plošće | Obrnite se na pooblaščeni servis. |
| E1/E2 | Neustrezna priključna napetost | Preverite vrednost napetosti v elektrichem omrežju. Ko je vzpostavljena normalna napetost, znova priključite kuhalno plošće. |
| E3/E4 | Visoka temperatura tipala steklokeramične plošće | Počakajte, da se kuhalna plošća ohladi, in jo nato znova vklopite. |
| ES | Visoka temperatura tipala IGBT | Počakajte, da se kuhalna plošća ohladi, in jo nato znova vklopite. |
Če gre za napako pri prerilagodljivem kuhalisču, se tipala za upravljanje prerilagodljivega kuhalisšca ne odzivazo.
V zgornji tabeli so navedene rešitve za njapogostejs napake.
Nikoli sami ne razstavljajte kuhalne plošće, saj bi jo lahko poškodovali.
Tehnični podatki
| Kuhalna plošča | HIES430B HIFS430B |
| Število kuhališč | 4 kuhališča |
| Priključna napetost | 220-240V~ 50/60 Hz |
| Priključna moč | 7200W |
| Mere aparata G×S×V(mm) | 590X520X60 |
| Vgradne mere A×B (mm) | 560X490 |
Podani so priblžni podatki o teži in merah. Pridržujemo si pravico do morebitnih spremb podatkov brez predhodnega obvestila zaradi stalnih izboljsav naših izdelkov.
Instalacija
V delovni pult vrežite luknj oustrezne velikosti, kot je to prikazano na spodnji sliki.
Okoli izreza mora na vseh straneh ostati vsaj po 5 cm plošće zaradi potreb pri vgradnji in uporabi.
Prepricajte se, da znaša debelina kuhinjskega pulta vsaj 30 mm. Izberite kuhinjski pult iz na vročino odpornega materiala, da se izognete večjim deformacijam zaradi toplote, ki jo bodo izžarevala kuhališča. Podrobnosti so prikazane na spodnji sliki:

| L(mm) | W(mm) | H(mm) | D(mm) | A(mm) | B(mm) | X(mm) |
| 590 | 520 | 60 | 56 | 560+4 | 490+4 | 50 mini |
| +1 | +1 |
Prepričajte se, da je zagotovljeno ustrezno zračenje in da odprtini za vstop in izstop zrak nista zamašeni. Prepričajte se, da je indukcijska kuhalna plošča brezhibna.

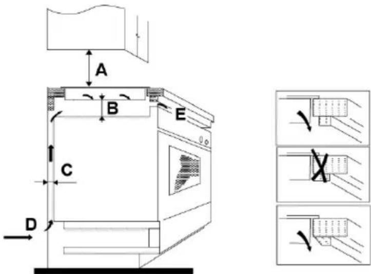
Opomba: Zaradi varnosti mora znašati razdalja med kuhalno plošćo in visećo na nad njo vsaj 760 mm.

| A(mm) | B(mm) | C(mm) | D | E |
| 760 | 50 mini | 20 mini | Vstop zraka | Izhod zraka 5mm |
Pred vgradnjo kuhalne plošće preverite naslednje:
- Izrez v kuhnjskem pultu mora biti pravokoten, kuhnjski pult pa povsem raven. Prostor, potreben za vgradnjo kuhalne plošće, mora biti povsem prazen.
Kuhnjski pult mora biti izdelan iz na vročino odpornega materiala. - Če bo kuhalna plošča vgrajena nad pečico, mora biti pečica opremljena z ventilatorjem za hlajenje.
- Pri vgradnji je potrebno upostevati vse navedene mere, ter vse veljavne standarde in predpise.
V primeru fiksne priključitve na elektricno omrežje mora biti vgrajeno ustrezno stikalo, ki zagotavlja izklop kuhalne plošće iz elektricnega omrežja; stikalo mora biti vgrajeno in namešćeno skladno z veljavnimi lokalmimi pravili in predpisi. Stikalo mora biti ustreznegа tipa; zagotavljati mora 3-mm razmik med vsemi poli oz. ustrezati vsem veljavnim lokalmim predpisom, ki regulirajo to področje.
Stikalo za izklop mora biti laho dostopno tudi po vgradnji kuhalne plošće. - Če niste prepričani o pravilnosti priključitve, se posvetujte s strokovnjakom.
- Za obloge na stenah ob kuhalni plošci uporabite na vročino odborne materiala, ki jih je enostavno Čistiti (npr. keramične ploščice).
Po vgradnji kuhalne plošće se prepričajte o naslednjem:
- Priključni elektricni kabel ne sme biti dostopen (npr. ko so vrata omarice pod kuhalno plošćo odprta, ali ko so predali odprti).
- Do spodnjega dela kuhalne plošće mora biti omogocen zadosten dotok zunanjega vraka.
- Če je kuhalna plošča vgrajena nad predal ali kuhinjsko omarico, mora biti pod kuhalno plošćo nameščena termična zašcitna pregrada.
Stikalo za izklop iz elektricnega omrežja mora biti lahko dostopno tudi po vgradnji kuhalne plošće.
Pred pritrjevanjem nosilcev kuhalne plošće
Kuhalno plošćo položite na stabilno gladko povrsino; pomagajte si z embalažo. Pazite, da ne pritiskate s silo na dele, ki segajo iz kuhalne plošće.
Prilagoditev položaja nosilcev
Kuhalno plošćo pritrdite na kuhinjski pult s pomocjo 4 vijakov, ki jih privijete na nosilce na spodnji strani kuhalne plošće po vgradnji (gl. sliko).

Opozorila
- Vgradnjo indukcijske kuhalne plošće prepustite ustrezno usposobljenim osebam. Na voljo so vam tudi strokovnjaki našega pooblaščenegа servisa. Nikoli ne poskušajte sami opraviti potrebnih del.
- Vgradnja kuhalne plošće tik nad pomivalni stroj, hladilnik, zamrzovalnik, pralni stroj ali susilec perila ni dovoljena, Vlaga bi namreč lahko poskodovala kuhalno plošćo.
- Indukcijsko kuhalno plošco vgradite tak, da bo omogoceno kar njboljse oddajanje toplote, kar positivno vpliva na njeno zanesljivost.
- Zid ob kuhalni plošči mora biti opdoren na vročino.
- Da bi se izognili moznosti za poskodbe, morajo biti tudi materiali v notranjosti kuhinjskega pulta odporni na toploto.
Priključitev kuhalne plošće na elektricno omrežje

Prikljucitev kuhalne plošće na elektricno omrežje prepustite ustrezno usposobljenim
strokovnjakom.
Pred priključitvijo kuhalne plošće na elektricno omrežje se prepričajte:
da hišno elektricno omrežje prenese dodatno obremenitev, ki jo bo pomenila kuhalna plošca; da napetost v elektrčinem omrežju ustreza vrednosti, navedeni na tablisi s podatki;
da je prerez priključnega elektrichnega kablaprimeren za obremenitev, navedeno na tablici s podatki;
Za prikljucitev kuhalne plošće na elektricno omrežje ne uporabljajte adapterjev, podaljskov ipd. naprav, sj bi ti lahko povzročili pregrevanje in posledicno požar.
Priključni elektrčni kabel mora biti napeljan tak, da se nikjer ne dotika delov, ki se segrevajo, in da po celi dolžini ni izpostavljen temperaturi nad 75^ C.

Posvetujte se z elektricarjem, da se prepricate, da je vase hišno omrežje primerno za prikljucitev kuhalne plošće. Če so potrebne kakršnekoli spremembe na omrežju, vsa potrebna dela prepustite ustrezno usposobljenim strokovjakom.
Kuhalno plošćo smete priključiti na elektricno omrežje skladno z vsemi veljavnimi standardi, ali pa preko enopolnega prekinjala. Ustrezen način je prikazan na spodnji sliki:



- Če je treba zamenjati priključni elektrčni kabel, mora to storiti ustrezno usposobljen strokovnjak pooblašćenega servisa, ki ima na voljo ustrezna orodja, da se izognete morebitnim nezgodam.
- Če je kuhalna plošča fiksno priključena na elektricno omrežje, mora biti vgrajeno večpolno prekinjalo z razdaljo med kontakti vsaj 3 mm.
- Instalater odgovarja za pravilno priključitev, ki mora biti izvedena skladno z vsemi veljavnimi varnostimi predpis.
- Prikljuci elektrichi kabel ne sme biti prepognjen ali stisnjen.
- Redno preverjaje stanje kabla. Če ga je potrebno zamenjati, smejo to storiti smo strokovnjaki pooblasčenega servisa.

DSTRANJEVANJE: Tega izdelka ne smete odvreci skupaj z obicajnimi gospodinjskimi oepadki. Potrebno ga je odvreci loceno, saj zahteva posebno obdelavo.
Izdelek je označen skladno z direktivo evropske Gospodarske zbornice 20 2/ /E1 19 Φ odpadni elektrichi in elektronski opremi (WEEE).
S pravilnim nacinom odstranjevanja izdelka boste pomagali prepreciti morebitne negativne posledice na okolje in zdravje Ijudi, ki bi jih lahko povzrociilo nepravlino odstranjevanje aparata.
Simbol na izdelku označuje, da s tem izdelkom ni dovoljeno ravnati kot z obićajnimi gospodinjskimi opadki. Izdelek odepljite na ustrezno zbirno mesto za predelavo elektricne in elektronske opreme.
Odstranjevanje mora biti opravljeno skladno z lokalnimi okoljevarstvenimi predisisi o odstranjevanju odpadkov.
Za podrobnejse informacije o odstranjevanju in predelavi tega izdelka se obrnite na pristojen mestni organ za odstranjevanje oppadkov, komunalno službo ali trgovino, v kateri ste izdelek kopili.
LahkaNavodila