KH17178E - Kuhinjska napa AMICA - Brezplačna navodila za uporabo
Brezplačno poiščite navodila za napravo KH17178E AMICA v formatu PDF.
Prenesite navodila za vaš Kuhinjska napa v formatu PDF brezplačno! Poiščite svoja navodila KH17178E - AMICA in vzemite svojo elektronsko napravo nazaj v roke. Na tej strani so objavljeni vsi dokumenti, potrebni za uporabo vaše naprave. KH17178E znamke AMICA.
NAVODILA ZA UPORABO KH17178E AMICA
Pozorno pročitati upute za uporabu da bismo izbjegli nezgode.
Sa stovanjem
Amica
SIGURNOSNE NAPOMENE
Od danes bodo vsakodnevni opravki preprostejiši kot kdajkoli prej. Naprava Amica je skupek izjemno lahke uporabe in popolne učinkovitosti. Ko boste prebrali navodila za uporabo, uporaba ne bo problem.
Naprava, ki je zapustila tovarno, je bila pred pakiranjem na kontrolnih oddelkih natančno preverjena glede varnosti in funkcionalosti.
Prosimo vas, da si natančno preberete navodila za uporabo preden zaženete napravo. Zagotavljanje usklajenosti z vsebino v navodilih vas bo šcitilo pred neustrezno uporabo. Navodilo je treba shraniti in hraniti takto, da ga boste imeli vedno pri roki.
Skrbno upoštevajte navodila za uporabo, da preprečite kakršnokoli nezgodo.
S spostovanjem,
Amica
NAVODILA ZA ZAGOTAVLJA-NJE VARNOSTI UPORABE
- Napo lahko uporabljate šele, ko preberete ta na-vodila.
- Naprava je namenjena izključno domači uporabi.
- Proizvajalec si pridržuje możnost izvajanja spre-memb, ki nimajo vpliva na delovanje naprave.
- Proizvajalec ne nosi nobene odgovornosti za eventualno skodo ali pozare, ki bi jih lahko izdelek povzrocił ob neupoostevanju nasvetov, podanih v spodnjih navodilih.
- Kuhinjska napa služi odzračevanju kuhinjskih dimov. Ni primerna za uporabo v druge namene.
- Napa, ki je namenjena odzračevanju, mora biti povezana s primernim ventilacijskim kanalom (ne sme biti povezan z delujučimi kanali za kamin, dim ali paro). Napa zahteva instalacijo odvodne cevi, po kateri zrak potuje ven. Dolžina napeljave (najpogosteje cev Ø 120 mm ali 150 mm) ne sme biti daljsa od 4-5 m. Pri teleskopskh in vgradnih napah v obtočnem načinu je zahtevan tudi izhod za odvod vraka.
- Obtočna napa zahteva instalacijo filtra na osnovi aktivnega oglja. V tem primerus ni potrebna instalacija odvodne zračne cevi, priporoča pa se montaža usmerjevalnika smeri zraka (samo za kaminske nape).
- K napi spada neodvisna osvetlitev in izvlečni ventilator z možnostjo nastavitve ene izmed nekaj obratovalnih hitrosti.
- Odvisno od razlicice izdelka, je napa namenjena trdni pritrdity na vertikalni steni nad plinskim ali elektricnim stedilnikom (kaminske in univerzalne nape); na stropu nad plinskim ali elektricnim stedilnikom (otočne nape); na vertikalni steni v pohistveni vgradnji nad plinskim ali elektricnim stedilnikom (telemskopske ali vgradne nape). Pred montažo je potrebno preveriti, ce je konstrukcija
stene / stropa primerna za instalacijo nape. Nekateri modeli nap so zelo težki.
- Visina montaže izdelka nad elektronsko plošćo je podana v podatkovni kartici izdelka (tehnici specifikaciji izdelka). Ce je pri navodilih za instalaciono plinskih izdelkov podana večja razdalja, je to treba upostevidi (Slika 1).
- Pod kuhinjsko napo ne smete pustiti odprtega plamena, med odomikanjem posod iz štedilnika pa je potrebno ogenj zmanjsati na minimalni plamen. Vedno je potrebno preveriti, da plamen ne sega prek posode, saj to lahko povzroci neželeno izgubo energije in nevarno koncentracijo toplote.
- Jedi kuhane na mascobi morajo biti pod stalnim nadzorom, saj se lahko pregreta mascoba hitro vname.
- Pred vsakrsnim ciscenjem, zamenjavo filtra ali pred zaacetkom popravljalnih del, je potrebno vtikač izklopiti iz vticnice.
- Maščobni filter kuhinjske nape je potrebno Čistiti vsaj enkrat mesećno, są se lahko filter, ce je prežet z mašćobo, hitro vname.
- Ce se v prostoru poleg nape uporablja druge naprave brez elektricnega napajanja (npr. peci na tekoca goriva, pretočni grelniki vode, grelniki vode na plin) je potrebno zagotoviti zaostno ventilacijo (pritok zraka). Varna uporaba je možna, kadar pri istocasnom delovanju nape in naprav na kurjavo, odvisnih od zraka v prostoru, na mesti instalacije teh naprav zračni tlak znaša najvec 0,004 milibara (ta točka ne velja, kadar je uporabljana obtočna kuhinjska napa).
- Napa ljudem v kuhinji ne sme sluziti kot povrsina za oporo.
- Napa mora biti redno ciscena, takozunaj kot tudi znotraj (VSAJ ENKRAT MESECNO, z upoštevanjem napotkov, ki se tičejo vzdřeovanja iz spodnjih navodil). Neupoštevanje pravil, ki se tičejo cisceni ja nape oziroma menjave filtrov, lahko povzroci možnost nevarnosti požara.
- Ce se poškoduje napajalni kabel, mora biti zame
njan v specializiranem servisu za popravila.
- Potrebno je zagotoviti możnost izklopa naprave od elektricne napeljave, bodisi z odklopom vtikacka ali izklopom dvopolnega stikala.
- Naprava ni namenjena uporabi za osebe (tudi otroke) z omejeno fizicno, senzorićno ali psihićnozmogljivostjo, ali osebam s pomanjkanjem izkusenj ali poznavanja naprave, razen ce se to počne pod nadzorom ali v skladu z navodili uporabe naprave, ki jih podaja oseba, ki je odgovorna za njihovo varnost.
- Se posebej je potrebno paziti, da otroci brez nadzora ne uporabljajo naprave.
- Preveriti je potrebno, ce napetost podana na znakovni tablici odgovarja parametrom napajalnegamesta.
- Pred montažo je elektrčni prevodnik potrebno razviti in poravnati.
- Embalažna materiale (polietilenske vrečke, kose polistirena, itd.), je treba pri razpakiranju hraniti izven dosegā otrok.
- Vedno preden napo povežemo je potrebno preve-riti, ce je bil napajalni kabel pravilno namescen in NI bil v teku montaze prescipnjen ali prepognjen. Ne povezujte naprave z elektricno napeljavo pred koncem montaze.
- Uporaba nape brez montaže aluminijastih mascobnih filtrov je prepovedana.
- Pod napo je strogo prepovedana priprava Jedi za uporabo odprtega ognja (flambiranje).
V'teku namescanja tehnicnih sredstev in sredstev odtoka dima in hlapov, ki se ticejo varnosti, se je potrebno natancno drzati navodil, ki jih podajajo odgovorne lokalne oblasti.
Vijaki ali utrjevalni elementi, ki niso pritrjeni v skladu s temi navodili, lahko povzrocijo nevarnost.zdravju aliŽiviljenju.
Viseče nape delujejo le v obtočnem načinu odstranjevanja yonjav - POZOR! Če pri montaži vijakov in pritrdilnih elementov ne upostevate teh navodil, obstaja nevarnost elektricnega udara.
RAZPAKIRANJE

Naprava je bila za Čas transporte za-scitena pred poskodovanjem. Prosi-mo, da po razpakiranju naprave od-stranite elemente embalaze na naacin, ki ne ogroza okolja.
Vsi materiali, uporabljeni za embalazo, so okolju prijazni, v celoti jih je mozno reciklarati, kar je označeno z
ustreznim simbolom.
Pozor! Embalažna materiale (polietilenske vrečke, kose polistirena, itd.), je treba pri razpakiranju hraniti izven dosegā otrok.
ODSTRANJEVANJE IZRABLJENIH NAPRAV

Ta naprava je označena skladno z evropsko direktivo 2012/19/EU. Taka oznaka obvesca, da se zadevne opreme po odrabi ne sme odlagati skupaj z drugimi gospodinjskimi, odpadki.
odpadkov, v tem lokalna zbirna mesta, trgovine in obcinske enote, tvorijo ustrezni systemd, ki omogoca sprejem te odrabljene opreme.
Ustrezno ravnanje z odpadno elektricno in elektron-sko opremo pomaga prepreci t zdravju ljudi in stanju naravnega okolja skodljive posledice, izhajajoce iz prisotnosti v nnej nevarnih sestavin in iz neustreznega skladiscenja in predelave take opreme.
UPORABA
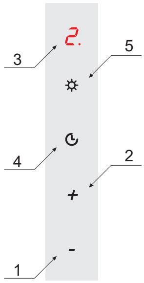
Upravljalni panel kuhinjske nape je predstavljen na sliki 3, za dodatno priptomnjenje pa se nahaja tudi spodaj:

Panel za upravljanje
Ta je opremljen s senzoričnim panelom. Da bi vkljucili izbrano funkcijo, se dotaknite enega izmed spodnjih polj:
1- Zmanjsa hitrost motorja za eno stopnio
2- Poveča hitrost motorjá za eno stopnjo
3-Ekran, ki kaze izbrano hitrost. Napa je opremljena s 3 ali 4 hitrostmi (odvisno od modela).
4-Funkcija zakasnitve izklopa nape (Timer)
Vklop ali izklop osvetlitve. Osvetlitev dela neodvisno od motorja nape.
Mogoce nastavitve hitrosti:
- Najnizja hitrost (1). To hitrost uporabite pri majhni kolicini kuhinjskih izparin.
- Srednje hitrosti (2 afi 3*). To hitrost uporabite pri srednji kolicini kuhnjskih izparin, na primer pri kuhanju vec jedi hkrati.
-
Najniżja hitrost (4). To hitrost uporabite pri najvecji kolićini izparin, na primer med praZenjem ali uporabo zara.
-
Ovisno od modela
Timer (zakasnitev izklopa hitrosti nape)
Ta funkcija je namenjena zakasnjenemu izklopu motorja nape. Uporabite to funkcijo po koncu kuhanja, da ocistite zrak v prostoru izpartin. Maksimalni cas zakasnitve je 90 minut. Da bi vklopili to funkcijo, se med delovanjem nape na doloceni hitrosti dotaknite senzorja G. Na ekranu začne utripati številka D. Nato s senzorji + ali - izberitecas zakasnitve izklopa v razponu 1-9 (vsaka stopnja doda 10 minut, na primer ce izberete številko 2, zakasnitev znaša 20 min, ce izbereteštevilko 5, zakasnitev znaša 50 min itd.). Ponomno se dotaknite senzorja, G da aktivirate funkcijo. Pravilna nastavitev casa zakasnitve izklopa bo signalizirana z utrianjem pike pri številki na ekranu. Da bi izklopili funkcijo zakasnitve prej, se dotaknite senzorja G. Nato se senzorjem -zmanjsajte cas zakasnitve do nic. Potrdite brisanje zakasnitve izklopa nape s senzorjem G. Funkcija zakasnitve izklopa nape ne povzroci izklopa osvetlitve.
Child Lock (starševska blokada)
Napa je opremljena z blokado upravljanja. Ta funkcija je še posebej uporabna med ciscenjem stekla nape. Da bi vklopili ali izklopili blokado, držite senzor priblizno 3 sekunde.
Druge pomembne informacije glede navodil za uporabo nape
Delovanje v obtočnem načinu: Pri tej opciji se prefiltriran zrak vráča v prostor prek za to namenjenih odprtin. Pri tej nastavitvi je potrebna montaža filtrna na osnovi aktivnega olja oziroma se priporoča montaža usmerjevalnika izpihavanja zraka (dostopnost odvisna od modela, najpogosteje nastopa pri kaminskih napah).
Delovanje odzračevanja: Med odzračevalnim načinom delovanja nape se zrak odvaja ven prek posebnega odvoda. Pri tej nastavitvi je potrebno eventualno odstraniti filter na podstavi aktivnega oglja. Napa je povezana z odvodno cevjo, ki zrak odvaja ven s pomocjo trdne ali elastićne cevi premera 150 ali 120 mm in primernih objemk za cevi, ki jih je potrebno kupiti v prodajalnah z instalacijskimi materiali. Povezavo mora narediti kvalificiran instalater.
Hitrost ventilatorja Najnizja in srednja hitrost se uporablja pri normalnih pogojih oz. pri majhni količini dima, najvisja hitrost pa nj se uporablja le pri veliki količini kuhinjskih dimov, npr. ob cvrtju ali prazenju.
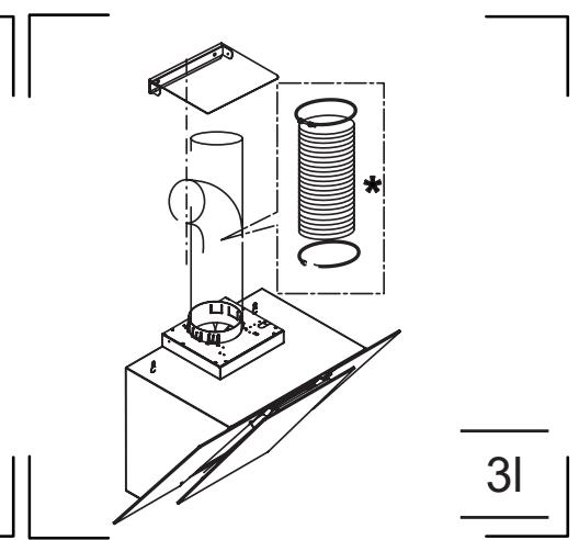
Pozor (tǐcě se le univerzalnih nap): Struktura univerzalnih nap zahteva ročno zamenjavo načina delovanja nape. Način spremembe tega načina je ilustriran na sliki 8.
Pozor (tice se le vgradnih in teleskopskih nap): Vgradne in teleskopske nape, ki delujejo v obtočnem načinu zahtevajo montažo odtočne cevi za zrak. Drug konec cevi mora biti usmerjen v prostor, prek te se bo odvajal prefiltriran zrak.
Pozor: Viseče nape delujejo le v obtočnem načinu.
ČIŠÇENJE IN VZDRŽEVANJE
Vzdrževanje
Redno vzdrrzechanje in cischenje naprave zagotavlja dobro delovanje nape brez okvar in podaljsa njeno ziviljenjsko dobo. Potrebno je biti posebej pozoren, da se maschobni filter in filter z aktivnim ogljem cisti inmena v skladu s priporocili proizvajalca.
- Ne uporabljaje mokrih krp ali gobic, niti vode.
- Ne uporabljaje topil ali alkohola, saj lahko ti povzrocijo, da polakirana povrsina postane matirana.
- Predvsem za ciscenje povrsine izdelane iz nerjavecega jekla ne uporabljaje korozivnih snovi.
- Ne uporabljajte trde, grobe krpe
- Priporoça se uporaba vlaze krpe ali razlichnih sredstev za pomivanje.
Pozor: Po nekaj pranjih v pralnem stroju se lahko barva aluminijastega filtrà spremeni. Spremembara barve ne pomeni nepravalnosti, niti ne zahteva zamenjave filtrà.
Maščobni filter
Aluminijasti maščobni filter mora biti pri normalnem delovanju nape očišćen v pomivalnem stroju s pomoćjo nežnegā detergenta ali tekćega mila.
Demontaža aluminijastega maščobnega filtr je prikazana na sliki 5.
Pri nekaterih modelih je namešćen akrilni filter. Potrebno ga je menjati vsaj enkrat na dva meseca ali pogosteje vprimeru izjemno intenzivne uporabe.
Ogleni filter
Filter z aktivnim ogljem se nameska izključno takrat, kadar napa ni povezana z ventilacijskim odvodom. Filter z aktivnim ogljem absorbira vonjave vse do zaicenosti. Ni primeren za umivanje, niti za obnovitev in mora biti zamenjan vsaj na dva meseca ali pogosteje v primuru izjemno intenszivne uporabe.
Demontaža maščobnega filtrz aktivnim ogljem je prikazana na sliki 6.
Osvetlitev
Namestiti je potrebno Žarnice / halogenske Žarnice / diodne module takšnih parametrov, kakršni so pri tistih,ki so bili v napravo namesceni tovarniško. Zamenjava luči je prikazana na sliki 7. Ce slika ne obstaja v navodilij za uporabo, se zamenjava modula osvetlitve lahko izvede le pri pooblascenem servisu.
GARANCIJA, POPRODAJNE STORITVE
Garancija
Garancijske storitve skladno z garancijskim listom. Proizvajalec ne odgovarja za morebitno škodo zaradi nepravilnegara ravnanja z izdelkom.

Proizvajalec izdelka priporoča, da vsa popravila in regulacijske dejavnosti izvaja tovarniški servis ali servis, ki je avtoriziran od proizvajalca. Popravilo nj izvajajo zgolj osebe s pravimi kvalifikacijami.
Izjava proizvajalca
Proizvajalec s tem izjavlja, da ta izdelek izpolnjuje temeljne zahteve spodaj navedenih evropskih direktiv:
- nizkonapetostne direktive 2014/35/UE
- direktive o elektromagnetni združljivosti 2014/30/UE
- direktve o okoljsko primerni zanovi 2009/125/ES
- direkt o RoHS 2011/65/ES
in zato je bil izdelek označen z C€ oz. je bila zanj izdana uredba o skladnosti, ki je na voljo organom, ki nadzorujejo trg.














Amica S.A.
ul . Mickiewicza 52 / 64- 510 Wronki
tel. 67 25 46 100 / fax 67 25 40 320
www.amica.pl
Amica International GmbH
Lüdinghauser Str. 52
D-59387 Ascheberg
Tel: 0 25 93 - 95 67-0
www.amica-group.de
LahkaNavodila