KH17178E - Kuchyňský odsavač par AMICA - Bezplatný návod k obsluze
Najděte návod k zařízení zdarma KH17178E AMICA ve formátu PDF.
Stáhněte si návod pro váš Kuchyňský odsavač par ve formátu PDF zdarma! Najděte svůj návod KH17178E - AMICA a vezměte svůj elektronický přístroj zpět do rukou. Na této stránce jsou zveřejněny všechny dokumenty potřebné k používání vašeho zařízení. KH17178E značky AMICA.
NÁVOD K OBSLUZE KH17178E AMICA
Kitchen extractor hood / kaminhaube / kuchynského odsavače / kuchynského odsávača / Hotte aspirante / Afzuigkap / Kuhinjska napa / Kuhinjska napa

KH 17179 E / KH 17178 E /
KHF 683 600 Gy
poćinaje dnesním dnem jsou každodenní povinnosti\ jednoduší než kdykoli jindy. Zařizení Amica je spoje- ním výjimečné snadné obsluhy a vynikající efektivity. Po prečtení námodu nebudete mít problém s obslu- hou.
Zařazení, které opustilo továnu, bylo důkladné zkontrolováno prěd zabalením z hlediska bezpečnosti a funkčnosti na kontrolnéch stanovišťich.
Před uvedením zařizení do provozu si pozorně prěčěte námovd k obsluze. DodržovánlémPokynů uvedených v námodu prědejdete nasprávnému používání. Námovsi ponechejte a uschovejte tak, abyste jej měli vždy pri ruce.
Dodržujte prěsne námod k obsluze, abyste zabránili nešťastnám událostem.
Suctou
Amica
BEZPEČNOSTNÍ POKYNY
- Odsavač používejte teprve po prěctení tohoto návodu!
- Zařízení je určeno výlučné pro domáci použití.
- Vyrobce si vyhrazuje możnost provaděni zmen, které nemají vliv na funkćnost zarizení.
- Vyrobce něnese zădnou odpovednost za eventuální skody nebo požár, zpúsobné zarizením, vyplývajíci z nedodržoványPokynu uvedenych v tomto navodu.
Kuchynsky odsavač slouží k odstražováni kuchynskych výparů. Nepoužívejte jej pro jiné učely. - Odsavač pracujíci v odtahověm režimu napojte na príslušné ventiláčnékanál (nenapojuje na kominovie, kourovie nebo spalinove kanály, které jsou v provozu). Odsavač musí mít namontováné potrubi odvádejíci vzduch ven. Delka potrubi (nejcastěji roura Ø 120 nebo 150 mm) nesmí byt delsí než 4–5 m. Potrubi odvádejíci vzduch se rovněž vyžadujé u teleskopických a nábytkovych odsavaču v režimu pohlcovace.
- Odsavač pracujíci jako pohlcovač vyžaduje filtr s aktivním uhlím. V tomto prípadě není nutné montáž potrubi odvádejíciho vzduch ven, zato se doporučuje namontovat zpětnou klapku vzduchu (pouze kominové odsavače).
- Odsavač má nezávislé osvětlení a odtahový ventilátor s možností nastavení"Juste z několika rychlostí otáček.
V závislosti na verzi zařizení je odsavač určen pro trvalé pripevněni na svislou stenu nad plynový nebo elektrický sporák (kominove a univerzálné odsavač); na strop nad plynový nebo elektrický sporák (ostruvkove odsavač); na svislou stenu v kuchynské lince nad plynový nebo elektrický sporák (teleskopické a vestavné odsavač). Préd montáží se ujistěte, ze konstrukce stěny/stropu
udrží hmotnost odsavače. Některé modely odsavaců jsou velmi težké.
- Montăžní výška zařizení nad elektrickou deskou je uvedena v technickém lista (technické specifikaci zařizení). Pokud v montăžnich námodech plynovych zařizení je uvedena větův zydálenost, zohlednéte to (Obr. 1).
- Pod kuchyński ośsavoćem nenechávejte otevřeny plamen pri sundávány nadobí z horák, našavte minimálné plamen. Vždy zkontrolujte, zda plamen nepresahuje pres okraj nadoby, protoze to zpusobujé nežádouci ztráty energia a nebezpečnou koncentraci tepla.
- NaPokrmy pripravovane na tuku neustale dohligeje, protoze rozehrát yuk se muze snadno vznitit.
- Pred každým Čištením, výměnou filtru nebo prěd zahájením opravy vyjměte zástrčku zařizení ze zásuvky.
- Protitukový filtr do kuchyneyského odsavoče Čistěte alespón"Justnou za měsíc, protoze nasáknutý tukem je lehce hořlavý.
- Pokud jsou v mistristosti v provozu kromě odsavace jina zarizení s neelektrickým napajením (napr. kamna na kapalné palivo, prutokové ohrivace, termy), zajistěte dostatečné větrání (privod vzduchu). Bezpečné používani je myožné, když pri soucasném provozu odsavace a spalovacích zarizení, závislých na vzduchu v mistristosti, je v mistré postavení těchto zarizení podtlak nanejvyš 0,004 milibaru (tentó bod neplatí, pokud kuchynský odsavac používáte jako pohlcovac pachu).
- Odsaváč něma sloužit jako plocha pro opřeni se osob nacházejících se v kuchyni.
- Okap Často Čistěte jak z vnéjsku, tak i uvnitr (ALE.SPON JEDNOU ZA MESIC, s dodržením tokynu ohledné udrzby uvedenych v toto námodu). Nedodržováni zasać týkajćich se Čistěné odsavace a vyměny filtru zpúsobuje nebezpečí požáru.
-
Pókud še napajeci kabel poškodi, musi byt vyměnen ve specializovaném servisu.
-
Zajistete możnost odpojení zařizení od elektrického napajeni vytażením zăstrčky nebo vypnutím dvoupólového vypinače.
- Toto zarizeni neni prizpusobeno pouzivanis osobami (vcetne deti) s omezenou fyzickou, smyslovou nebo psychickou schopnosti nebo osobami s nedostatechnymi zkuosenostmi a znalosti zarizeni, ledaze jej pouzivaji pod dohledem nebo v souladu s navodem k pouzivanis zarizeni, predanym osobami zodpovidajicimi zajejich bezpecnost.
- Všimejte si pozorno, aby zarizení nepoužívaly deti ponechané bez dozoru.
- Zkontrolujte, zda napěti uvedené na vyrobním stitku odpovidá mistrém parametrum napajeni.
- Pred montaži roztahnete a vyrovnejte sitovy kabel.
- Obalové materiały (polyetylenové sáčky, pěnový polystyren apod.) nenechávejte pri vybalování v dosahu deti.
- Před pripojením odsavače k elektrickému napájení vždy zkontrolujte, zda je sítový kabel spravně nainstalován a zda NEBYL primačknuty odsavacěm pri montáži. NEPRIPOJUJTE zařizení k elektrické siti prěd ukončením montáže.
- Je zakázáno používat odsavač bez namontovanych hliníkovych protitukovych filtrů.
- Prísně je zakázáno, pripravovat pod odsavačemPokrmy na otevřeném ohni (flambování).
V rámci nutnosti použité technickych a bezpeč-nostnich opatřeni týkajících se odvaděné spalin dodržujte présne predpisy vydané kompetentními mistrényi orgány.
Neutażeni srgubu a upevnovacich prvku podletechtoPokynu muze vest k ohrożeni zdravá a zi-vota. - Závesné odsavače funguji pouze v režimu pohl-covace pachu
- POZOR! V pripadé chybějćí instalace šroubů a uchytnych. prvku dle pokynu uvedených v totom námovodu můze dojít k vzniku nebezpecí elektrické povahy.
VYBALENÍ

Zařízení bylo po dobu prepravy za-bezpecenço proti poskozeni. Po vybaleni zarizení odstrante casti obalu zpusobem, který neohrožujuživotné prostředí.
Vsechny materiallyy pouzite na obal jsou stoprocentne neskodne pro ziyotni prostredi a jsou vchodne pro zpetné označeny prislusnám symbolem.
Upozorneni! 'Obalové materialy (polyetylenové sáčky, penový polystyren apod.) nenechavejte pri vybaloványí v dosahu deti.
LIKVIDACE OPOTřEBOVANYCH ZARÍZENÍ


Toto zarizeni je označeno v souladu s evropskou smernici 2012/19/ES. Takove označeni znamena, ze toto zarizeni se po ukonçeni zivotnosti nesmi vyhazovat společné s jiným domacnim odpadem.
Uživatel je povinen odevzdat jej do sběrnny použitych, elektrickych a elek
tronickych zarizeni. Provadejici sber, vctne, mistnich sberen, obchodu a obechnich uradu, tvori system umoznujici odevzdavani techtto zarizeni.
Prisluşne nakladani s použitymi elektrickymi a elektronickymi zarizenimi zabranuje negatiyím námledkum pro lidské zdravá zivotné prostředi, vznikajćim z pritomnosti nebezpečnych složek a nespravněho skladovani a zužitkovani takovych zarizeni.
OBSLUHA
Ovladani odsavače
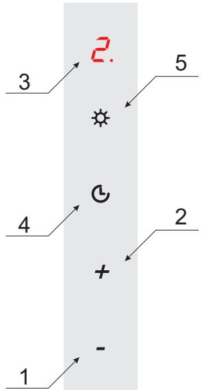
Ovladaci panel odsavače je znázorněn na obrázku 4, pro pripomenutí nacházi se také nizé:

Ovládácí panel
Je vybaven senzorovym panelem. Chcete-li zapnout vybranou funkci, dotknete se jegnoho z nize uvedenych poli:
1- Snizije rychlost motoru o uroven nize
2-Zvysuje rychlost motoru o uroven vse
3- Displej zobrazujícy vbranou rychlost, Odsavč je vybaven 3 nebo 4 rychlostmi (v závislosti na modelu).
4-Funkce opozdeného vypnuti odsavace (casovač)
5- Zapnuti nebo vypnuti osvétleni. Osvétleni funguje nezávisle na motoru odsavourc.
Rychlosti moźne pro nastaveni:
- Nejnižs rychlost (1). Tuto rychlost používejte prí malém množstvi pary.
- Střední rychlosti (2 a 3). Tuto rychlost používejte pri středgim množstvi pary, napriklad pri varěnévicePokrmu jnejvodn.
- Nejvyssi rychlost (4). Tuto rychlost pouziveje pri nejvetsim mnozstvi pary, napriklad pri smazeni nebo grilovani.
V závislosti na modelu
Časovač (opožděné vypnutí motoru odsavače)
Tato funkce sloužík opožděnému vypnuti motoru odsavače. Tuto funkci použijte po ukončeni vareni, abyste očistili vzduch v mistnosti od vyparu. Maximálni doba opožděni je 90 minut. Pokud chcete zapnout tutu funkci, dotkněte se během provozu odsavačs s libovolnou rychlosti senzuro. Na displeji začnéblíkat cislice D. Pak pomoci senzoru + a - vyberte cas opožděného vypnuti v rozsahu 1-9 (kazda uroven pridávy 10 minut, napřilad pri vyberu cislice 2 bude prodleni cinit 20 min., pri vyberu cislice 5 bude prodleni cinit 50 min. atd.). Dotkněte se opét senzoru, abyste aktivovali funkci, Spravné nastaveni casu opožděného vypnuti bude indikovat blíkani tečky u cislice na displeji. Chcete-li vypnout funkci opožděného vypnuti drive, dotkněte se senzuro. Pak senzorem - snizte cas prodleni na nulu. Potvrde stornovani opožděného vypnuti odsavače senzorem. Funkce opožděného vypnuti odsavače nezpúsobí vypnuti osvětlení.
Child Lock (rodičovská pojistka)
Odsávač je vybaven rodičovskou pojistkou. Tato funkce je zejměna vchodná prí cisětěni skla odsavace. Chcete-li zapnout nebo vypnout pojistku, pridržte asi na 3 sekundy senzor G.
Jiné dûležité informace o obsluze odsavače
Provoz jako pohlcovač: V tomto provozním režimu se prefiltrovány vzduch vraci zpět do mistrnosti k tomu prizpúsobenymi otvory. Pri tomto nastavení naintalujte uhlíkový filtr a doporučuje se montáž zpětné vzduchové klapky (dostupnost v závislosti na modelu, vyskytuje se hlavně v komínovych odsavacích).
Provoz jako odtah: Během odtahového provozniho režimu odsavače je vzduch odváden vné speziálním potrubím. Při totom nastavení odstrănty eventuálné uhlíkový filtr. Odsavač je pripojen k otvoru odvádejícímu vzduch ven pomoci tuhého nebo pružného potrubí o prüměru 150 mm nebo 120 mm a vchodnéch svorek k potrubím, které je třeba zakoupit v prodejnách s instalacném materiálem. Pripojení svěrte kvalifikovanému pracovníkovi.
Rychlost ventilatoru: Nejnižsí a střední rychlost používejte za normalnich podmínek a pri nízké koncentraci vyparu, zatímco nejvyší rychlost používejte pouze pri vysoké koncentraci kuchynských vyparu, napr. pri smaženi nebo grilováni.
Poznámka (tyká se pouze univerzálnéch odsavac): Konstrukce univerzálnéch odsavacу vyzaduje manuálnézměnu provozního režimu odsavace. Zpúsob změny tohoto režimu je znázorněn na obrázku 8.
Poznámka (tyká se pouze nábytkovych a teleskopickych odsavač): Nábytkové a teleskopické odsavoče pracují jeko pohlcovac vyžadují montaž roury odvádejíc vzduch. Druhý konec roury nasměrujte do mistnosti, rourou bude odváden滤rovany vzduch.
Upozornéni: Závesné odsavače pracují pouze jako pohlcovač.
ČISTENÍ A UDRŽBA
Udrzba
Pravidelná udrzba a pravidné Čišěni zařizení zajistí správný a bezporuchový provoz odsavace a prodlouží jehoŽivotnost. Věnujte zvlástné pozornost tomu, aby se protitukový filtr a filtr s aktivním uhím Čistily a měnily podlePokynú výrobce.
- Nepoužívejte navlhcené hadríky nebo houby a také proud vody.
- Nepoužívejte Rozpoustédla a alkohol, protoze by mohly zmatnit lakované povrchy.
- Nepoužívejte leptavé látky, zejmána na Čišění povrchů z nerezové ocelji.
- Nepoužívejte tvrdy, drsný hadřík.
- Doporučujě se používat vlhák hadřík aneutralní cistíci prípravky.
Upozorněni: Po několika mytích v myčce se muže změnit barva hliníkového filtru. Změna barvy neznamená odchylku a nutnost jeho výměny.
Protitukový filtr
Hliníkový protitukový filtr Čistěte jegnou za měsídě během normánlího provozu odsavoče, v myčce nebo ručné jemnám Čisticím prípravkěne nebo tekutým mydlem.
Demontáž hliníkového protitukového filtru je znázorněna na obrázku 5.
U některych modelů se používa akrylový filtr. Měnte jej alesponůjédnou za dva měsíce nebo Častěji v prípadě vyjimečné intenszivního používání.
Uhlíkový filtr
Uhlíkový filtr používejte pouze v prípadě, když odsavač není prípojen k ventiláčnímu kanálu. Filtr s aktivním uhlím ma schopnost pohlcovat pachy až do svého nasycení. Neni vhodné také k mytí a regeneraci a musí se měnit alespón"Justou za dva měsíce nebo Častěji v prípadě vyjimečné intenszivního používání.
Demontáž uhíkového filtru je znázorněna na obrázku 6.
Osvětlení
Používejte Žárovky / halogeny / diodové moduly se stejnám parametry jaku u púvodnich namontovanych v zařizení. Výměna Žárovec je znázorněna na obrázku 7. Pokud obrázek není v tomto navodu, výmenu osvetlovacího modulu může prověst pouze autorizovány servis.
ZÁRUKA, POPRODEJNÍ SERVIS
Záruka
Záručni plnéni podle záručniho lista. Vyrobce neodpovída za zháné škody zpúsobene nesprávným zacházeníms vyrobkem.

Vyrobce zařizení doporučuje, aby věsechny opravy a serizováci Činnosti provaděl tovární servis nebo autorizovaný servis vyrobce. Opravy musí provadět pouze osoba s príslušnou kvalifikaci.
Prohlášeni výrobce
Producent tímtó prohlasujé, Že tento vyrobek splnuje základní požadavky nizě uvedenych evropskych smernic:
směrnice pro nízkonapětová zařizení 2014/35/EC
- směrnice o elektromagnetické kompatibilité 2014/30/EC
směrnice ErP - 2009/125/EC
směrnice RoHS 2011/65/EC
a proto byl spotbrebi označen C e a také bylo pro něho vystaveno prohlášeni o shodě poskytovane organum pro dohled nad trhem.
Vázěný zákazník
Dókladne dodržiavajte poukny a odporučania uvedeni v príručke, vyhnete sa tak nestăstnám nahodám Či urazom.
Suctou
Amica
BEZPEČNOSTNÉ POKNYPOUŽÍVANIA
1-Znizenie rychlosti motora o{jednu uroven dole
2-Zvyşenie rychlosti motora o{jednu uroyen hare
3- Displej zobrazujuci aktualne nestavenu rychlost. Odsavoč má 3 alebo 4 rychlosti (závisi od daného modelu).
4-Funkcia'oneskoreného vypnutia (casovač)
5- Zapinanie/vypinanie osvetlenia. Osvetlenie funguje nezávisle od motora odsávača.
Dostupné rychlosti motora (odsávania):
Najnizsia rychost (1). Tuto rychost pouzivajte, kad sa nevytvara prilis vela pary.
- Stredna rychlost (2 a 3 ), Tuto rychlost použivajte, ked' sa vyvtara stredne veilk'mngstvo pary, napr. pri vareni niedolkych jegál suciase.
- Najvyssia rychlost (4^) . Tuto rychlost pouzivajte, kad sa vytvara veIke mnozstvo pary, napr. pri vyprazani ci grilovani.
* Závisí od daného model
Detská zámka (angl. Child Lock)
Pozor: Po niedol'k'ych umytiach v umyvačke riadu sa farba hliníkového filtra (mriežky) može zmenit. Taka zmena farby neznamená, ze filter nefunguje správné, a ze sa musí vymenit.
Protitukovy filter
Demontáž hliníkového protitukového filtra je znázornená na obrázku Č. 5.
Pri niedtorych modeloch je pouzity akrylovy filter. Musi byt vymeneny aspon raz za 2 mesiac, alebo castejsie v priade velmi intenzivneho pouzivania.
Uhlíkový filter
Demontáž uhíkového filtra je znázornená na obrázku 6.
Osvetlenie
Záruka sa poskytuje podla podmienok uvedenych v záručnom liste. Výrobca neodpovedá za akékolvek škody spösobene nesprávnym zaobchodzanim a použivaním vyrobku.

SnadnýManuál