MO28EGBL - MOULINEX - Notice d'utilisation et mode d'emploi gratuit

Retrouvez gratuitement la notice de l'appareil MO28EGBL MOULINEX au format PDF.

Page 126
Asistent návodu
Powered by ChatGPT
En attente de votre message
Informations produit

Marque : MOULINEX

Modèle : MO28EGBL

Téléchargez la notice de votre au format PDF gratuitement ! Retrouvez votre notice MO28EGBL - MOULINEX et reprennez votre appareil électronique en main. Sur cette page sont publiés tous les documents nécessaires à l'utilisation de votre appareil MO28EGBL de la marque MOULINEX.

NÁVOD NA OBSLUHU MO28EGBL MOULINEX

RÉGLER LA DURÉEFR-13 UTILISER LES PROGRAMMES AUTOMATIQUES FR-14 CUISSON AUTO FR-14 DÉCONGÉLATION AUTO FR-16 UTILISER LES FONCTIONS MANUELLES FR-16 ENTRETIEN ET NETTOYAGEFR-20 SPÉCIFICATIONSFR-21 DÉPANNAGE FR-22

™ Cet appareil peut être utilisé par des enfants à partir de 8 ans et plus et par des personnes ayant des capacités physiques, sensorielles ou mentales réduites ou un manque d’expérience et de connaissances à condition qu’elles aient reçu une supervision ou des instructions concernant l’utilisation de l’appareil en toute sécurité et qu’elles comprennent les dangers encourus. Les enfants ne doivent pas jouer avec l’appareil. Le nettoyage et l’entretien par l’usager ne doivent pas être effectués par des enfants, sauf s’ils ont plus de 8 ans et qu’ils sont surveillés.

™ Si le câble d'alimentation est endommagé, il doit être remplacé par le fabricant, son service après vente ou des personnes de qualification similaire afin d'éviter un danger. ™ Ne pas utiliser de produits d'entretien abrasifs

.b ™ MISE EN GARDE: Il est dangereux pour quiconque autre qu’une personne compétente d’effectuer des opérations de maintenance ou de réparation entraînant le retrait d’un couvercle qui protège de l’exposition à l’énergie micro‐ondes. ™ MISE EN GARDE: Les liquides et autres aliments ne doivent pas être chauffés dans des contenants fermés hermétiquement car ils risquent d’exploser. ™ Le chauffage des boissons par micro‐ondes peut provoquer un jaillissement brusque et différé de liquide en ébullition, aussi des précautions doivent elles être prises lors de la manipulation du récipient. ™ N’utiliser que des ustensiles appropriés à l’usage dans les fours micro‐ondes. ™ Pendant le chauffage de denrées alimentaires dans des contenants en plastique ou en papier, garder un oeil sur le four en raison de la possibilité d’inflammation.

.b ™ Il n’est pas recommandé de chauffer les oeufs dans leur coquille et les oeufs durs entiers dans un four micro‐ondes car ils risquent d’exploser, même après la fin de cuisson. ™ Il est recommandé de nettoyer le four régulièrement et d’enlever tout dépôt alimentaire. ™ Si l’appareil n’est pas maintenu dans un bon état de propreté, sa surface pourrait se dégrader et affecter de façon inexorable la durée de vie de l’appareil et conduire à une situation dangereuse. ™ Lors de son utilisation, l'appareil devient chaud. Faire attention à ne pas toucher les éléments chauffants situés à l'intérieur du four. ™ Cet appareil n’est pas destiné à être mis en fonctionnement au moyen d'une minuterie extérieure ou par un système de commande à distance séparé. ™ La porte ou la surface extérieure peuvent devenir chaudes lorsque l'appareil fonctionne.

élevée lorsque l'appareil est en fonctionnement. ™ Appareil de groupe 2 Classe B Cet appareil est un appareil de Groupe 2 car il produit intentionnellement de l’énergie à fréquence radioélectrique pour le traitement de la matière et il est destiné à être utilisé dans un local domestique ou un établissement raccordé directement au réseau de distribution d'électricité à basse tension alimentant des bâtiments à usage domestique (Classe B) ™ Le four à micro‐ondes est prévu pour chauffer des denrées alimentaires et des boissons. Le séchage de denrées alimentaires ou de linge et le chauffage de coussins chauffants, pantoufles, éponges, linge humide et autres articles similaires peuvent entraîner des risques de blessures, d’inflammation ou de feu. ™ Laissez un espace libre minimale de 20 cm au‐dessus de la surface supérieure du four ™ Les détails pour nettoyer les joints de portes, les cavités et parties adjacentes, definie en page FR‐20‐21 dans la section de “ENTRETIEN ET NETTOYAGE”

électrique en sortant sa fiche de la prise électrique. ™ La fiche de l'appareil fait office de coupe‐circuit principal de l'appareil et doit donc rester accessible en permanence. ™ Le mécanisme de la porte du four à micro‐ondes comporte des verrous de sécurité qui stoppent la cuisson lorsque la porte n’est pas correctement fermée. Le four à micro‐ondes ne peut donc pas cuire si sa porte est ouverte. Le fonctionnement du four à micro‐ondes porte ouverte pourrait en effet provoquer l’exposition dangereuse à l’énergie des micro‐ondes. Il est important de ne pas modifier le mécanisme de verrouillage de la porte. ™ Veillez à ce qu’aucun liquide, eau ou autre, ne pénètre à l’intérieur du four par ses ouïes de ventilation. ™ Ne placez pas d’objet entre la face avant du four et sa porte. Veillez à ce que les salissures et les résidus de produit de nettoyage ne s’accumulent pas sur les surfaces d’étanchéité. ™ Évitez d’utiliser des récipients dont les bords sont verticaux et comportent un goulot étroit. ™ Mélangez les liquides à mi‐cuisson, puis remettez‐les dans le four à micro‐ondes pour effectuer la deuxième moitié de la cuisson. ™ Une fois la cuisson terminée, laissez‐les impérativement reposer, les mélanger ou les secouer, et vérifiez prudemment leur température avant de les consommer. ™ N’utilisez pas de nettoyant abrasif agressif, ni de tampon à récurer métallique agressif pour nettoyer le verre de la porte du four, car ceux‐ci risquent de rayer sa surface et le verre risque de se briser. ™ N’utilisez pas de nettoyeur vapeur.

Réglage du menu de cuisson auto

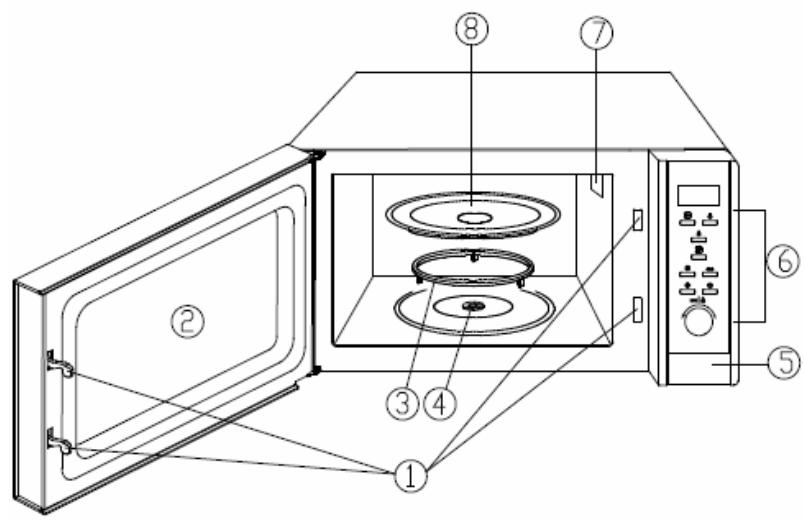
ACCESSOIRES Axe d’entraînement

Cette pièce se trouve au centre du four sous le plateau tournant. Elle est reliée au moteur et sert à entraîner le plateau tournant.

Bague support rotatif

Cette pièce doit être placée au centre du four sous le plateau tournant. Elle comporte des roulettes soutenant le plateau tournant et lui permettant de tourner.

• Sur un plan de travail : Posez l’appareil sur une surface plane et stable, capable de supporter son poids et celui de ce qu’il contient. Le four doit être manipulé avec soin. Gardez à l’esprit que le côté où se trouve le panneau de contrôle est le plus lourd.

• Encastré : La niche doit se trouver à 85 cm au minimum au‐dessus du sol. Centrez l’appareil dans la niche en sorte qu’il ne soit en contact avec aucune paroi. Il est essentiel de permettre une ventilation adéquate : Il doit y avoir un espace vide minimal de 20 cm au‐dessus du four et de 10 cm sur chacun de ses côtés, ainsi que derrière lui. Installez l’appareil loin de toutes les sources de chaleur, par exemple les fours traditionnels et les radiateurs. L’appareil a été conçu et testé pour être utilisé à une température ambiante maximale de 35°C. Veillez à ce que les ouïes de ventilation de l’appareil ne soient pas obstruées.

INSTRUCTIONS D’UTILISATION Les recommandations suivantes sont conçues pour vous aider à optimiser l’utilisation de votre four. Lisez‐les attentivement.

Votre appareil peut être utilisé pour décongeler, réchauffer et cuire des aliments FR-9

Pour éviter tout risque de brûlure, mélangez systématiquement les aliments et vérifiez soigneusement leur température avant de les servir – Cela est particulièrement important pour les aliments destinés aux enfants. Secouez fermement les biberons et versez quelques gouttes de liquide sur le dos de votre poignet pour en contrôler la température. Préparez les aliments à cuire Avant de réchauffer des biberons ou des petits pots, retirez‐en les tétines et les couvercles. Pensez à recouvrir les récipients pour éviter : • Les projections dans la cavité interne du four. • Éviter que les aliments ne se dessèchent. Chauffer des liquides Les liquides chauffés aux micro‐ondes peuvent se mettre brusquement à déborder après que vous ayez sorti le récipient les contenant du four. Cela est dû au fait que lorsque la température atteint le point d’ébullition, la vapeur tend à rester prisonnière dans le liquide jusqu’à ce qu’il soit remué. Pour vous prémunir contre le risque de brûlures dues à ce phénomène, mettez toujours une cuillère en plastique dans les liquides à chauffer.

• Essayer de cuire ou de chauffer des œufs encore dans leur coquille, des œufs durs avec ou sans leur coquille, ou des escargots – Ils risquent d’exploser.

• Essayer de cuire des aliments recouverts d'une coque intacte (par exemple des châtaignes) ou d’une peau dure (par exemple les tomates, les pommes de terre ou les saucisses) – Percez toujours leur peau.

• Si le récipient est froid, cela indique qu’il est « transparent » et peut être utilisé pour cuire aux micro‐ondes.

• Si le récipient est chaud ou brûlant, cela indique qu’il absorbe tout ou partie des micro‐ondes et ne doit donc pas être utilisé pour cuire aux micro‐ondes. N’utilisez jamais de récipient fermé hermétiquement Pensez à retirer les couvercles et les bouchons des biberons, des pichets, des bouteilles et des récipients en plastique. Récipients jetables Ne laissez jamais l’appareil en fonctionnement sans surveillance lors de l’utilisation d’un récipient jetable en plastique, en papier ou constitué d’un autre matériau inflammable. Si de la fumée apparaît, ouvrez la porte du four, laissez‐la ouverte et débranchez le four. Récipients métalliques N’utilisez jamais de récipient métallique. Vous pouvez, néanmoins, utiliser votre appareil pour chauffer ou décongeler certaines préparations contenues dans des plats métalliques, si la hauteur du plat, couvercle inclus, est inférieure à 4 cm. Respectez les instructions concernant le couvercle fournies sur l’emballage. Il doit être retiré ou laissé en fonction du type de plat. S’il n’y a pas d’indication, retirez‐le par sécurité. Centrez le(s) récipient(s) sur le plateau tournant en sorte que ses bords restent toujours éloignés de 1 cm au minimum des parois internes du four. S’il y a plusieurs récipients, espacez‐les de 2 cm environ.

Risque d’arcs électriques et de flammes.

Peut être utilisé pour bloquer l’humidité et

éviter les projections. Le plastique ne doit pas être en contact avec les aliments pendant la cuisson. Percez le plastique pour que l’excès de vapeur puisse s’échapper. Utilisez des maniques pour retirer le film plastique après la cuisson (faites attention à la vapeur brûlante s’échappant du récipient, car elle peut vous brûler). MATÉRIAUX DES RÉCIPIENTS JETABLES À NE JAMAIS UTILISER DANS LE MODE GRILL Emballages ou Oui Peuvent être utilisés pour chauffer des liquides FR-12

VERRE Verre résistant à la chaleur

Verre comportant des décorations métalliques (or, plomb, etc.) Verrerie fine

Ils risquent de s’enflammer.

Peuvent être utilisés pour chauffer des aliments ou les cuire brièvement.

tasses en polystyrène

S’il n’y a pas d’instruction précise, divisez par trois la durée de cuisson ou de réchauffage normale dans un four traditionnelle. Ne programmez pas une durée de cuisson plus longue que la durée nécessaire. Cela permet d’éviter de trop cuire les aliments ou de les enflammer. Temps de repos Les micro‐ondes agissent près de la surface et pénètrent dans les aliments jusqu’à 2 à 3 cm de profondeur une fois que les couches superficielles sont chaudes. La chaleur se répand par conduction à partir du centre des aliments, c'est‐à‐dire que les parties chaudes chauffent les parties encore froides. Laisser les aliments reposer après les avoir sortis du four à micro‐ondes est utile, car cela permet à la chaleur de se répandre depuis leur centre.

RÉGLER LA DURÉE Vous devez régler l’horloge après avoir branché ou débranché votre appareil d’une prise électrique.

Appuyez une ou deux fois sur la touche horloge.

• Vous pouvez sélectionner l’affichage de l’heure sur 12 h ou 24 h FR-13

Puis appuyez sur la touche horloge pour confirmer. • L’horloge est maintenant réglée.

UTILISER LES PROGRAMMES AUTOMATIQUES Lors de l’utilisation de l’un des programmes automatiques, tous les paramètres sont automatiquement calculés. Il vous suffit de saisir le type d’aliment et son poids pour que le four sélectionne automatiquement le mode, la puissance et la durée de fonctionnement appropriés.

Votre four comporte 2 types de programmes en fonction de l’action à réaliser : • CUISSON AUTO pour cuire • DÉCONGÉLATION AUTO pour décongeler

Si vous utilisez un programme automatique, vous ne pouvez pas modifier la puissance et la durée de fonctionnement.

Une fois la cuisson ou la décongélation terminée, le four sonne 4 fois et « End » s’affiche. CUISSON AUTO Programmes de cuisson automatiques 8 programmes sont disponibles :

• Le résultat de ces programmes de cuisson automatique dépend de facteurs tels que les fluctuations de la tension, la forme et la taille des aliments, vos préférences personnelles

(degrés de cuisson) et même la manière dont vous avez placé les aliments dans le four. Si le résultat de la cuisson ne vous satisfait pas, modifiez légèrement la durée de cuisson en conséquence.

épluchez-les et coupez-les en 2 ou 3 morceaux égaux avant la cuisson.

Placez les aliments au centre du plateau tournant, puis refermez la porte du four. Sélectionnez le type d’aliment en tournant le bouton rotatif dans le sens contraire des aiguilles d’une montre jusqu’à ce que le numéro correspondant au type d’aliment à cuire soit affiché. • Le numéro du programme s’affiche sur l’écran, ainsi que l’indication

Sélectionnez le poids en appuyant sur la touche de réglage du poids.

• Le poids avec le symbole « G » ou le nombre de tasses s'affiche à l'écran.

Appuyez sur la touche démarrer.

• Le four démarre la cuisson pour la durée la plus appropriée aux aliments à

Appuyez sur la touche démarrer.

• Le four démarre la cuisson pour la durée la plus appropriée aux aliments à

UTILISER LES FONCTIONS MANUELLES Vous pouvez utiliser votre four à micro‐ondes pour cuire, réchauffer ou décongeler toutes sortes d’aliments. Contrairement aux programmes automatiques, vous devez dans ce mode régler manuellement le mode, la puissance et la durée de fonctionnement du four.

1 mode de cuisson est disponible : Micro – Cuisson aux micro‐ondes

Le mode de cuisson ne peut pas être modifié pendant la cuisson.

Une fois la cuisson ou la décongélation terminée, le four sonne 4 fois et « End » s’affiche.

MODE MICRO (micro‐ondes uniquement)

Utilisez ce mode manuel pour cuire, réchauffer ou décongeler des aliments. Placez les aliments au centre du plateau tournant, puis refermez la porte du four. Réglez la puissance en appuyant le nombre de fois nécessaires sur la touche de réglage de la puissance.

Le four démarre la cuisson et la poursuit pendant la durée programmée.

DÉCONGÉLATION EXPRESS Utilisez ce mode pour décongeler rapidement des aliments.

Placez les aliments au centre du plateau tournant, puis refermez la porte du four.

Appuyez sur la touche de décongélation express.

Réglez la durée de décongélation avec le bouton rotatif. • La durée de décongélation s’affiche. La durée de cuisson maximale programmable dans le mode de décongélation express est de 45 minutes.

Appuyez sur la touche démarrer.

• Le four démarre la cuisson et la poursuit pendant la durée programmée. FR-17

La durée de cuisson maximale programmable dans le mode micro‐ondes est de 95 minutes.

La puissance s’affiche sur l’écran, ainsi que le symbole « % » et le symbole du mode de cuisson aux micro‐ondes.

• Le four commence automatiquement à cuire à la puissance maximale

pendant 30 secondes.

Appuyez une deuxième fois sur la touche « Démarrer et Cuisson Express » pour accroître la durée de réchauffage de 30 secondes et atteindre 1 minute. Après 1 minute, à chaque pression sur la touche « Démarrer et Cuisson Express », la durée augmente de 1 minute. Appuyer plusieurs fois sur la touche « Démarrer et Cuisson Express » pour régler la durée désirée. La durée maximale est de 10 minutes.

CUISSON SÉQUENTIELLE Vous pouvez programmer votre four pour qu’il enchaîne automatiquement 2 phases de cuisson.

Imaginons que vous souhaitiez programmer la cuisson séquentielle suivante : Décongélation Rapide Cuisson aux Micro‐ondes

REMARQUE : Le processus de décongélation se divise en trois phases, chaque phase dure 1/3 de la durée totale de décongélation. Aux 2/3 de la durée de décongélation, un bip retentit pour vous rappeler de retourner les aliments, l’appareil reste en pour démarrer la phase de

pause jusqu’à ce que vous appuyiez sur décongélation suivante.

La décongélation express ne peut être réglée qu’en premier dans un programme de cuisson séquentielle.

La cuisson automatique, la décongélation auto et le réchauffage express ne peuvent pas être programmés dans un programme de cuisson séquentielle.

ARRÊTER LE FOUR Pause

Vous pouvez interrompre le fonctionnement du four à tout moment pour : − Vérifier l’avancement de la cuisson. − Tourner ou mélanger les aliments. − Laisser les aliments reposer. Pour cela, il vous suffit d’ouvrir la porte du four ou d’appuyer une fois sur la touche stop/annuler. • Le four s’arrête et conserve en mémoire les données du programme de cuisson. • L’affichage ne change pas lorsque la cuisson est en pause.

Pour reprendre la cuisson, appuyez sur la touche démarrer.

Pour annuler la cuisson, appuyez à nouveau sur la touche stop/annuler. • L’écran affiche alors à nouveau l’heure.

Les touches sont verrouillées.

• En cas de tentative de démarrage, le four sonne.

Appuyez sur la touche stop/annuler 3 secondes. • Le four sonne pour indiquer que ses commandes sont déverrouillées. • Le symbole « Verrou » n’est plus affiché à l’écran. Cette fonction n’est disponible que lorsque le four est arrêté.

ENTRETIEN ET NETTOYAGE Débranchez le four de l’alimentation électrique avant de le nettoyer.

Conseils généraux Nettoyer fréquemment le four permet d’éviter pendant la cuisson la formation de fumées et de mauvaises odeurs, et d’étincelle dans la cavité du four et sur le pourtour du joint de la porte. Veillez à ce qu’il n’y ait pas d’accumulation de dépôts alimentaires ou de graisses dans la cavité du four et sur le joint de porte. Si votre four à micro‐ondes est pourvu d’un capot de guide d’ondes (généralement situé dans la cavité du four sur la paroi latérale droite), veillez à ce qu’il soit toujours propre. Si des dépôts alimentaires et gras s’accumulent sur le capot, cela provoquera des étincelles risquant d’endommager votre four et d’annuler la garantie. Avant toute opération d’entretien ou de nettoyage sur le four, débranchez‐le de la prise secteur et attendez qu’il refroidisse jusqu’à la température ambiante. Porte du four Éliminez tous les dépôts alimentaires et les graisses présents entre le joint de porte FR-20

D d de oa fro Ne lavez aucun accessoire dans un lave‐vaisselle. Nettoyage des surfaces en contact avec les aliments Pour des raisons d’hygiène, le plateau en verre doit être nettoyé régulièrement, car il peut entrer en contact avec les aliments. Nettoyez‐le à l’eau chaude savonneuse, puis séchez‐le soigneusement. Si l’intérieur de la cavité interne du four et le joint de porte ne sont pas maintenus parfaitement propres, le four risque d’être endommagé par des étincelles se produisant dans sa cavité interne. Ce type de détériorations annule la garantie. Ne grattez jamais les parois internes du four avec un objet coupant.

SPÉCIFICATIONS Puissance d’entrée nominale (micro‐ondes) : 1400W Tension : 230‐240V~ 50Hz

Fréquence des micro‐ondes : 2450 MHz FR-21 N’utilisez pas de matériau abrasif, par exemple un tampon à récurer, car il risque d’endommager les surfaces internes du four et de la porte. Utilisez exclusivement de l’eau savonneuse chaude pour nettoyer les surfaces en acier inoxydable.

D d de oa fro m Le plateau en verre fait du bruit quand le four à micro‐ondes est en fonctionnement.

Débranchez l’appareil, puis rebranchez‐le après 10 secondes. « NETTOYAGE ET ENTRETIEN » et nettoyez les pièces sales.

En raison des modifications et améliorations apportées à nos produits, de petites incohérences peuvent apparaître dans cette notice d’utilisation. Veuillez nous excuser pour la gêne occasionnée.

La prise secteur ne fonctionne pas correctement. Sa porte n’est pas bien fermée. L’anneau guide ou le bas de la cavité du four est sale.

Pendant la cuisson aux micro‐ondes à faible intérieur du four est faible. puissance, la lumière interne peut devenir faible. C’est normal.

De la buée s’accumule sur la Pendant la cuisson, les aliments peuvent paroi interne de la porte et de produire de la vapeur. La plus grande partie de l’air chaud sort par les ouïes de la vapeur s’échappe par les ouïes de ventilation. ventilation du four. Néanmoins de la vapeur peut s’accumuler dans certains endroits, par exemple la porte du four. C’est normal. Le four est mis en marche Il est interdit de faire fonctionner l'appareil accidentellement alors qu'il ne quand il ne contient pas d'aliment. C’est très contient pas d'aliment. DANGEREUX.

D d de oa fro REINIGING EN ONDERHOUDNL-19 SPECIFICATIESNL-20 PROBLEEMOPLOSSING NL-20

Druk op de klokknop om de minuteninstelling te bevestigen.

• De klok is nu ingesteld.

DE AUTOMATISCHE PROGRAMMA’S GEBRUIKEN Met de automatische programma's wordt alles automatisch berekend. U dient enkel het soort voedsel en het gewicht aan te geven en de oven selecteert automatisch de kookmodus, het vermogen en de gepaste kooktijd.

Uw oven heeft 2 soorten programma's, afhankelijk van de gewenste actie: USO DE LOS PROGRAMAS AUTOMÁTICOS ES-13 COCCIÓN AUTOMÁTICA ES-14 DESCONGELACIÓN AUTOMÁTICA ES-15 USO DE LAS FUNCIONES MANUALES ES-15 ™ El horno de microondas no puede ser utilizado con la puerta abierta debido a que los cierres de seguridad de la puerta incorporan un mecanismo que apaga las funciones de cocción cuando se abre la puerta. No intente hacer funcionar este horno con la puerta abierta, ya que, de lo contrario, podría sufrir una exposición peligrosa a la energía de microondas. Es muy importante que no interfiera ni anule de alguna manera los dispositivos de cierre de seguridad incorporados en el mecanismo de la puerta. ™ No permita que agua ni ningún otro líquido penetre en el interior del horno a través de sus ranuras de ventilación. ™ No coloque objetos que puedan quedar atrapados entre la puerta y la parte frontal del horno, ni permita la acumulación de suciedad o residuos de productos de limpieza en las superficies de contacto de la puerta. ™ Evite el uso de recipientes de lados rectos y cuellos estrechos. ™ Agite cualquier líquido antes de colocar el recipiente de nuevo en el microondas cuando haya transcurrido la mitad del tiempo de cocción.

D d de oa fro El tiempo de cocción máximo en el modo de microondas es de 95 minutos.

Pulse el botón de inicio.

• El horno comenzará a cocinar por el tiempo establecido. La descongelación rápida solo se puede establecer en la primera etapa de un programa de cocción multi‐etapa. Las funciones de precalentamiento rápido, descongelación automática y cocción automática no pueden seleccionarse en el programa de cocción multi‐etapa.

• No se producirán cambios en la pantalla durante la pausa.

Para reiniciar la cocción, pulse el botón de inicio. Para cancelar la cocción, pulse de nuevo el botón DETENER/CANCELAR. • La hora volverá a mostrarse en la pantalla.

ACTIVACIÓN DEL BLOQUEO DE SEGURIDAD PARA NIÑOS El horno está equipado con un sistema de bloqueo para niños, que impide que pueda ser iniciado ya sea involuntariamente o por los niños cuando no estén supervisados

Para bloquear: El vapor puede desprenderse de los alimentos del horno y sale aire caliente durante la cocción. La mayor parte del vapor por los orificios de ventilación se escapa por ranuras de ventilación. Aunque también se puede acumular en otros lugares, tales como la puerta del horno. Esto es algo previsible y normal. Se ha iniciado el horno sin que Jamás haga funcionar el aparato sin alimentos haya alimentos en su interior. en su interior. Proceder de esta manera es bastante PELIGROSO. ES-20

Cierre bien la puerta. cerrada.

Los rodillos y la superficie Consulte el capítulo inferior del horno titulado «LIMPIEZA Y microondas están sucios. MANTENIMIENTO» para informarse sobre cómo limpiar cualquier elemento del aparato que esté sucio.

Nos disculparnos de antemano por cualquier molestia debido a inconsistencias menores en las instrucciones, que pueden ocurrir como resultado de la mejora y desarrollo continuos en el aparato.

Může se použít v malých množstvích na ochranu určité části jídla před převařením.

Výborně se hodí Nebezpečí elektrického oblouku

Může se rozbít nebo prasknout náhlém zahřátí

Ne Nebezpečí požáru Papírové talíře, Ano Může být použito pro ohřev a krátké vaření kelímky, ubrousky nebo savý papír. Výborně se hodí s výjimkou nádob s kovovou dekorací (zlato, olovo apod.).