SD1540 - Датчик потока IFM - Бесплатное руководство пользователя
Найдите руководство к устройству бесплатно SD1540 IFM в формате PDF.
Вопросы пользователей о SD1540 IFM
0 вопрос об этом устройстве. Ответьте на те, что знаете, или задайте свой.
Задать новый вопрос об этом устройстве
Скачайте инструкцию для вашего Датчик потока в формате PDF бесплатно! Найдите своё руководство SD1540 - IFM и возьмите своё электронное устройство обратно в руки. На этой странице опубликованы все документы, необходимые для использования вашего устройства. SD1540 бренда IFM.
РУКОВОДСТВО ПОЛЬЗОВАТЕЛЯ SD1540 IFM
Notice d'utilisation
Débitmètre pour l'air comprimé
SD1540

Contenu
1 Remarques préliminaires 4
1.1 Symboles utilisés 4 1.2 Avertissements utilisés 5
2 Consignes de sécurité 5 3 Fonctionnement et caractéristiques 6
4 Fonctions 6
4.1 Traitement des signaux de mesure 6 4.2 Sortie de commutation 7 4.3 Sortie analogue 8 4.4 Surveillance du volume consommé 10
4.4.1 Valeur du compteur 10 4.4.2 Remise à zéro du compteur 10 4.4.3 Surveillance du volume consommé par signaux d'impulsions 11 4.4.4 Surveillance du volume consommé par compteur à préselection 11
4.5 Amortissement des valeurs mesurées 12 4.6 Suppression de faibles débits 12 4.7 Simulation 12 4.8 Couleur des caractères de l'affichage 13 4.9 IO-Link 14
4.9.1 Fonctions supplémentaires via IO-Link 14
5 Montage. 15
5.1 Lieu de montage 15 5.2 Conditions de montage 15 5.3 Position de montage 16 5.4 Exemple de montage à l'aide d'un adaptateur process E40195 17
6 Raccordement électrique 18 7 Éléments de service et de visualisation 20
8 Menu 21
8.1 Affichage de la valeur process (RUN). 21 8.2 Menu principal 22 8.3 Fonctions étendues EF 23 8.4 Sous-menu OUT1 24 8.5 Sous-menu OUT2 26
8.6 Sous-menu CFG 28 8.7 Sous-menu MEM, DIS 30 8.8 Sous-menu COLR, SIM 32
9 Mise en service 34 10 Paramétrage 34
10.1 Paramétrage général 35
10.1.1 Sélectionner sous-menu 36 10.1.2 Passage à l'affichage de la valeur process (mode RUN) 36 10.1.3 Verrouillage / déverrouillage 36 10.1.4 Timeout 36
10.2 Réglages pour la surveillance du débit 37
10.2.1 Adaptation au diamètre intérieur du tuyau 37 10.2.2 Surveillance des valeurs limites OUT1 ou OUT2 / fonction hystérésis 37 10.2.3 Surveillance des valeurs limites OUT1 ou OUT2 / fonction fenêtre 37 10.2.4 Signal analogue débit OUT2 37
10.3 Réglages pour la surveillance du volume consommé 38
10.3.1 Contrôle du volume par signal d'impulsion OUT1 ou OUT2...38 10.3.2 Contrôle du volume par compteur à préselection OUT1 ou OUT2...38 10.3.3 Remise à zéro du compteur manuelle 38 10.3.4 Remise à zéro du compteur contrôle en fonction du temps 38 10.3.5 Désactiver la remise à zéro du compteur 38 10.3.6 Remise à zéro du compteur par un signal externe 39
10.4 Réglages pour la surveillance de la température 39
10.4.1 Surveillance des valeurs limites OUT1 ou OUT2 / fonction hystérésis 39 10.4.2 Surveillance des valeurs limites OUT1 ou OUT2 / fonction fenêtre 39 10.4.3 Signal analogue température OUT2 39
10.5 Réglages pour le contrôle de pression 40
10.5.1 Surveillance des valeurs limites OUT1 ou OUT2 / fonction hystérésis 40 10.5.2 Surveillance des valeurs limites OUT1 ou OUT2 / fonction fenêtre 40 10.5.3 Signal analogique pressure OUT2 40
10.6 Réglages utilisateur (option) 41
10.6.1 Affichage standard 41 10.6.2 Unité de mesure standard pour le débit 41
10.6.3 Unité de mesure standard pour la température 42 10.6.4 Unité de mesure standard pour la pression 42 10.6.5 Amortissement des valeurs mesurées 42 10.6.6 Logique de commutation des sorties 42 10.6.7 Suppression de faibles débits 42 10.6.8 Conditions normalisées 42 10.6.9 Calibrage du point zéro pour pression 42 10.6.10 Couleur des caractères de l'affichage 43 10.6.11 Temporisation à l'enclenchement / au déclenchement 43 10.6.12 Comportement des sorties en cas de défaut 44 10.6.13 Restaurer les réglages usine 44
10.7 Fonctions de diagnostic 45
10.7.1 Lire les valeurs minimum et maximum 45 10.7.2 Simulation 45
11 Fonctionnement 46 12 Correction d'erreurs 46 13 Maintenance, réparation et élimination 49 14 Réglages usine 50
1 Remarques préliminaires

Notice d'utilisation détaillée, données techniques, homologations et informations supplémentaires via le code QR sur l'appareil / l'emballage ou sur www.ifm.com.
1.1 Symboles utilisés
Action à faire
Retour d'information, résultat
Désignation d'une touche, d'un bouton ou d'un affichage
Référence

Remarque importante
Le non-respect peut aboutir à des dysfonctionnements ou perturbations.

Information
Remarque supplémentaire.

Attention
Avertissement de dommages corporels.
Danger de blessures légères, réversibles.
2 Consignes de sécurité
- L'appareil décrit constitue un composant à intégrer dans un système.
- La sécurité du système est sous la responsabilité de l'installeur du système.
- L'installateur du système est tenu d'effectuer une évaluation des risques et de rédiger, sur la base de cette dernière, une documentation conforme à toutes les exigences prescrites par la loi et par les normes et de la fournir à l'opérateur et à l'utilisateur du système. Cette documentation doit contenir toutes les informations et consignes de sécurité nécessaires à l'opérateur et à l'utilisateur et, le cas échéant, à tout personnel de service autorisé par l'installateur du système.
- Lire ce document avant la mise en service du produit et le garder pendant le temps d'utilisation du produit.
- Le produit doit être approprié pour les applications et les conditions environnantes concernées sans aucune restriction d'utilisation.
- Utiliser le produit uniquement pour les applications pour lesquelles il a été prévu ( Fonctionnement et caractéristiques).
- Utiliser le produit uniquement pour les fluides admissibles ( Données techniques).
- Le non-respect des consignes ou des données techniques peut provoquer des dommages corporels et/ou matériels.
- Le fabricant n'assume aucune responsabilité ni garantie pour les conséquences d'une mauvaise utilisation ou de modifications apportées au produit par l'utilisateur.
- Le montage, le raccordement électrique, la mise en service, le fonctionnement et l'entretien du produit doivent être effectués par du personnel qualifié et autorisé par le responsable de l'installation.
- Assurer une protection efficace des appareils et des câbles afin qu'ils ne soient pas endommagés.
3 Fonctionnement et caractéristiques
L'appareil surveille le débit d'un volume normalisé d'air comprimé.
Il détecte les 5 paramètres process : vitesse, débit, quantité consommée, température du fluide et pression.
Toutes les indications s'appliquent au débit de volume normalisé selon DIN ISO 2533, c'est-à-dire débit de volume à 1013 mbar, 15°C et humidité d'air relative 0%. L'appareil peut être réglé à d'autres conditions normalisées (→ 10.6.8).

Il s'agit d'un produit de la classe A. Dans les environnements domestiques, ce produit peut provoquer des problèmes de radiodiffusion.
En cas de besoin, prendre des mesures de blindage CEM.
4 Fonctions
- Le débit est surveillé par un système de mesure calorimétrique, les signaux de mesure sont convertis par l'électronique.
- De plus, l'appareil mesure la pression et la température du fluide.
- L'appareil dispose d'une interface IO-Link.
- L'appareil affiche les valeurs process actuelles.
- L'appareil dispose de possibilités étendues pour l'autodiagnostic.
- Un mode de simulation simplifie la mise en service du capteur.
4.1 Traitement des signaux de mesure
L'appareil génère 2 signaux de sortie selon le paramétrage :
OUT1 : 7 options de sélection
- Signal de commutation pour la valeur limite du débit
- Signal de commutation pour la valeur limite de la température
- Signal de commutation pour la valeur limite de la pression
- Signal de commutation pour le compteur à préselection
- Signal d'impulsions pour le compteur totalisateur
- IO-Link
- OFF (sortie commutée à haute impédance)
OUT2: 10 options de sélection
- Signal de commutation pour la valeur limite du débit
- Signal de commutation pour la valeur limite de la température
- Signal de commutation pour la valeur limite de la pression
- Signal de commutation pour le compteur à préselection
- Signal de commutation pour le compteur totalisateur
- Signal analogue pour le début
- Signal analogue pour la température
- Signal analogue pour la pression
- Entrée pour un signal externe de remise à zéro du compteur (IND)
- OFF (sortie commutée à haute impédance)
4.2 Sortie de commutation
OUTx change son état de commutation si les seuils de commutation régles (débit, température ou pression) sont dépassés ou ne sont pas atteints. Fonction hystérésis ou fenêtre peut être sélectionnée.
Exemple pour la surveillance du début :
Fonction hystérésis Fonction fenêtre

SP = seuil de déclenchement
SP = seuil de déclenchement
HY = hystérésis
Hno / Fno = normalement ouvert
FH = valeur limite supérieure
FL = valeur limite inférieure
FE = fenêtre
Hnc / Fnc = normalement fermé

En cas de réglage de la fonction hystérésis, le seuil d'enclement (SP) est d'abord défini et ensuite le seuil de déclenchement (rP) dont la valeur doit être inférieure. Si le seuil d'enclement est changé, le seuil de déclenchement change automatiquement; l'écart reste inchangé.


En cas de réglage de la fonction fenêtre, la valeur limite supérieure (FH) et la valeur limite inférieure (FL) ont une hystérisis fixe de 0,25% de la valeur finale de l'étendue de mesure. Ceci garantit un état de commutation stable de la sortie en cas de fluctuations très faibles du début.
4.3 Sortie analogue
L'appareil fournit un signal analogique qui est proportionnel au débit, à la température et à la pression du fluide.
À l'étendue de mesure correspond le signal analogique 4...20 mA.
L'étendue de mesure peut être mise à l'échelle :
- [ASP2] détermine la valeur mesurée à laquelle correspond le signal de sortie 4mA.
- [AEP2] détermine la valeur mesurée à laquelle correspond le signal de sortie 20mA.

Distance minimale entre [ASP2] et [AEP2] = 20 % de la valeur finale de l'étendue de mesure (MEW).
Si la valeur mesurée est hors de l'étendue de mesure ou dans le cas d'une erreur interne, le signal de courant indiqué dans la figure 1 est fourni.
En cas de valeurs mesurées en dehors de la plage d'affichage ou en cas de défaut, l'afficheur indique cr. UL, UL, OL, cr. OL ou Err 12
Le signal analogique en cas de défaut est régulable ( 10.6.12) :
- [FOU] = On détermine que le signal analogique passe à la valeur supérieure (21,5 mA) en cas de défaut.
- [FOU] = OFF déterminé que le signal analogique passe à la valeur inférieure (3,5 mA) en cas de défaut.
- [FOU] = ON détermine que le signal analogique se comporte selon les réglages des paramètres actuels en cas de début.
Fig. 1: Caractéristique de sortie analogique selon la norme CEI 60947-5-7.
Signal analogue Valeur mesurée (débit, température ou pression) ③ Plage de détention ④ Plage d'affichage ⑤ Étendue de mesure ⑥ Étendue de mesure mise à l'échelle
Q: Débit
P: Pression
T: Température
MAW : Valeur initiale de l'étendue de mesure pour une étendue de mesure non mise à l'échelle. (Lors du réglage de la suppression des faibles débits pour Q : Le signal de sortie est égal à MAW + LFC → 4.6.)
MEW: Valeur finale de l'étendue de mesure pour une étendue de mesure non mise à l'échelle
ASP : Valeur minimum de la sortie analogique si l'étendue de mesure est mise à l'échelle
AEP : Valeur maximum de la sortie analogique si l'étendue de mesure est mise à l'échelle
UL: Plage d'affichage non atteinte
OL: Plage d'affichage dépassée
cr. UL : Plage de détection non atteinte (erreur)
cr. OL: Plage de détection dépassée (erreur)
4.4 Surveillance du volume consommé
L'appareil dispose d'un compteur totalisateur interne. Il additionne en continu le volume consommé et fournit cette valeur process sur l'afficheur et via l'interface IO-Link.
Pour surveiller le volume consommé, il est possible de fournir des signaux d'impulsions ou un signal de commutation (compteur à préselection).
4.4.3 Surveillance du volume consommé par signaux d'impulsions 4.4.4 Surveillance du volume consommé par compteur à préselection
4.4.1 Valeur du compteur
La valeur actuelle du compteur totalisateur peut être affichée ( 8.1)
En plus, la valeur avant la dernière remise à zéro est sauvegardée. Cette valeur et le temps depuis la dernière remise à zéro peuvent aussi être affichés ( 8.1).

Le compteur sauvegarde le débit additionné toutes les 10 minutes. Cette valeur est disponible comme valeur actuelle du compteur après une coupure de tension. Si une remise à zéro par unité de temps est réglée, l'intervalle de temps écoulé est aussi sauvegardé. Une éventuelle perte de données peut donc être de 10 minutes au maximum.
4.4.2 Remise à zéro du compteur
Le compteur totalisateur peut être remis à zéro de différentes façons :
10.3.3 Remise à zéro du compteur manuelle 10.3.4 Remise à zéro du compteur contrôle en fonction du temps 10.3.6 Remise à zéro du compteur par un signal externe Remise à zéro du compteur via l'interface IO-Link
Si le compteur totalisateur n'est pas remis à zéro selon une des méthodes ci-dessus, il est remis automatiquement quand la plage d'affichage maximum est dépassée (débordement).

OUT1 et OUT2 ne peuvent pas être utilisés simultanément pour la surveillance du volume consommé.

L'exactitude de la surveillance du volume consommé dépend de l'exactitude de la mesure de début.
4.4.3 Surveillance du volume consommé par signaux d'impulsions
La sortie fournit une impulsion chaque fois que le débit (valeur d'impulsions) réglée sous [ImPS] est atteinte.

OUT1 et OUT2 ne peuvent pas être utilisés simultanément pour la sortie d'impulsions.

Les signaux d'impulsion ne sont pas disponibles via l'interface IO-Link.
4.4.4 Surveillance du volume consommé par compteur à préselection
La sortie fournit un signal de commutation si le débit réglé sous [ImPS] est atteint. Le réglage du paramètre [rTo] définit si le débit doit être atteint indépendamment du temps (1) ou pendant le temps réglé (2) pour que la sortie commute :
| [rTo] Sortie | Remise à zéro du compteur | ||
| (1) | OFF(→ 10.3.5) | · La sortie commute si le débit régèle sous [lmPS] est atteint. · La sortie reste commutée jusqu'à ce que le compteur soit remis à zéro. | · Le compteur à préselection est remis à zéro - si une remise à zéro manuelle est effectué (→ 10.3.3) ou - si la plage d'affichage maximale est dépassée (débordement). |
| (2) | 1, 2,... h1, 2,... d1, 2,... w(→ 10.3.4) | · La sortie commute seulement si le débit régèle sous [lmPS] est atteint dans le temps régle. · La sortie reste commutée jusqu'à ce que le compteur soit remis à zéro. | · Si la sortie n'est pas commu-tée, le compteur à préselection est automatiquement remis à zéro après l'écoulement du temps et le comptage recom-mence (→ 10.3.4 Remise à zéro du compteur contrôle en fonction du temps). · Si la sortie est commutée, le compteur à préselection est remis à zéro - si une remise à zéro manuelle est effectué (→ 10.3.3) ou - si la plage d'affichage maximale est dépassée (débordement). |

4.5 Amortissement des valeurs mesurées
La temporisation d'amortissement [dAP. F] et [dAP. P] permet de régler après combien de secondes le signal de sortie atteint 63% de la valeur finale en cas d'une modification soudaine de la valeur de début / la valeur de pression. La temporisation d'amortissement réglée mène à une stabilisation des sorties de commutation, des sorties analogiques, de l'affichage et de la transmission de la valeur process via l'interface IO-Link.
La temporisation d'amortissement s'additionne au temps de réponse du capteur ( Données techniques).
Les signaux UL et OL ( 12) sont définis en considérant la temporisation d'amortissement.
4.6 Suppression de faibles débits
La fonction low flow cut-off [LFC] permet de supprimer les faibles débits. Les débits inférieurs à la valeur LFC sont considérés par le capteur comme nuls (Q = 0).
4.7 Simulation
Cette fonction permet de simuler les valeurs process débit, température, pression et valeurs du compteur totalisateur afin de vérifier le signal de sortie.
Via les réglages des paramètres cr. UL, UL, OL et cr. OL, il est aussi possible de simuler des valeurs process qui mènent à un message d'erreur ou un message d'advertisement ( 12).
Lors du démarrage de la simulation, les valeurs du totalisateur sont figées et ensuite le totalisateur simulé est mis à 0. La valeur de début simulée a un effet sur le totalisateur simulé. Quand la simulation est terminée, les valeurs du totalisateur initiales sont restaurées.

La simulation n'a pas d'effet sur les valeurs process actuelles. Les sorties se comportent comme régées avant.

Pendant la simulation, la valeur initiale reste sauvegardée sans changement même si un début réel s'écoule.

En mode de simulation, les messages d'erreur du processus actuel ne sont pas affichés. Ils sont supprimés par la simulation.
4.8 Couleur des caractères de l'affichage
Via le paramètre [Col. x] la couleur des caractères de l'affichage peut être réglée :
- Réglage permanent de la couleur de l'affichage :
- bk/wh (noir/blanc)
- yellow (jaune) - green (vert)
- red (rouge)
- Changement de couleur de rouge à vert ou vice versa (fig. 2):
- r-cF (affichage rouge entre les valeurs limites cFL... cFH)
- G-cF (afficheur en vert entre les valeurs limites cFL... cFH)

cFL = valeur limite inférieure
cFH = valeur limite supérieure
MAW = valeur initiale de l'étendue de mesure
MEW = valeur finale de l'étendue de mesure
Fig. 2: Réglage de couleur fonction fenêtre
Les valeurs limites peuvent être sélectionnées librement dans l'étendue de mesure et sont indépendantes des valeurs réglées pour OUT1 et OUT2.

4.9 IO-Link
Cet appareil dispose d'une interface de communication IO-Link permettant l'accès direct aux données de process et de diagnostic. De plus, le paramétrage de l'appareil est possible pendant le fonctionnement. L'utilisation de l'appareil via l'interface IO-Link nécessite un maître IO-Link.
Pour une communication hors fonctionnement, il vous suffit d'un PC, d'un logiciel IO-Link approprié et d'un câble adaptateur IO-Link.
Les IODD nécessaires pour la configuration de l'appareil, des informations détaillées concernant la structure des données process, des informations de diagnostic et les adresses des paramètres ainsi que toutes les informations nécessaires concernant le matériel et le logiciel IO-Link sont disponibles sur www.ifm.com.
4.9.1 Fonctions supplémentaires via io-link
- La transmission des signaux est résistante aux parasites et sans perte de valeurs mesurées.
- Paramétrage à distance de l'appareil.
- Transmission du paramétrage lors du remplacement d'un capteur ou sur d'autres capteurs du même type.
- Lecture simultanée de toutes les valeurs process (débit et température), des signaux de commutation TOR et de l'état de l'appareil.
- Affichage étendu des messages d'erreur et d'événement.
- Gestion des marquages numériques d'équipement (tag).
- Évaluation de la valeur process et des données de diagnostic via le maître IO-Link.
- Consignation sans papier des paramétrages, des valeurs process et des informations de diagnostic.
- Paramètres supplémentaires :
- verrouillage électronique pour la protection contre les manipulations,
- fonction de clignotement pour localiser le capteur : [clignotement activé]
Les LED d'état de commutation clignotent ; Indication sur l'afficheur :
"IO-Link" (vert, clignote).

Attention
Avec des températures de plus de 50°C (122^), certaines parties du boîtier peuvent s'échauffer à plus de 65°C (149^).
Risque de brûlures.
Protéger le boîtier contre le contact avec des matières inflammables et contre le contact non intentionnel. Fixer l'étiquette d'avertissement fournie sur le câble du capteur.

S'assurer que le circuit n'est pas sous pression avant d'effectuer des travaux de montage. Les règlements et dispositions relatifs à l'installation et au fonctionnement d'équipements sous pression doivent être respectés.
Montage dans des tuyaux
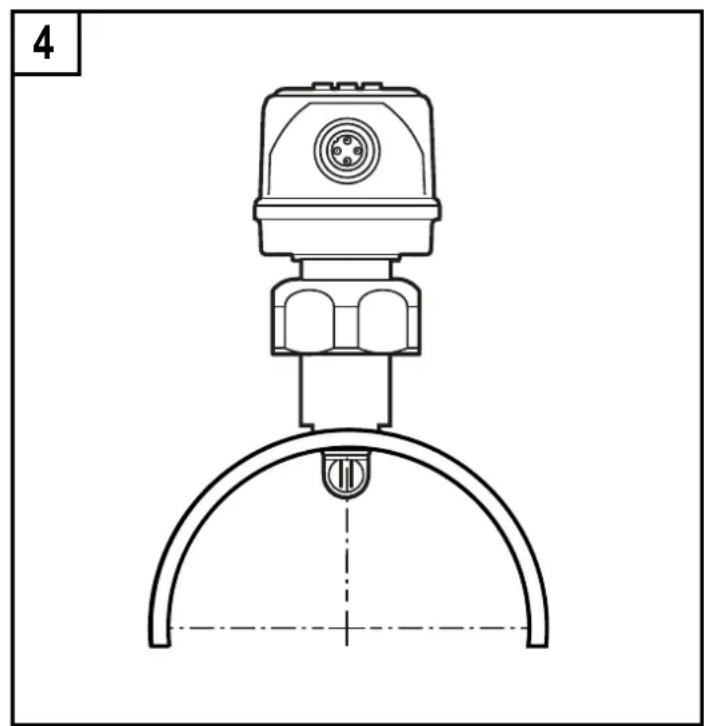
- Mettre l'appareil sur le raccord process G1 et serrer l'écrou. Couple de serrage maximal : 50 Nm. Maintenir l'orientation de l'appareil.
5.1 Lieu de montage
Monter l'appareil derrière le sécheur frigorifique. Monter l'appareil à proximité de la charge. Le montage après une unité de maintenance est également possible.
Si de l'huile est utilisée pour des charges : Monter l'appareil avant le lubrificateur.
5.2 Conditions de montage
Conseil pour une précision de mesure optimale :
Utiliser une entrée d'une longueur de 20 × le diamètre du tube. En cas de perturbations sur l'entrée par des coudes, des vannes, des coulisseaux ou similaires, utiliser une entrée d'une longueur de 50 × le diamètre du tube. Utiliser une sortie d'une longueur de 5 × le diamètre du tube.
5.3 Position de montage
- Positions de montage permises : longueur de mesure verticale, toute position (fig. 1, 2) ; longueur de mesure horizontale, appareil vertical (fig. 3, 4) ; appareil au côté, longueur de mesure à droite (fig. 5).
- Ne pas utiliser la position de montage montré dans la fig. 6 (appareil au côté, longueur de mesure à gauche). En cas de début faible, la précision de mesure spécifique ne peut pas être respectée.

5.4 Exemple de montage à l'aide d'un adaptateur process E40195
Pour une orientation idéale de la sonde de mesure du capteur au sens du début du fluide (fig. 4), noter les remarques suivantes concernant le soudage de l'adaptateur process E40195 sur le tube :
Percer le tube pour l'adaptateur process et ébavurer.
Positionner l'encoche de l'adaptateur avec un alignement max. de ± 2^ par rapport à l'axe du tube (fig. 1 et 2). S'assurer que l'adaptateur ne pénètre pas dans le tube (fig. 2).
Installez l'adaptateur bien perpendiculaire au tube (fig. 3).




6 Raccordement électrique

L'appareil doit être raccordé par un électricien qualifié. Alimentation en tension selon EN 50178, TBTS, TBTP.
Mettre l'installation hors tension. Raccorder l'appareil comme suit :


Couleurs selon DIN EN 60947-5-2 BK : noir; BN : brun; BU : bleu; WH : blanc
| Broche Affectation | |
| 4 (OUT1) · Signal de commutation pour le débit · Signal de commutation pour la température · Signal de commutation pour la pression · Signal de commutation pour le compteur à préselection · Signal d'impulsions pour le compteur totalisateur · IO-Link · OFF | |
| 2 (OUT2/InD) | · Signal de commutation pour le débit · Signal de commutation pour la température · Signal de commutation pour la pression · Signal de commutation pour le compteur à préselection · Signal d'impulsions pour le compteur totalisateur · Signal analogique pour le débit · Signal analogique pour la température · Signal analogique pour la pression · Entrée pour un signal externe de remise à zéro du compteur (InD) · OFF |
Exemples de circuits :
2 x commutation positive 2 x commutation négative

1 x commutation positive / 1 x analogue 1
commutation négative / 1 x analogue
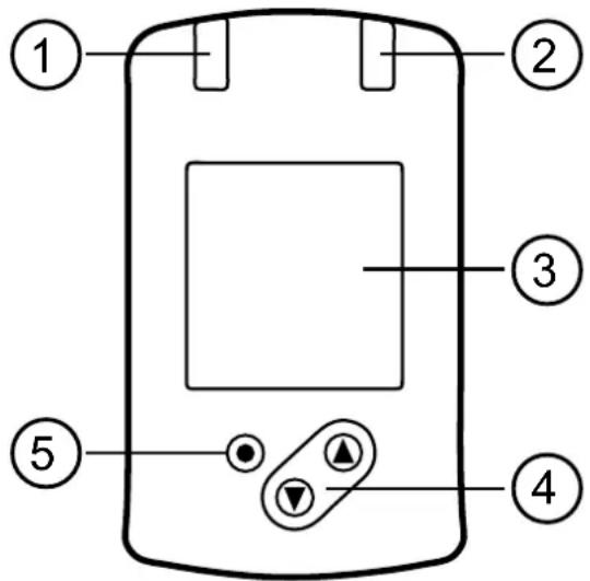
7 Éléments de service et de visualisation

| 1 et 2 : État de commutation LED |
| • LED 1 = état de commutation OUT1 (allumée si la sortie 1 est commutée). • LED 2 = état de commutation OUT2 (allumée si la sortie 2 est commutée). |
| 3 : Afficheur TFT |
| • Affichage des valeurs process actuelles (débit, température, pression, totalisateur) • Affichage des paramètres et valeurs de paramètres |
| 4 : Bouton [▲] et [▼] |
| • Sélectionner le paramètre • Changer la valeur du paramètre (en appuyant longtemps sur le bouton) • Changement de l'affichage de la valeur process en mode de fonctionnement normal (mode RUN) • Verrouillage / déverrouillage (appui sur les boutons-poussoirs > 10 secondes) |
| 5 : Bouton [●] = Enter |
| • Changement du mode RUN au menu principal • Passage au mode de réglage • Validation de la valeur de paramètre réglée |

Eclairage d'afficheur :
- Température de l'appareil >70^ : luminosité automatiquement réduite.
- Température de l'appareil ≥ 100°C : afficheur automatiquement désactivé.
8.1 Affichage de la valeur process (RUN)
Il est possible de choisir entre trois affichages de la valeur process pendant le fonctionnement:
Appuyer sur le bouton-poussoir [▲] ou [▼].
L'afficheur change entre l'affichage standard et deux autres vues. Après 30 secondes, l'appareil retourne à l'affichage standard.
(1)

(2)

(3)

1: Affichage standard comme défini sous [DiS. L] ( 10.6.1) 2: Aperçu général de toutes les valeurs process 3: Aperçu des valeurs du totalisateur
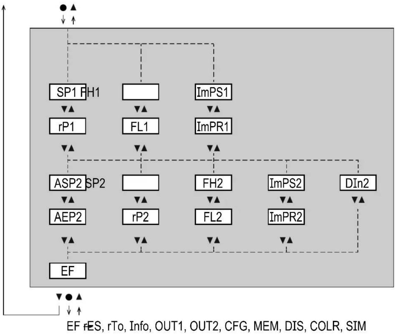
8.2 Menu principal
Affichage de la valeur process (RUN)

Explication des paramètres → 8.4 Sous-menu OUT1 et → 8.5 Sous-menu OUT2

Les paramètres affichés changent si le réglage usine est changé dans les sous-menus OUT1 et OUT2.


Explication sous-menu OUT1
| Paramètre Explication et possibilités de réglage | |
| SEL1 Paramètre de mesure standard pour l'évaluation de OUT1 : FLOW (débit) ou TEMP (température) ou PRES (pression) | |
| ou1 Fonction de sortie pour OUT1 : • Débit : Hno, Hnc, Fno, Fnc, ImP, OFF • Température : Hno, Hnc, Fno, Fnc, OFF • Pression : Hno, Hnc, Fno, Fnc, OFF Hno = signal de commutation avec fonction hystérisis normalement ouvert HNC = signal de commutation avec fonction hystérisis normalement fermé Fno = signal de commutation avec fonction fenêtre normalement ouvert Fnc = signal de commutation avec fonction fenêtre normalement fermé ImP = surveillance du volume consommé (fonction totalisateur) OFF = sortie non commutée (haute impédance) | |
| SP1 Seuil d'enclenchement pour OUT1 | |
| rP1 Seuil de déclenchement pour OUT1 | |
| FH1 Valeur limite supérieure pour OUT1 | |
| FL1 | Valeur limite inférieure pour OUT1 |
| ImPS1 | Valeur d'impulsions = débit pour lequel 1 impulsion est fournie. |
| ImPR1 | Configuration de OUT1 pour la surveillance du volume consommé : YES (signal d'impulsions), no (signal de commutation). |
| dS1 | Temporisation à l'enclenchement sur OUT1 |
| dr1 | Temporisation au déclenchement sur OUT1 |
| FOU1 | Comportement de OUT1 en cas d'un défaut interne : OU = La sortie est commutée comme définir par les paramètres, indépendamment du cas de défaut. On = La sortie est activée / le signal analogique passée à 21,5 mA. OFF = La sortie est désactivée / le signal analogique passée à 3,5 mA. Si ou1 = ImP est sélectionné, FOU1 n'est pas accessible. |
8.5 Sous-menu OUT2


Les paramètres affichés changent si le réglage usine est changé dans le sous-menu OUT2.
Explication sous-menu OUT2
| Paramètre Explication et possibilités de réglage |
| SEL2 Paramètre de mesure standard pour l'évaluation de OUT2 : FLOW (débit) ou TEMP (température) ou PRES (pression) |
| ou2 Fonction de sortie pour OUT2 : •Débit : Hno, Hnc, Fno, Fnc, I, ImP, OFF •Température : Hno, Hnc, Fno, Fnc, I, OFF •Pression : Hno, Hnc, Fno, Fnc, I, OFF Hno = signal de commutation avec fonction hystérisis normalement ouvert HNC = signal de commutation avec fonction hystérisis normalement fermé Fno = signal de commutation avec fonction fenêtre normalement ouvert Fnc = signal de commutation avec fonction fenêtre normalement fermé ImP = surveillance du volume consommé (fonction totalisateur) I = signal analogue 4...20 mA In.D = entrée pour un signal externe de remise à zéro du compteur OFF = sortie non commutée (haute impédance) |
| ASP2 Valeur minimum de la sortie analogue pour OUT2 |
| AEP2 Valeur maximum de la sortie analogue pour OUT2 |
| SP2 Seuil d'enclenchement pour OUT2 |
| rP2 Seuil de déclenchement pour OUT2 |
| FH2 Valeur limite supérieure pour OUT2 |
| FL2 Valeur limite supérieure pour OUT2 |
| ImPS2 Valeur d'impulsions = débit pour lequel 1 impulsion est fournie. |
| ImPR2 Configuration de OUT2 pour la surveillance du volume consommé : YES (signal d'impulsions), no (signal de commutation). |
| DIn2 Reset du totalisateur par un signal externe : +EDG, -EDG, HIGH, LOW |
| dS2 Temporisation à l'enclenchement sur OUT2 |
| dr2 Temporisation au déclenchement sur OUT2 |
| FOU2 Comportement de OUT2 en cas d'un défaut interne : OU = La sortie est commutée comme définir par les paramètres, indépendamment du cas de défaut. On = La sortie est activée / le signal analogique passée à 21,5 mA. OFF = La sortie est désactivée / le signal analogique passée à 3,5 mA. Si ou2 = ImP est sélectionné, FOU2 n'est pas disponible. |

Explication sous-menu CFG
| Paramètre Explication et possibilités de réglage |
| uni.F Unité de mesure standard pour le débit |
| uni.T Unité de mesure standard pour la température |
| uni.P Unité de mesure standard pour la pression |
| dAP.F Amortissement des valeurs mesurées pour le débit |
| dAP.P Amortissement des valeurs mesurées pour la pression |
| P-n Logique de commutation des sorties |
| diA Affichage du diamètre interieur du tuyau en mm |
| LFC Suppression de faibles débits (low flow cut-off) |
| rEF.P Pression normale à laquelle les valeurs de mesure et les valeurs affichées pour le débit se refèrent. |
| rEF.T Température normale à laquelle les valeurs de mesure et les valeurs affichées pour le débit se refèrent. |
| coF Calibrage du point zéro pour la mesure de pression. La valeur mesurée interne 0 est décalée de cette valeur. |

Explication sous-menu MEM
| Paramètre Explication et possibilités de réglage |
| Lo.F Valeur minimale de la valeur de début mesurée dans le process (volume de début ou vitesse de début) |
| Hi.F Valeur maximale de la valeur de début mesurée dans le process (volume de début ou vitesse de début) |
| Lo.T Valeur minimale de la température mesurée dans le process |
| Hi.T Valeur maximale de la température mesurée dans le process |
| Lo.P Valeur minimale de la pression mesurée dans le process |
| Hi.P Valeur maximale de la pression mesurée dans le process |
Explication sous-menu DIS
| Paramètre Explication et possibilités de réglage | |
| diS.L Affichage | de la valeur process standard L1 = valeur process actuelle pour le débit L2.Temp = valeur process actuelle pour le débit et la température L2.Pres = valeur process actuelle pour le débit et la pression L2.Totl = valeur process actuelle pour le débit et le totalisateur L3.TP = valeur process actuelle pour le débit, la température et la pression L4 = valeur process actuelle pour le débit, la température, et la pression et valeur du totalisateur actuelle |
| diS.U | Fréquence de rafraîchissement de l'affichage d1 = High d2 = Medium d3 = Low |
| diS.R | Rotation de l'afficheur : 0°, 90°, 180°, 270° |
| diS.B | Luminosité de l'afficheur : 25 %, 50 %, 75 %, 100 %, OFF (affichage de la valeur mesurée désactivé en mode RUN) |
8.8 Sous-menu COLR, SIM
Menu principal
Explication sous-menu COLR

Les paramètres affichés changent si le réglage usine est changé dans les sous-menus OUT1 et OUT2.
| Paramètre Explication et possibilités de réglage | |
| coL.F Couleur des caractères de l'affichage pour la valeur de débit | |
| cFH.F Valeur limite supérieure du changement de couleur pour la mesure de débit | |
| cFL.F Valeur limite inférieure pour le changement de couleur pour la mesure de débit | |
| coL.T Couleur des caractères de l'affichage pour la valeur de température | |
| cFH.T Valeur limite supérieure pour le changement de couleur pour la mesure de température | |
| cFL.T Valeur limite inférieure pour le changement de couleur pour la mesure de température | |
| coL.P Couleur des caractères de l'affichage pour la valeur de pression | |
| cFH.P Valeur limite supérieure pour le changement de couleur pour la mesure de pression | |
| cFL.P Valeur limite inférieure pour le changement de couleur pour la mesure de pression | |
| coL.V Couleur des caractères de l'affichage pour la valeur du totalisateur | |
| bk/wh Noir/blanc en permanence | |
| yellow Jaune en permanence | |
| green Vert en permanence | |
| red Rouge en permanence | |
| r-cF L'affichage est rouge entre les valeurs limites cFL...cFH, en dehors de ces valeurs l'affichage est vert. | |
| G-cF Afficheur en vert entre les valeurs limites cFL...cFH, en dehors l'afficheur devient rouge. |
Explication sous-menu SIM
| Paramètre Explication et possibilités de réglage | |
| S.FLW Valeur de début simulée | |
| S.TMP Valeur de température simulée | |
| S.PRS Valeur de pression simulée | |
| Paramètre Explication et possibilités de réglage | |
| cr.UL | Valeur mesurée inférieure à la plage de détction → message d'erreur |
| UL | Valeur mesurée inférieure à la plage d'affichage → message d'vertissement |
| OL | Valeur mesurée dépasse la plage d'affichage → message d'vertissement |
| cr.OL | Valeur mesurée dépasse la plage de détction → message d'erreur |
| S.Tim Durée de la simulation en minutes | |
| S.On Etat de la simulation : OFF, On | |
9 Mise en service
Après la mise sous tension et la temporisation de démarrage d'env. 1 s, l'appareil se trouve en mode RUN (= mode de fonctionnement normal). Il exécute ses fonctions de mesure et d'évaluation et génère des signaux de sortie selon les paramètres régles.
- Pendant la temporisation de démarrage, les sorties sont commutées selon la programmation :
- ACTIVE pour la fonction normalement ouverte (Hno / Fno)
- INACTIVE pour la fonction normalement fermé (Hnc / Fnc)
- INACTIVE pour la surveillance du volume consommé (ImP)
- Si la sortie 2 est configurée comme sortie analogique, le signal de sortie est de 20mA pendant le retard à la disponibilité.

Attention
Le boîtier peut s'échauffer considérablement.
Risque de brûlures.
Ne pas toucher l'appareil avec les mains. Utiliser un outil (par exemple un stylo) pour effectuer des réglages sur l'appareil.
Les paramètres peuvent être régés avant le montage et la mise en service ou pendant le fonctionnement.

Des changements du paramétrage, avec l'installation en marche, peuvent affecter son mode de fonctionnement.
S'assurer du bon fonctionnement de l'installation.
Pendant le paramétrage, l'appareil reste fonctionnel. Il continue à exécuter ses fonctions de surveillance avec le paramètre précédent jusqu'à ce que le paramétrage soit validé.

Les valeurs réglables pour la surveillance de valeurs limites (SP, rP, FH, FL, ASP, AEP) changent si [diA] est changé.

Un paramétrage peut également être effectué via l'interface IO-Link.
Particularité du paramétrage via IO-Link :

Saisir SP, rP, FH, FL, ASP, AEP pour la surveillance du début en % de la valeur finale de l'étendue de mesure et transmettre le paramétrage à l'ordinateur.
L'appareil convertit les pourcentages en chiffres absolus ( 10.6.2 Unité de mesure standard pour le début) et transmet la valeur calculée au logiciel de paramétrage après une nouvelle lecture de l'appareil.

Fonctions qui ne peuvent être réglées que via l'interface IO-Link: 4.9.1
10.1 Paramétrage général
| 1. Changement du mode RUN au menu principal [ | ●] |
| 2. Sélection du paramètre souhaïté [▲] ou [▼] | |
| 3. Passage au mode de réglage [ | ●] |
| 4. Changement de la valeur de paramètre [▲] ou [▼] > 1 s | |
| 5. Validation de la valeur de paramètre régée [ | ●] |
| 6. Retour au mode RUN > 30 secondes (timeout) |

Si [■] Locked via Communication] est affiché lors de la tentative de modifier une valeur de paramètre, une communication IO-Link est active (blocage-temporaire).

Si [■] Locked via system] est affiché, le capteur est verrouillé en permanence par le logiciel. Ce verrouillage ne peut être enlevé que via le logiciel de paramétrage.
10.1.1 Sélectionner sous-menu
- Appuyer sur [●] pour passer de l'affichage de la valeur process au menu principal.
- Sélectionner le menu EF avec [] et appuyer sur [].
- Sélectionner le sous-menu avec [] et appuyer sur [].
10.1.2 Passage à l'affichage de la valeur process (mode RUN)
Il y a deux possibilités :
- Attendre 30 seconds (→ 10.1.4 Timeout).
- Appuyer sur [▲] ou [▼] pour aller au menu précédent ou suivant.
10.1.3 Verrouillage / déverrouillage
L'appareil peut être verrouillé électroniquement afin d'éviter une fausse programmation non intentionnelle. À la livraison : non verrouillé.
Verrouiller:
S'assurer que l'appareil est en mode de fonctionnement normal. Appuyer sur [▲] et [▼] simultanément pendant 10 s jusqu'à ce que [■ Set Menu lock] soit affiché.

Durant le fonctionnement : [■ Lock via key] est affiché si l'on essaie de changer les valeurs des paramètres.
Déverrouiller :
S'assurer que l'appareil est en mode de fonctionnement normal. Appuyer sur [▲] et [▼] simultanément pendant 10 s jusqu'à ce que [Reset menu lock] soit affiché.
10.1.4 Timeout
Si lors du changement d'un paramètre, aucun bouton n'est appuyé pendant 30 s, l'appareil se remet en mode de fonctionnement sans que la valeur du paramètre soit changée.
10.2.1 Adaptation au diamètre intérieur du tuyau
| → Sélectionner [diA] et régler la valeur numérique en mm. Régler les diamètres intéérieurs du tuyau avant de saisir les valeurs pour les seuils de commutation (SPx, rPx) et les valeurs limites analogiques (ASP2, AEP2). | Menu CFG: [diA] |
10.2.2 Surveillance des valeurs limites OUT1 ou OUT2 / fonction hysteresis
| ► Sélectionner [uni.F] et régler l'unité de mesure. ► Sélectionner [SELx] et régler FLOW. ► Sélectionner [oux] et régler le signal de commutation : - Hno = fonction hystérésis / normalement ouvert - Hnc = fonction hystérésis / normalement fermé ► Sélectionner [SPx] et régler la valeur à laquelle la sortie commute. ► Sélectionner [rPx] et régler la valeur à laquelle la sortie commute. | Menu OUTx : [SELx] [oux] [SPx] [rPx] |
10.2.3 Surveillance des valeurs limites OUT1 ou OUT2 / fonction fenêtre
| ► Sélectionner [uni.F] et régler l'unité de mesure. ► Sélectionner [SELx] et régler FLOW. ► Sélectionner [oux] et régler le signal de commutation : - Fno = fonction fenêtre / normalement ouvert - Fnc = fonction fenêtre / normalement fermé ► Sélectionner [FHx] et régler la valeur limite supérieure de la fenêtre. ► Sélectionner [FLx] et régler la valeur limite inférieure de la fenêtre. | Menu OUTx : [SELx] [oux] [FHx] [FLx] |
10.2.4 Signal analogue débit OUT2
| ► Sélectionner [uni.F] et régler l'unité de mesure. ► Sélectionner [SEL2] et régler FLOW. ► Sélectionner [ou2], puis sélectionner le signal analogique : I (4...20 mA) ► Sélectionner [ASP2] et régler la valeur correspondante au 4 mA. ► Sélectionner [AEP2] et régler la valeur correspondante au 20 mA. | Menu OUT2 : [SEL2] [ou2] [ASP2] [AEP2] |
10.3.1 Contrôle du volume par signal d'impulsion OUT1 ou OUT2
| ► Sélectionner [uni.F] et régler l'unité de mesure. ► Sélectionner [SELx] et régler FLOW. ► Sélectionner [oux] et régler la sortie d'impulsions : ImP ► Sélectionner [ImPSx] et régler la valeur d'impulsions (= début pour lequel une impulsion est fournie): 1. Sélectionner la plage de réglage avec [▲] ou [▼]. 2. Appuyer brièvement sur [●] pour valider la plage de réglage. 3. Régler la valeur numérique souhaitée avec [▲] ou [▼]. 4. Appuyer brièvement sur [●] pour appliquer la valeur. ► Sélectionner [ImPRx] et régler YES. | Menu OUTx : [SELx] [oux] [ImPSx] [ImPRx] |
10.3.2 Contrôle du volume par compteur à préselection OUT1 ou OUT2
| ► Sélectionner [uni.F] et régler l'unité de mesure.► Sélectionner [SELx] et régler FLOW.► Sélectionner [oux] et régler la sortie d'impulsions : ImP► Sélectionner [ImPSx] et régler le volume pour lequel la sortie x com-mute.► Sélectionner [ImPRx] et régler NO. | MenuOUTx :[SELx][oux][ImPSx][ImPRx] |
10.3.3 Remise à zéro du compteur manuelle
| ► Sélectionner [rTo] et régler rES.T. > Le totalisateur estREMIS à zéro. | Menu EF : [rTo] |
10.3.4 Remise à zéro du compteur contrôle en fonction du temps
| ► Sélectionner [rTo] et régler la valeur souhaitée (intervalles d'heures, de jours ou de semaines). > Le totalisateur est remis à zéro automatiquement après la valeur réglée. | Menu EF : [rTo] |
10.3.5 Désactiver la remise à zéro du compteur
| ► Sélectionner [rTo] et régler OFF. > Le totalisateur n'est remis à zéro qu'après un débordement. | Menu EF: [rTo] |
10.3.6 Remise à zéro du compteur par un signal externe
| ► Sélectionner [ou2] et régler In.D.► Sélectionner [DIn2] et régler un signal externe de remise à zéro du compteur :- HIGH = reset avec signal haut- LOW = reset avec signal bas- +EDG = reset pour le front montant- -EDG = reset pour le front descendant> Le totalisateur est remis à zéro. | MenuOUT2 :[ou2][DIn2] |
10.4.1 Surveillance des valeurs limites OUT1 ou OUT2 / fonction hysteresis
| ► Sélectionner [uni.T] et régler l'unité de mesure. ► Sélectionner [SELx] et régler TEMP. ► Sélectionner [oux] et régler le signal de commutation : - Hno = fonction hystérésis / normalement ouvert - Hnc = fonction hystérésis / normalement fermé ► Sélectionner [SPx] et régler la valeur à laquelle la sortie commute. ► Sélectionner [rPx] et régler la valeur à laquelle la sortie commute. | Menu OUTx : [SELx] [oux] [SPx] [rPx] |
10.4.2 Surveillance des valeurs limites OUT1 ou OUT2 / fonction fenêtre
| ► Sélectionner [uni.T] et régler l'unité de mesure. ► Sélectionner [SELx] et régler TEMP. ► Sélectionner [oux] et régler le signal de commutation : - Fno = Fonction fenêtre / normalement ouvert - Fnc = Fonction fenêtre / normalement fermé ► Sélectionner [FHx] et régler la valeur limite supérieure de la fenêtre. ► Sélectionner [FLx] et régler la valeur limite inférieure de la fenêtre. | Menu OUTx : [SELx] [oux] [FHx] [FLx] |
10.4.3 Signal analogique température OUT2
| ► Sélectionner [uni.T] et régler l'unité de mesure.► Sélectionner [SEL2] et régler TEMP.► Sélectionner [ou2], puis sélectionner le signal analogique : I (4...20 mA)► Sélectionner [ASP2] et régler la valeur correspondante au 4 mA.► Sélectionner [AEP2] et régler la valeur correspondante au 20 mA. | MenuOUT2 :[SEL2][ou2][ASP2][AEP2] |
10.5.1 Surveillance des valeurs limites OUT1 ou OUT2 / fonction hysteresis
| ► Sélectionner [uni.P] et régler l'unité de mesure. ► Sélectionner [SELx] et régler PRES. ► Sélectionner [oux] et régler le signal de commutation : - Hno = Fonction hystérésis / normalement ouvert - Hnc = Fonction hystérésis / normalement fermé ► Sélectionner [SPx] et régler la valeur à laquelle la sortie commute. ► Sélectionner [rPx] et régler la valeur à laquelle la sortie commute. | Menu OUTx : [SELx] [oux] [SPx] [rPx] |
10.5.2 Surveillance des valeurs limites OUT1 ou OUT2 / fonction fenêtre
| ► Sélectionner [uni.P] et régler l'unité de mesure. ► Sélectionner [SELx] et régler PRES. ► Sélectionner [oux] et régler le signal de commutation : - Fno = Fonction fenêtre / normalement ouvert - Fnc = Fonction fenêtre / normalement fermé ► Sélectionner [FHx] et régler la valeur limite supérieure de la fenêtre. ► Sélectionner [FLx] et régler la valeur limite inférieure de la fenêtre. | Menu OUTx : [SELx] [oux] [FHx] [FLx] |
| ► Sélectionner [uni.P] et régler l'unité de mesure. ► Sélectionner [SEL2] et régler PRES. ► Sélectionner [ou2], puis sélectionner le signal analogique : I (4...20 mA) ► Sélectionner [ASP2] et régler la valeur correspondante au 4 mA. ► Sélectionner [AEP2] et régler la valeur correspondante au 20 mA. | Menu OUT2 : [SEL2] [ou2] [ASP2] [AEP2] |
10.6.1 Affichage standard
| ► Sélectionner [diS.L] et régler l'affichage de la valeur process : - L1 = valeur process actuelle pour le débit - L2.Temp = valeur process actuelle pour le débit et la température - L2.Pres = valeur process actuelle pour le débit et la pression - L2.Totl = valeur process actuelle pour le débit et le totalisateur - L3.TP = valeur process actuelle pour le débit, la température et la pression - L4 = valeur process actuelle pour le débit, la température et la pression et valeur du totalisateur actuelle ► Sélectionner [diS.U] et régler la fréquence de rafraîchissement de l'affichage : - d1 = High - d2 = Medium - d3 = Low | |
| ► Sélectionner [diS.R] et régler l'orientation de l'affichage : 0°, 90°, 180°, 270° | |
| ► Sélectionner [diS.B] et régler la luminosité de l'affichage : 25 %, 50 %, 75 %, 100 % ou OFF (= Mode économique d'énergie. L'affichage est désactivé en mode de fonctionnement. Les messages d'erreur sont affichés même si l'afficheur est désactivé. Activation de l'affichage en appuyant sur n'importequel bouton.) |
10.6.2 Unité de mesure standard pour le débit
| → Sélectionner [uni.F] et régler l'unité de mesure pour l'affichage standard(→ 8.1): m3/min, m3/h, m/s, ft3/h, ft3/min, ft/s. | Menu CFG: [Uni.F] |
| Régler [uni.F] avant la configuration des sorties. | |
| La quantité consommée (valeur du compteur) est affichée automatiquement avec l'unité de mesure assurant un maximum d'exactitude. |
10.6.3 Unité de mesure standard pour la température
Sélectionner [uni. T] et régler l'unité de mesure pour l'affichage standard (→ 8.1) : °C ou °F

Régler [uni. T] avant la configuration des sorties.
Menu CFG: [unité T]
10.6.4 Unité de mesure standard pour la pression
Sélectionner [uni. P] et régler l'unité de mesure pour l'affichage standard (→ 8.1) : kPa, bar, psi.

Régler [uni. P] avant la configuration des sorties.
Menu CFG: [unité P]
10.6.5 Amortissement des valeurs mesurées
Sélectionner [dAP. F] pour la mesure de début ou [dAP. P] pour la mesure de pression et régler la constante d'amortissement en secondes ( 4.5).
Menu CFG : [dAP. x]
10.6.6 Logique de commutation des sorties
Sélectionner [P-n] et régler PnP ou nPn. Menu CFG :
[P-n]
10.6.7 Suppression de faibles débits
Sélectionner [LFC] et régler la valeur limite en dessous de laquelle un débit est considéré comme nul.
Menu CFG : [LFC]
10.6.8 Conditions normalisées
Sélectionner [rEF. P] et régler la pression normale.
Menu CFG: [REF. P] [REF. T]
Sélectionner [rEF. T] et régler la température normale.
10.6.9 Calibrage du point zéro pour pression
Sélectionner [coF] et régler une valeur en bar.
Menu CFG : [coF]
La valeur mesurée interne 0 est décalée de cette valeur.
10.6.10 Couleur des caractères de l'affichage
| ► Sélectionner [coL.F] pour le débit ou [coL.T] pour la température ou [coL.P] pour la pression et régler la couleur des caractères de la valeur process dans l'affichage standard : - bk/wh = noir/blanc en permanence - yellow = jaune en permanence - green = vert en permanence - red = rouge en permanence - r-cF = Afficheur en rouge entre les valeurs limites cFL...cFH, en dehors l'afficheur devient vert. - G-cF = Afficheur en vert entre les valeurs limites cFL...cFH, en dehors l'afficheur devient rouge. | Menu COLR : [cOL.x] [cFH.x] [cFL.x] [cOL.V] |
| ► Sélectionner [cFH.x] et [cFL.x] et régler les valeurs limites pour la fenêtre couleur : - cFH.F = valeur limite supérieure pour le débit - cFL.F = valeur limite inférieure pour le débit - cFH.T = valeur limite supérieure pour la température - cFL.T = valeur limite inférieure pour la température - cFH.P = valeur limite supérieure pour la pression - cFL.P = valeur limite inférieure pour la pression | |
| ► Sélectionner [coL.V] et régler la couleur des caractères du totalisateur : - bk/wh = noir/blanc en permanence - yellow = jaune en permanence - green = vert en permanence - red = rouge en permanence |
10.6.11 Temporisation à l'encagement / au déclenchement
| ► Sélectionner [dSx] et régler la temporisation en secondes pour l'activation d'OUTx. ► Sélectionner [drx] et régler la temporisation en secondes pour la désactivation d'OUTx : | Menu OUTx : [dSx] [drx] |
10.6.12 Comportement des sorties en cas de default
| ► Sélectionner [FOU1] et régler le comportement de la sortie 1 en cas de défaut :Sortie de commutation- On = La sortie 1 est fermée en cas de défaut.- OFF = La sortie 1 est ouverte en cas de défaut.- OU = La sortie 1 est commutée comme définir par les paramètres, indépendamment du cas de défaut. | MenuOUT1 :[FOU1]MenuOUT2 :[FOU2] |
| ► Sélectionner [FOU2] et régler le comportement de la sortie 2 en cas de défaut :Sortie de commutation- On = La sortie 1 est fermée en cas de défaut.- OFF = La sortie 1 est ouverte en cas de défaut.- OU = La sortie 1 est commutée comme définir par les paramètres, indépendamment du cas de défaut.Sortie analogique- On = Le signal analogique passé à la valeur de défaut maximum(→4.3).- OFF = Le signal analogique passé à la valeur de défaut minimum(→4.3).- OU = Le signal analogique correspond à la valeur mesurée.Si [ou] = Imp (surveillance du volume consommé) est sélectionné,le paramètre [FOUx] n'est pas disponible. Les impulsionsconti-nuent à être fournies indépendamment du cas de défaut. |
10.6.13 Restaurer les réglages usine
| ► Sélectionner [rES]. ► Appuyer brièvement su●I. ► Maintenir appuyé [▲] ou [▼]. > [----] est affché. ► Appuyer brièvement su●I. > L'appareil redémarre. | Menu EF: [rES] |
| → 14 Réglages usine. Il est utile que vous noticez vos réglages dans ce tableau avant d'exécuter la fonction. |
10.7.1 Lire les valeurs minimum et maximum
| ► Sélectionner [Lo.x] ou [Hi.x] pour afficher la valeur de process la plus haute ou la plus BASSE : - [Lo.F] = valeur minimale du volume de début mesuré dans le process - [Hi.F] = valeur maximale du volume de début mesuré dans le process - [Lo.T] = valeur minimale de la température mesurée dans le process - [Hi.T] = valeur maximale de la température mesurée dans le process - [Lo.P] = valeur minimale de la pression mesurée dans le process - [Hi.P] = valeur maximale de la pression mesurée dans le process Effacer la mémoire : ► Sélectionner [Lo.x] ou [Hi.x]. ► Maintenir appuyé [▲] et [▼]. > [----] est affché. ► Appuyer brièvement supeI . | Menu MEM : [Lo.x] [Hi.x] |
10.7.2 Simulation
| ► Sélectionner [S.FLW] et régler la valeur de début à simuler. ► Sélectionner [S.TMP] et régler la valeur de température à simuler. ► Sélectionner [S.PRS] et régler la valeur de pression à simuler. ► Sélectionner [S.Tim] et régler la durée de la simulation. ► Sélectionner [S.On] et régler la fonction : - On = La simulation commence. Les valeurs sont simulées pendant la durée réglée sous [S.Tim]. Annulation avec n'importe quel bouton. - OFF = Simulation non active. | Menu SIM : [S.FLW] [S.TMP] [S.PRS] [S.Tim] [S.On] |
11 Fonctionnement
Les valeurs process à afficher en permanence peuvent être prédéfinies ( 10.6.1 Affichage standard). Il est possible de déterminer une unité par défaut pour la mesure de début, la mesure de température et la mesure de pression ( 10.6.2 et 10.6.3 et 10.6.4).
Contrairement à l'affichage de défaut préréglé, l'affichage peut être changé en appuyant sur le bouton [▲] ou [▼] → 8.1 Affichage de la valeur process (RUN).
12 Correction d'erreurs
L'appareil dispose de possibilités étendues pour l'autodiagnostic. Il se surveille automatiquement pendant le fonctionnement.
Des avertissements et des états d'erreur sont affichés même si l'afficheur est désactivé. De plus, les messages d'erreur sont disponibles via IO-Link.
Les signaux d'état sont classifiés selon la commande Namur NE107.
Si plusieurs défauts se produisent simultanément, seul le message de défaut le plus important est affiché.
En cas de défaillance d'une des valeurs process, les autres valeurs process continuent à être disponibles.

Des fonctions de diagnostic supplémentaires sont disponibles via IO-Link → description des interfaces IODD sur www.ifm.com
| Ligne des valeurs process | Ligne de titre | LED d'etat | Type | Description | Comportement de la sortie | Correction d'erreurs |
| ERROR | ERROR --- | Apparéil déférent | aux / mauvais fonctionnement | FOU | Remplacer l'appareil. | |
| Désac-tivé | Désac-tivé | --- Tension | d'alimenta-tion trop BASSE | Inac-tive | Vérifier la tension d'alimentation. Modi-fier le réglage [diS.B] (→ 10.6.1). | |
| Ligne des va-leurs process | Ligne de titre | LED détat | Type | Description | Comportement de la sortie | Correction d'erreurs |
| PArA Pa-rameter Error | --- Parametrie | --- | Parametrie | age en dehors de la plage valable. | FOU Régier le paramé-trage. | |
| ERROR Pres-sure Error | --- Erreurs | --- | Xons | de la mesure de pression | FOU Vérifier la mesure de pression. Remplacer l'appareil. | |
| ERROR Flow Error | --- Erreurs | --- | Xons | de la mesure de débit | FOU Vérifier la mesure de débit. Remplacer l'appareil. | |
| ERROR Temp Error | --- Erreurs | --- | Xons | de la mesure de tempérapure | FOU Vérifier la mesure de tempérapure. Remplacer l'appareil. | |
| cr.OL Critical over limit | --- Dépassemment critique de la plage de détéction* | FOU Vérifier la plage de débit / plage de tempérapure / plage de pression. | ||||
| cr.UL Critical under limit | --- Non | --- | aiveinte critique de la plage de détéction* | FOU Vérifier la plage de tempérapure. | ||
| --- Short circuit OUT1/OUT2 | OUT1 ✘OUT2 ✘ | ? | Court-circuit OUT1 et OUT2 | --- Contrôler si un court-circuit ou un courant de surcharge se produit sur les sorts des commutation OUT1 et OUT2 | ||
| --- Short circuit OUT1 | OUT1 ✘ | ? | Court-circuit OUT1 --- | Contrôler si un court-circuit ou un courant de surcharge se produit sur la sortie de commuta-tion OUT1 | ||
| --- Short circuit OUT2 | OUT2 | ? | Court-circuit OUT2 --- | Contrôle | si un court-circuit ou un courant de surcharge se produit sur la sortie de commuta-tion OUT2 | |
| OL Over limit | --- Plage de | détction * dépassée | OU Vérifier la plage de début / plage de température / plage de pression. | |||
| UL Under limit | --- Plage de | détction * non atteinte | OU Vérifier la plage de début / plage de température / plage de pression. | |||
| Lock via key | --- --- | Boutons de réçage | sur l'appareil verrouil-lés, modification des paramètres refusée. | OU Déverrouiller l'appa-reil → 10.1.3 | ||
| Lock via communication | --- --- | Le paramétrage est bloqué via des bou-tons, le paramétrage via la communication IO-Link est actif. | OU Terminer le paramé-trage via la communi-cation IO-Link. | |||
| Lock via system | --- --- | Boutons de réçage | verrouillés via le logiciel de paramé-trage, la modification des paramètres est refusée. | OU Déverrouiller l'ap-pareil via l'interface IO-Link au moyen du logiciel de paramé-trage. | ||
| IO-Link I/O-Link flash | OUT1 OUT2 | ? | Fonction IO-Link pour l'identification optique de l'appareil est active. | OU Déspectiver la fonction IO-Link. | ||
*Plage de détection → 4.3, figure 1.

Erreur. En cas de défaut, les sorties se comportent selon le réglage des paramètres [FOU1] et [FOU2] (→ 10.6.12).

Avertissement

LED clignote

LED clignote rapidement
13 Maintenance, réparation et élimination
Normalement, il n'est pas nécessaire de prendre des mesures relatives à la maintenance.
Définir des intervalles de vérification du calibrage adaptés aux exigences du process. Recommandation : tous les 12 mois.

Service de calibrage d'ifm
certificat de calibrage DAkkS sur www.ifm.com.
L'appareil ne doit être réparé que par le fabricant.
S'assurer d'une élimination écologique de l'appareil après son usage selon les règlements nationaux en vigueur.

14 Réglages usine
| Menu Parag | mètre Réglage | usine Réglage utiliser | |
| EF rTo OFF | |||
| OUT1 SEL1 | FLOW | ||
| ou1 Hno | |||
| SP1 / FH1 20 % | |||
| rP1 / FL1 19 % | |||
| ImPS1 10 l | |||
| ImPR1 YES | |||
| dS1 0 s | |||
| dr1 0 s | |||
| FOU1 | OFF | ||
| OUT2 SEL2 | FLOW | ||
| ou2 | l | ||
| ASP2 | 0 % | ||
| AEP2 | 100 % | ||
| SP2 / FH2 40 % | |||
| rP2 / FL2 | 39 % | ||
| ImPS2 10 l | |||
| ImPR2 YES | |||
| DIn2 | +EDG | ||
| dS2 | 0 s | ||
| dr2 | 0 s | ||
| FOU2 | OFF | ||
| CFG uni.F | m | 3/h | |
| uni.T °C | |||
| uni.P | bar | ||
| dAP.F | 0,6 s | ||
| dAP.P | 0,06 s | ||
| P-n | PnP | ||
| diA | 72 mm | ||
| LFC 8 m | 3/h | ||
| rEF.P | 1013 mbar | ||
| rEF.T | 15 °C | ||
| coF | 0 | ||
| DIS diS.L L3.TP | |||
| COLR coL.F bk/wh | |||
Les pourcentages se réfèrent à la valeur finale de l'étendue de mesure (MEW).
ПростаяИнструкция