WFF0612K - Eletrodoméstico BRANDT - Manual de utilização gratuito
Encontre gratuitamente o manual do aparelho WFF0612K BRANDT em formato PDF.
Questions des utilisateurs sur WFF0612K BRANDT
0 question sur cet appareil. Repondez a celles que vous connaissez ou posez la votre.
Poser une nouvelle question sur cet appareil
Baixe as instruções para o seu Eletrodoméstico em formato PDF gratuitamente! Encontre o seu manual WFF0612K - BRANDT e retome o controlo do seu dispositivo eletrónico. Nesta página estão publicados todos os documentos necessários para a utilização do seu dispositivo. WFF0612K da marca BRANDT.
MANUAL DE UTILIZADOR WFF0612K BRANDT
- Instruções de segurarça 3
- Meio ambiente e economia 3
- Descrição opçao do aparecido 4
1 - Como efectuar a sua primarya instalacao
- Desmontar as ataduras de transporte do seu aparelho 5
- Ligar achgada de agua 6
- Ligar a conduita de evacuação 6
- Ligar a rede electrica 7
- Instalar o seu aparelho 8
- Antes de proceder à primeira lavagem 8
2 - Como utiliser o seu(AParemho?
- Códigos de manutenção dos têxtei 9
- Preparar a sua roupa (triagem, teste da cor, cargas e verificacao) 10
- Tratar as nóodos dificés 11
- Carregar a sua roupa 12
· Colocar os detergentes 12 - Escolher um programa de lavagem 13 e 14
- Programas complementares 15
Dispositivos de Segurarca automaticos. 15 - Escolher os programas 16
3 - A manutenção corrente do seu aparecido
- limpar o aparelho e as peças internas 17
Risco de gelo 17 - Verificare e substituiro os tubos 17
- Limpar a caixa dos detergentes 17
·Limpar o filtro 18
4 - Incidentes que podem surgir
- O ciclo não arranca / o aparecido não está alimentado emágua 19
- Fortes vibrações durante de enchugamento 19
A roupa não está enchaguada ou não o suficiente 19 - Uma poça de água forma-se à volta da boaquina 19
- Transbordo de espuma 19
Aquina nao esvazia 19
Ao ler estemanualdescobriraoosseguientesimbolosqueIheassinarao:

as instruções de segurarça (para si, a sua máquina ou a sua roupa) a respeitar obligatoriamente,

um perigo eletrico,

os conselho e as informacoes importantes
Instruções de segurarça
Este aparelho, destinado para um uso exclusivamente dométrico, foi设计理念 para lavar, enchugar e enchugar os têixeis laváveis à参加会议.
Cumpra obligatoriamente as seguiñes instruções. Declinamos qualquer responsabilitad e anulamos a garantia no caso de incumprimento destas recomendações podendo provoc danos materiais ou corporais.
- O aparelho apenas deve ser utilizado de acordo com o modo de'utilização, para evitar danos à sua roupa e ao seu aparelho. Utilize apenas detergentes de lavagem e manutenção certificados para a'utilisation nas máquinas de lavar roupa de uso dométrico.
- Se, antes da lavagem, tratar a sua roupa com tira-nódoas, solventes e, em regra geral, com quaisquer produits inflamáveis ou com grande poder detonador, não a introduza imeditamente no aparelho (ver capítulo "TRATAMENTO DAS NÓDOAS DIFÍCEIS"). Da mesma forma, recomenda-se veente de não utilizes solventes ou produits em bomba aerossol em proximidade da sua Máquina de lavar roupa e de forma geral de aparhos electrolycicos numaça mal ventilada (risco de incência e de explosão).
- Se se produzir incidentes e se não puder resolver-os gratas às soluções que lhe
preconizamos (ver capítulo "INCIDENTES QUE PODEM SURGIR"), recorra a um professionnelriallicado.
- Durante uma nova instalação, o aparecido deve ficar ligado à rede de distribuição da água por um tubo novo, o tubo usado não deve ser reutilizzato. Controle com intervalos regulares os tubos de alimentação de água e de evacuação, pode assim impedir que aconteçam transbordos.
- Não deixe as crianças brincar com o aparheiro e afaste os animais domesticos.
- Os apareiros usados devem imeditamente ser tornados inutilizaveis. Desligue e corte o cabo de alimentacaorente ao aparecido. Fecha a chegada de agua e remove o tubo. Torne ofeito da porta inutilizavel.
Meio ambiente e economia
- Carregar a boaquina no máximo significava aproveitar da melhor forma a agua e a energia.
- Apenas programa a pré-lavagem quando é absolutamente necessário: por ex. para roupas de desporto ou de trabalho muito susas, etc.
- Para a roupa pouco ou mais ou menos suja, basta um programa a baixa temperatura para obter um resulto de lavagem impecável.
-
Para roupa pouca suja, escolha um ciclo de lavagem curto.
-
Doseie o detergente mediante a dureza da agua, o grau de sujidade e a quantidade da roupa e respeite os conselhos que constam nas embalagens do detergente.
- As peças de embalagem bem como as que compoem a totalidade da suaquiresina utilizesmateriais recicamente. Convem ter estefactor em conta aquando da sua eliminação.
Informe-se jusqu do seu revendedor ou dos serviços tecnicos da sua cidadere sobre as possibilidades da sua reciclagem de forma adaptada e respeitosa do ambiente.
Descrição do aparecido

Desenho 1
Desmontar as ataduras de transporte do seu aparelho

ANTES DE PROCEDER A QUALQUER UTILIZATION, E OBRIGATORIO EFFECTUAR AS OPERACOs DESCRITAS A SEGUIR.
Estas operacoes consistem em remover todas as peças que servem para imobilizar a cuba do seu aparecido durante o transporte.
Estas operacoes chamadas "desatamento" são necessarias para o bom funciona do seu aparelho e o respeito das normas em vigor em materia de seguranca.
Se estas operações não foram efectuadas na sua totalidade, pode causar danos graves ao seu aparecido durante o seu funcionaamento.
1 - Corte e retire a embalagem transparente bem como os reforços interiores. Remova a boaquina de lavar roupa da sua base de polistireno.
2 - Remova com una chave de fendas os 6 parafusos "A" que seguram as 3 placas "B" situadas na parte traseira daquina de lavar roupa.
3 - Remova os 3 parafusos de atamento "C".
4 - Cubra os 3 orificios com as placas "B"mentionadas acima.

Recomenda-se que guarde todas as peças de atamento, poi sera necessario voltar a montá-las se tiver, no futuro, de transporte a sua boaquina.

Desenho 2
Ligar o seuaporelho
Alimentação em água fria
Ligue o tubo de alimentacao
(Desenhos 3 e 4):
- por umazo, no anel de ligaço situado na parte traseira daquina
- por除外, numa torneira equipada de uma ponteira roscada Ø 20x27 (3/4 BSP). Se utilizes uma torneira auto-perfuradora, a abertura praticada deve ter um diametro de 6 mm, no minimo.
Chegada de agua:
- Pressão de água minima: 0,07 MPa ou 0,7 bar
- Pressão de água Tmaxima: 1 MPa ou 10 bar

Desenho 3

Desenho 4
Evacuação das águmas usadas
Ligue o tubo de escoamento a uma saida fixa que deve ser colocada a uma distança do solo comprehendida entre 50 e 70 cm (Desenso 5):
A saída do tubo de escoamento nunca deve ficar situada a mais de 90 cm do solo. Verifique se a ligação à rede não está estanque. Verifique se a saída do tubo de escoamento está bem fixa para fazer que a mesma caía e provoque uma inundação.

Desenho 5
Ligar o seuaporelho
Para a sua segurar, é obligatório respeitar as indentações fornecidas a seguir.
Alimentação eletrica
A instalacao eletrica deve estar de acordo com a Norma NF C 15-100, especialmente para a tomada de terra.
Linha 3 × 2,5 ~mm 2 mono 230 ~V ligada a:
- um contour 20A mono 230V-50Hz
- um disjuntor diferencial e um fusivel individual (10 ou 16A conforme o modelos)
- uma tomada électrique 10/16A 2 pôlos + terra
Não nos responsabilizamos por qualquer incidente causado por uma pessima instalacao eletrica.
i Conselho para a instalacao eletrica do seu aparelho
- Não utilize extensoes, adaptadores ou tomadas multiplas.
- Nunca elimine a ligaçao à terra.
- A tomada electrica tem de ficar fácilmente acesquivel mas fora do alcance das crianças.
Em caso de incerteza, consulte o seu instalador.
Se o cabo de alimentação eletrica estiver danificado, substitua-o por um cabo ouikonjunto especial a procurar+junto do fabricante oudo seu servicepos-venda.
O seu aparelho está conforme às direcitivas europeias CEE/73/23 (direiva baixa tensão) e CEE/89/336 (compatuldade electromagnética) modificadas pela direiva CEE/93/68.
Instalar o seu aparelho
Ambiente do aparelho:
i Se colocar a sua这其中o aparelho ou de um movel, recomenda-se de delexar sempre entre eles um esqpo para facilrar acirculacao de ar. Antes de proceder a instalacao definitiva da sua malaria de lavar roupa, recomenda-se a consulta da figura ao lado que indica as dimensoes de encastre do seu aparelho (Desenho 6).
Por altri lado, recomenda-sevevemente:
- de não instalar o seu aparelho numa peça humida e mal ventilada.
- de não instalar o seu aparecido num lugar onde pode ser submetido a projecções deágua.
- de não instalar o seu aparecido num solo com alcatifa.
Se não poder evacitar estas instalações, tome todas as precauções para não perturbar a circulação de ar na sua base, de forma a garantir uma ventilação correcta dos componentes internos
Nivelamento:
Verifique com ajuda de um nível se o solo está horizontal: inclinação Tmaxima 2^ , ou sera umaDIFFERencia de circa de 1 cm medido na largura e de 1,5 cm na profundidade daquina.
Ajuste da alta do aparelho:
Pode ajustar aaltitude da sua maquina de lavar roupa gratas aos 4 pés ajustáveis separadamente de 1 a 15 mm. Para isso, quando o seu aparelho estiver instalado, levante-o ligeiramente e aperte ou desaperte cada pé para ajustar a sua altitude (Desenho 7).

Desenho 6

Desenho 7
Antes de efectuar a primaira lavagem
"Antes de efectuar a sua primeira lavagem, recomenda-se de fazer um ciclo de lavagem "ALGODAO 90^ sem pre-lavagem", sem roupa eutilizando uma 1/2 dose do seu detergente habitual, de forma a eliminar os resíduos de fabricação podendo eventualmente subsistir na boa.
Códigos de manutençao dos texteis
(i) Para o fazer na manutenção dos seuis têixeis, estes tem sempre uma etiqueta resumindo as informações necessarias. As vezes são expressas em)códigospelos sinabolos a seguir:
| LAVAGEM | CLORINAÇÃO | ||||
| 95 | Temperatura máima: 95°C | Clorinação diluária e a frio | Nenhuma clorinação | ||
| 95 | - Acção mecânica normal - Enxaguamento normal - Enxugamento normal - Acção mecânica reduzida - Enxaguamento em temperatura decrescente - Enxugamento reduzido | ||||
| 60 | Temperatura máima: 60 ou 50°C | ENGOMAGEM | |||
| 60 | - Acção mecânica normal - Enxaguamento normal - Enxugamento normal - Acção mecânica reduzida - Enxaguamento em temperatura decrescente - Enxugamento reduzido | 200 °C Ajuste forte | 150 °C Ajuste médio | 110 °C Ajuste suave | Não engumar (vapor proibido) |
| 50 | - Acção mecânica reduzida - Enxaguamento em temperatura decrescente - Enxugamento reduzido | ||||
| 40 | Temperatura máima: 40°C | LIMPEZA A SECO | |||
| 40 | - Acção mecânica normal - Enxaguamento normal - Enxugamento normal | A Todos os solventes usualis | P Percloretileno Essência mineral | F Essência mineral solrente fluoradoF113 | Nenhuma limpeza a seco, nen tira-nódoas com solventes |
| 40 | - Acção mecânica reduzida - Enxaguamento em temperatura decrescente - Enxugamento reduzido | ||||
| 40 | - Acção mecânica muito reduzida - Enxaguamento normal - Enxugamento normal | Processo normal | |||
| 30 | Temperatura máima: 30°C | - Acção mecânica reduzida - Temperatura de secagem reduzida - Nenhuma adição de água (Limpeza em livre信息服务 impossível | |||
| Lavagem apenas à带你 Temperatura 40°C Máxima | SECAGEM | ||||
| (Alguns apareiros está也正是agens equipados de um programa que permit fazercrastina estente tipo de têxteis) | Secagem forte | Nenhuma lavagem | Nenhuma secagem notambor | ||
| Nenhuma lavagem | |||||
COFREET
Preparar a sua roupa
A separação da sua roupa
Consulte aanela da págnainterior para Separar a sua roupa e escolha o programa adaptado as etiquetas. No caso de cargas misturadas, utilize o programa correspondente à roupa mais delicada.
Para a roupa nova, verifie previamente se o artigo não tinje: ver "O teste da cor" a seguir.
O teste da cor
À primeira lavagem, é frequente uma coisa de roupa de cor tingir, excepto se estiver garantido o contrario. Antes de a colocar na boa, fora o segunte teste:
- Escolha uma parte não visível da roupa
-
Humedeca com agua quente
-
Esprema-a a seguir numa estofa branca
-
Se a roupa não tingir, pode lavá-la正常使用 à boaquina.
- Se a roupa tingir, lave-a separadamente à boaquina ou à mao.
Não ultrapasse as seguiñes cargas máximas:
ALGODAO/ CORES / FIBRAS MISTURADAS: 5 kg
SINTÉTICOS: 2,5 kg
LAs: 1,5 kg
DELICADOS / SEDA: 1 kg
Peso medio de algumas peças de roupa seca "pouco espessa"
Lençol 1 lugar. 400 a 500 g T-Shirt algodão tamanho grande. 150 g
Lencol 2 lugares .800 g Panos de cozinha .100g
Fronha 200g Toalha 250g
Camisa de dormir leve 150 g Lingerie delicada. .50g
Calcas pano cianca 120g Tecidos de la sintetics cianca .50 g
Calcas pano adulto .500g Meias 20g
Camisa homem algodao/poliester 200g Pijamas pano adulto .250g
Peso medio de algumas peças de roupa seca "espessa"
Calcas de Ganga adulto .800 g a 1 kg Pijama de felpo crianca. 100g
Toalha de felpo Grande .700 g Roupao 1200g
Toalha de felpo pequena 300 g Sweat-shirt 250 g
Calca de fato treinoadulto 350g Capa de edredao 1500g
A verificacao da sua roupa
O incumprimento dos seguentes conselhos pode provocar danos graves, até mesmo irremediáveis (tambor danificado, roupa rasgada, etc.) e anula a garantia.
- Esvazie os bolsos.
- Feche os fechos e as pressões.
-
Remova os ganchos das cortinas ou ponha as cortinas numa rede de lavagem.
-
Remova os botões malculos, os alfinetes, os agrafos.
- Ponha as algumas peças de roupa (fitas, bolsinhos, etc.) numa rede de lavagem.
- Vire de avesso os têxtei multicamadas (saco cama, anorak...).
- Vire de avesso as camisolas de la, os têxeis com decoração aplicada, as calças e as roupas de malha.
As nódoas de transpiração, sangue, fruta, vinho, chocolate desaparecem geralmente com os detergentes que contentem elementos biológicos, mas outras nódoas necessitam de um tratamento especialico antes de a colocar à boa. Faça primeiro um teste num lugar pouco visível do textil e exhague abundamente. Se aplicar um tira-nódoas, comece sempre pelo exterior da nódoa para fazer as aureolas.
ERVA: passer na nódoa um peu de vinagre branco ou alcool a 90^ (se o têxtil o permitir) e a seguir enchagua e proceda à lavagem.
ESFEROGRÁFICA - LAPISEIRA: tire o máximo de tinta passando na nódoa um papel absorvente. Coloque um pano branco limpo por detrás da nódoa e passage na nódoa outras pano humedecido com vinagre branco para as fibras sintéticas e artificiais ou com alcool a 90^ para as outras fibras (se o textil o permitir).
FERRUGEM: para nódoas leves, cubra de sal, esprema o sumo de um limão em cima do sal e deixe actuar durante uma noite; e a seguir enxagua abundamente e faça uma lavagem. Para nódoas mais importantes, utilize um produit anti-ferrugem seguido muito atentamente os conselhos do fabricante.
PASTILHA ELÁSTICA: arrefça-a com una pedra de gelo. Logo que estiver suficientemente dura, esfregue-a com a unha. Remova a aureola que subsiste com um produit desengordurante*.
ÓLEO QUEIMADO - ALCATRão: utilizeágua escalate ou, se não tiver, espalhe um pouco de manteiga fresca na nódoa, deixe actuar e a seguir passée essência de terebintina.
PINTURA: não dexe occhar os depósitos de pintura. Trate-os imeditamente com o solvente indicado na caixa da pintura (agua, terebintina*, white spirit*). Ensaboe e a seguir enchague.
VELA: remove o maior da nódoa esfregando.
Ponha a seguir papel absorvente deodos os lados do tecido e passae a ferro em cima da nódoa para fazer derreter o resto da cera.
PRODutos DE MAQUILHAGEM: ponha a face manchada do tecido num papel absorvente e a seguir humedeça o avesso do tecido com alcool 90^ se o artigo o permitir e se a nódoa não for oleosa. Caso contrário, preferira um produit desengordurante (tipocricloretileno*).
CAFÉ - CHÁ:
- no algodão branco: esfregue a nódoa com água oxigenada* antes de proceder a uma lavagem normal
- no algodão de cor: esfregue a nódoa com uma solução de água com vinagre (2 colheres de sopa de vinagre branco para / de litro de água) antes de proceder a uma lavagem normal
- na lá: esfregue a nódoa com una mistura de igual quantidade de álcool* e de vinagre branco antes de lavar o artigo.
CHOCOLATE - FRUTA - SUMO DE FRUTA - VINHO: esfregue a nódoa com uma solução de água com vinagre(2 colheres de soba de vinagre branco para / de LXitro de agua). Enxague bem e lave normalmente.
GORDURA: salpique imeditamente o tecido com pó talco. Deixe secar e esfregue suavamente para eliminar o pó talco. A seguir salpique com um produit desengorduranto do tipo essência mineral*. Enxaguae e lave normalmente.
SANGUE: mergerulhe, o mais rápidospossível, o artigo manchado em água fria salgada, e a seguir proceda a umlavagem normal.
NEGRITO - KETCHUP - MOLHO DE TOMATE: prepare uma solucao com um volume de glicerina para um volume de agua quente. Deixe pergulhar a roupa durante uma hora e a seguir proceda a uma lavagem normal.
UTILIZACHO DE PRODutos TIRA-NODOAS:
(*) se utilizes os produits preconizados nas receitas acima indicadas, tenha o cuidado de enxaguar abundamente a sua roupa antes de a introduzir na sua boaina
- se utilizes tira-nódoas do comércio, siga muito atentamente os conselhos do fabricante destes produits
i Lembremo-lhe que, normalmente, as nodos tratadas imeditamente eliminam-se fácilmente. Pelo contrario, as nodos antigas que ja foram engomadas ou segas naquina de secar roupa ja não pode ser eliminadas.
Carregar a sua roupa
Efectue as operacoes na segunte ordem: Abrir a boaquina
- Verifique se a tecla "Ligar/Desligar" (①) estáolta.
- Abra a porta puxando para si a pega.
Introduzir a roupa
Para obter óptimas performances de lavagem, colocque a roupa, previamente selecionada e desdobrada, no tambor, sem a amassar e dividindo-a uniformemente. Misture as peças
volumosas e��enas para obter um optimo enquolvimento, sem formacao irregularidade.
Fecharamaquina
- Fecha a porta pressionando na mesma até ficar bloqueada.
Verifique se nenhuma peça de roupa ficou presa na porta e na borracha da cuba.

Desenho 8
O recipiente "LAVAGEM" pode conter os pós e os liquidos, no entanto, não utilize detergentes liquidos para os programas COM pré-lavagem.
O amaciador concentrado tem de ser diluido em agua quente.
Recipiente pré-lavagem (pó)
Recipiente lavagem (pó ou liquido)
Amaciador
Lixivia
A lixivia concentrada deveser obligatoriamente diluida.
Para um enchimento correcto dos recipientes para detergentes, ponha a tampa na sua posicao Tmaxa de abertura.
Não ultrapassar o;nível MAX.
Dosagem do detergente
A quantidade de detergente a utilizes depende da dureza da agua, do grau de sujidade da roupa e da quantidade de roupa a lavar.
Consulte sempre as recomendacoes de dosagem indicadas na embalagem dos detergentes.
Aviso: as recomendaoes dos fabricantes de detergente correspondem, na maior dos casos, a um enchimento maximo do tambor. Adapte correctamente a sua dosagem ao peso da roupa introduzida na mascara.
Estas recomendao esvitam um dosagem excessiva responsavel pela formacao de espuma. Uma sobreproducao de espuma pode diminuir as performances da sua maquina eLER a duraao da lavagem bem como oconsumo de agua.
Para a lavagem destes têxteiis, recomenda-se de utilizes um detergente apropriadó (evite colocar o mesmo direcamente no quando eles algo osdestes produtos são agressivos para o metal).
Escolher um programa de lavagem

1 SeLECTIONAR a natureza da roupa
Escolha o programa mais adaptado à natureza da sua roupa.
ALGODAO
Se a sua energia de roupa estiver composta de BRANCO ou ALGODão
MISTOS
Se a sua energia de roupa estiver composta de CORES, SINTÉTICOS RESISTENTES ou FIBRAS MISTURAS
DELICADOS e LÁS
Se a sua energia de roupa estiver composta de CORTINAS, TÉXEIS DELICADOS, ROUPA FRÁGIL ou LÁ "LAVÂVEIS À MAQUINA"
i Para mais informacao, consulte aabela dos programas na pagina 17.
3 SeLECTIONAR o fim do programa
(conforme o Modelo)
a -Enxugamento
Selezione una velocidade de enxugamento adaptada a natureza da roupa.
ALGODAO:
Escolha esta opçao se desejar simplesmente escoar a sua roupa.
Escolha a temperatura do programa mais adaptado à natureza da sua roupa.
Para isso, consulte as indentacoes que constam nas etiquetas colocadas na maioria dos texteis.
ALGODAO : de frio a 90^
MISTOS : de frio a 60^
DELICADOS E LÁS: : de frio a 40^
Escolher um programa de lavagem
4 Programas.optionais (conforme o modelos)
- Escoamento: Em algunos modelos sem variador de velocidade, esta funciona permitte eliminar o enchugamento no fim de qualquer ciclo de lavagem.
- Paragem com Cuba Cheia: Esta funcao tem de ser utilizes para os textei que não deseja enchugar ou se prevê uma ausência prolongada no fim da lavagem. quando a tecla é selecionada, o ciclo é interrompido antes do encholvimento final, o que permite à sua roupa flutuar na agua para fazer Amarrotada.
A seguir: ou deseja proceber a um esvaziamo com exxugamento. Neste caso, solta esta tecla, e o programa terminar-se-á automaticamente.
Ou deseja apenas esvaziar.
Neste caso, rode o botão 1 até a posicao esvaziamo" 一 ^ 一 e solte a tecla.
- Enxugamento extra : Programa complementar "especial peles sensiveis e alergicas"; crescenta um exxugamento complementar nos ciclos "algodão ou mistos".
5 Colocacao em functi冗amento daquina
Verifique se o cabo eletrico está ligado e se a torneira de agua está aberta. Verifique igualmente se a porta daquina está fechada.
Apos ter efectuado a programacao, prima a tecla 5.
Inicia-se o ciclo de lavagem.
5 Paragem da boaquina
Quando o ciclo termina, desligue o aparelho soltando a tecla 5.
Pode então, encontrar a porta e tirar a sua roupa.
Solte igualmente a ou as outras teclas queinha selecionado.
Por medida de seguranca, recomenda-se desligar o cabo electrico e a seguir fechar a torneira de chegada de agua.
Manutenção do filtró da bomba
Tem de limpar regularamente o fazer da bomba de escoamento (ver como proceder no capítulo "MANUTENÇão CORRENTE").
Se não limpar regularamente o filtro da bomba, as performances da sua boaquina podem fazer afectadas.
Programas complementares
Apenascentrifugacao
Para centrifugar a roupa lavada à mão:
- se o desejar, ponha um amaciador no recipiente
-avance o botao 1
ou até a posicao " (no fim do programa "Mistos") para uma carga composta de BRANCO, ALGODAO, CORES, SINTÉTICOS ou FIBRAS MISTURADAS
ou até a posicao" (no fim do programa Delicados e Lás") para uma carga composta de LÁS, CORTINAS, TÉXTEIS DELICADOS ou ROUPA DELICADA
- selecao umavelocidade decentrifugacao adaptada a natureza daroupa
- prima a tecla "Ligar/Desligar" 5.
Apenas enchugamento
Para enxugar a roupa lavada a mao:
-avanceo botao1
- até à posicao " ⑨ " (no fim de programa "Misturada") para uma)carga composta de BRANCO,ALGODAO,CORES,SINTÉTICOS ou FIBRAS MISTURADAS
-
até à posicao " ⑨ " (no fim de programa "Delicado e Lã") para uma energia composta de LÁS, CORTINAS, TÉXTEIS DELICADOS ou ROUPA FRÁGIL
-
seleccione una velocidade de enxugamento adaptada a natureza da roupa 3
- prima a tecla "Ligar/Desligar" 5.
Dispositivos de seguranca automaticos
Dispositivo de segurarca da porta:
Quando o ciclo de lavagem arranca, a porta do seu aparecido fica bloqueada. Quando o ciclo termina, a porta desbloqueia-se.
Nunca tenteAbrir a porta do seu aparelho durante o ciclo, pode danificar o disposito de seguranca automatico bloqueando a porta durante o ciclo.
Seguranca da agua:
Durante o funciona, o controlo permanente do nível de agua previne qualquer eventual transbordo.
Segurarca de enxugamento:
A sua boa de lavar roupa está equipada de uma seguranca que pode limitar o enquamento quando é detectada uma mh repartiao da cargo.
Neste caso a sua roupa pode fazer insufficientemente enchaguada. Espalhe entao uniformamente a sua roupa no quando e programe um novo enchugamento.
Exemplos de programas (modelos com 10 programas de lavagem)
| Tipo de programs | Tipo de lavagem | Posicao | Temperaturas recomendadas | Velocidade decentrifugacao | Duração do ciclo |
| Algodão | Lavagem algodão com pré-lavagem | 1 U | frio a 90 | de 400a velocidademaxima | 2 h 05 |
| Lavagem algodão intensivo | 2 U | frio a 90 | 2 h 00 | ||
| Enxaguamento e centrifugação algodão | 3 U | - | 40 min | ||
| Centrifugação algodão | 4 G | - | 8 min | ||
| Synthétiques | Lavagem mista | 5 U | frio a 60 | de 400a 600 rpm | 55 min |
| Lavagem<rapida>40' | 6 FLASH 40 | frio a 40 | 40 min | ||
| Enxaguamento e centrifugação mistos | 7 U | - | 10 min | ||
| Centrifugação mistos | 8 G | - | 6 min | ||
| laine délicat | Lavagem delicada e lás | 9 U | frio a 40 | 45 min | |
| Centrifugação e trenagem delicado e lás | 10 G | - | - | 10 min |
Ciclo las: energia maxima 1 kg
Máquina de lavar roupa 13 programas
| Tipo de programs | Tipo de lavagem | Posicao | Temperatas recomendadas | Velocidade de centrifugacao | Duração do ciclo |
| Algodão | Lavagem algodão 90°C com pré-lavagem | 1 U | frio a 90 | veloculdade maxima | 2 h 05 |
| Lavagem algodão intensivo 90°C | 2 U | 70 à 90 | 1 h 40 | ||
| Cores sintéticas | Lavagem cores & sintéticos intensivo 60°C | 3 U+ | 50 à 60 | 1 h 25 | |
| Lavagem cores & sintéticos 40°C | 4 U | frio a 40 | 1 h 10 | ||
| Algodão Cores sintéticos | Enxaguamento & centrifugação algodão Cores & sintéticos | 5 U | — | 30 min | |
| Centrifugação algodão Cores & sintéticos | 6 U | — | 5 min | ||
| Lás delicados | Lavagem têxteiis delicados 60°C | 7 U+ | 50 à 60 | 1 h 10 | |
| Lavagem têxteiis delicados 40°C | 8 U | frio a 40 | 50 min | ||
| Lavagem lás 35°C | 9 U | frio a 40 | 45 min | ||
| Lavagem<rapida>40' | 10 FLASH 40 | frio a 40 | 40 min | ||
| Lás delicados | Enxaguamento & centrifugação delicada & lás | 11 U | — | 10 min | |
| Centrifugação delicada & lás | 12 U | — | 5 min | ||
| Drenagem | 13 ↓ | — | — | 3 min |
Capacidade de lavagem maxima: 5kg (1kg para a lã)
PROGRAMA PARA OS ENSAIOS COMPARATIVOs E NORMALIZADOS
| Programa | 2 |
| Temperatura | 60°C |
| Carga | 5-6 kg |
| Duração | 2 h |
| Energia. | 0,95 a 1,14 kWh |
| Água | 49 l |
Para o anúncio por escrito na etiqueta energetica, os testes são realizados segudo a direcva europeia 92/75/CEE, com capacidade nominal garantindo-se da utilizesao total do detergente CEI logo no inico da fase de lavagem.
Manutenção corrente do seu aparecido
Limpar o aparelho
Para a limpeza da carrocaria, do paine de commando, e em geral, de todas as peças de plástico, utilize uma esponja ou um pano humedecido com apenaságua e sabão liquido.
Em todos os casos, é proibida a'utilisation:
- dos pós abrasivos
- de esponjas metálicas ou de plástico
- de produits à base de álcool (álcohol, diluente ...)
Manutenção das peças internas
Para garantir uma melhor higiene, recomendamo-Ihe:
- de deleiar a tampa aberta durante algo tempo antes a lavagem,
- de limpar, circa de una vez por mês, as partes de plástico e de borracha ao acesso à cuba, com ajuda de um produto ligeiramente clorado. Para eliminar quaisquer resíduos deste produto, efectue um enchugamento.
- de fazer um ciclo de lavagem a 90^ pelo menos uma vez por mês.
Risco de gelo
No caso de risco de gelo, deslige o tubo de chegada de agua e escoe a agua que poderia existir no tubo de escoamento colocando o mesmo o mais baixo possivel numa cuba.
Vericacoes periodicas
Recomendamos-lhe de vericar o estado dos tubos de chegada de agua e de escoamento. Se constatar qualquer fissura, não hesite em substitui-los por tubos identicos disponveis+junto do fabricante ou do seu Servico Pós-venda.
Substituição do tubo de alimentação em água
Na-altura da substituição, éfavor verificar o aperto correcto e a presence da junta nas das extremidades
Substituição do cabo de alimentação eletrica
Para a sua segurarca, esta operacao deve obligatoriamente ser efectuada pelo serviceo pos-venda do fabricante ou por um profissional qualificado.
Limpeza da caixa dos detergentes
Limpe regularmente a caixa dos detergentes.
Para isso:
- Retire completeness or recipiente dos detergentes (Desenho 9).
- Enxague os diferentes compartments e sifões da caixa de detergente debaixo da tomeira e com água quente. Se for necessário, remove com ajuda de uma escova os resíduos de detergente (Desenho 10).
- Volte a colocar no seu devido lugar a caixa dos detergentes (tenha o cuidado de ter previamente esvaziado o excesso de agua que poderia existir no interior da mesma).


A manutenção corrente do seu aparelho
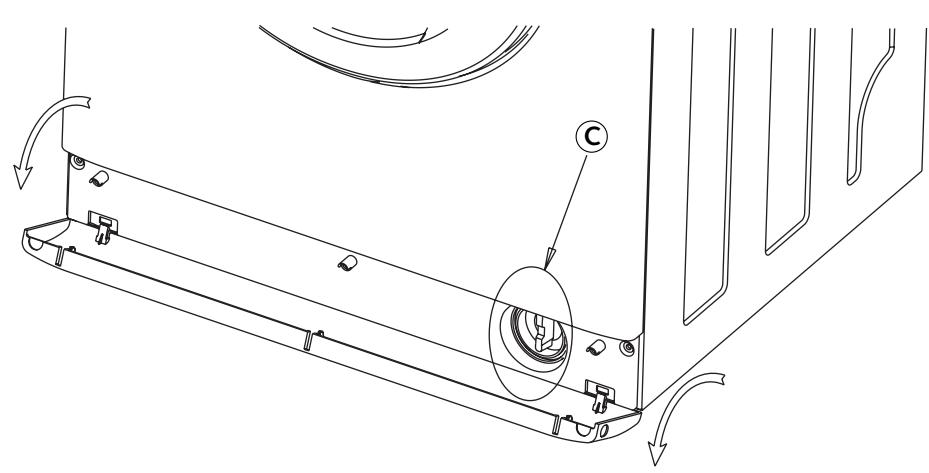
Limpar o filtro da bomba
Este bajo recupera os preocupos objectos que você pode去除ar por inadvertência nas roupas e evita que osleasedos perturbem o acontecimiento da bomba.
Para limpar o除外o proceda da segunte forma:
-
Retire o rodapé que se encontrar na parte frontal da ámbuna de lavar roupa removendo com una chave de fendas cruciforma os 2 parafusos situados nos lados, e a seguir inclinando para arente o rodapé (Desenso11).
-
Coloque um recipiente debaixo do filtro, e a seguir rode de um quarto ou de meia volta a tampa do filtro para recolher a água que lá se encontrar (Detalhe).
- Quando a agua acabou de escorrer, rode varías vezes a tampa do FILTER para poder remove-lo.
- Remova os objectos ou os pêlos que podem obtruir oatório.
- Paravoltar amontar o filtro e o rodapé, proceda ao contrario

Desenho 11
Detalhe

Incidentes que PODem surgir
Alguns incidentes podem surgir durante a utilização do seu(AParemho, éis eles pontos a verificar.
| Incidentes O ciclo não arrancan / O aparecido não está alimentado em água | Causas possíveis / Soluções • O programa foi selecionado de forma incompleta: - a tecla "Ligar/Desligar" não foi premida - o selector de programas ficou na posão "Desligar". • O aparecido não está a ser alimentado em electricidade: - verifique se a tomada elétrica está corremente ligada. - verifique o disjuntor e os fusíveis. • A torneira de chegada de água está fechada. • A porta doaporelho está mal fechada. |
| Fortes vibrações durante a centrigufação | • O seuaporelho não está corremente desatado: - verifique se todos os calços que serviram para o transporte foram corremente removidos (ver capítulo "DESMONTAR AS ATADURAS DE TRANSPORTE DO SEU APARELHO") • O solo não é horizontal. |
| A roupa não foi enchaguada ou ficou insufficientamente enchaguada | • SeLECTIONOU um programa sem enchugamento, por ex. "Escoamento". o A segurará de enchugamento detectou uma pessima reparação da roupa no quando: - desamarrote a roupa e programe um novo enchugamento.e. |
| Umça poça de água forma-se à volta da姒quina | Deslfigure primaryo a tomada elétrica ou corte ou fusível correspondente e feche a torneira da chegada de água. Durante o Functionamento doaporelho, o controlo constante do[nível impede a água de transbordar. Se, apesar disso muito, a姒quina continuear a sair da姒quina, pode ser que: • o dispositivo de esvazamento esteja mal posicionado na conduita de evacuação. • as ligações do tubo de alimentação em água na姒quina e na torneira não esteyam estanques: - verifique a Presence das juntas bem como o aperto dos anéis de ligação. |
| Transbordo de espuma | Utilizou deterrente em demasia. Não utilizeou um deterrente para姒quina de lavar roupa: - faça um esvazamento e a seguir programe variousenhugamentos. Por fim, volta a iniciar o programa de lavagem. |
| A姒quina não esvazia | Programou uma "Paragem cuba cheia". • O FILTER da bomba de esvazamento está obstruído: - limpe-o (ver forma de proceber no capítulo "MANUTENÇÃO CORRENTE"). • tubo de evacuação está dobrado ou esmagado |
De forma geral e qualquer que sera a anomalia constatada, convem parar a maquina, desligar o cabo de alimentacao electrica e fechar aorneira de chegada de agua.
Serviços autorizados :
Qualquer intervenção na suaária de lavar deve ser realizada :
-querpelo seu revendedor,
- quer por um除外 profissional qualificado autorizzato pela marca.
Ao chamá-los, indique a referencia completa de sua Máquina (o modelos, o tipo, o número da série). Estas informações figuram na placà de identificacao fixada atrás da Máquina.
ManualFácil