STILO NEO - Exaustor de cozinha MEPAMSA - Manual de utilização gratuito

Encontre gratuitamente o manual do aparelho STILO NEO MEPAMSA em formato PDF.

📄 24 páginas Português PT Descarregar 💬 Pergunta IA
Notice MEPAMSA STILO NEO - page 7
Ver o manual : Français FR Español ES Português PT

Perguntas dos utilizadores sobre STILO NEO MEPAMSA

0 pergunta sobre este aparelho. Responda às que conhece ou faça a sua.

Faça uma nova pergunta sobre este aparelho

L'email reste privé : il sert seulement à vous prévenir si quelqu'un répond à votre question.

Ainda não há perguntas. Seja o primeiro a fazer uma.

Baixe as instruções para o seu Exaustor de cozinha em formato PDF gratuitamente! Encontre o seu manual STILO NEO - MEPAMSA e retome o controlo do seu dispositivo eletrónico. Nesta página estão publicados todos os documentos necessários para a utilização do seu dispositivo. STILO NEO da marca MEPAMSA.

MANUAL DE UTILIZADOR STILO NEO MEPAMSA

Para sua segurar e funcaoamento correto do aparelho, agradecemos que leia este manual com atencao, antes da instalação e colocacao em funcaoamento do aparelho. Conserve estas instruções sempre+junto do aparelho, mesmo em caso decedência ou transferência a terreiros. É importante que os utilizadores tenham conheicao de todas as carateristicas defuncaoamento e de segurardo aparelho.

! Aligação dos cabos deveser realizada por um técnico competente.

  • O fabricante declina toda e qualquer responsabilitadepor eventuais danos decorrentes da instalacao ou usoação incorreta ou impropria do aparelho.
  • Adistência minima de segurança entre a placá de cozedura e o exaustó de 650 mm (alguns modelos poderão ser instalados a alta inferior; consulte o parragrafo sobre as dimensoes de trabalho e a instalação).
  • Se nasinstruções de instalação da placá de cozinha a gás estiver especialcada uma distência maior, é necessário respeita-la.
  • Verifique se a tensão da rede eletrica corresponde à指示a na chapa de carateristicas aplicada no interior do exaustor.

  • Os dispositivos de seccionamento devem ser montados na instalaçãoétrica fixa, em conformidade com a leiiseração sobre sistemas de cablagem.

  • Para os apareiros da Classe I, certifique-se de que a rede eletrica domestica dispoe de umsystema eficaz deligaçao aterra.
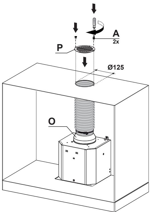
    Ligue o aspirador a chaminé utilizing um tubo de,leo menos, 120 mm de diametro. Ocaminho percorrido nelofumo deve ser o mais curto possivel.
  • Devem ser respeitadas todas as dispositions da legisção em materia de evacuação de ar.
  • Não liguem o exhaustor a conduitas de fumo que transporte furos de combustão (porex. caldeiras, lareiras, etc.).
  • Se o exaustor for utilizes em Conjunto com aparhos não eletricos (por ex. aparhos alimentados a gás), deve ser tida em devida conta a necessidade de assegurar um grau sufiente de ventilação no aposento, para impeder o returno dos gases de exaustão. quando o exaustor é realizado em conjunto com outros aparhos não alimentados eletricamente, a pressão negativa no aposento não deve ultrapassar 0,04 mbar, para evitar que os fumos returnem ao aposento através do exaustor.
  • O ar não deve ser evacuado através de conduitas realizadas para descarregar o fumo

de aparehos de combustão alimentados a gás ou outros combustíveis.

  • Se o cabo de alimentação estiver danificado, deve ser substituído pelo fabricante ou por um técnico do的服务 de assistência.
  • Ligue a ficha a uma tomada em conformidade com os reguiamentos em vigor, numa posicao acessivel.
  • Emreção às medidas专业技术e de segança que é necessário respeitar para evacuar o fumo, é importante seguir atentamente os regulamentos estabelecidos pelas autoridades locais.

ADVERTÉNCIA: antes de instalar o exaustor, retire aspeléculas de proteção.

  • Utilize apenas parafusos e quinquilharia apropriada para o exaustor.

ADVERTÉNCIA: a não'utilização de parafusos ou elementos de fixação em conformidade com estas instruções podem causar riscosétricos.

  • Não olhe diretamente para a luz com instrumentos tícos (binóculo, lupa....).
  • Não cozinho flamejados debai-xo do exaustor, porque há risco que incência.
  • Este aparecido pode ser utilizado porcriencias com idade igual ou superior a 8 anos e por pessoas

com capacidades físicas, sensóais ou mentalais diminuías ou com experiência e conheci-mentation insufficientes, desde que sejam vigiadas e tenham recebido instrução sobre autilização do aparelho de forma segura e comprehendam os perigos que o seu uso comporta. As crianças não devem brincar com o aparelho. A limpeza e manutenção do aparelho não devem ser realizadas por crianças, a não ser sob vigilência.

Vogie as crianças, certificando-se de que não brinquem como aparecido.
- O aparecido não deve serutilizzato por pessoas (incluindocrianças) comcapacidadespsico-fisico-sensoriais diminuidas ou com experiencia econhecimentos insufficientes, salvo se vigiadas atentamente e instruidas.

As partes acessveis podem aquecer muito durante autilização dos aparelhos decozedura.

  • Limpe e/ou substitua os filtros, respeitando os intervalos de tempo especializados pelo fabricante (perigo de incério). Consulte o parágrafo Manutenção e limpeza.
  • Deve haver uma ventilação adequada no aposto, sempre que o exaustor foragemodamente com apar-

Ihos queutilizem gás ououtscombustíveis (não aplicável aparenhos que apenas descarregam ar no aposento).

  • O@simbolo 区 colocado no produits ou na sua embalagem indica que o produit não pode ser eliminado como lixo dométrico. Deverá ser entrega num centro de recolha seletivaproprio para reciclagem de resíduos de equipamentos electrolycos e eletrónicos. A eliminação correta este產品 contribui para fazer os possíveis efecitos negativos para meio ambiente e a saúde que seriam criados pela manipulação impropria dos seuresistivos. Para mais informações sobre o local ondentarregar o produits para reciclagem,contacte a delegação local, os serviços municipais ou a loja ondecomprou o produits.

MEPAMSA STILO NEO - 1

"No caso de substituição por lâmpadas halógenas, utilize uniquamente lâmpadas halógenas de tungsténio autoprotegidas ou lâmpadas de halogenetos metalicos autoprotegidas."

2. UTILIZACAO

  • O exaustor foi concebido exclusivamente para uso dométrico, para eliminar os cheiros da cozinha.
  • Nunca utilize o exaustor senao para o fim para que foi concebido.
  • Nunca deixe chamas altas desprotegi

das sob o exaustor, quando estiver em acontecimiento.

  • Ajuste a intensidade da chama de maneira a não ultrapassar o diametro do fundo da panela realizada, certificando-se de que não incide dos lados.
  • As fritadeiras devem ser vigiadas constantly durante oestramento, porque as gorduras e oleos excessively aquecidos são fácilmente inflamáveis.

3. LIMPEZA E MANUTENÇÃO

  • O FILTER de carvão ativado não é lavavel e não pode ser regenerado. Deve ser substituído cada 4 mezes de funciona no caso de uso muito intenso (W).

MEPAMSA STILO NEO - LIMPEZA E MANUTENÇÃO - 1

  • Os filtros antigordura devem ser limpos cada 2 vezes deestrutura, ou com maior frequência no caso de uso muito intenso, e pode ser lavados na区内a de lavar louça (Z).

MEPAMSA STILO NEO - LIMPEZA E MANUTENÇÃO - 2

  • Limpe o exaustor com um pano humido e detergente liquido neutro.

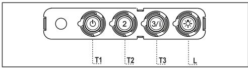
4. COMANDOS

MEPAMSA STILO NEO - COMANDOS - 1

TECLALEDFUNÇões
T1 VelocidadeAcesoLiga o motor com velocidade I.
Desliga o motor.
T2 VelocidadeAcesoLiga o motor com velocidade II.
T3 VelocidadeFixoPremida breves instantes, liga o motor com velocidade III.
IntermitePremida durante 2segundos. Activa a velocidade IV durante 6minutos. No fimdesto periodo de tempo oSYSTEMA retoma a velocidade anterior. Indica para condições de maior emissão de fumos de cozedura.
LuzLiga e desliga oSYSTEMA de illuminação.

Atença: A tecla T1 desliga o motor, passando sempre para a velocidade I.

5. I LUMINAÇÃO

MEPAMSA STILO NEO - I LUMINAÇÃO - 1

LâmpadaAbsorção (W)LigaçãoTensão (V)Dimensão (mm)Código ILCOS
4E14220 – 240107 x 37DRBB/F-4-220-240-E14-35/100

PT MANUAL DE INSTALLAÇÃO

Avisol Antes de proceder a instalacao, leia a informacao de seguranca no Manual do Utilizador.

MEPAMSA STILO NEO - PT MANUAL DE INSTALLAÇÃO - 1

MEPAMSA STILO NEO - PT MANUAL DE INSTALLAÇÃO - 2

MEPAMSA STILO NEO - PT MANUAL DE INSTALLAÇÃO - 3

MEPAMSA STILO NEO - PT MANUAL DE INSTALLAÇÃO - 4

MEPAMSA STILO NEO - PT MANUAL DE INSTALLAÇÃO - 5

MEPAMSA STILO NEO - PT MANUAL DE INSTALLAÇÃO - 6

MEPAMSA STILO NEO - PT MANUAL DE INSTALLAÇÃO - 7

MEPAMSA STILO NEO - PT MANUAL DE INSTALLAÇÃO - 8

MEPAMSA STILO NEO - PT MANUAL DE INSTALLAÇÃO - 9

MEPAMSA STILO NEO - PT MANUAL DE INSTALLAÇÃO - 10

MEPAMSA STILO NEO - PT MANUAL DE INSTALLAÇÃO - 11

MEPAMSA STILO NEO - PT MANUAL DE INSTALLAÇÃO - 12

MEPAMSA STILO NEO - PT MANUAL DE INSTALLAÇÃO - 13

MEPAMSA STILO NEO - PT MANUAL DE INSTALLAÇÃO - 14

MEPAMSA STILO NEO - PT MANUAL DE INSTALLAÇÃO - 15

MEPAMSA STILO NEO - PT MANUAL DE INSTALLAÇÃO - 16

MEPAMSA STILO NEO - PT MANUAL DE INSTALLAÇÃO - 17

MEPAMSA STILO NEO - PT MANUAL DE INSTALLAÇÃO - 18

MEPAMSA STILO NEO - PT MANUAL DE INSTALLAÇÃO - 19

MEPAMSA STILO NEO - PT MANUAL DE INSTALLAÇÃO - 20
2

MEPAMSA STILO NEO - PT MANUAL DE INSTALLAÇÃO - 21

MEPAMSA STILO NEO - PT MANUAL DE INSTALLAÇÃO - 22

MEPAMSA STILO NEO - PT MANUAL DE INSTALLAÇÃO - 23

MEPAMSA STILO NEO - PT MANUAL DE INSTALLAÇÃO - 24

MEPAMSA STILO NEO - PT MANUAL DE INSTALLAÇÃO - 25

MEPAMSA STILO NEO - PT MANUAL DE INSTALLAÇÃO - 26

MEPAMSA STILO NEO - PT MANUAL DE INSTALLAÇÃO - 27

MEPAMSA STILO NEO - PT MANUAL DE INSTALLAÇÃO - 28

MEPAMSA STILO NEO - PT MANUAL DE INSTALLAÇÃO - 29

MEPAMSA STILO NEO - PT MANUAL DE INSTALLAÇÃO - 30

MEPAMSA STILO NEO - PT MANUAL DE INSTALLAÇÃO - 31

MEPAMSA STILO NEO - PT MANUAL DE INSTALLAÇÃO - 32

MEPAMSA STILO NEO - PT MANUAL DE INSTALLAÇÃO - 33

MEPAMSA STILO NEO - PT MANUAL DE INSTALLAÇÃO - 34

13

MEPAMSA STILO NEO - PT MANUAL DE INSTALLAÇÃO - 35

MEPAMSA STILO NEO - PT MANUAL DE INSTALLAÇÃO - 36

14

MEPAMSA STILO NEO - PT MANUAL DE INSTALLAÇÃO - 37

MEPAMSA STILO NEO - PT MANUAL DE INSTALLAÇÃO - 38

MEPAMSA STILO NEO - PT MANUAL DE INSTALLAÇÃO - 39

MEPAMSA STILO NEO - PT MANUAL DE INSTALLAÇÃO - 40

15

MEPAMSA STILO NEO - PT MANUAL DE INSTALLAÇÃO - 41

MEPAMSA STILO NEO - PT MANUAL DE INSTALLAÇÃO - 42

MEPAMSA STILO NEO - PT MANUAL DE INSTALLAÇÃO - 43

MEPAMSA STILO NEO - PT MANUAL DE INSTALLAÇÃO - 44

16

MEPAMSA STILO NEO - PT MANUAL DE INSTALLAÇÃO - 45

MEPAMSA STILO NEO - PT MANUAL DE INSTALLAÇÃO - 46

MEPAMSA STILO NEO - PT MANUAL DE INSTALLAÇÃO - 47

MEPAMSA STILO NEO - PT MANUAL DE INSTALLAÇÃO - 48

MEPAMSA STILO NEO - PT MANUAL DE INSTALLAÇÃO - 49

MEPAMSA STILO NEO - PT MANUAL DE INSTALLAÇÃO - 50

MEPAMSA STILO NEO - PT MANUAL DE INSTALLAÇÃO - 51

MEPAMSA STILO NEO - PT MANUAL DE INSTALLAÇÃO - 52

MEPAMSA STILO NEO - PT MANUAL DE INSTALLAÇÃO - 53

MEPAMSA STILO NEO - PT MANUAL DE INSTALLAÇÃO - 54

MEPAMSA STILO NEO - PT MANUAL DE INSTALLAÇÃO - 55

MEPAMSA STILO NEO - PT MANUAL DE INSTALLAÇÃO - 56

MEPAMSA STILO NEO - PT MANUAL DE INSTALLAÇÃO - 57

MEPAMSA STILO NEO - PT MANUAL DE INSTALLAÇÃO - 58

MEPAMSA STILO NEO - PT MANUAL DE INSTALLAÇÃO - 59

MEPAMSA STILO NEO - PT MANUAL DE INSTALLAÇÃO - 60

mepamsa

Avenida Via Augusta 85-87 8174

Assistente de manual
Powered by Anthropic
À espera da sua mensagem
Informações do produto

Marca : MEPAMSA

Modelo : STILO NEO

Categoria : Exaustor de cozinha