DHD555BE1 - Exaustor de cozinha DE DIETRICH - Manual de utilização gratuito
Encontre gratuitamente o manual do aparelho DHD555BE1 DE DIETRICH em formato PDF.
Questions des utilisateurs sur DHD555BE1 DE DIETRICH
0 question sur cet appareil. Repondez a celles que vous connaissez ou posez la votre.
Poser une nouvelle question sur cet appareil
Baixe as instruções para o seu Exaustor de cozinha em formato PDF gratuitamente! Encontre o seu manual DHD555BE1 - DE DIETRICH e retome o controlo do seu dispositivo eletrónico. Nesta página estão publicados todos os documentos necessários para a utilização do seu dispositivo. DHD555BE1 da marca DE DIETRICH.
MANUAL DE UTILIZADOR DHD555BE1 DE DIETRICH
Acabou de adquirir um exaustor DE DIETRICH e agradecemos-lhe a sua confiança.
As{nossas equipas de pesquisa concederam, pensando em si,uma nova geração de apareiros para que o acto de cozinhoara sera um prazer no dia a dia.
Dotado de linhas puras e de um design contemporâneo, o seu novo exaustor DE DIETRICH, integra-se harmoniosamente na sua cozinha e alia perfeitamente fácil de'utilisation e.altos desempenhos.
Encontrará también na gama dos produits De dietrich, una vasta escolha dePlaces de cozedura, de fornos, de máquinas de lavar loça e de frigoríficos integraves que poderá coordinar ao seu novo exaustor DE DIETRICH.
Evidente, com a preocupação permanente de satisfazer da melhor maneira possível as suas expectativas emleiçao aos��rosyxos, o:.
noso service de consumidos esna contra-se a sua disposicao e a sua esca- ta para responder a todas as suas perguntas ou sugestoes (coordenadas no final do presente manual).
Especialista de todo o universo da cozedura, a DE DIETRICH contribuiçadesta forma para o successo culinário, o prazer partilhado e o convivioapresentando electrodométricos com um continuo desempenho, de simplesutilização, amigos doambiente, estéticos e fiáveis.
A Marca DE DIETRICH

Instruções de Segança
- É interdito realizar receitas "flambé" ou fazer functional os bicos de gás sem os cobrir com pratos de cozedura por cima do extractor de fumes (as chamas aspiradas são susceptíveis de deteriorar o aparecido).
- As frituras efectuadas sob o aparelho devem ser alvo de una vigilência constante.
- As reparações devem ser efectuadas exclusivamente por um técnico homologado.
- Limpe regularmente o filtro da cassete.
- O funciona por cima de um foco de combustível (madeira, carão, etc...) não é autorizzato.
Estes extractores de fumes foram concebidos para serem utilizados por particulares num local de habitacao.
Com a préocupaçao de melhorar constantly os��rosculos, resvamo-nos o direito de realizar modificações nas suas caractéricas tícnicas, funcais ou estéticas, modificações estas inerentes à evoluçao tícnica.
Estes extractores de fimos está destinados exclusivamente à cozedura das bebidas e alimentos. Estes produits não contentem qualquer componente à base de amIENTo.
Ao longo do folheto,

assina-lhe as instruções de segurarca, assinala-lhe os conselhos e as astúcas
Como se presenta o seu extractor de fumos? Fig.1
10 Paragem diferida (10 min.)
1 Velocidade 1
2 Velocidade 2
3 Velocidade 3
4 Velocidade 4

Em caso de cozinha aquecida com um aparelho ligado a uma chaminé (ex.: fogão de aquecimento), é necessário instalar o extractor de fumos na sua versão reciclagem. Não utilize o extractor de fumos sem os filtros metalicos.
Deverá ser prevista uma ventilação conveniente do espoço quando um extractor de fumes de cozinha for realizado simultaneamente com apareiros que utilizez gás ou qualquer及其他 combustível.
Colocação em funciona

Prima o botão da velocidade desejada (de 1 a 4).
Exemplo: velocidade 2.
O botão 2 fica luminoso.
Paragem diferida

Prima o botão luminoso.
O exhaustor para automaticamente après 10 min. de funciona.
O botão fica em estado intermitente até à paragem do exaustor.
Paragem imediata

Prima duas vezes o botão luminoso.
O exaustor para e o botao apaga-se.
Saturação Cassete

Quando o indicator selena intermitente, significa que as cassetes devem ser limpas (possibuldade de colocá-las na boaquina de lavar loça).
Prima simultaneamente os botões 1 e 2 duranteinousometimes.
O indicator apagar-se-à.
Modo recidagem

Caso o exaustor está em modo reciclagem eerva umautilização dos filtros de carvão. Aquando da suainstalação, tem a possibídade de configurar o exaustor em modo reciclagem:
Prima simultaneamente e durante 3 segundos os botões 1 e 4, que se tornarão luminosos.
O indicator eureka-se quer aceso, quer em estado intermitente.
Para configurar em modo reciclagem, prima o botão 1 até que o indicad fique aceso (não intermitente).
Validate a configuração premindo o botão 4.
O indicator e os botõeses 1 e 4 apagar-se-ão.
Modo evacuação

Caso o seu exaustor disponha de uma evacuação exterior, poderá configurá-lo em modo evacuação:
Prima simultaneamente e durante 3 segundos os botões 1 e 4, que se tornarão luminosos.
O indicator ® encontrar-se quer aceso, quer em estado intermitente.
Para configurar em modo evacuação, prima o botão 1 até que o indicad se aparece em estado intermitente.
Validate a configuração premindo o botão 4.
O indicator e os botoes 1 e 4 apagar-se-ao.
Saturação filtró de carvão

Quando o exaustor se encontrar em modo reciclagem. O indica ® encontrar-se aceso o que significica que é necessário�� proceber à substituição do FILTER de carvão (aconselho-o-a efectuar a respectiva substituiçao todos os 6 vezes).
Para desactivar o indicad , prima longamente os botões 3 e 4 em simultâneo. O indicator apagar-se-á.
Paragem automática do ventilador
Caso se esqueça de desligar o exaustor, este desactiv-se-á ao fim de 9 horas de funciona.
PT
Paragem automática da iluminação
Casosesqueca deapagaraluz,esta apagar-se-ao fimde9horadecfunctionamento.
Como instalar o seu extractor de fimos ?
océ possui una saïda para o exterior? fig. 4
O seu extractor de fumos pode ser ligado a ela por intermedio de una conduita de evacuationo (minimo 125 mm, esmaltada, em aluminio ininflamavel). Se o diametro da conduita for inferior a 125~mm , delve passar obligatoriamente para o modo reciclagem.
Você não possuí saída para o exterior : fig. 5
Todoos{nossosaparematosporificadefuncionaremodo reciclagem.
Neste caso, acrescente um FILTER de carão本次活动 que captaçá os cheiros.
Montagem do seu extractor de fumos
A instalação deverá estar conforme aos regulamentos em vigor para a ventilação dos locais. Em Franca, estes regulamentos estáçados indicados no DTU 61.1 do CSTB. Em particular, o ar evacuado não deve ser enviado numa conduita realizada para evacuar os fumos de aparelhos que utilizez gás ou qualquer及其他 combustível. Autilização de tubos desafectados é podé ser feita antes acordo de um especialista competente.
A distança minima entre a placá de cozedura e a parte mais baixa do extractor de fumosdeeráserde70cm.Seas instruçõesda placádecozedura instalada sob o extractor de fumos especificaremuma distança superiora70cm, esta deverá ser levada emconsideração.
- Faça umtraço horizontal no minimo a 70 cm da area de cozedura.
- Faça umtraço vertical na parede, a partir do tecto até ao rebordo inferior do exaustor.
- Coloque contra a parede as guias de montagem (fig. 2).
- Abra os 6 orificios e fixe as 6 cavilhas.
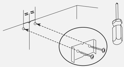
- Aparafuse os 2 parafusos na parte superior do exaustor até 5mm
- Retire o filtro metalico.
- Fixo exaustor por meio dos 2 parafusos (Fig. 3).
- Aparafuse también os parafusos da parte inferior.

Antes de aparafusar totalmente os 4 parafudos, regule o;nível do exaustor.
Ligação do seu extractor de fudos
Este aparelho é fornecido com um cabo eletrico H 05 VVF de 3 conduções de 0,75mm^2 (neutro, fase e terra). Ele deve ser ligada à rede 220-240 V monofásica por intermédia do uma tomada eletrica normalizada CEI 60083 que deve ficar acessível antes instalação.
A)nossa responsabilitadne nao poderia ser empenhada em caso de acidente consecutivo a uma colocacao em terra inexistente ou Incorrecta. O fusivel da sua instalação deve ser de 10 ou 16 A. Se o cabo eletrico estiver estragado, recorra ao service pós-vesta a fim de fazer qualer perigo.
Montagem da chamé
Funcionamento em evacuação exterior : fig. 4 e 8
- Fixe contra a parede, apoioado ao tecto, o suporte da chaminé metalica (fig. 6).
-
Monte a valvula de retenção na saída do motor (fig. A).Esta valvula de retenção permitte obstruir a admissão de ar proveniente do exterior.
-
Em caso de um tubo com 125 mm de diametro, utilize o adaptorado inclujo (fig. 8/fig. B).
Se o seu tubo exterior for inferior a 125~mm , é indispensable a ligação do seu extractor de fumos em modo reciclagem.
- Prepare a sua chaminé telescópica tomando cuidado para dissimilar os orificios (fig. 8).
Encaixar ao maximo as chaminés una dentro da另一边. - Encaixar a parte superior no suporte metálico.
- Ajuste o comprimento da chaminé telescópica baixando a parte inferior e encaixa-la no topo do extractor de fumes.

Para uma'utilisation optimizada do seu aparelho, aconselho lo a ligar a uma conduça com 150~mm de diametro (não inclua). Limitar ao maior o número de cotovelos e o complemento do tubo. Se o extractor de fumos funciona em evaciação exterior, convém assegurar-se da existência de uma entrada de ar fresco suficientemente grande para fazer colocar a pena em depressão.
Funcimiento em modo reciclagem : fig. 5 e 9
É possévilletalirasvalvulasderetenção.
- Fixe contra a parede, apoiado contra o tecto, o deflector plástico dos fumos.
Tome cuidado de maneira a partir o deflector em referencia aoTRSQo vertical tratado na parede (fig. 7). - Prepare a sua chaminé tomando cuidado para colocar os orificios voltados para cima de maneira a que fiquem visíveis (fig. 9).
- Fixe a parte superior ao deflector de plástico.
- Ajuste o comprimento da chaminé telescópica baixando a parte inferior e encaixando-a no topo do extractor de fumos.
Como substituir a l'ampada?

Antes de qualquer intervencao, o extractor de fumosdeera ser colocado fora detensao,quer retirando a tomada,quer actionando o disjuntor.
Modelo com lâmpada de halogeneo:
- Retire a viga (fig. 11).
- Substitua a lampada halogenea G4-20W-12V
- Substitua o Conjunto efectuando as operacoes em sentido contrario.
PT
Como limpar o seu extractor de fumos ?

O extractor de fumes deve ser colocado fora de tensão, quer retirando a tomada, quer actionando o disjuntor, antes de retiring os filtros metalicos. Àpós a limpeza, os filtros metalicos devem ser fixados de novo em conformidade com as instruções.
| FILTRO CASSETE | FILTRO CARVÃO ACTIVO | |
| Antes da primeira'utilisation do FILTER cassette, retire aVELcula de proteção. | Para os extractor de fumos instalados em modo reciclagem | |
| MANUTENÇÃO | INDISPENSÁVEL TODOS OS MESES Para fazer qualquer | INDISPENSÁVEL TODOS OS ANOS perigo de incêndio. |
| PORQUÊ? | Este过滤o absorve os vapores gordos e as poeiras. Ele é o elemento que assegura a parte importante da eficácia do seu extractor de fumos. | Este过滤o absorve os cheiros e delve ser substituído pelo menos todos os anos em função da suautilização. |
| COMO? | Com um produits de limpeza dométrico vendido no comércio, em seguida enxaguae e seque. Esta limpeza pode ser effectuada no seu lava-loça em posicao vertical (não colocar em contacto com a loça suja ou com talheres de prata). | Encomende filtros no seu revendador (sob a referencia indica na placacde caractérística situada Dentro do extractor de fumos) e anote a data de substituição. |
| Nunca utilize esfregões metalicos, Produtos abrasivos ou escosvas demasiado duras. Para limpar a parte exterior e o vigia de iluminação, utilize exclusivamente produits de limpeza dométricos vendidos no comércio diluidos emágua, em seguida enxaguae comágua limpida e seque com um pano. | ||
Desmontagem do filtro cassete (fig. 10) Montagem do filtro de carvão (fig. 12)
- Retire as cassetes.
- Colque o filtro carvão sobre a cassette na parte interna do extractor.
- Coloque os 2 ganchos de fixação.
- Effectue esta operacao em todas as cassetes.

Fig. 1 / Abb. 1

Fig. 2 / Abb. 2




Fig. 3 / Abb. 3
Fig. 4 / Abb. 4

Fig. 5 / Abb. 5

Fig. 6 / Abb. 6

Fig. 7 / Abb. 7

Fig. 8 Abb. 8

Fig. A/Abb.A

Fig.B/ Abb.B

Fig. 9 Abb. 9

Fig. 10 /Abb. 10

Fig. 11 Abb. 11

Fig. 12 / Abb. 12
99631332 02/05
ManualFácil