ONDA1440 - Okap kuchenny FALMEC - Bezpłatna instrukcja obsługi
Znajdź bezpłatnie instrukcję urządzenia ONDA1440 FALMEC w formacie PDF.
Pobierz instrukcję dla swojego Okap kuchenny w formacie PDF za darmo! Znajdź swoją instrukcję ONDA1440 - FALMEC i weź swoje urządzenie elektroniczne z powrotem w ręce. Na tej stronie opublikowane są wszystkie dokumenty niezbędne do korzystania z urządzenia. ONDA1440 marki FALMEC.
INSTRUKCJA OBSŁUGI ONDA1440 FALMEC
Zakupilisce prestižowy okap kuchenny o gwarantowanej jakosci. Dla uzyskania najepszych wyników zalecamy, by starannie przyestrzegać instrukcji obstugi i konserwacci zawartych w tej broszurze. Ponadto, do zamawiania zapasowych filtrów z weglem drzewnym, wykorzystwyac spezialny kupon zaączony na okładce.



Fig. 3

Fig. 4
ISTRUZIONI PER PANNELLO REMOVIBLE INSTRUCTION FOR REMOVABLE PANEL
Ta instrukcja obstugi musi byc przechowywana razem z urzadzeniem w celu przyszłego wykorzystywania. Jeźeli urzadzenia jest sprezedawane lub przyszłane innym stronom, sprawdzić,czy wraz z nim przybekawyana jest ta instrukcja, dla zapewnienia,ź nowy uzytkownik posiada prawidowej informacja o dziataniu okapu kuchennego i zna ostrzeżenia. Te ostrzeżenia zostaly podane dla Wasiego bezpieczność zaotrzejenia innych osob. W zwiazku z tym prosze je uwañnie przyȩć przycedytać przyded instalowaniem i obręga urzadzenia.
To urzadzenie nie jest przyznaczone do uzytkowania przyze małe daneji lub osoby niesprawne, jeźeliNie są one odpowiednio nadzorOWane przyze osobe odpowiedzialna dla zapewnienia bezpiecznych uzytkowania urzadzenia. Naleź pilnować.Małe daneci,by Nie bawiwo sie urzadzeniem.
Urzadzenie musi byc instalowane przyez osobę wykwalifikowanza, zgodnia z obowych zamomi normami. Jeźeli przywód zasilajczy jest uzzkodzony, w celu uniknięcia zagrożenia musi on byc wymieniony przyezroducenta,(go agenta serwisowej lub odpowiednio wykwalifikowanza osobę. Wszelkie modyfikacja, ktore mogą byc wymagane w uładzie elektrycznym w celu zainstalowania okapu kuchennego musza byc wykonywane tylko przyez wykwalifikowych elektryków.
Naprawy wykonywane przyez osoby niewykwalifikowane moga powodstawskody. W celu wykonywania wszelkich napraw i innych prac w urzadzeniu, skontaktowa są z autoryzowanym centrum serwis/u/czeci zamiennych.
Gdy urzadzenie nie jest uzywane, zawsze sprawdzać,czy wszystkie czȩci elektryczne (lampy, urzadzenie wymiągowe) są wyłaczone. Prźed przypegowadzaniem jakichkolwiek operaci w okapie kuchennym przyeczyszatacka instrukcję.
Okap kuchenny musi byc wykorzystwyany tylko do wciagania dymów gotowania w kuchniach domowych. Producent nie ponosi odpowiedzialnosci za kaźde innate uzymiethose urzadzenia.
Maksymalny cięzar kaźdego przytedmiotu umieszczanego na okapie lub zawieszaneano na nim (jesli to moziwe) nie sązeprekraczać 1,5 kilograma. Po zainstalowaniu okapu ze stali niedzewnej wyczyScić go w celu usunięcia pozostałość kleju ochronnégo i plum smaru lub oleju. Producentazolejava为其 czyszczelenie szmatka. Producent nie ponosiźadnej odpowiedzialnosci w przypadku uszkodzenia spowodowanego przyez użcie roźnych rodzajów detergentów.

SPECYFIKACJE TECHNICZNE
Dane techniczne dotycză tego urzadzenia elektrycznégo są podane na tabliczkach znamionowych umieszczonych wewnatrix okapu kuchennego.

INSTALOWANIE
(Rozdziaf zarezerwowany dla wykwalifikowanych instalatorów okapów kuchennych).
Minimalna odlegość: odlegość pomiedź ruszztami kuchenki a najnizszym elementem okapu. Gdy okap jest umieszczony nad urzadzeniem gazowyym, taminimalna odlegość musi wynosić przyznajmiej 65 cm (patrz rysunki C1) lub nawe wyzej, jejeli tak podano w instrukcjach uzytkowania kuchenki gazowej.
W wersji wciagu na zewnatrz, srednica kanafu wyprowadzajacego opary musi byc nie mniejsza, niz podtaczenia okapu kuchennego.
Na odcinkach poziomych kanat musi lekko wznosic sie do góry (około 10%), tak, by lepiej wyprowadzć powietrze poza pomieszczenie.
Unikać stosowania rur kolankowych, upewnić sie, ze rury są o mözgliwie najmiejszej d胶囊sci.
Przestręgać aktualnych przypeśw dotycznych wyprowadzania powietrza do atmosfery.
Ježeli w tym samym czasie uzywany jest bojler, poc, kominek, itp., króry wykorzystuje gaz lub inné paliwa, upewnić sie, ze pomieszczenie, z krórego odpwadzane są opary, jest dobrze wentylowane, zgodnie z aktualnymi przypepisami. Instrukcje mocowania: patrz Rozdziel „O" instrukcji.

POłAACZENIA ELEKTRYCZNE
(Rozdziazarezerwowany dla wykwalifikowanych instalatorów).
OSTRZEZENIE!
Przed wykonywaniem jakichkolwiek prac wewnatrz okapu kuchennego, odłaczyć urzadzenia od zasilania sieciowego.
Sprawdzić,czy przemody wewnatrix okapu kuchennego nie są odączone lub przycięte; jejeli tak jest, skontaktowac sie z najbliszym centrum serwisowym. Podączenia elektryczne musza byc wykonywane przyez osobę wykwalifikowanza.
Podłaczenia musza byc wykonywane zgodnie z obowiażucymi normami prawnymi. Sprawdzic,czy bezpiecznik i uklad elektryczny moga przyenosić obciezenia urzadzenia (patrz specyfikacje techniczne w punkcie B).
Niekóre rodzaje urzadzen są wyposañone w kabel bez wtyczki; w takim przypadku musza byc stosowane „znormalizowej" wtyczki, z uwzgliednieniem, ze:
- przewód zófto-zielony musi byc wykorzystwyany do uziemienia;
- przewód niedieski musi byc uzywany dla linii zerowej (neutral);
- przyzwód brazowy musi byc uzywany jako fazowy; kabel nieMZe stykaść z czȩsciami gorącymi (powyzej 70^ ).
- zakładc zwtyczke, która jest odpowiednia dla obciañenia kabla zasilania i podłaczać ja do odpowiedniego gniazdka zasilania.
Dla urzadzen, któ przychodź wyposañzone w kabel i wtyczke, prosze sie upewnić, ze są one wączane do obwodu odpowiedniago dla takiego urzadzenia.
Prosze poradzić sie osoby wykwalifikowanej. (Patrz specyfikacje techniczne w punkcie B).
Producent nie ponosiźadnej odpowiedzialnosci, są przyestrzegneNormy bezpiecznychstwa.

OKAP KUCHENNY Z WYPROWADZENIEM ZEWNETRZNYM (wyciag)
W tej wersji, demy i para z kuchni sá wyprowadzane na zewnatrz poprzejkanat wciagowy.
Przewód wciagowy, ktory wystaje z górnej czeci okapu kuchennego musi być podłoczony do kanalu, ktory wyprowadza demy i pare na zewatraż. W tej wersji filtry z węgla drzewnego, są załozone, musza być wyjepte; w tym celu prosze przyegrzej instructkcje w punkcie F. Gdy okap kuchenny jest uzywany w tym samym pomieszczemeniu"Justoczenia z urzadzeniami spalajacymi gaz lub inne paliwa, musi być zapewniona odpowiednia wentylacja, zgodnie z(norma.
Ostepstwo dla Niemiec:
Gdy równoc三点nie pracuja: okap kuchenny i urzadzenia zasilane energia inna, niz elektryczna, podciśnienie w pomieszczeniu nie sązeprzekraczać 4 Pa (4x10 E-5 bar).

OKAP KUCHENNY RECYRKULACYJNY (z filtrém)
W tej wersji powietrze przyphywa przyez filtry z węglem drzewnym w celu ocyszczzenia, nastepnie jest wyprowadzane ponownie do kuchni.
Sprawdzić,czy na silniku załozone są filtry z węgla drzewego, jejeliNie, zaintalłowac je zgodnia z instrukcjami w punkcie H.
Ježeli okap jest typu filtrujuść, wyjac zawór"Justnokierunkowy załoźny na wylocie silnika.

Dla maksymalnej wydajnosci, gdy wystepuja silne zapachy lub duza ilosc pary, powinna byc uzywana prędkość trzechia, w normalnych warunkach prȩdkość druga, a prȩdkość pierwsza dla utrzymiwania czystegogowietrza przyminimalnym zużyciu energia. Okap kuchenny powinien byc wączany na poźatku gotłowania i pozostawiony wączony az do znikciecia zapachów.

OBSLUGA
1. PULPIT STEROWANIA DWUPRZYCISKOWY
SWIATLO - Przelącznik A
Połozenia 0:Światło wyłączone.
PoTozenie 1: swiatlo wączone.
PREDKOSC - przelacznik B
Jest uzywany do węczania i ustawiania prędkosci silnika, od 1 do 3, lub regulatora prȩdkosci, zieleżnie od wersji.
SWIATLO - Przelacznik C
Lampka sygnalizacyjna dziatania silnika.

2. PULPIT STEROWANIA PIÉCIOPRZYCISKOWY
SWIATLO - przycisk
Naciński: swiatlo wączone
Zwolniony: swiatto wytagzone
Przycisk SILNIKA - 1, 2, 3, OFF
1: uruchamia silnik z minimnaln污染防治
2: uruchamia silnik ze srednia predkoscia
3: uruchamia silnik z maksymalna prędkość
OFF: zatrzymuje silnik

3. ELEKTRONICZNY PULPIT STEROWANIA
Przycisk swiatka
- ON: swiatto wączone (przycisk swieci sie);
- OFF:进展情况
- Off:进展情况
Przycisk -
Naciska dla zmiejejszania prędkosci silnika
Prędkosci 1, 2 i 3 są wskazywane przyez liczebie zapalajnych są diod LED (wyłączajci diody LED吞噬i zegara).
Przycisk +
Naciskać dla zȩwieszania prędkości silnika
Prędkosci 1, 2 i 3 są wskazywane przyżę licNZe zapalajacys cię diod LED (wyłączajc diody LEDŚwiata i zegara).
(w wersji o 4 prędkosciach przycisk + błyska. Prȩdkość czwarta pozostaje wączona na ustawiony czas. Po 15 minutach silnik powraca do prȩdkości trzechiej).
Przycisk trybu (Mode)
Dziatanie: wącza i wyȩcza silnik okapu.
Funkcja "desired speed" (wymagana prędkość) uzmilwia uruchomienie
silnika z prędkość, która została wybrana przyzed ostatnim wyłaczenia okapu.
Opcjonalnie: wersja ze zdalnym sterowaniem (tylko niedtore wersje).
OSTRZEŽENIE:
Instalować okap daleko od zróde† fal elektromagnetycznych, poniewaz moga one zakóca prawidówe dziatanie uł‡adu elektronicznego.
Maksymalna odlegtość dziatania: 5 metrow. W przypadku zakłocen elektromagnetycznych innych urzadzen, maksymalna odlegtość dziataniaMZEbyc mniejsza, nz 5 metrow.
Przycisk swiatka na zdalnym sterowaniu: wączanie/wyȩczanie świata.
Przyciski - i +: zȩkszanie/zmniejejszanie prędkosci (w celu uruchomienia silnika nacisné przyczisk + albo -).
Przycisk zegara: patrz instrukcje ponizej.
Przycisk zegara i alarmu 'zablokowanego filtra'
- Ta funkcja uzmolniwa automatyczne wyłacznie okapu po 15 minutach przy z ustawiona poprzejno prędkość (przycisk sygnalizuje bplyskaniem lampki).
- Po okofo 30 godzinach pracy przycisk syngalizuje potrzebe umycia filtrów metalowych (przycisk świeci ciągYM czerwonym Śwatlem). W celu wyłaczenia alarmu naciskać przycisk przy bez kilkak sekund, az czerwone śwatto wyłaczy sie. Nastepnie wyłaczyć okap i właczyc ponownie dla sprawdzenia,czy alarmzniknaf.


W celu wyjecia metalowego filtra chwytajacego tuszcz, po prostunaciskać uchwyt A az do uwolnienia go z prowadnicy przyedniaj; nastepnie obracać filtr powoli do dofu i wysunarć go z prowadnicy tylnej. W celu ponownego załozenia filtra, powtarzać operacja w odwrotnej kolejnosci.
Dlaokapówtkóre posiadaj panel z wycigiem szczelinowym otworzyćpanel (patrz rys. nr. 1). Aby wyajć filtr metalowy przyciwtuszczowyotworzyc zamek A.

2. FILTRY Z WEGLEM DRZEWNYM
W celu wymiany filtrów z weglem drzewnym, postępowac nausepujać: zdȩć filtry metalowe, jak opisano powyzej. Można teraz sąwo siegność do dwóch filtrów umieszczonych na końcach silnika.
Jak zakładać nowe filtry - patrz rysunek.
W przypadku okapu ze skrzynka silnika, filtr jest umieszczony na dolnej czeci skrzynki silnika.
Jak zakładać nowe filtry - patrz rysunek.
Aby zamówic nowe filtry węglowe, naleź skont⁺tow⁻c są z dystrybutorem/posrednikiem.
TYLKO NA TERENIE WLOCH: Pobrać odpwiedni formularz zamówietenia na filtry ze strony: www.falmec.com (wejsć do menu kaskadowego serwisu klienita).


3. PANEL OTWIERANY
ABY WYJAÇ PANEL PROSZE POSTEPOWAÇ WEDŁUG INSTRUKCJI NA RYS. H3.

OSWIETLENIE MONTAZI WYMIANA
1. ZARÓWKA
W celu wymiany zarówki:
a) Upewnic sie, ze urzadzenie jest odlaczone od zasilania sieciowego.
b) Odkreci wkre utrzymujacy A i zdjać Pokrywę lampy.
c) Wymienić zarowke na taki sam model, jak oryginalna (max. 25 W, patrz oznaczenia przy lampie).


OSTRZEZENIE! Žarówki o innych ksztatrach i mocach, niz oryginalne, moga pouaznie uszkodzic obudowe lampy.
2. REFLEktor PUNKTOWY
W celu wymiany lampy ("Round Lampa halogenowa"):
a) Upewnic sie, ze urzadzenie jest odlaczone od zasilania sieciowego.
b) Wyjac, podważajac wkrétakiem, pierScién utrzymujacy A pokrzywy szklanej.
c) Zdjac Pokrywę szklana B uzyskujac dostep do obudowy lampy.
d) Wymienić lampę na lampę takiego samego typu (halogenowa max. 20 W, 12 V, mocowanie G4).
e) ZałoźycPokrywewsklanaBizamocowacja wykorzystujac specjalny pierścień A.

Round halogen light
Wymiana oswietenia "Dicroik Lamp"
a) upewnic sieczy urzadzenie jest odlaczone odzasilandia elektrycznego
b) przykęcic zarowej uzywajć do tego srbokrótu (patrz rysunek)
c) wymienic zarwke ( diodowa max. 20W, 12 Volt)

Wymiana oswietenia „ Square halogen Light „ – halogeny kwadratowe
a) upewnic sieczy urzadzenie jest odlaczone od zasilania elektrycznego
b) otworzyc calkowicie ramke halogenu do pofozenia 90 ( patrz rys. ) nacziskajac na PUSH
c) wymienc wziernik halogenu max. 20 W, 12 Volt podłaczenia G4
d) zamknac ramke halogenu. Jesli ramka nie domknie sie odpowiednio, powtorzyc operacja od punktu b.
(Rozdziatrzeznaczony dla wykwalifikowanych instalatorów).
Wymiana lampy jarzeniowej:
a) Odłaczyc urzadzenia od sieci;
b) Odkrecić wkrety mocujace i zdjać płyte dolna;
c) Wyjac lampe jarzeniowa,OCRacajac 90o i wymienic ja na taka sama (8W

OBSŁUGA KONSERWACYJNA I CZYSZCZENIE
Ciagta obstuga konserwacyjna zapewnia prawidlowe dziatanie i wydajnosc urzadzenia przydzigi czas. Nalezy zwracac szczeugolna uwage na metalowe filtry zatrzymujuce tuszcz i filtry z weglem drzewnym. Czeste czyszczenie filtrów ich mocowan zapewni, ze tuszczne nie besteht sie gromadzić w okapie, co powodowaty zagrozenia poźarem.
1. METALOWE FILTRY ZATRZYMUJACE TŁUSZCZ
Zatrzymuja one czastki tuszczu zawieszzone w powietru, a wie powinny byc czyszczone co miesiac w goracej wodzie z detergentem, bez ich wyginania.
W celu wyjecia i wymiany filtrów, postepowac zgodnie z instrukcjami w punkcie H1. Ta operacja powinna byc przypegowadzana regularnie. Filtry metalowe moga byc myte w zmywarce do naczn.
2. FILTRY Z WEGLEM DRZEWNYM
Te filtry zatrzymuja zapachy wystepujace w strumieniu powietrza, które przyez nie przephwywa. Powietrze jest ocyszczane przyez wielokrotny przephwy przyez filtry i zawracane do pomieszczenia kuchni. Filtry z weglem drzewnym nie moga byc czyszczzone i powinny byc wymieniane srednio co 3 - 4 mieseiance (zaleznie od uzytkowania). Wymiana filtrów z weglem drzewnym - patrz instrukcjew punkcie H2.
3. CZYSZCZENIE ZEWNETRZNEJ POWIERZCHNI URZADZENIA
Zaleca sie czyszczemenie zewnetrznych powierzchni okapów przyznajmiej co 15 dni, abyNie dopuścić do trawienia stalowych powierzchni przyź substancese oleiste,czy tłuste.
Zewnetrzna powierzchnia okapu kuchennego powinna byc czyszczona wilgotna szmatka i obojetyn m plynnym detergentem lub alkoholem denaturowanym.
W przypadku wykończenia odpornégo na slady palćów (fasteel), czyscić tylko woda i obojętnym mydlem, miękka szmatka, plukać i dokladnie wycierac do sucha. Nie uzywać produktów, któ zawierajusubstcjé scierne, ostrych scierek lub scierek spezialnie przyeznaczonych do czyszczzenia stali. Uzywanie substancji sciernych lub ostrych scierek nieuchronnie uszkodzi wykończenie stali.
Powierzchnia stali zostanie niedwracalnie uszkodzona, jakeli nie będa przystrzechegane powyźsze instrukcje.
Przechowywać te instrukcje wraz z instrukcjami uzytkowania okapu.
Producent Nie ponosiźadnej odpwiedzialnosci za wszelkie uszkodzenia spowodOWANE nie przyestrzeganiem powyźszych instrukcji.
4. CZYSZCZENIE WNETRZA URZADZENIA
Częsci elektryczne lub czȩsci zespołu silnika wewnatrix okapu kuchennego nie moga byc czyszczzone plynami lub Rozpuszczalinikami.

Nie uzywać produktów sciernych.
Wszystkie powyszne operacja musza byc wykonywane po odłaczeniu urzadzenia od zasilania sieciowego.

Ukăd elektryczny i podłaczenia uziemienia jest zgodnie z międzynarodowymi normami bezpiecznych; ponadto są one zgodne z(norma europejska dla zgodnosci elektromagnetycznej.
Nie podłaczać urzadzenia do przywodów kominowych (od bojlerów, kominków, itp.). Upewnić sie, ze napiecie sieci odpowiada wartosciom podanym na tabliczce znamionowej umieszczonej wewnatrz okapu kuchennego. Minimalna odlegtość bezpieczność stoma pomiedzy płyta kuchenna a okapem kuchennym musiDynosi przyznajmiej 65 cm.
Pod okapem kuchennym nigdy nie gotować na „otwartych" płomieniach. Sprawdzać frytkownice podczas ich uzytkowania: przyegrzany olej sący palny.
- Gdy okap kuchenny jest uzywany JDBCZ urzadzeniami spalajacymi gaz lub innate paliwa, upewnic sie, ze jest wystarczajaca wentylacja pomieszczenia.
- Nie podpalać potraw pod okapem kuchennym
- Wymiaganegowie nie moze byc wyrzucane do przywodukominowego, ktory jest uzywany do wyciagania dymów z urzadzenspalajacyg haz lub innepaliwa.
- Przed uzytkowaniem urzadzenia upewnic sie, ze są spełniane wszystkie przyepamys dotyczne odpradowazania wymiaganegogowietrza.
- Ježeli przywóź zasilajczy niedźaczaly ulegnie uszkodzeniu, to powinien on byc wymiemeny u wytwórcy lub w spezialistycznym zakładzie naprawczym also przy bez wykwalifikowaną osobę welu unikniȩcia zagrozenia. Jeźeli czyszczenie nie jest wykonywane zgodnia z instrukacja, istnieje ryzyko pożaru.

Przed przypegowadzaniem operacji czyszczenia lub konserwacje, odłączyć urzadzenia poprzej wyłączenia wtyczki lub uzycie wyłącznika sieciowego. Producent nie ponosiźadnej odpowiedzialnosci za wszelkie szkody, króre moga byc spowodOWane bezposrednio lub posrednio osobom, rzechom i zwierzętom, z powodu nie przyestrzegania wzystkich instrukcj podanych w tej instrukcj, a przyded wszymstkim ostrzeżen dotycznych instalowania, obśgli i konserwacje urzadzenia.

GWARANCJA
Nowe urzadzenie jest objete gwarancja.
Warunki gwarancji sa podawane przyezy dystrybutora.

Producent nie jest odpowiedzialny za wszelkie niedrawidtowosci w tej instrukcji winikajace z blędów drukowania lub przydekładu. Producent zastrzega sostie prawo do modyfikowania swoich produktów gdy uzna to za konieczne lub w interesie uzytkownika, bez pogarszania glównych charakterystyk bezpieczność i dziatania.
INSTRUKCJE MOCOWANIA, OKAPY KUCHENNE ZE SKRZYNKA
Krok 1
- Przytożyc belkę nosna do sciany (A - Rys. 1) na wysokość od płyty kuchennej okreslonej przyezsume odlegloiść X + Y + 320 mm.
- Sprawdzic ułożenie poziome poziomica spirytusowej i zaznaczyc 2 otwory do wyiercenia przy koncach belki.
- Wywiercić otwory, wstawic 2 kołki Rozporowe o srednicy 8 mm i zamocowych belke uzywajac odpowiednich szrub.
Krok 2
Zahaczyc okap kuchenny na belce nosnej (Rys. 2).
- Wyregulowa połozenia okapu kuchennego wykorzystujac wkréty na wspornikach (Rys. 2). Wkrét górnny (B) reguluje odlególosc od sciany, wkrét dolny (C) regulje wysokość.
Krok 3
- Aby uniknac odczepienia sie okapu wywojanego przy znajdujace sie pod nim ciśnienie,NSEZY przymocowac go przy pomocy kołka Rozporowej i odnosnej s Ruby wykorzystujac otwory umieszczone z tyfu okapu lub zaczepy Pokrzywy.
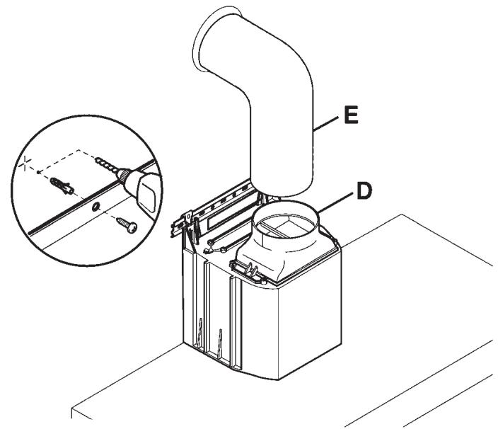
W przypadku wersji zasysajacej, podłaczy złoczkte wyjsciowa wentylatora do wylotu zewétrznego stosujac odpowiedni przyzwód ruowy.
- Podłaczenia elektryczne są zostarc wykonane tylko po uprzejnim odłaczeniu zasilania elektrycznych okapu.
Krok 4
- Włoźyc przy pomoczy 8 strub (V1).
- Przesuwac przyędźuȩcz (H) aż do osiąnięcia pożadnej wysokość.
- Po odnalezieniu idealnej pozycji, oprzej zaczep (L) o sciane, przy pomocy poziomicy sprawdzić wyrównie poziome i oznaczyc na koncach 2 punkty na otwory.
-Wywieci otwory, wtozyc 2 koIrozporowe 4mm i przymocowa zaczep (L) przy pomocy odnosnych szrub. - Przy pomocyŚrub (M) przykrećić przydńuźacz (H) do zaczechu (L).
- Zasilac okap elektrycznoscia zgodnie z obowiazujacymi przyepisami (dziaf D).
Notice-Facile