PD-1 - Appareil photo numérique NOKIA - Notice d'utilisation et mode d'emploi gratuit
Retrouvez gratuitement la notice de l'appareil PD-1 NOKIA au format PDF.
| Type d'appareil | Téléphone mobile |
| Fonction principale | Album photos |
| Écran | Non précisé |
| Résolution de l'écran | Non précisé |
| Capacité de stockage | Non précisé |
| Connectivité | Non précisé |
| Autonomie de la batterie | Non précisé |
| Caméra | Non précisé |
| Système d'exploitation | Non précisé |
| Dimensions | Non précisé |
| Poids | Non précisé |
| Langues supportées | Multilingue |
| Interface utilisateur | Non précisé |
| Fonctions supplémentaires | Gestion et visualisation d'albums photos |
| Garantie | Non précisé |
FOIRE AUX QUESTIONS - PD-1 NOKIA
Questions des utilisateurs sur PD-1 NOKIA
0 question sur cet appareil. Repondez a celles que vous connaissez ou posez la votre.
Poser une nouvelle question sur cet appareil
Téléchargez la notice de votre Appareil photo numérique au format PDF gratuitement ! Retrouvez votre notice PD-1 - NOKIA et reprennez votre appareil électronique en main. Sur cette page sont publiés tous les documents nécessaires à l'utilisation de votre appareil PD-1 de la marque NOKIA.
MODE D'EMPLOI PD-1 NOKIA
Guide de l'utilisateur
DECLARATION DE CONFORMITE
Nous, NOKIA CORPORATION déclarons sous notre seule responsabilité la conformité du produit PD-1 aux dispositions de la directive européen 1999/5/CE. La déclaration de conformité peut être consultée à l'adresse suivant http://www.nokia.com/phones/declaration_of_conformity/.
€ 470
Copyright © 2004 Nokia. Tous droits réservés.
La reproduction, le transfert, la distribution ou le stockage d'une partie ou de la totalité du contenu de ce document, sousquelque forme que ce soit, sans l'autorisation écrite préalable de Nokia est interdite.
Nokia et Nokia Connecting People sont des marques déposées de Nokia Corporation. Les autres noms de produits et de sociétés mentionnés dans ce document peuvent être des marques commerciales ou des noms de marques de leurs détenteurs respectifs.
Bluetooth est une marque déposée de Bluetooth SIG, Inc.
Nokia applique une méthode de développement continu. Par conséquent, Nokia se reserve le droit d'apporter des changements et des améliorations à tout produit précrit dans ce document, sans aucun préavis.
Nokia ne peut enaucun cas etre tenue pour responsable de toute perte de données ou de revenu, ainsi que de tout dommage particulier, incident, consecutif ou indirect.
Le contenu de ce document est fourni « en l'état ». A l'exception des lois obligatoires applicables, aucune garantie sousquelque forme que ce soit, explicite ou implicite, y compris, mais sans s'y limiter, les garanties implicites d'aptitude à la commercialisation et d'adéquation à un usage particulier, n'est accordée quant à la précision, à la fiabilité ou au contenu du document. Nokia se reserve le droit de réviser ce document ou de le retarder à n'importe quel moment sans préavis.
Pour vous assurer de la disponibilité des produits, qui peut varier en fonction des régions, contactez notre revendeur Nokia le plus-Proche.
Edition 2 FR
9232653

Veuillez ire ces instructions simples. Il peut etre dangereux voire illegal de ne pas respecter ces regles. Des informations détaillées sont fournies plus loin dans ce manuel.

UTILISATION DU PERSONNEL HABILITE
L'installation et la réparation de votre apparéil doivent être effectuées uniquement par le personnel habilité.

ACCESSORIES ET BATTERIES
N'utilisez que des accessoires et des batteries agrées. Ne connectez pas d'appareils incompatibles.

CONNEXION A D'AUTRES APPAREILS
Lorsque vous connectez votre apparéil à un autre apparéil,—youillez consultier le manuel d'utilisation de ce dernier pour en savoir plus sur les instructions relatives à la sécurité. Ne connectez pas d'appareils incompatible.

ETANCHACHEITE
Votre appareil n'est pas etanche. Maintenez-le au sec.

N'oubliez pas de faire des copies de sauvegarde de toutes les données importantes.

VENTILATION
Veillez à ce que l'Album photos soit suffisamment ventilé. Ne couvrez pas l'Album photos.

Ne placez pas l'Album photos au-dessus d'un apparéil qui émet de la chaleur.
Ne placez aucune source de flâmme rue, telle une bougie allumée, sur l'Album photos.

DEBRANCHER LEBLOC D'ALIMENTATION
N'enlevez la prise que lorsque l'Album photos est mis hors tension et que levoyant est rouge.
- Introduction 6
Album photos 6
Télécommande 8
Saisie de texte à l'aide de la télécommande 9
- Prise en main 9
Connector l'Album photos à une TV 9
Mettre sous tension l'Album photos. 10
- Utilisation de l'Album photos 11
Stocker des fichiers à partir d'un téléphone mobile 11
Stocker des fichiers à partir d'un apparéil photo numérique. 13
Stocker des fichiers à partir d'une carte mémoire. 14
Visualiser des fichiers 15
Modifier des images 16
Organiser l'Album photos 17
Créer un nouveau dossier. 17
Déplacer et copier des fichiers dans un nouveau dossier 17
Trier des fichiers et dossiers 17
Renommer des fichiers et dossiers 18
Supprimer des fichiers et dossiers 18
Rechercher des fichiers et dossiers 18
Visualiser les détails d'un fichier ou dossier 19
Ajouter des commentaires aux images 19
Crer un diaporama 19
Sauvegarder des fichiers sur un CD 19
Envoyer des fichiers depuis l'Album photos vers un téléphone mobile. 20
A propos des connexions Bluetooth 22
Imprimer des images 23
Connector à un PC 23
-
Réglage des paramètres 24
-
Applications téléphoniques 25
Installer une application téléphonique 25
Utiliser le téléphone comme une télécommande 26
Utiliser l'application Stockage des messages 27
Désinstaller les applications téléphoniques 27
- Dépannage 28
- Précautions d'utilisation et de maintenance 31
- Specifications techniques 33
1. Introduction
L'Album photos vous permet de stocker des images numériques, des clips video et des messages depuis votre téléphone mobile compatible ou votre apparéil photo numérique, de les modifier et de les organiser. Vous pouze également les visualiser sur votre TV. Pour en savoir plus sur les apparéils compatibles et les formats de fichier pris en charge, consultez les "Specifications techniques" à la page 33.
Contenu du coffret de vente de l'Album photos :
I'Album photos
- une télécommande
- piles de type AAA pour la commande à distance
- un bloc d'alimentation
- un cable RCA
- un adaptateur péritel
- leprésent guide de l'utilisateur
■ Album photos
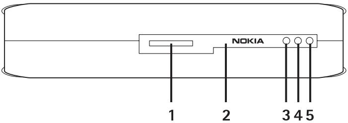
La face avant de l'Album photos se compose de :

Figure 1
- Logement de la carte mémoire (1)
- Port infrarouge pour la connexion avec la télécommande (2)
-
Port infrarouge pour la connexion avec des téléphones à infrarouge (3)
-
Témoin lumineux de mise en veille (4)
- Touche Marche/Arrêt (5)
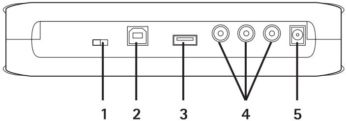
La face arrêté de l'Album photos se compose de :

Figure 2
- Interrupteur NTSC/PAL pour sélectionner le standard TV (1)
- Connecteur USB pour la connexion à un PC (2)
- Connecteur hôte USB pour la connexion à un apparéil photo numérique, ungraveur CD, un lecteur de cartes mémoire externe ou un autre dispositif de mémoire auxiliaire USB (3).
Connecteur RCA (4) - Prise d'alimentation (5)
La face latérale de l'Album photos se compose de :

Figure 3
- Touche Menu (1) - pour ouvr l'écran principal.
- Touches de seLECTION (2) - pour seLECTIONner la commande affichée en bas à gauche ou en bas à droite de l'écran.
- Touches de défilament (3) - pour naviguer dans l'écran, ouvrir ou sélectionner des éléments.
■ Telecommande
Utilisez l'Album photos avec la télécommande fournie dans le coffret de vente.

Figure 4
- Touche Marquer (1) - pour cocher les fichiers et dossiers ou ouvrir le menu de saisie de texte.
- Touche Menu (2) - pour ouvrir l'écran principal.
- Touche Effacement (3) - pour supprimer des fichiers, des dossiers ou du texte.
- Touches de selection (4) - pour selectionner la commande affichée en bas à gauche ou en bas à droite de l'écran.
- Touches caractères (5) - pour saisir du texte.
- Touche de défilament (6) - pour naviguer dans l'écran, appuyez sur cette touche pour ouvrir ou seLECTIONner.
- Port infrarouge (7) - dirigez le port infrarouge vers l'Album photos lorsque vous utilisez la télécommande.
- Touche Marche/Arrêt (8) - pour activer/désactiver l'Album photos.
Pour verrouiller les touches de la télécommande, appuyez sur la touche de selection gauche et ensuite sur la touche. Pour déverrouiller les touches de la télécommande, appuyez sur la touche de selection gauche et ensuite sur la touche.
Saisie de texte à l'aide de la télécommande
Appuyez plusieurs fois sur une touche caractère jusqu'à ce que le caractère souhaité s'affiche. Notez qu'une touche chiffre dispose de beaucoup plus de caractères que ceux imprimés sur la touche.
Si la prochaine lettuce se trouve sur la même touche que celle que vous utilisez, attendez que le curseur s'affiche et saississez ensuite la lettuce.
Si vous faites une erreur, appuyez sur la touche Effacement pour supprimer le caractère incorrect.
Pour saisir une dette majuscule, appuyez sur la touche Marquer, puis selectionnez Mode majuscules. Pour saisir une dette minuscule, appuyez à nouveau sur la touche Marquer, puis selectionnez Mode minuscules. Pour saisir un nombre, appuyez sur la touche Marquer, puis selectionnez Mode chiffres.
Pour insérer un espace, appuyez sur la touche 0.
Les signes de ponctuation les plus courants sont disponibles à partir de la touche 1.
Appuyez sur la touche * pour ouvrir une liste de caractères spéciaux. Sélectionnéz le caractère voulu, puis appuyez sur Sélectionner.
2. Prise en main
- Connecter l'Album photos à une TV

Remarque: Éteignez toujours l'appareil et débranchez-le avant de connecter les câbles ou de les déplacer.
1 Branchez le cable RCA au connecteur RCA sur la face arrêté de l'Album photos. Voir "Figure 5" à la page 10.
Branchez le connecteur video jaune du cable au connecteur video jaune de l'Album photos et branchez les connecteurs rouge et blanc audio du cable aux connecteurs rouge et blanc audio de l'Album photos.
2 Branchez l'autre extrémité du cable RCA soit au connecteur RCA de votre TV ou, si nécessaire, utilisez l'adaptateur péritel pour brancher le cable RCA au connecteur péritel de votre TV.
Branchez le connecteur video jaune du cable au connecteur video de la TV et les connecteurs audio rouge et blanc du cable aux connecteurs audio de votre TV. Consultez le manuel d'utilisation de votre TV pour de plus amples instructions.
3 Connectez le bloc d'alimentation à la prise d'alimentation de l'Album photos et branchez-le dans une prise de courant.

Figure 5
4 Levoyant clignote en vert. Attendeze que l'Album photos soit en mode veille et que levoyant devienne rouge.
5 Allumez votre TV et selectionnez l'entrée correcte. Consultez le manuel d'utilisation de votre TV pour de plus amples instructions.
■ Mettre sous tension l'Album photos
1 Insérez les piles dans la télécommande.
2 Appuyez sur la touche d'alimentation de la commande à distance pour allumer l'Album photos. Le voyant clignote en vert jusqu'à ce que l'Album photos soit allumé.
3 Utilisez la touche de défilament pour sélectionner votre langue dans la liste, puis appuyez sur OK à l'aide de la touche de sélection gauche.
4 Utilisez les touches caractères de la télécommande pour régler la date et appuyez sur OK.
5 Utilisez les touches caractères de la télécommande pour régler l'heure et appuyez sur OK.
L'Album photos est prét à l'emploi.
Si la qualité d'image de la TV est mauvaise, vérifie que la position de l'interrupteur NTSC/PAL situé à l'arrière de l'Album photos correspond au standard de votre TV, voir "Figure 2" à la page 7. Si vous nevez modifier la position du commutateur,.Relancez l'Album photos après la modification.
Pour éteindre l'Album photos, appuyez sur la touche d'alimentation. Le voyant clignote en vert et deviendra rouge pour indiquer que l'Album photos est en mode veille.

Important : N'enlevez la prise que lorsque l'Album photos est mis hors tension et que levoyant est rouge. Si vous enlevez la prise au milieu d'une opération, vos fichiers pouraient etre corrompus et l'Album photos devra réaliser une verification du système de fichiers lors de la prochaine mise sous tension.
3. Utilisation de l'Album photos
■ Stocker des fichiers à partir d'un téléphone mobile
Vous pouvez stocker des images, des clips video et clips audio depuis un téléphone mobile compatible vers l'Album photos. Vous pouvez aussi stocker des messages texte et messages multimédias à partir depuis les téléphones Nokia 6630, Nokia 6670, Nokia 3650, Nokia 3660, Nokia 6600, Nokia 7610 et Nokia 7650 et depuis la console de jeu Nokia N-Gage, par exemple.
Certaines lois de protection du Copyright peuvent vous empêcher de copier, modifier ou de transférer certaines images ou certains contenus.
Pour transférer des fichiers vers l'Album photos par infrarouge :
1 Vérifiez que les ports infrarouges du téléphone et de l'Album photos sont face à face.
2 Sur le téléphone, Sélectionnez les fichiers que vous souhaitez envoyer vers l'Album photos.
3 Envoyez les fichiers via infrarouge. Les fichiers transférés sont stockés dans le dossier Messages reçus de l'Album photos.
En cas d'éché du transfert de fichiers, foucez la connexion infrarouge de votre téléphone mobile et réessayez.
Pour transférer des fichiers vers l'Album photos via la technologie sans fil Bluetooth :
1 Assurez-vous que Bluetooth est activé sur l'Album photos.
Si vous utilisez Bluetooth pour la première fois, appuyez sur Options > Avancé > Paramètres et Sélectionnéz Bluetooth.
Sélectionnez Bluetooth > Changer et positionnéBluetooth sur Activé.
Selectionnez Mot de passer > Changer et tapez un mot de passer à quatre chiffres pour l'Album photos. Le mot de passer prédéfini est 1234.
2 Sur le téléphone, Sélectionnéz les fichiers que vous souhaitez envoyer sur l'Album photos et envoyez les fichiers via Bluetooth.
3 Dans la liste des équipements Bluetooth disponibles, Sélectionné l'Album photos et saisissez le mot de passer de l'Album photos, si vous y étés invite. Les fichiers transférés sont stockés dans le dossier Messages reçus de l'Album photos.
Notez qu'il ne peut y avoir qu'une seule connexion Bluetooth à la fois. La connexion Bluetooth prend fin automatiquement après envoi ou réception des données.
■ Stocker des fichiers à partir d'un apparéil photo numérique
Vous pouvez stocker des images, des clips video et clips audio depuis un apparéil photo numérique compatible ou un autre dispositif de mémoire auxiliaire USB vers l'Album photos.

Remarque: Eteignez toujours l'appareil et débranchez-le avant de connecter les câbles ou de les déplacer.
1 Connectez l'adaptateur USB de l'appareil photo au connecteur USB de l'Album photos ; voir "Figure 2" à la page 7.
2 Allumez l'appareil photo. Vous pouvez visualiser le contenu de l'appareil photo dans le dossier USB sur l'écran principal de l'Album photos.
3 Sélectionnéz le dossier USB et appuyez sur la touche de défilament pour l'ouvrir.
4 Sélectionnez le fichier que vous souhaitez stocker dans l'Album photos. Si vous voulez stocker plusieurs fichiers, Sélectionnez chaque fichier et appuyez sur la touche Marquer.
5 Appuyez sur Options > Organiser > Copier dans dossier.
6 Ouvrez le dossier dans lequel vous souhaitez copier les fichiers sélectionnés, Sélectionnéz Copier ici puis appuyez sur Copier. Notez que le temps de traitement dépend de la taille des fichiers.
Si vous pouze creator un nouveau dossier pour les fichiers, Sélectionnez Nouveau dossier, saississez le nom du dossier à l'aide des touches caractères, Sélectionnez Copier ici, puis appuyez sur OK > Copier.

Important: Ne retirez pas l'appareil photo ou le dispositif de mémoire auxiliaire USB du connecteur USB avant que l'opération ne soit terminée. Si vous retirez l'appareil photo ou le dispositif de mémoire auxiliaire USB pendant une opération, vos fichiers risquent d'être endommages.
Consultez le guide de l'utilisateur de l'appareil photo ou du dispositif de mémoire auxiliaire USB pour de plus amples informations concernant l'utilisation de l'appareil et sa connexion à d'autres équipements.
■ Stocker des fichiers à partir d'une carte mémoire
Vous pouvez stocker des images, des clips video et clips audio depuis une carte mémoire compatible vers l'Album photos. L'utilisation d'une carte mémoire incompatible risque d'endommager la carte mémoire ainsi que l'appareil et les données stockées sur la carte incompatible risquent d'être endommagées. Pour en savoir plus sur les cartes mémoire compatibles, consultez les "Spectingutions techniques" à la page 33.
L'Album photos peut être utilisé avec un lecteur de cartes mémoire externe compatible. Connectez et utilisez le lecteur de cartes mémoire externe comme décrit au chapitre "Stocker des fichiers à partir d'un apparéil photo numérique" à la page 13.
1 Insérez la carte mémoire dans le logement prévu à cet effet sur la face avant de l'Album photos. Assurez-vous que le coin biseauté de la carte mémoire se trouve vers la droite.

Figure 6
Vou puez visualiser le contenu de la carte mémoire dans le dossier Carte mémoire sur l'écran principal de l'Album photos.
2 Sélectionnez le dossier Carte mémoire et appuyez sur la touche de défilament pour l'ouvrir.
3 Sélectionnez le fjichier que vous souhaitez stocker dans l'Album photos. Si vous voulez stocker plusieurs fjichiers, Sélectionnez chaque fjichier et appuyez sur la touche Marquer.
4 Cliquez sur Options > Organiser > Copier dans dossier.
5 Ouvrez le dossier dans lequel vous souhaitez copier les fichiers sélectionnés, Sélectionnéz Copier ici puis cliquez sur Copier.
Si vous pouze creer un nouveau dossier pour les fichiers, Sélectionnez Nouveau dossier, saisissez le nom du dossier à l'aide des touches caractères, Sélectionnez Copier ici, puis cliquez sur OK > Copier.

Important: Ne retirez pas la carte mémoire de l'Album photos avant que l'opération ne soit terminée. Si vous retirez la carte mémoire pendant une opération, vos fichiers risquent d'être endommages.
■ Visualiser des fichiers
1 Sélectionnez le dossier où se trouve le fichier et appuyez sur la touche de défilament pour l'ouvrir.
2 Sélectionné le fichier et appuyez sur la touche de défilament pour l'ouvrir. Vous pouvez ouvrir le fichier suivant ou le fichier précédent dans le même dossier en appuyant simplement sur la touche de défilament gauche ou droite.
Lorsque vous ouvrez un fisier image, l'Album photos prépare l'image afin que vous puissiez la visualiser. Ceci peut prendre un certain temps et n'a lieu que lorsque vous ouvrez une image ou un dossier pour la première fois.
Les messages multimédias peuvent containir plusieurs pages. Ouvrez la page suivante en appuyant sur la touche de défilament vers le bas. Si le message multimédia contient des pieces jointes, appuyez sur Options > Afficher pieces jointes.
Notez que lorsqu'un fichier est ouvert sur l'écran de la TV, les textes de commande disparaissent de l'écran pendant un certain temps.
Cependant, les commandes sont toujours disponibles et vous pouvez utiliser les touches de selection pour faire fonctionner l'Album photos.
L'Album photos peutmettre un certain temps àtraiter les clips videoo MJPEGafin dele convertir en un format visualisable.Vous pouvez interrompre le traitement sans perdre les données déjà traitées.L'icone du clip video affiche le statut du traitement.
■ Modifier des images
Lorsqu'une image est ouverte, cliquez sur Options pour acceder à une liste d'options d'edition. Sélectionnez une option et appuyez sur la touche de défilament.
Notez que lorsque vous modifie des images, leur résolution est moins bonne que l'originale. Pour conserver la haute résolution de l'image d'origine, sauvegardez l'image modifiée sous un nouveau nom : cliquez sur Options > Enregistrer sous puis tapez le nouveau nom à l'aide des touches caractères de la télécommande.
Rotation - pour faire pivoter l'image vers la gauche ou vers la droite.
Vous pouze également effectuer une rotation à l'aide des touches caractères 0 et #.
Zoom - pour effectuer un zoom avant sur l'image. Cliquez sur Options > Zoom arrrière pour effectuer un zoom arrrière sur l'image. Vous pouvez également zoomer à l'aide des touches caractères * et 1. ÀpRES avoir effectué un zoom avant sur une image, cliquez sur Modifier > Découper si vous souhaitez sauvégarder l'image réduite séparément.
Modifier - selectionnez l'option désirée :
- Ajustement auto - pour ajuster l'image automatiquement.
- Luminosite/Contraste - utilisez la touche de défilament pour régler la luminosite et le contraste, puis cliquez sur OK.
- Nettété - utilisez la touche de défilament pour régler la nettété, puis cliquez sur OK.
- Anti yeux rouges - utilisez la touche de défilament pour déplacer le curseur sur les yeux rouges, puis appuyez sur Sélectionner. A l'aide des touches de défilament de gauche et de droite, entourez l'oeil rouge, puis cliquez sur Sélectionner.
Ajouter - selectionnez l'option désirée :
- Ajouter cadre - Sélectionnez un cadre pour l'image, puis appuyez sur la touche de défilament.
- Ajouter texte - tapez du texte dans l'image à l'aide des touches caractères de la télécommande. Cliquez sur Suivant et sélectionnez la taille et la couleur pour le texte, cliquez ensuite sur Terminer.
Ajouter commentaires - ajoutez des commentaires à l'image. Pour voir les commentaires, cliquez sur Options > Afficher commentaires ou appuyez sur la touche caractère 9.
Organiser l'Album photos
Créer un nouveau dossier
1 Cliquez sur Options > Nouveau dossier.
2 Saisissez un nom pour le dossier à l'aide des touches caractères de la télécommande, puis cliquez sur OK.
Déplacer et copier des fichiers dans un nouveau dossier
1 Sélectionnéz le fichier que vous souhaitez déplacer. Si vous voulez déplacer plusieurs fichiers, Sélectionnéz chaque fichier et cliquez sur la touche Marquer.
2 Cliquez sur Options > Organiser > Dépl. vers dossier. Si vous voulez copier les fichiers sélectionnés dans un autre dossier, sélectionnez Copier dans dossier.
3 Ouvrez le dossier dans lequel vous souhaitez copier les fichiers sélectionnés, Sélectionnéz Déplacer ici/Copier ici puis cliquez sur Déplacer/Copier.
Si vous pouze creer un nouveau dossier pour les fichiers, Sélectionnez Nouveau dossier, saisissez le nom du dossier à l'aide des touches caractères, Sélectionnez Déplacer ici/Copier ici puis cliquez sur OK > Déplacer/Copier.
Notez que vous ne pouvez pas déplacer de fichiers qui se trouvent sur un CD ou sur un apparéil photo numérique qui utilise le Picture Transfer Protocol.
Trier des fichiers et dossiers
1 Cliquez sur Options > Trier.
2 Sélectionnéz l'une des options suivantes pour trier les fichiers ou dossiers :
- par date - pour les trier du plus ancien au plus recent.
- par nom - pour les trier par ordre alphabetique.
- par type - pour regrouper les différents types de fichiers.
- manuellement - Sélectionnez un fichier ou un dossier, utilisez la touche de défilament pour déplacer le curseur à l'endroit souhaïte, puis cliquez sur OK.
Renommer des fichiers et dossiers
1 Sélectionnez un fichier ou un dossier, puis cliquez sur Options > Organiser > Renommer.
2 Entrez le nouveau nom à l'aide des touches caractères, puis cliquez sur OK.
Notez que vous ne pouvez pas denommer des fichiers qui se trouvent sur un CD ou sur un apparéil photo numérique qui utilise le Picture Transfer Protocol.
Supprimer des fichiers et dossiers
1 Sélectionnéz le fichier ou dossier que vous souhaitez supprimer. Si vous foulez supprimer plusieurs fischiers, Sélectionnéz chaque fichier et cliquez sur la touche Marquer.
2 Cliquez sur Options > Organiser > Supprimer.
3 Lors de la demande de confirmation, cliquez sur Oui.
Notez que vous ne pouvez pas supprimer de fichiers qui se trouvent sur un CD ou sur un apparéil photo numérique qui utilise le Picture Transfer Protocol.
Rechercher des fichiers et dossiers
1 Cliquez sur Options > Rechercher.
2 Saisissez les mots clés et/ou la date du fichier, puis cliquez sur OK. L'Album photos recherche les mots clés parmi les noms de fichiers et de dossiers, dans les champs de commentaires et dans les contenus des messages. La recherche n'est pas sensible à la casse. Vous pouvez aussi saisir des parties de mots.
Dans le champ date, vous pouvez saisir l'année uniquement, si vous souhaitez rechercher des fichiers à partir d'une certaine année, ou le mois et l'année, ou encore uniquement la date de début ou date de fin.
Visualiser les détails d'un fichier ou dossier
Selectionnez le fichier ou le dossier voulu, puis cliquez sur Options > Avancé > Afficher détails.
Ajouter des commentaires aux images
1 Sélectionnez l'image voulue, puis cliquez sur Options > Avancé > Ajouter commentaires.
2 Entrez le commentaire à l'aide des touches caractères, puis cliquez sur OK.
Pour voir le commentaire, appuyez sur Options > Avancé > Afficher commentaires.
Créer un diaporama
Vous pouvez afficher vos fichiers sous forme d'un diaporama.
1 Ouvrez le dossier dont vous souhaitezprésenté le contenu sous forme de diaporama.
2 Cliquez sur Options > Avancé > Diaporama.
L'Album photos commence à afficher le contenu du dossier. Pour suspendre le diaporama, cliquez sur Options > Suspendre diaporama. Pour arrêté le diaporama, cliquez sur Arrêter.
Pour régler le temps d'affichage d'un fichier dans un diaporama, voir "Réglage des paramètres" à la page 24.
Sauvegarder des fichiers sur un CD
Vou puez faire des copies de sauvegarde des fichiers de l'Album photos sur un CD-ROM à l'aide d'un graveur CD compatible.

Remarque : Eteignez toujours l'appareil et débranchez-le avant de connecter les câbles ou de les déplacer.
1 Connectez ungraveur CD compatible au connecteur USB situé à l'arrière de l'Album photos,voir "Figure 2"à la page 7.
2 Cliques sur Options > Avance > Créer CD.
3 Cliquez sur Demarrer, selectionnez les fichiers ou dossiers souhaites, puis cliquez sur Options > Ajouter pour chaque fichier ou dossier.
4 Cliquez sur Options > Confirmer éléments SéLECTIONNÉS et vérifie le contenu sélectionné pour le CD. Si vous voulez modifier le contenu, cliquez sur Options > Changer éléments SéLECTIONNÉS.
5 Lorsque le contenu est prét, cliquez sur Options > Graver CD.
Avant de supprimer tout fichier de l'Album photos, assurez-vous que les fichiers ont eté correctement sauvégardés sur le CD.
Pour visualiser le contenu du CD, connectez legraveur CD au connecteur USB de l'Album photos puis ouvre le dossier USB sur l'Album photos.
Notez que vous ne pouvez pas modifier ou supprimer le contenu du CD via l'Album photos.
Notez que vous ne pourrez pas-retirer le CD dugraveur CD si le dossier USB est ouvert dans l'Album photos. Pour etre certain que le dossier USB est fermé, appuyez sur la touche Menu de la telecommande.
■ Envoyer des fichiers depuis l'Album photos vers un téléphone mobile
Notez que lorsque vous envoyez des messages texte ou des messages multimédias depuis l'Album photos vers un téléphone mobile, vous pouvez uniquement ouvrir les messages à l'aide du téléphone à partir duquel les messages ont été envoyés sur l'Album photos à l'origine.
Pour transférer des fichiers vers un téléphone mobile par infrarouge:
1 Assurez-vous que les ports infrarouges du téléphone et de l'Album photos sont face à face, voir "Figure 1" à la page 6 et activez la connexion infrarouge sur votre téléphone.
2 Dans l'Album photos, Sélectionnez le fjichier que vous souhaitez transférer vers le téléphone. Si vous voulez transférer plusieurs fjichiers, Sélectionnez chaque fjichier et appuyez sur la touche Marquer.
3 Cliquez sur Options > Envoyer, puis selectionnéz l'envoi du message via infrarouge.
Il est probable que le système vous demande si vous souhaitez réduire la taille de l'image. Sélectionnez Oui si vous souhaitez envoyer le fichier sur votre téléphone mobile sous forme d'un message multimédia. Les messages multimédias ne peuvent pasContainir de très grandes images.
Pour transférer des fichiers vers un téléphone mobile via la technologie sans fil Bluetooth :
1 Dans l'Album photos, sélectionnez le fjichier que vous souhaitez transférer vers le téléphone. Si vous poulez transférer plusieurs fjichiers, sélectionnez chaque fjichier et appuyez sur la touche Marquer.
2 Cliquez sur Options > Envoyer et selectionnez l'envoi du message via Bluetooth.
3 L'Album photos commence à rechercher les équipements à sa portée. Les équipements dotés de la technologie sans fil Bluetooth se trouvant à sa portée s'affichent à l'écran un par un.
Si vous ave déjà lancé une recherche d'équipements Bluetooth auparavant, une liste des équipements trouvés précédemment s'affiche d'abord. Pour lancer une nouvelle recherche, cliquez sur Autres équipements.
4 Sélectionnez le téléphone souhaïte, puis cliquez sur Sélectionner.
5 Saisissez le mot de passer du téléphone, si vous y âtes invite.
Il est probable que le système vous demande si vous souhaitez réduire la taille de l'image. Sélectionnez Oui si vous souhaitez envoyer le fichier sur votre téléphone mobile sous forme d'un message multimédia. Les messages multimédias ne peuvent pasContainir de très grandes images.
Notez qu'il ne peut y avoir qu'une seule connexion Bluetooth à la fois. La connexion Bluetooth prend fin automatiquement après l'envoi ou la réception des données.
À propos des connexions Bluetooth
La technologie sans fil Bluetooth vous permet d'établier des connexions sans fil entre des équipements électroniques à une distance maximale de 10 mètres.
Comme les équipements dotés de la technologie sans fil Bluetooth communiquent à l'aide des ondes radio, l'Album photos et les autres équipements ne doivent pas nécessairement être placés l'un en face de l'autre.
Les deux équipements doivent simplement être placés à une distance maximale de 10 mètres l'un de l'autre. Cependant, la connexion peut subir des interférences de la part d'autres équipements électroniques ou à cause de la présence d'obstacles comme des murs, entravant la connexion.
Pour établier une liaison avec un équipement Bluetooth :
Liaison signifie authentication. Les utilisateurs des équipements dotés de la technologie sans fil Bluetooth doivent semettre d'accord sur un mot de passer et utiliser ce même mot de passer pour les deux équipements afin de les lien.
1 Cliquez sur Options > Avancé > Paramètres, Sélectionnez Bluetooth > Equipements liés.
2 Cliquez sur Options > Ajouter équipement. L'Album photos commence à rechercher les équipements à sa portée. Si vous avez déjà lancé une recherche d'équipements aparavant, une liste des équipements trouvés précédemment s'affiche d'abord. Pour lancer une nouvelle recherche, sélectionnez Autres équipements.
3 Sélectionnez l'équipment avec lequel vous souhaitez étabir une liaison, puis cliquez sur Sélectionner.
4 Saisissez le mot de passer de l'equipement lorsque vous y ETES invite. L'equipement est ajoute dans la liste des équipements liés.
Pour attribuer une dénomination à l'équipment lié :
Precisez une dénomination vous permettant de reconnaître un certain équipement. Ce nom est stocké dans la mémoire de l'Album photos et ne peut être vu par d'autres utilisateurs d'équipements.
1 Cliquez sur Options > Avancé > Paramètres, Sélectionnez Bluetooth > Equipements liés.
2 Cliquez sur Changer, selectionnez l'equipement lie dans la liste, appuyez sur Options > Attribuer dénomination. Saisissez la dénomination et cliquez sur OK.
■ Imprimer des images
Vous pouvez imprimer des images à l'aide d'une imprimante compatible Bluetooth.
1 Ouvrez une image et cliquez sur Options > Imprimer.
2 L'Album photos commence à rechercher les équipements à sa portée. Les équipements dotés de la technologie sans fil Bluetooth se trouvant à sa portée s'affichent à l'écran un par un.
Si vous avei déjà lance une recherche d'equipements Bluetooth aparavant, une liste des équipements trouvés precedemment s'affiche d'abord. Pour lancer une nouvelle recherche, cliquez sur Autres équipements.
3 Sélectionnez l'imprimante souhaitée et cliquez sur Sélectionner.
4 Saisissez le mot de passer de l'imprimante, si vous y etes invite.
- Connecter à un PC
Vous pouvez connecter l'Album photos à un PC compatible et faire de copies de sauvegarde de vos fichiers.
1 Assurez-vous que l'Album photos est allumé et que levoyant est vert.
2 Connectez le cable USB d'un PC compatible au connecteur USB de l'Album photos ; voir "Figure 2" à la page 7.
3 Pour être certain que la vérification du système de fichiers n'est pas en cours d'exécution sur l'Album photos, appuyez sur la touche de défilament de droite.
L'Album photos peut maintainer être considéré comme un disque amovible sur le PC.
Notez que vous ne pouvez pas utiliser l'Album photos lorsque celui-ci est connecté à un PC.
4. Réglage des paramètres
Cliquez sur Options > Avance > Paramètres pour obtenir la liste des paramètres suivante :
Bluetooth - pour configurer les paramètres de vos connexions
Bluetooth :
- Bluetooth - Sélectionnéz Activé si vous souhaitez utiliser la technologie sans fil Bluetooth. Si vous Sélectionnéz Désactivé, toutes les connexions Bluetooth actives sont interrompues et la technologie sans fil Bluetooth ne peut plus être utilisée pour l'envoi ou la réception de données.
- Visibilité - Sélectionnez Visible par tous, si vous poulez que l'Album photos puisse être détecté par d'autres équipements lors d'une recherche d'équipements. Sélectionnez Masqué, si vous souhaitez que l'Album photos ne soit pas visible par les autres équipements.
- Mon équipement - saississez un nom pour l'Album photos. Àpres avoir activé Bluetooth et réglé Visibilité sur Visible par tous, ce nom peut être vu par d'autres équipements.
- Equipements liés - pour afficher les équipements Bluetooth liés à l'Album photos. Pourlier un nouvel équipement, cliquez sur Options > Ajouter équipement. Voir "Pour établier une liaison avec un équipement Bluetooth :" à la page 22.
- Mot de passer - tapez un mot de passer à quatre chiffres pour l'Album photos. Le mot de passage prédéfini est 1234.
Paramètres généraux - pour configurer l'apparace de l'Album photos :
- Intervalle diaporama - saisissez le nombre de secondes durant lesquelles un fichier s'affiche dans un diaporama.
- Langue - précisez la langue pour l'Album photos.
-
Format date & heures - réglez la date et l'heure et précisez le format utilisé pour l'affichage de la date et de l'heure.
-
Configuration d'origine - supprimer le paramétrage actuel et restaurez le paramétrage d'origine de l'Album photos. Notez que la restauration des paramètres d'origine ne supprime aucun fichier ni dossier de l'Album photos.
Application tel. - voir "Applications téléphoniques" à la page 25.
Informations système - pour visualiser les données concernant l'Album photos :
- Disque - pour visualiser les données relatives à l'espace de stockage. Notez que la vérification du disque peut prendre un certain temps selon le volume des données stockées.
- Informations produit - pour connaître la version du logiciel et du matériel.
5. Applications téléphoniques
L'Album photos dispose de deux applications que vous pouvez télécharger sur un téléphone mobile.
- Commande à distance - utilisez le téléphone mobile comme télécommande pour l'Album photos via la technologie sans fil Bluetooth.
- Stockage des messages - pour envoyer des messages texte et des messages multimédias depuis un téléphone mobile vers l'Album photos.
Les applications sont compatibles avec les téléphones Nokia 6630, Nokia 6670, Nokia 3650, Nokia 3660, Nokia 6600, Nokia 7610 et Nokia 7650 et avec la console de jeu Nokia N-Gage, par exemple.
■ Installer une application téléphonique
1 Activez soit Bluetooth soit l'infrarouge sur le téléphone. Consultez le guide de l'utilisateur de votre téléphone pour plus d'informations.
2 Dans l'Album photos, cliquez sur Options > Avancé > Paramètres > Application tél. > Installer Commande à distance/Installer Stockage des messages.
3 Choisissez d'envoyer l'application sur le téléphone via Bluetooth ou par infrarouge et cliquez sur OK.
Si vous sélectionnez Bluetooth, l'Album photos commence à rechercher les équipements à sa portée. Les équipements utilisant la technologie sans fil Bluetooth se trouvant à sa portée s'affichent sur l'écran un par un.
Si vous ave déjà lancé une recherche d'équipements Bluetooth aparavant, une liste des équipements trouvés précédemment s'affiche d'abord. Pour lancer une nouvelle recherche, cliquez sur Autres équipements. Sélectionnez le téléphone souhaïte, puis cliquez sur Sélectionner. Saisissez le mot de passer du téléphone, si vous y étés invite.
4 Allez dans le dossier Msgs reçus du téléphone et ouvre le fichier de l'application.
5 Sélectionnez la langue pour l'application et choisissez d'installer l'application sur le téléphone ou sur une carte mémoire, si le téléphone en possède une.
Utiliser le téléphone comme une télécommande
1 Vérifiez que Bluetooth est activé sur l'Album photos, voir "Réglage des paramètres" à la page 24.
2 Allez dans le dossier principal du téléphone et ouvrez l'application Commande à distance. L'application lance la recherche des équipements Bluetooth.
3 Utilisez les touches du téléphone pour faire fonctionner l'Album photos. Les fonctions des touches sont les mêmes que celles de la télécommande de l'Album photos, voir "Télécommande" à la page 8.
Pour cesser d'utiliser le téléphone comme télécommande, appuyez sur la touche de fin d'applé sur le téléphone.
Si vous avez un appel entrant alors que vous utilisez le téléphone
comme telécommande, l'application Commande à distance s'arrête.
Relancez l'application si vous souhaitez continuer à utiliser le téléphone comme télécommande après l'appoint.
Notez qu'il ne peut y avoir qu'une seule connexion Bluetooth à la fois.
Lorsque you utilisez le téléphone comme télécommande, vous ne
pouvez pas transférer de fichiers du téléphone vers l'Album photos via la technologie sans fil Bluetooth.
Utiliser l'application Stockage des messages
1 Allez dans le menu principal du téléphone et ouvre l'application Stockage des messages.
2 Sélectionné le dossier dans lequel se trouve le message souhaïte et cliquez sur Options > Ouvrir.
3 Sélectionnéz le message que vous souhaitez stocker dans l'Album photos et cliquez sur Envoyer.
4 Choisissez d'envoyer le message via Bluetooth ou via infrarouge. Si vous selectionnez Bluetooth, vérifie que Bluetooth est activé sur l'Album photos, voir "Réglage des paramètres" à la page 24.
Les messages transférés sont stockés dans le dossier Messages reçus de l'Album photos.
Notez que lorsque vous stockez des messages texte ou des messages multimédias dans l'Album photos depuis un téléphone mobile et que vous les renvoyez ensuite sur le téléphone, vous pouvez uniquement ouvrir les messages à l'aide du téléphone à partir duquel les messages ont été envoyés sur l'Album photos à l'origine.
Désinstaller les applications téléphoniques
1 Allez dans le Gestionnaire d'applications du téléphone.
2 Sélectionnez l'application que vous souhaitez supprimer et cliquez sur Options > Supprimer.
6. Dépannage
La qualité d'image de la TV est mauvaise ou il n'y a pas d'image sur l'écran de la TV.
Si le témoin lumineux de mise en veille est rouge :
- L'Album photos est en veille. Appuyez sur la touche Marche/Arrêt de la télécommande.
Si le témoin lumineux de mise en veille est vert :
- Vérifiez que tous les cables sont bien connectés.

Remarque : Eteignez toujours l'appareil et débranchez-le avant de connecter les câbles ou de les déplacer.
- Vérifiez que la position de l'interrupteur NTSC/PAL à l'arrière correspond au standard de votre TV, voir "Figure 2" à la page 7. Si vous doivent modifier la position du commutateur, reliancez l'Album photos après la modification.
- Vérifiez que vous avez choisi la bonne entrée video pour votre TV. Consultez le manuel d'utilisation de votre TV pour de plus amples instructions.
La télécommande ne fonctionne pas
- Vérifiez que vous dirigez la télécommande correctement.
- Vérifiez que rien n'entrave la face avant de l'Album photos et que le soleil ne se reflète pas dans le port infrarouge.
- Changez les piles dans la télécommande.
- Vérifiez que l'Album photos n'est pas connecté à un PC.
Redemarrez l'Album photos et reessayez.
L'autre équipement ne s'affiche pas sur le mien lors d'une connexion Bluetooth.
Assurez-vous que la technologie sans fil Bluetooth est activée sur les deux équipements et qu'aucune autre connexion Bluetooth n'est active.
- Vérifiez que vous vous trouvez dans un rayon maximum de 10 mètres de l'Album photos et qu'aucun mur ni obstacle ne se trouve entre vous et l'Album photos.
- Vérifiez que le paramètre de visibilité de l'equipement sur l'autre équipement est régle sur Visible par tous et que vous connaissiez le nom de l'equipement.
- Vérifiez qu'aucune interférence ne provient d'un autre équipement.
- Vérifiez que l'Album photos n'est pas connecté à un PC.
- Reliancez la recherche d'équipements Bluetooth.
Redemarrez l'Album photos et reessayez.
La connexion Bluetooth ne fonctionne pas
- Vérifiez la compatibilité des équipements. Voir les "Specifications techniques" à la page 33 pour les versions et modes Bluetooth compatibles.
- Verifiez que vous vous trouvez dans un rayon maximum de 10 metres de l'Album photos et qu'aucun mur ni obstacle ne se trouve entre vous et l'Album photos.
- Vérifiez qu'aucune interférence ne provient d'un autre équipement.
- Vérifiez que l'Album photos n'est pas connecté à un PC.
- Eteignez l'Album photos et débranchez le bloc d'alimentation. Ensuite, branchez le bloc d'alimentation et redémarrez l'Album photos.
La connexion infrarouge ne fonctionne pas
- Vérifiez que le port infrarouge du téléphone ou de la télécommande soit face au port infrarouge de l'Album photos, voir "Figure 1" à la page 6.
- Vérifiez que vous étés à 30 cm de l'Album photos.
- Vérifiez la compatibilité des équipements. Voir les "Specifications techniques" à la page 33.
-
Vérifiez que l'Album photos n'est pas connecté à un PC.
-
Coupe la connexion infrarouge de votre téléphone mobile et réessayez.
- Eteignez l'Album photos et débranchez le bloc d'alimentation. Ensuite, branchez le bloc d'alimentation et redémarrez l'Album photos.
L'équipment USB connecté ne s'affiche pas sous forme de dossier USB sur l'Album photos
- Vérifiez que vous recherchez le dossier au bon endroit : appuyez sur la touche Menu pour ouvrir l'écran principal. Le dossier USB se trouve à côté du dossier Messages reçus.
- Verifiez que l'équipement USB est sous tension.
- Vérifiez que vous avez connecté le bon cable au bon connecteur.
- Vérifiez la compatibilité des équipements. Voir les "Specifications techniques" à la page 33.
Impossible d'ouvrir un fichier
- Le format de fichier est peut-être incorrect. Voir les "Specifications techniques" à la page 33 pour connaître les formats de fichier compatibles.
- Le fichier est peut-être endommagé. Vérifiez l'intégrité du fichier d'origine et essayez de le restaurer à nouveau sur l'Album photos.
- Si le fichier en question est un fichier image ou un clip video, affichez les détails du fichier et vérifie que la résolution du fichier n'est pas trop élevé. Voir les "Spcifications techniques" à la page 33.
La carte mémoire ne s'affiche pas en tant que dossier Carte mémoire
- Vérifiez que la carte mémoire est compatible. Voir les "Spectinguations techniques" à la page 33.
- Vérifiez que vous avez correctement inséré la carte, voir "Figure 6" à la page 14.
- Retirez la carte et insérez-la à nouveau.
Redemarrez l'Album photos et reessayez.
Impossible de voir le contenu du CD dans legraveur CD
- Vérifiez que tous les cables sont bien connectés.
- Fermez le dossier USB et réessayez.
Notez que vous ne pourrez pas-retirer le CD dugraveur CD si le dossier USB est ouvert dans l'Album photos. Pour etre certain que le dossier USB est fermé, appuyez sur la touche Menu de la telecommande.
Vérification du système de fichier et contrôle du disque
L'exécution de la vérification du système de fichiers ou du disque peut prendre un certain temps selon le volume des données stockées.
7. Précautions d'utilisation et de maintenance
Votre appareil est un produit de conception et d'élaboration de haute technologie et doit être manipulé avec précaution. Les suggestions suivantes vous permettront de replir toutes les conditions de garantie et d'exploiter ce produit pendant des années.
- Gardez l'appareil ainsi que tous ses composants et accessoires hors de portée des enfants.
- Maintenez l'appareil au sec. L'eau de pluie, l'humidité et les liquides contiennent des mineraux susceptibles de détiériorer les circuits électroniques.
- N'utilise pas ou ne stockez pas l'appareil dans un endroit poussiereux ou sale. Ses composants risquent de se déterminer.
- Ne stockez pas l'appareil dans des zones de température élevé. Des températures élevées peuvent abréger la vie des apparêls électroniques, endommager les batteries et fausser ou fondre certains composants en plastique.
-
Ne stockez pas l'appareil dans des zones de basse température. Lorsqu'il est en phase de chauffe (pour atteindre sa température normale), de l'humidité peut se former à l'intérieur, ce qui risque d'endommager les circuits électroniques.
-
N'essayez pas d'ouvoir l'appareil. Une manipulation inappropriée risque de l'endommager.
- Ne faites pas tomber l'appareil, ne le hourtez pas ou ne le secouez pas. Une manipulation brute risquerait de détruire les différents circuits internes.
- N'utilisez pas de produits chimiques durs, de solvants ou de détergents puissants pour nettoyer votre apparéil.
- Ne peignez pas l'appareil. La peinture risque d'encrasser ses composants et d'empecher le fonctionnement correct.
Les recommendations ci-dessus s'appliquent à votre apparéil ainsi qu'à tout autre accessoire. Si l'un d'eux ne fonctionne pas correctement, portez-le au service de maintenance habilité le plus-Proche. Ce service vous conseillera et, si nécessaire, prendra les dispositions appropriées.
| Standard TV | Fréquence de balayage | PAL : 50 Hz NTSC : 60 Hz |
| Performance VIDéo | Convertisseur DA | 10 bits / 80 MHz |
| Sortie VIDéo | 1 VP-p / 75 Ohm | |
| Connecteurs de la face avant | Logement carte mémoire | Logement pour carte multimédia (MMC) et carte mémoire SD |
| Connecteurs de la face arrière | Sortie VIDéo | Connecteur RCA (jaune) |
| Sortie audio gauche/ droite | Connecteur RCA (blanc/rouge) | |
| Connecteur hôte USB | • Câble USB (standard A) • USB 1.1 | |
| Connecteur équipement USB | • Câble USB (standard B) • USB 1.1 | |
| Puisance | Standard 1 broche | |
| Bloc d'alimentation | Type | AC-1000 |
| Entrée | • CA 100 V ~ 240 V • 50-60 Hz | |
| Sortie | CC 12 V, 1,35 A | |
| Général | Puisance consommée | 7,3 W |
| Puisance consommée en veille | 4,8 W | |
| Dimensions (L/I/H) | 200*158*41 mm | |
| Poids net | 455 g | |
| Température de fonctionnement | 5°C à 35°C | |
| Humidité en fonctionnement | 5 % à 90 % | |
| Température de stockage | -40°C à 65°C | |
| Télécommande | Distance de transmission | 7m ± 30° |
| Dimensions (L/I/H) | 141 * 49 * 24 mm | |
| Poids net | 54 g | |
| Type de pile | AAA | |
| Bluetooth | Standard Bluetooth | Version 1.1 |
| Portée de communication | En visibilité directe, environ 10 m | |
| Bande de fréquences | 2,4 GHz (2,4000 GHz ~ 2,4835 GHz) | |
| Modes | SPP OPP BIP BPP | |
| Infrarouge | Distance de transmission | 0,3m ± 30° |
| Protocoles | IrOBEX version 1.3 | |
| Stockage | Disque dur | 40 Go |
| Formats de fichier compatibles | Fichiers images | JPEG (JPEG progressif non pris en charge) GIF (GIF progressif ou animé non pris en charge) |
| Fichiers films | MJPEG MPEG4, profil simple H.263 | |
| Fichiers son | AMR-NB | |
| Appareils photo numériques compatibles | Appareils photo prénant en charge les dispositifs de mémoire auxiliaire USB ou le Picture Transfer Protocol (PTP) | |
| Graveurs CD compatibles | Graveurs CD compatibles SCSI-3 avec port USB. Pour en savoir plus, contactez votre revendeur. | |
| Imprimantes compatibles | Imprimantes compatibles Bluetooth et prénant en charge le mode BPP | |
| Connectivité PC requise | Système d'exploitation | • Windows Millennium Edition • Windows 2000 Professional • Windows XP Home Edition • Windows XP Professional • Red Hat 8.0 • Mac OS v 10.1.2+ |
Les données de compatibilité se basent sur les produits actuelsment sur le marché et peuvent changer après introduction de nouveaux produits. Pour obtenir les dernières informations, consultez le site www.nokia.com.
Notice Facile