PA 1100 - Accessoire pour outil électrique HUSQVARNA - Notice d'utilisation et mode d'emploi gratuit
Retrouvez gratuitement la notice de l'appareil PA 1100 HUSQVARNA au format PDF.
| Type d'appareil | Accessoire de sciage |
| Compatibilité | Perceuse standard |
| Modèle | PA 1100 |
| Fonction principale | Découpe et sciage |
| Matériau de la lame | Non précisé |
| Diamètre de la lame | Non précisé |
| Type de fixation | Adapté à perceuse |
| Utilisation recommandée | Travaux de sciage légers à moyens |
| Poids | Non précisé |
| Dimensions | Non précisé |
| Accessoires inclus | Non précisé |
| Instructions multilingues | Oui (GB, FR, ES) |
| Garantie | Non précisé |
| Normes de sécurité | Non précisé |
| Type d'alimentation | Alimentation perceuse |
| Usage | Professionnel et domestique |
FOIRE AUX QUESTIONS - PA 1100 HUSQVARNA
Questions des utilisateurs sur PA 1100 HUSQVARNA
0 question sur cet appareil. Repondez a celles que vous connaissez ou posez la votre.
Poser une nouvelle question sur cet appareil
Téléchargez la notice de votre Accessoire pour outil électrique au format PDF gratuitement ! Retrouvez votre notice PA 1100 - HUSQVARNA et reprennez votre appareil électronique en main. Sur cette page sont publiés tous les documents nécessaires à l'utilisation de votre appareil PA 1100 de la marque HUSQVARNA.
MODE D'EMPLOI PA 1100 HUSQVARNA
Operator's manual Manuel d'utilisation Manual de instrucciones
Saw attachment PA PA 1100 Accessoire de sciage PA PA 1100 Suplemento de sierra PA PA 1100

GB FR ES
Symboles
AVERTISSEMENT! La machine utilisée de manière imprudente ou inadéquate peut devenir un outil dangereux, pouvant cause des blessures graves voire mortelles à l'utilisateur et aux autres personnes générées.
Lire attentivement et bien assimiler le manuel d'utilisation avant d'utiliser la machine.
Toujoursutiliser:
- Un casque de protection là où il y a risquè de chute d'objets
- Protecteurs d'oreilles homologues
Lunettes protectrices ou visiere
Ce produit est conforme aux directives CE en vigueur.




Accessoire de sciage avec tige PA 1100
Cette machine ne compte pas d'iso1ation electrique. Si la machine entre en contact avec ou est utilisée a proximite de lignes conductrices de tension, ceci peut resultant en des blessures personnelles graves voire mortelles. L'électricité peut etre transmise d'un point a un autre par un arc de tension. Plus la tension est elevée et plus la longueur de transmission de la tension est elevée. L'électricité peut
également être transmise par des branches et d'autres objets, particulièrement s'ils sont mouillés. Toujours conserver une distance d'au moins 10 mètres entre la machine et la ligne conductrice d'électricité et/ou les objets en contact avec cette ligne. S'il est nécessaire que le travail soit effectué avec des distances de sécurité plus courtes, toujours contacter la Compagnie électrique afin de s'assurer que la tension a bien été coupée avant de commencer les travaux.

Accessoire de sciage sans tige PA
Cette machine ne compte pas d'iso1ation
electrique. Si la machine entre en contact avec ou est utilisée a proximite de lignes
conductrices de tension, ceci peut resultant en des blessures personnelles graves voire mortelles.L'électricite peut etre transmise d'un point a un autre par un arc de tension. Plus la tension est elevée et plus la longueur de transmission de la tension est elevée. L'électricite peut egalement etre transmise par des branches et d'autres objets,
particulierement sils sont mouillés.Toujours
conserver une distance d'au moins 10 mêtes entre la machine et la ligne conductrice
d'électricite et/ou les objets en contact avec
cette ligne.S'il est nécessaire que le travail soit effectue avec des distances de sécurité plus

courtes, toujours contacter la Compagnie électrique afin de s'assurer que la tension a bien été coupée avant de commencer les travaux.
Toujours porter des gants de protection homologues.

Utiliser des bottes antidérapantes et stables.

Les autres symboles/autocollants présents sur la machine concernent des exigences de certification spécifique à certains marchés.
Couper le moteur avant tout contrôle ou réparation en plaçant le bouton d'arrêt sur la position STOP.
Toujours porter des gants de protection homologues.
Un nettoyage régulier est indispensable.
Examen visuel.
Porter des lunettes protectrices ou une visière.
Remplissage d'huile et réglage du débit d'huile.






SOMMAIRE
Sommaire
EXPLICATION DES SYMBOLES
Symboles 17
SOMMAIRE
Sommaire 18
Contrôler les points suivants avant la mise en marche: 18
INSTRUCTIONS DE SECURITE
Équipement de coupe 19
Caracteristiques du guide-chaine et de la chaine 19
Affutage et réglage de profondeur de la chaine 20
Tension de la chaîne 21
Lubrification de I'équipment de coupe 22
Contrôle de l'usure de l'équipement de coupe 23
Consignes de sécurité pour l'utilisation de la tronçonneuse à partir 23
QUELS SONT LES COMPOSANTS?
Quels sont les éléments de kit de tronçonnage? (Accessoire de sciage avec tige PA 1100) 26
Quels sont les éléments de kit de tronçonnage? (Accessoire de sciage sans tige PA) 27
MONTAGE
Montage de la tete de coupe (Accessoire de sciage avec tige PA 1100) 28
Montage de la tete de coupe (Accessoire de sciage sans tige PA) 28
Montage du guide-chaine et de la chaine 28
Montage de I'eellet de suspension 29
Réglage du harnais 29
Remplissage d'huile 29
Contrôles avant la mise en marche 29
CHARACTERISTIQUES TECHNIQUES
Ca tréristiques techniques 30
Combinaisons guide-chaine et chaine 30
Assurance de conformité UE 31
Contrôler les points suivants avant la mise en marche:
Husqvarna AB travaille continuèlement au développement de ses produits et se réserve le droit d'en modifier, entre autres, la conception et l'aspect sans préavis.
Une exposition prolongée au bruit risque de causeur des lésions auditives permanentes. Toujours utiliser des protecteurs d'oreille agreés.
Lire attentivement et bien assimilier le manuel d'utilisation avant d'utiliser la machine.
Ces instructions sont un complément au manuel qui accompagne la machine. Pour les autres instructions, se reporter au manuel d'utilisation de la machine.

AVERTISSEMENT! Ne jamais modifier sous chaque prétexte la machine sans l'autorisation du fabricant. N'utiliser que des accessoires et des pieces d'origine. Des modifications non autorisées et l'emploi d'accessoires non-homologués peuvent provoquer des accidents graves et même mortels, à l'utilisateur ou d'autres personnes.

AVERTISSEMENT! Cet accessoire ne peut etre utilise que pour les débroussailleuses/ coupebordures auxquels il est expressement destiné. Voir la section "Accessoires homologues" au chapitre Caracteristiques techniques dans le manuel d'utilisation de la machine.
La machine est uniquement construite pour le sciage des branches et rameaux.
Équipement de coupe

Ce chapitre explique comment, grâce à un entretien correct et à l'utilisation d'un équipement de coupe ajustat, obtenir une capacité d'abattage maximal et une augmentation de la durée de vie de l'équipment de coupe.
N'utiliser que l'équipment de coupe recommendé! Voir le chapitre Caracteristiques techniques.

Veiller à ce que les dents de la chaîne soient toujours bien affuétées! Suivre les instructions et utiliser le gabarit d'affutage recommandé. Une chaîne émoussée ou endommagée augmente le risque d'accidents.

Veiller à travailler avec une profondeur de dont correcte! Suivre les instructions et utiliser la jauge de profondeur recommendée. Une profondeur trop importante augmente le risque de rebond.

Veiller à ce que la châne soit toujours bien tendue! Une tension de châne insuffisante augmente le risque de rupture de châne ainsi que l'usure du guide, de la châne et du pignon.

Maintenir l'équipement de coupe bien lubrifié et bien entretenu! Un équipement insuffisamment lubrifié augmente le risque de rupture de chaîne ainsi que l'usure du guide, de la chaîne et du pignon.


AVERTISSEMENT! Ne jamais utiliser une machine dont les équipements de sécurité sont défectueux. Contrôler et entrenir les équipements de sécurité de la machine conformément aux instructions données dans ce chapitre. Si les contrôle ne donnent pas de résultat positif, confier la machine à un atelier spécialisé.

AVERTISSEMENT! Toujours arrêté le moteur avant d'entamer des travaux sur l'équipement de coupe. Celui-ci continue de tourner après qu'on a relchéé l'accéléateur. S'assurer que l'équipement de coupe est complètement immobilisé et débrancher le cable de la bougie d'allumage avant de commencer l'intervention sur l'équipement de coupe.
du guide-chaine et de la chaine
Quand l'équipement de coupe livre avec la machine est usé ou endommagé et qu'un remplacement est nécessaire, utiliser uniquement les types de guide-châîne et chaîne que nous recommendons.
Guide-chaine
Longueur (pouces/cm)
- Nombre de dents par pignon (T). Nombre réduit = petit rayon = tendance au rebond limite.

- Pas de chaîne (pouces). Le pignon du nez et le pignon d'entrainment doit correspondre à l'espace entre les maillons.

- Nombre de maillons entraineurs (pce). La longueur du guide, le pas de chaîne et le nombre de dents au pignondonnent un nombre déterminé de maillons entraineurs.

Largeur de gorge du guide-chaine (mm/pouces). Celle-ci doit correspondre à la largeur des maillons entraineurs de la chaine.

- Trou de graissage de chaîne et trou du tampon du tendeur de chaîne.

Chaine
- Pas de chaîne (pouce). (Distance entre trois maillons d'entrainment divisée par deux.)

Largeur du maillon entraineur (mm/pouces)

- Nombre de mailillions entraineurs (pce)

Affutage et réglage de profondeur de la chaine

AVERTISSEMENT! Une chaine mal affutée augmente le risque de rebond!
Généralités concernant l'affutage des dents
- Ne jamais utiliser une tronçonneuse dont les dents sont émoussées. Une chaîne est émoussée quand les dents de la chaîne doivent être forcees contre le bois et les copeaux sont très petits. Une chaîne très usée ne produit pas de copeaux du tout. Le seul résultat est de la sciure.
- Une chaine bien affuitede entame le bois par elle-même et sans forcer, laissant de gros et longs copeaux.
La partie coupante de la chaîne consiste en un maillon coupant qui comporte une dent (A) et un limiteur de profondeur (B). L'espace entre les deux déterminé la profondeur de coupe.

- En affutant la dent il faut tener compte de 5 dimensions.
1 Angle d'affutage

2 Angle d'impact

3 Position de la lime

4 Diametre de la lime ronde

5 Profondeur d'affutage

Affüter une chaîne sans outils spéciaux est très difficile. Il est donc recommendé d'utiliser notre gabarit. Il assure un affutage de coupe maximal et une réduction optimale du risque de rebond.


AVERTISSEMENT! Néglier comme suit les paramètres d'affutage augmente nettement le risque de rebond:

Angle d'affutage trop grand

Angle d'impact trop petit

Diametre de lime trop petit
Affutage de la dent

- Cette opération nécessite une lime ronde et un gabarit.


- S'assurer que la chaîne est tendue. Une tension insuffisante rend la chaîne instable latéralement, génant ainsi l'affutage de la chaîne.

- Toujours limer de l'intérieur de la dent vers l'extérieur. Soulager la lime sur le mouvement de return. Commencer par limer toutes les dents du même côté du guide. Retourner le guide et limer les dents restantes de l'autre côté.

Limer de manière à amener toutes les dents à la même hauteur. Si la hauteur de dent est inférieure à 4 mm (0,16"), la chaîne est usée et doit être replacée.


Généralités sur le réglage de la profondeur

- Quand la dent est affu丫头, sa profondeur de coupe diminue. Pour conserver une capacité de coupe maximale, le limiteur de profondeur doit etre place sur le niveau recommendé.

- Sur le modele de mailon avec réduction de rebond, le bord avant du limiteur de profondeur est arrondi. Cette caractéristique doit être soigneusement conservée lors de l'affutage.

- Nous recommendons l'utilisation de la jauge de profondeur qui permet à la fois un affutage correct et préserve la forme arrondie du bord avant du limiteur de profondeur.


AVERTISSEMENT! Une profondeur excessive augmente le risque de rebond!
Réglage de la profondeur


- Le réglage de la profondeur doit être effectué sur des dents nouvellesment affuétées. Un réglage de profondeur est recommendé tous les trois affutages. REMARQUE! Cette recommendation suppose que la longueur des dents n'est pas anormalement réduite.
- Le réglage de la profondeur nécessite une lime plate et un gabarit de profondeur.

- Placer le gabarit sur le limiteur de profondeur.

- Placer la lime plate sur la partie dépassante du limiteur de profondeur et limer la partie superflue. Quand aucune résistance ne se fait sentir, le limiteur est à la hauteur correcte.

Tension de la chaine



AVERTISSEMENT! Une tension insuffisante de la chaine augmente le risque que la chaine saute et donc de blessures graves, voire mortelles.
- Plus on utilise une chaîne, plus elle s'allonge. L'équipement de coupe doit être régle après une telle altération.
- La tension de la chaîne doit être contrôleé après chaque plein d'essence. REMARQUE! Une nouvelle chaîne exige une période de rodgage durant laquelle il faudra vérifier la tension plus souvent.
- En règle générale, il faut tendre la châne au maximum, mais pas au point de ne plus pouvoir la faire tourner manuellement.




1 Dévisser l'écrou du guide-chaine.

2 Soulever le nez du guide et tendre la chaine en serrant la vis du tendeur de chaine avec la clé universelle. Tendre la chaine jusqu'à ce qu'elle ne soit plus molle sous le guide.

3 Avec la clé universelle, serrer l'écrou du guide-châne tout en tenant le nez du guide levé. Contrôler que la châne peut être facilement tournée manuellement.

Lubrification de l'équipement de coupe

AVERTISSEMENT! Une lubrification insuffisante de l'équipement de coupe augmente le risque de rupture de chaine et donc de blessures graves, voire mortelles.
Huile de chaîne de tronçonneuse
L'huile de chaîne doit bien adhérer à la chaîne et posseder d'excellentes qualités de fluidité par tous les temps, aussi bien en été qu'en hiver.
- En tant que fabricant de tronçonneuses nous avons mis au point une huile de chaîne hautement performante et qui, grâce à sa base végétale, est de plus biodégradable. Nous recommendons l'utilisation de cette huile pour une durée de vie maximale de la chaîne et pour la protection de l'environnement.
- Si notre huile de châne n'est pas disponible, nous recommendons l'utilisation d'une huile de châne ordinaire.
- Si aucune huile spécialement destinée à la lubrication des chaînes n'est disponible, on peut utiliser de l'huile de transmission EP 90.
- Ne jamais utiliser de l'huile usagée! C'est dangereux pour l'utilisateur, pour la machine et pour l'environnement.
Remplissage d'huile de chaine

La pompe à huile est préréglée à l'usine pour répondre à la plupart des besoin de lubrification. Un réservoir d'huile plein suffit pour environ la moitié du réservoir d'essence. Pour cette raison, il convient de contrôle régulierement la quantité d'huile dans le réservoir d'huile afin d'éviter toute déterioration de la chaîne et du guide-châne à la suite d'une censure au niveau du graissage.

Contrôle de lubricification
Vérifier la lubrification à chaque plein d'essence.
Diriger le nez du guide sur un objet fixe clair à une distance de 20 cm (8 pouces). ÀpRES 1 minute de marche à 3/4 de régime, l'objet clair doit nettementprésenter un film d'huile en forme de ruban.

Réglage du graissage de la chaine
En cas de travail avec des types de bois secs et durs, il peut être nécessaire d'augmenter la lubrification. Augmenter le débit d'huile en vissant la vis de réglage dans le sens contraire des aiguilles d'une montre. Ne pas oublier que cela fait augmenter la consommation d'huile, contrôle régulièrement la quantité d'huile dans le réservoir d'huile. Réduire le débit d'huile en vissant la vis de réglage dans le sens des aiguilles d'une montre..

Mesures à prendre si le graissage ne fonctionne pas:

1 Vérifier que le canal de graissage du guide-chaine est bien ouvert. Le nettoyer au besoin.

2 S'assurer que le canal de graissage du carter d'engrenage est propre. Nettoyer si nécessaire.
3 Vérifier que le pignon d'extrémité du guide tourne librement. Si le graissage de la chaîne ne fonctionne pas après les contrôle ci-dessus, s'adresser à un atelier de réparation.

Contrôle de l'usure de l'équipement de coupe
Chaine

Vérifier quotidiennement l' état de la chaîne et s'assurer:
- Que les rivets et les mailons ne comportent pas de fissures.

- Que la chaîne n'est pas raide.
- Que les rivets et les mailons ne sont pas anormalement usés.
Il est recommandé de comparer avec une chaîne neue pour évaluer le degré d'usure.
Si la hauteur de dent est inférieure à 4 mm, la chaîne est usée et doit être remplaçée.

Pignon d'entrainment

Vérifier régulièrement le degré d'usure du pignon. Le remplaçer en cas d'usure excessive.

Système anti-vibrations

Contrôler régulièrement que l'amortisseur de vibrations ne présente pas de fissures. Contrôler régulièrement l'usure des éléments en caoutchouc. Les replacer s'ils sont usés.

Guide-chaine

Vérifier régulierèment:
- Qu'il n'y a pas de Bavures sur les cotsés extérieurs de la gorge. Les limer au besoin.
- Que la gorge du guide n'est pas anormalement usée. Remplacer le guide si nécessaire.

- Que le nez n'est pas anormalement ou irrégulièrement usé. Si un creux s'est formé à l'extrémité du rayon du nez (bord inférieur), la chaîne n'était pas suffisamment tendue.

Retourner le guide quotidiennement pour assurer une durée de vie optimale.


AVERTISSEMENT! Un équipement de coupe inadéquat peut augmenter les risques d'accidents.
Consignes de sécurité pour l'utilisation de la tronçonneuse à perché

AVERTISSEMENT! La machine peut provoquer des blessures personnelles graves. Lire attentivement les consignes de sécurité. Apprendre à bien utiliser la machine.

AVERTISSEMENT! Outil coupant. Ne pas toucher l'outil sans avoir préalablement coupé le moteur.
REMARQUE! Lire attentivement et bien assimiler le manuel d'utilisation avant d'utiliser la machine.
Protection personnelle

- Toujours porter des bottes ainsi que l'équipement de protection indiqué au chapitre Équipement de protection personnelle dans le manuel d'utilisation de la machine.
- Toujours porter des vêtements de travail et des pantalons longs résistants.
- Ne jamais porter des vêtements amples ou des bijoux.
- Éviter les cheveux longs en dessous des épaules.
Consignes de sécurité pour l'entourage
- Ne jamais laisser un enfant utiliser la machine.
- S'assurer qu'aucune personne ne s'approche à moins de 15 m pendant le travail.
- Ne jamais laisser d'autres personnes utiliser la machine sans s'être assure du préalable que ces personnes ont bien compris le contentu du mode d'emploi.
- Ne jamais travaillerABOUT sur une échelle, un tabouret, ou dans toute autre position élevée n'offrant pas une sécurité maximale.

Consignes de sécurité pendant le travail
- Toujours adopter une position de travail sûre et stable.
- Toujours tener la machine avec les deux mains. Porter la machine sur le côté du corps.

Utiliser la main droite pour manoeuvrer l'accelération.
- Veiller à ce que ni les mains ni les pieds ne soient en contact avec l'équipment de coupe quand le moteur tourne.
- Àpres l'arrêt du moteur, maintainir mains et pieds à l'écart de l'équipement de coupe jusqu'à l'arrêt total de celui-ci.
- Attention aux éclats de bois pouvant être projétés durant le sciage.
- Toujours poser la machine sur le sol quand elle n'est pas utilisée.
- Étudier attentivement l'objet à scier afin de détecter les obstacles éventuels tels que les lignes électriques, les insectes, les animaux, etc. ou les objets pouvant endommager l'équipment de coupe comme, par exemple, les objets en métal.
- Arreter immédiatement la machine si elle bute sur un objet ou si des vibrations se produit. Débrancher le cable de la bougie. Vérifier que la machine n'a subi notamment dommage. Réparer tout évientuel dommage.
- Si un objet se coince dans l'équipement de coupe pendant le travail, arrêté le moteur et attendre son arrêt complet avant de nettoyer l'équipement de coupe.
Consignes de sécurité après le travail

- La protection pour le transport doit toujours être mise sur l'équipement de coupe quand la machine n'est pas utilisée.
- Avant de commencer les travaux de nettoyage, de réparation ou d'inspection, s'assurer que l'équipement de coupe est arrêté. Debrancher le cable d'allumage de la bougie.
- Toujours utiliser des gants de protection robustes lors de la réparation de l'équipment de coupe. Il est très tranchant et peut facilement provoquer des coupures.

Ranger la machine hors de portée des enfants.
Utiliser uniquement des pieces de rechange d'origine pour réparer la machine.
Techniques de travail de base
- Pour un meilleur équilibre, tener la machine le plus près possible du corps.

S'assurer que l'extrémité ne touche pas le sol.
- Ne jamais forceur, mais adopter un rythme de travail régulier, de sorte que toutes les branches puissant être coupées uniformément.
- Ramener le moteur au régime de ralenti après chaque étape de travail. Laisser le moteur tourner à pleins gaz sans lui faire subir de charge peut endommager sérieusement le moteur.
- Toujours travailler en faisant tourner le moteur à plein régime.
INSTRUCTIONS DE SÉCURITÉ
- Mettre le moteur au ralenti après chaque coupe. Le fonctionnement du moteur à peu régime sur des périodes prolongées peut endommager l'embrayage centrifuge.

AVERTISSEMENT! Ne jamais se tenir sous une branche en train d'être coupée. Une telle position peut être la cause de blessures graves voire mortelles.
Observer la plus grande prudence en cas de travail à proximé de lignes électriques. Les branches peuvent entraîner des court-circuits en tombant.

AVERTISSEMENT! Observer les consignes de sécurité en vigueur en cas de travail à proximate de lignes électriques.

AVERTISSEMENT! Cette machine ne comporte pas d'iso1ation electrique. Si la machine entre en contact avec ou est utilisée a proximate de lignes conductrices de tension, ceci peut résultat en des blessures personnelles graves voire mortelles. L'électricité peut etre transmise d'un point à un autre par un arc de tension. Plus la tension est elevée et plus la longueur de transmission de la tension est elevée. L'électricité peut également etre transmise par des branches et d'autres objets, particulierement s'ils sont mouillés. Toutjours conserver une distance d'au moins 10 mètres entre la machine et la ligne conductrice d'électricité et/ou les objets en contact avec cette ligne. S'il est nécessaire que le travail soit effectué avec des distances de sécurité plus courtes, toujours contacter la compagnie electrique afin de s'assurer que la tension a bien ete coupée avant de commencer les travaux.

AVERTISSEMENT! La machine a une longue portée. Vérifier qu'aucune personne et qu'aucun animal ne se trouvent à moins de 15 mètres quand la machine est utilisée.
Trouver la bonne position par rapport à la branche de sorte que la coupe se fasse, si possible, à un angle de 90^ par rapport à la branche.

- Ne pas travailler avec le manche droit devant le corps ( comme avec une canne à pêche ) car, dans une telle position, l'équipement de coupe semble plus lourd.

- Couper les grosses branches par sections afin que leur emplacement de chute soit plus facile à contrôle.

- Ne jamais scier dans un nœud dans la mesure où ceci favorise la cicatrisation et ralentit la décomposition!

Utiliser la surface d'appui de la tete de coupe pour s'appuyer contre la branche pendant la coupe. Cette précaution empêche l'équipement de coupe de "sauter" sur la branche.

- Réaliser une entaille de décharge sur la partie inférieure de la branche avant de couper cette dernière. Cette entaille empêche l'écaillage de l'écorce de l'arbre pouvant provoquer des blessures durables et difficilles à guérir sur l'arbre. Pour éviter tout blocage, la profondeur de cette entaille ne doit pas dépasser 1/3 de l'épaisseur de la branche. Toutjours夕阳er l'équipement de coupe de la branche avec la chaîne qui tourne afin d'éviter le blocage de l'équipement de coupe.

Utiliser le harnais pour faciliter la manipulation de la machine et en allégger le poids.
- Veiller à se tener fermement et à pouvoir travailler sans être géné par les branches, les pierres et les arbres.


AVERTISSEMENT! Ne jamais accélérer si l'équipement de coupe n'est pas entiennent visible.
QUELS SONT LES COMPOSANTS?







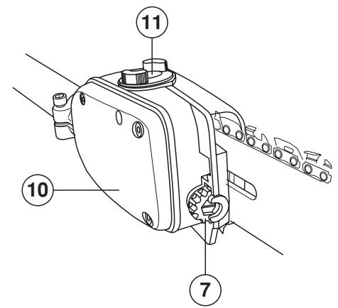
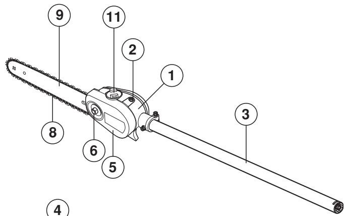
Quels sont les éléments de kit de tronçonnage? (Accessoire de sciage avec tige PA 1100)
1 Renvoi d'angle
2 Vis de réglage lubricification de la chaîne
3 Tube de transmission (1100 mm)
4 Crochet de suspension du harnais
5 Capot de protection de la chaîne
6 Ecrou du guide-chaine
7 Vis de tendeur de chaîne
8 Chaine
9 Guide-chaine
10 Réservoir d'huile de chaîne
11 Remplissage d'huile de chaîne
12 Manuel d'utilisation
13 Dispositif de protection pour le transport
14 Clé universelle
15 Harnais
QUELS SONT LES COMPOSANTS?







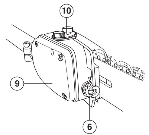
Quels sont les éléments de kit de tronçonnage? (Accessoire de sciage sans tige PA)
1 Renvoi d'angle
2 Vis de réglage lubricification de la chaîne
3 Crochet de suspension du harnais
4 Capot de protection de la chaîne
5 Ecrou du guide-chaine
6 Vis de tendeur de chaîne
7 Chaine
8 Guide-chaine
9 Réservoir d'huile de chaîne
10 Remplissage d'huile de chaîne
11 Manuel d'utilisation
12 Dispositif de protection pour le transport
13 Clé universelle
14 Harnais
Montage de la tête de coupe
(Accessoire de sciage avec tige PA 1100)

- Monter la tete de coupe sur le tube de transmission de manière à positionner la vis (A) au centre du trou du tube de transmission comme indiqué sur la figure.

- Serrer la vis A.
- Serrer la vis B.
REMARQUE! S'assurer que l'arbre d'entrainment du tube de transmission pénétre dans la rainure de la tête de coupe.
Montage de la tête de coupe
(Accessoire de sciage sans tige PA)

- Démoner le renvoi d'angle du tube de transmission.

Monter la tete de coupe sur le tube de transmission

- Serrer la vis A.
- Serrer la vis B.
REMARQUE! S'assurer que l'arbre d'entrainment du tube de transmission pénétre dans la rainure de la tête de coupe.
Montage du guide-chaine et de la chaine
- Retirer l'écrou du guide-châne et déposer le capot de protection.
- Monter le guide-châne sur le boulon du guide. Placer le guide sur sa position la plus reculée. Placer la châne sur le pignon d'entrainment et dans la rainure du guide-châne. Commencer par le dessus du guide-châne.
- S'assurer que la face tranchante des dents est vers l'avant sur le dessus du guide.
- Monter le capot et localiser le goujon de tension de la chaîne (A) dans la rainure du guide. Contrôler que les maillons d'entrainment de la chaîne s'engage dans le pignon (B) et que la chaîne est correctement placée dans la rainure du guide (C). Serrer l'écrou du guide à la main.


Tendre la chaîne en tournant la vis du tendeur de chaîne vers la droite à l'aide de la clé universelle. Tendre la chaîne jusqu'à ce qu'elle ne pende plus sous le guide.

- La chaîne est tendue correctement quand elle nePEND plus sous le guide et peut être avancée à la main sans difficulté. Serrer les écrous du guide à l'aide de la clé universelle tout en maintainant levé le pignon du guide.

- La tension d'une chaîne neuve doit être vérifiée réquement pendant son rodage. Vérifier régulièrement la tension. Une tension correcte est synonyme de bonncapacité de coupe et de longue durée de vie.
Montage de l'œillet de suspension

L'oeillet de suspension doit être monté entre la poignée arrrière et la poignée en boucle. Placer l'oeillet de suspension de telle sorte que la machine soit bien équilibrée et la position de travail comfortable.

Réglage du harnais

Le harnais doit toujours être utilisé avec la machine pour garantir à l'utilisateur un contrôle maximal sur la machine et réduire le risque de fatigue au niveau des bras et du dos.
Enfilereharnais.
- Accrocher la machine dans le crochet de suspension du harnais.
- Régler la longueur du harnais de telle sorte que le crochet de suspension soit à peuopsis à la hauteur de la hanche droite de l'utilisateur.

Remplissage d'huile
Ouvrir le couvercle sur la partie supérieure de la tete de coupe.

- Faire l'appoint avec de l'huile de chaîne Husqvarna.
Refermer le couvercle.
Contrôles avant la mise en marche

- Inspector la zone de travail. Retirer tout object susceptible d'être projeté.
- Vérifier l'équipement de coupe. Ne jamais utiliser un équipement émousse, fissure ou endommage.
- Vérifier que la machine est en parfait état d'utilisation. Contrôler que tous les écrous et boulons sont correctement serrés.
- S'assurer que la chaîne est suffisamment lubrifiée. Voir les instructions au chapitre Lubrification de l'équipment de coupe.
- Contrôler que l'équipement de coupe s'arrête toujours au ralenti.
Utiliser la machine uniquement pour les travaux auxquels elle est destinée. - S'assurer que la poignée et le dispositif de sécurité sont en bon état. Ne jamais utiliser une machine dont une piece est manquante ou ayant été modifiée contrairement aux specifications.

CARACTERISTIQUES TECHNIQUES
Caracteristiques techniques
| Caracteristiques techniques | Accessoire de sciage sans tige PA | Accessoire de sciage avec tige PA 1100 |
| Système de graissage | ||
| Contenance du réservoir d'huile, litres | 0,22 | 0,22 |
| Poids | ||
| Poids, sans carburant, équipement de coupe et disposits de sécurité, kg | 0,8 | 1,4 |
| Niveau sonores | ||
| (voir remarque 1) | ||
| Pression acoustique équivalente au niveau des oreilles de l'utilisateur, mesure en EN ISO 11680-1, dB(A) | 95 | 96 |
| Puisance acoustique équivalente mesure en EN ISO 11680-1 et ISO 10884, dB(A) | 106 | 106 |
| Niveau de vibrations | ||
| Niveau de vibrations au niveau des poignées mesure selon EN ISO 11680-1, m/s2 | ||
| Au ralenti, poignée arrêté/avant: | 1,0/3,0 | 1,2/2,3 |
| A plein régime, poignée arrêté/avant: | 5,5/3,6 | 6,0/5,5 |
Remarque 1: Le niveau de pression acoustique équivalent correspond à la somme d'énergie pondérée en fonction du temps pour les niveaux de pression acoustique à différents régimes pendant les durées suivantes: 1/2 ralenti et 1/2 plein régime.
Combinaisons guide-chaine et chaine
Les combinaisons suivantes sont homologuées CE.
| Guide-châne | Chaine | ||
| Longueur, pôues | Pas, pôues | Nombre de dents max. pignon d'extrémité | |
| 10 | 3/8 | 7 T | Husqvarna S 36/Oregon 91 VG |
| 12 | 3/8 | 7 T | |
| 10 | 3/8 | 7 T | Oregon 90SG |
| 12 | 3/8 | 7 T | |
| Pitch = D/2 inch | inch/mm | inch/mm | 1/5° | 1/5° | 1/5° | inch/mm | inch/cm: dl |
| 91VG | 3/8" | 0,050"/1,3 | 5/32"/4,0 | 85° | 30° | 0° | 0,025"/0,65 |
| S36 | 3/8" | 0,050"/1,3 | 5/32"/4,0 | 85° | 30° | 0° | 0,025"/0,65 |
| 90SG | 3/8" | 0,028"/1,1 | 5/32"/4,0 | 85° | 30° | 0° | 0,025"/0,65 |
Assurance de conformité UE
(Concerne seulement l'Europe)
Nous, Husqvarna AB, SE-561 82 Huskvarna, Suède, tél. +46-36-146500, déclarons que ce kit de tronçonnage à partir des numérios de série de l'année de fabrication 2002 et ultérieurement (l'année est indiquée en clair sur la plaque d'identification et suivie d'un numéro de série) est conforme aux dispositions des DIRECTIVES DU CONSEIL:
du 22 juin 1998 "directive machines" 98/37/CE, annexe IIA.
Les normes harmonisées suivantes ont été appliquées: EN 292-2, EN ISO 11680-1
L'organisme notice: 0404, SMP Svensk Maskinprovning AB, Fyrisborgsgatan 3, SE-754 50 Uppsala, Suède, a procédé à des tests de type européen suivant l'article 8, paragraphe 2c de la directive machines (98/37/CE). Le certificat de contrôle de type EU selon l'annexe VI a le numéro: 404/02/858
Le kit de tronçonnage livre est conforme à l'exemplaire qui a été soumis au contrôle de type EU.
Huskvarna, le 3 janvier 2002

Bo Andreasson, directeur du développement
Notice Facile