FRONTIER - Pick-up NISSAN - Notice d'utilisation et mode d'emploi gratuit
Retrouvez gratuitement la notice de l'appareil FRONTIER NISSAN au format PDF.
| Type de véhicule | Camion / Véhicule utilitaire |
| Langue du manuel | Français |
| Année de publication | Non précisé |
| Nombre de pages | Non précisé |
| Contenu principal | Fonctionnement et entretien du véhicule |
| Conseils de sécurité | Respecter les règles élémentaires de conduite, éviter alcool et drogue |
| Recommandations spécifiques | Utiliser toujours les ceintures de sécurité et dispositifs appropriés |
| Public cible | Conducteurs et occupants du véhicule |
| Instructions pour enfants | Enfants de moins de 12 ans doivent être placés sur la banquette arrière |
| Maintenance | Inclut guide d'entretien et réparation |
| Garantie | Non précisé |
| Précautions | Ne pas conduire sous influence d'alcool ou drogue |
| Limites de vitesse | Respecter les limites indiquées |
| Conseils de conduite | Conduite appropriée pour éviter accidents |
| Marquage | Indication de chapitre et section dans le manuel |
| Référence du manuel | Non précisé |
FOIRE AUX QUESTIONS - FRONTIER NISSAN
Téléchargez la notice de votre Pick-up au format PDF gratuitement ! Retrouvez votre notice FRONTIER - NISSAN et reprennez votre appareil électronique en main. Sur cette page sont publiés tous les documents nécessaires à l'utilisation de votre appareil FRONTIER de la marque NISSAN.
MODE D'EMPLOI FRONTIER NISSAN
NISSAN est fier de vous compter parmi sa clientèle sans cette croissantie. C'est avec assurance que nous vous livrons ce vehicule. En effet, il a eté construit selon les méthodes de fabrication les plus modernes et les normes de qualité les plus strictes.
Leprésent manuel a pour objet de vous aider à comprendre le fonctionnement et l'entretien de votre vehicule afin que vous puissiez profiter longtemps d'une conduite/agréable. Veuillez tire attentivement ce manuel avant de conduire votre vehicule pour la première fois.
Les détails relatifs aux garanties de votre vehicule sont stipulés dans un Livret de garantie distinct. Le « Guide d'entretien et de réparation NISSAN » explique en detail les programmes d'entretien et de réparation de votre vehicule. Aux États-Unis, un livre distinct, intitulé « Customer Care/Lemon Law», explique la manière de résoudre tout problème pouvant se produit avec le vehicule et informé le propriétaire de ses droits en vertu de la loi sur les vehicules défectueux en vigueur dans son État.
Votre concessionnaire NISSAN est celui qui connait le mieux yours vehicule. Il se fera un prise de répondre à toutes vos questions et à tous vos besoin d'entretien en mettant à la service les ressources considérables dont il dispose.
Veuillez lire attentivement leprésent manuel du conducteur avant de prendre la route pour la première fois au volant de votre vehicule. Cette lecture vous permettra de vous familiariser avec les commandes et exigences d'entretien de votre vehicule et vous aidera à profiter de ce dernier en toute sécurité.
AVERAGEMENT
RENSEIGNEMENTS ET RAPPELS IMPOR TANTS EN MATIÈRE DE SECURITÉ!
Respectez ces régles élémentaires de conduite afin d'assurer la sécurité et le comport de tous!
- Ne conduisez jamais lorsque vous étés sous l'influence de l'alcool ou de la drogue.
- Respectez TOUJOURS les limites de vitesse indiquées et ne roulez jamais plusrapidement que ne le permettent lesconditions de conduite.
- Concentrez-vous TOUJOURS entièrement sur la conduite et évitez d'utiliser des fonctions du vehicule ou d'accompil d'autres tâches qui pouraient vous distraire.
Utilisez TOUJOURS les ceintures de sécurité et les dispositifs appropriés de retenue pour enfant. Les enfants de moins de 12 ans devraient prendre place sur la banquette arrêté.
- Indiquez TOUJOURS aux occupants du vehicule la façon correcte d'utiliser les différents dispositifs de sécurité.
- Lisez TOUJOURS les consignes de sécurité données dans le present manuel du conducteur.
La marque 4x4 indique le début d'un chapitre ou d'une section contenant des descriptions applicables spécifique aux modeles à quatre roues motrices.
Comme dans tous les cas de vehicules munis de fonctions destinées à la conduite hors route, une conduite inappropriée de votre vehicule à quatre roues motrices peut entrainer une perte de maitrise ou un accident. N'oubliez pas de dire la section « Mesures de sécurité de conduite » du chapitre « Demarrage et conduite » du present manuel.
À NE PAS OUBLIER PENDANT LA LECTURE DU PRESENT MANUEL
CONDUITE HORS ROUTE ET SUR CHAUSSÉES PAVÉES
Le centre de gravité de votre vehicule est plus élevé que celui des voitures de tourisme ordinaires afin de répondre à des besoin de conduite hors route. Son comportement routier est donc différent. Comme pour tout vehicule de ce type, une conduite inappropriée peut mener à une perte de maïtrise ou à un accident. N'oubliez pas de dire les sections « Précautions de conduite sur route et hors route», « Pour éviter les collisions et les renversements » et « Mesures de sécurité de conduite » du chapitre « Démarriage et conduite » du présence manuel.
MODIFICATION DE VOTRE VEHICULE
Ce vehicule ne doit pas etre modifie. Toute modification peut comprometteres performances, sa securite ou sa durabilité,voire enfreindre les reglementations gouvernementales.De plus, les dommages et les problemes de rendement resultant de telles modifications risquent de ne pas etre couverts par les garanties NISSAN.
Le present manuel du conducteur contient des renseignements relatifs à toutes les options disponibles pour ce modele. Par conséquent, certains de ces renseignements peuvent ne pas s'appliquer à votre vehicule.
Toute l'information, toutes les caractéristiques et toutes les illustrations données dans le present manuel étaient exactes au moment de l'impression. NiSSAN se reserve le droit de modifier les specifications ou la conception du vehicule, sans préavis ni obligation de sa part.
Ce manuel contient divers symboles. Ces symboles ont les significations suivantes :

AVERTISSEMENT
Ce symbole indique un risque de mort ou de blessures graves. Pour éviter ou diminuier ce risque, vous doivent suivir à la lettuce les directives fournies.

MISE EN GARDE
Ce symbole indique un risque de blessures légères ou moyennes, ou de dommages au vehicule. Pour éviter ou diminuer ce risque, vous doivent suivre attentivement les directives fournies.

Ce symbole signifie « Ne faites pas ceci » ou « Ne laissez pas ceci se produit »


Si une illustration presente l'une de ces flèches, cette flèche indique l'avant du vehicule.




Dans une illustration, des flèches similaires à celles-ci indiquent la direction d'un mouvement ou d'une action.




Dans une illustration, des flèches similaires à celles-ci servent à attirer votre attention sur un élément de l'illustration.
AVERTISSEMENT RELATIF À LA PROPOSITION 65 DE L'ÉTAT DE LA CALIFORNIE

AVENTISSEMENT
L'Etat de la Californie reconnait que les gaz d'échéppement des vehicules, certains de leurs constituents et certains composants du vehicule contiennent ou dégagent des substances chimiques qui peuvent cause le cancer et des malformations congenitales ou autres léasons de l'appareil reproducteur. De plus, l'Etat de la Californie reconnait que certains liques contenus dans le vehicule et certains produits provenant de l'usure des composants contiennent ou dégagent des substances chimiques pouvant cause le cancer et des malformations congenitales ou d'autres léasons de l'appareil reproducteur.
AVIS DE L'ETAT DE LA
CALIFORNIE:PRÉSENCE DE PERCHLORATE
Certsains composants du vehicule, tels que les piles au lithium, pourraient contirn du perchlorate. L'avis se lit comme suit: « Présence de perchlorate - la manipulation pourrait exiger des précautions particulières » Consultez le site www.dtc.ca.gov/hazardouswaste/perchlorate pour plus de détails.
© 2006 NISSAN NORTH AMERICA, INC.
Tous droits réservés. Aucune partie de ce manuel du conducteur ne peut être reproduite ou mise en mémoire dans un système de saisie de données, ou transmise sousquelque forme ou parquelque moyen que ce soit, électronique, mécanique, photocopie, enregistrement ou autre, sans l'autorisation écrite préalable de Nissan North America, Inc.
PROGRAMME D'ASSISTANCE À LA CLIENTÉLE NISSAN
NISSAN S'EN SOUCIE...
NISSAN et cette concessionnaire NISSAN se sont engagés à vous servir et à vous assister, quels que soient vos besoin en matière d'automobile. Notre principale préoccupation est la satisfaction que vous tirerez de votre vehicule et de leur concessionnaire NISSAN. Notre concessionnaire NISSAN est toujours disponible pour vous aider, aussi bien pendant la vente que lors des services d'entretien.
Toutefois, si vous concessionnaire ne peut répondre à vos questions ou si vous souhaitez adresser vos commentaires ou vos questions directement à NISSAN, n'hésitez pas à appeler, sans frais, notre Service de la protection du consommateur (NISSAN) aux numérios de téléphone suivants :
Pour les clients américain
1 800 NiSSAN-1
(1 800 647-7261)
Pour les clients canadiens 1800387-0122
Le Service de la protection du consommateur vous demandera les renseignements suivants :
- vos nom, adresse et numero de téléphone;
- le numero d'identification du vehicule (indiqué sur le dessus de la planche de bord, côte conducteur);
- la date d'achat;
- le relevé du compteur kilométrique;
- le nom de votre concessionnaire NISSAN;
- vos commentaires ou questions.
OU
Vou puez écrire à NiSSAN en incluant ces renseignements à :
Pour les clients américain
Pour les clients canadiens
Nissan Canada inc.
5290, Orbitor Drive
Mississauga (Ontario) L4W 4Z5
Nous approucions l'intérêt que vous portez à NiSSAN et vous remercions d'avoir acheté un vehicule de qualite NiSSAN.
Table des matières
Table des matieres illustrée
Sécurité — Sièges, ceintures de sécurité et dispositif de protection complémentaire
Commandes et instruments
Vérifications et réglages avant le démarrage
Appareil de chauffage et climatisationur et chaine stéréophonique
Démarrage et conduite
En cas d'urgence
Aspect et entretien
Entretien et interventions du propriétaire
Données techniques et information au consommateur
Index
0
1
2
3
4
5
6
7
8
9
10
0 Table des matières illustrée
Coussins gonflables, ceintures de sécurité et dispositifs de retenue pour infant 0-2
Exterieur avant 0-3
Exterieur arriere 0-4
Habitacle 0-5
Planche de bord. 0-6
Points de vérification dans le compartmentement moteur . . . 0-8
Témoins d'rapidissement ou de fonctionnement .0-10
COUSSINS GONFLABLES, CEINTURES DE SECURITE ET DISPOSITIFS DE RETENUE POUR ENFANT

0-2 Table des matieres illustrée
- Ceintures de sécurité de deuxiemerangée (p. 1-12)
- Rideaux gonflables lateraux et coussins gonflables en cas de renversement (selon l'équipement du vehicule) (p. 1-57)
- Ceintures de sécurité avant (p. 1-12)
- Coussins gonflables avant (p. 1-65)
- Sièges (p. 1-2)
- Capteur de poids du passager (mano-contacteur) (p. 1-65)
- Prétendeurs de ceintures de sécurité (p. 1-73)
- Coussins gonflables lateraux (selon l'equipement du vehicule) (p. 1-57)
- Système LATCH (points d'ancrage inférieurs et sangles d'ancrage pour siège d'enfant) (p. 1-26)
- Sangle d'ancrage supérieure (p. 1-29)
Reportez-vous à la page indiquée entre parenthèses pour obtenir les détails de fonctionnement.

LI0052
- Capot-moteur (p. 8-7)
- Commande de lave-glace et d'essuie-glace de pare-brise (p. 2-31)
- Pare-brise (p. 8-23)
- Glaces (p. 2-54)
- Serrures de portiere, telecommande, clés (p. 3-3, p. 3-6, p. 3-2)
- Rétroviseurs (p. 3-13)
- Pression des pneus (p. 8-35)
- Pneu à plat (p. 6-2)
- Chaines antidérapantes (p. 8-43)
- Interrupteur des phares et des clignotants (p. 2-32); remplacement des ampôules (p. 8-30)
- Commutateur des phares antibrouillard (selon l'equipement du vehicule) (p.2-36)
Reportez-vous à la page indiquée entre parentheses pour obtenir les détails de fonctionnement.

LI0053
- Glace coulissante arriere (selon l'équipement du vehicule) (p. 2-57)
- Chargement du vehicule (p. 9-12)
- Caisse, hayon (p. 3-16)
- Replacement des ampoules (p. 8-30)
- Bouchon du réservoir de carburant, recommendations concerning le carburant (p. 3-10, p. 9-3)
Reportez-vous à la page indiquée entre parenthèses pour obtenir les détails de fonctionnement.

- Lampes de lecture (p. 2-59)
- Pare-soleil (p. 3-12)
- Rétroviseur interieur (p. 3-13)
- Aérateurs (p. 4-2)
- Boite à gants (p. 2-48)
- Levier selecteur (boite automatique, selon l'equipement du vehicule) (p.5-13)
- Porte-tasses (p. 2-51)
- Sièges avant (p. 1-2)
- Compartiment de rangement de la console (p. 2-48)
- Sièges arrêté (p. 1-11)
- Rangement du pneu à plat et du cric (p. 6-2)
Reportez-vous à la page indiquée entre parentheses pour obtenir les détails de fonctionnement.

- Aérateurs (p. 4-2)
- Commutateur des phares, phares antibrouillard (selon l'equipement du vehicule) et clignotants (p. 2-32)
- Commande de volant de la chaîne audio (selon l'équipement du vehicule) (p. 4-29)
- Coussin gonflable avant du côte conducteur, avertisseur sonore (p.1-57, p. 2-37)
- Instruments, jauges et témoins (p. 2-6,p 2-16)
- Commande principale et de réglage du régulateur de vitesse (selon l'équipement du vehicule) (p. 5-21)
- Commande de lave-glace et d'essuie-glace de pare-brise (p. 2-31)
- Rangement (p. 2-45)
- Commandes de la chaîne stéreo (selon l'équipement du vehicule) (p. 4-11)
- Coussin gonflable avant du côte passager (p. 1-57)
- Boite à gants supérieure et inférieure (p. 2-48)
-
Prise d'alimentation (p. 2-44)
-
Interrupteur du dispositif E-Lock (verrouillage electronic du différentiel arrière) (selon l'equipement du vehicule) (p. 2-41) Contacteurs de siège chauffant (selon l'équipement du vehicule) (p. 2-38) Interrupteur du dispositif d'assistance en descente (HDC) (selon l'équipement du vehicule) (p. 2-40) Interrupteur du dispositif de contrôle dynamique du vehicule (VDC) (selon l'équipement du vehicule) (p. 2-39)
- Levier sélecteur (p. 5-13)
- Interrupteur de passage en mode 4 roues motrices (selon l'equipement du vehicule) (p. 5-25)
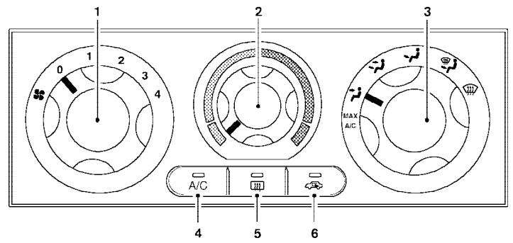
- Commandes de climatisation (p. 4-2)
- Témoin de neutralisation du coussin gonflable du passager (p. 1-67)
- Interrupteur des faux de détresse (p. 2-37)
- Contacteur d'allumage (p. 5-10)
- Commande du volant de direction inclinable (selon l'equipement du vehicule) (p. 3-11)
-
Interrupteur d'éclairage de l'aire de chargement (p. 2-38)
-
Contacteur de position de la pedale d'embrayage (selon l'équipement du vehicule) (p. 2-43)
- Commandes des rétroviseurs extérieurs (selon l'équipement du vehicule) (p.3-14)
POINTS DE VÉRIFICATION DANS LE COMPARTIMENT MOTEUR

WDI0506
Moteur QR25DE
- Réservoir de liquide lave-glace de pare-brise (p. 8-16)
- Boite de fusibles, fils-fusibles (p. 8-25)
- Filtre à air (p. 8-21)
- Bouchon de remplissage d'huile moteur (p. 8-11)
- Jauge d'huile moteur (p. 8-11)
- Réservoir de liquide de frein, réservoir de liquide d'embrayage (modèle à boîte de vitesses manuelle) (p. 8-15)
- Emplacement de la courroie d'entrainement (p. 8-19)
- Bouchon du radiateur (p. 8-9)
- Réservoir de liquide de direction assistée (p. 8-14)
- Batterie (p. 8-17)
- Réservoir du liquide de refroidissement (p. 8-9)
Reportez-vous à la page indiquée entre parentheses pour obtenir les détails de fonctionnement.

Moteur VQ40DE
- Réservoir de liquide lave-glace de pare-brise (p. 8-16)
- Batterie (p. 8-17)
- Boite de fusibles, fils-fusibles (p. 8-25)
- Bouchon de remplissage d'huile moteur (p. 8-11)
- Jauge d'huile moteur (p. 8-11)
- Réservoir de liquide de frein (p. 8-15)
- Filtre à air (p. 8-21)
- Emplacement de la courroie d'entrainment (p. 8-19)
- Bouchon du radiateur (p. 8-9)
- Réservoir de liquide de direction assistée (p. 8-14)
- Réservoir du liquide de refroidissement (p. 8-9)
Reportez-vous à la page indiquée entre parentheses pour obtenir les détails de fonctionnement.
TÉMOINS D'AVERTISSEMENT OU DE FONCTIONNEMENT
| Témoin | Nom | Page |
| ABS OU (ABS) | Témoin du freinage antiblocage | 2-17 |
| A/T OIL TEMP | Témoin de tempéra-ture d'huile de la boîte de vitesses automatique (selon l'équipement du véhicule) | 2-17 |
| ATP | Témoin de stationnement de boîte de vitesses automatique (modèle 4x4) | 2-17 |
| BRAKE OU (?!) | Témoin de frein | 2-18 |
| Témoin de charge (selon l'équipement du vehicule) | 2-19 |
| Témoin | Nom | Page |
| Témoin de portière ouverte | 2-19 | |
| Témoin de pression d'huile moteur (selon l'équipement du véhicule) | 2-19 | |
| 4WD | Témoin d'anomalie du mode 4 roues motri-ces (modèle 4x4 ) | 2-19 |
| Témoin de bas niveau de carburant | 2-20 | |
| Témoin de basse pression des pneus | 2-20 | |
| Témoin de bas niveau de liquide lave-glace | 2-21 | |
| Témoin et carillon des ceintures de sécurité | 2-22 | |
| Témoin du coussin gonflable | 2-22 |
| Témoin | Nom | Page |
| P | Témoin de position de la boîte de vites-ses automatique | 2-22 |
| CRUISE | Témoin d'interrupteur princi-pal du régulateur de vitesse (CRUISE)(selon l'opération du vehicule) | 2-23 |
| SET | Témoin d'interrupteur de réglage du régula-teur de vitesse (SET) (selon l'opération du vehicule) | 2-23 |
| DIFF LOCK | Témoin d'activation du dispositif E-Lock (verrouillage electro-nique du différentiel arrêté) (selon l'opération du vehicule) | 2-24 |
| Témoin de passage en mode 4 roues motrices (modèle 4x4) | 2-23 | |
| Témoin de neutralisation du coussin gonflable du passagager avant | 2-23 | |
| Témoin de faisceaux route (bleu) | 2-24 | |
| Témoin du dispositif d'assistance en descente (HDC) (selon l'équipement du vehicule) | 2-40 | |
| SERVICE ENGINE SOON | Témoin d'anomalie | 2-24 |
| O/D OFF | Témoin d'annulation de la surmultiplication (boîte de vites-ses automatique seulement) | 2-25 |
| Témoin | Nom | Page |
| Témoin de sécurité (selon l'équipement du vehicule) | 2-25 | |
| SLIP | Témoin SLIP (déra-page) sur les modè-les munis d'un dis-positif antipatinage (selon l'équipement du vehicule) | 2-25 |
| SLIP | Témoin SLIP (déra-page) sur les modè-les munis d'un dis-positif de contrôle dynamique du vehi-cule (selon l'équipement du vehicule) | 2-25 |
| 4LO | Témoin de position de gamme 4LO de la boîte de transfert (modèle 4x4 ) | 2-26 |
| Témoin | Nom | Page |
| Témoins des cligno-tants et des frais de détresse | 2-26 | |
| Témoin de neutrali-sation du dispositif de contrôle dynami-que du vehicule (se-lon l'équipement du vehicule) | 2-26 |
1 Sécurité — Sièges, ceintures de sécurité et dispositif de protection complémentaire
Sièges 1-2
Réglage manuel des sièges avant (selon l'équipement du vehicule) 1-2
Réglage des sièges à commande électrique avant (selon l'équipement du vehicule) 1-4
Strapontin (modèle King Cab) 1-6
Réglage de l'appuie-tête 1-6
Appuie-tete actifs (sièges avant seulement) 1-7
Accoudoir 1-8
Sièges adaptables. 1-8
Ceintures de sécurité 1-12
Précautions concernant l'utilisation des ceintures de sécurité. 1-12
Sécurité des enfants 1-15
Femmes enceintes. 1-17
Personnes blessées 1-17
Ceinture de sécurité à trois points avec enrouleur 1-17
Rallonges de ceinture de sécurité 1-22
Entretien des ceintures de sécurité 1-23
Dispositifs de retenue pour enfant 1-23
Précautions concernant les dispositifs de retenue pour enfant 1-23
Système LATCH (Lower Anchors and Tethers for CHildren [points d'ancrage inférieurs et sangles d'ancrage pour siège d'enfant]) 1-26
Dispositif de retenue pour enfant avec sangle d'ancrage supérieure 1-29
Installation d'un dispositif de retenue pour enfant à l'aide du système LATCH 1-32
Installation d'un dispositif de retenue pour enfant à l'aide des ceintures de sécurité - sur le siège du passager avant et sur la banquette arrêté (modèles à cabine double seulement). 1-37
Installation d'un dispositif de retenue pour
enfant à l'aide des ceintures de sécurité -
sur le strapontin du côte passager
(modeles King Cab seulement). 1-42
Rehausseurs. 1-50
Précautions concernant les rehausseurs 1-50
Installation d'un rehausseur sur le siège du
passager avant et sur le siège arrière
(modules a cabine double seulement). 1-53
Installation d'un rehausseur sur le strapontin
du cote passager seulement
(modules King Cab seulement). 1-55
Dispositif de protection complémentaire. 1-57
Précautions concernant le dispositif de protection complémentaire. 1-57
Étiquettes d'avertissement concernant les coussins gonflables. 1-75
Témoin du coussin gonflable. 1-75


AVERTISSEMENT
- N'inclinez pas le dossier de votre siège lorsque le vehicule est en mouvement. Ceci peut se reveler très dangereux. Dans cette position, le baudrier de la ceinture de sécurité n'est pas appuyé contre votre corps. En cas d'accident, vous pourriez être projeté contre le baudrier et subir des blessures graves au cou ou à autres parties de votre corps. Vous pourriez également glisser sous la ceinture sous-abdominale et subir des blessures internes graves.
Pour bénéficier de la meilleure protection possible lorsquel le vehicule est en mouvement, le dossier de votre siège devrait etre en position verticale. Asseyez-vous toujours bien au fond de votre siège, les deux pieds au sol, et reglez le siège correctement.Consultez la section « Précautions concernant l'utilisation des ceintures de sécurité » plus loin dans ce chapitre.
- Àprouve le réglage, assurez-vous du bon verrouillage de votre siège en faisant balancer ce dernier doucement vers l'avant et vers l'arrière.
- Ne laisses pas d'enfants sans surveillance dans le vehicule. Ils pourraient actionner les commutateurs ou les commandes par megarde. Des enfants laissés sans surveillance dans un vehicule poursaient etre victimes d'accidents graves.
RéGLAGE MANUEL DES SIÉGES
AVANT (selon l'équipement du
vehicule)

Réglage longitudinal
Soulevez le levier et maintainez-le dans cette position tout en faisant glisser le siège vers l'avant ou vers l'arrière jusqu'à la position désirée. Relâchéz le levier pour verrouiller le siège.

Inclinaison du dossier vers l'arrière
Pour incliner le dossier du siècle vers l'arrière, soulevez le levier, puis adossez-vous contre le dossier. Pour redresser le dossier du siècle, soulevez le levier, puis penchez-vous vers l'avant. Relâchéz le levier pour verrouiller le dossier du siècle.
La fonction d'inclinaison permet le réglage de la position du dossier de façon à améliorer le comfort des occupants de tailles différentes et l'obtention d'une meilleure position de la ceinture de sécurité. Consultez la section « Précautions concernant l'utilisation des ceintures de sécurité » plus loin dans le present chapitre. De plus,
l'inclinaison du dossier permet aux occupants de se reposer lorsque le vehicule est arrêté.

Dispositif de réglage de la hauteur du siège (siège du conducteur, selon l'équipement du vehicule)
Tournez les deux molettes pour régler l'angle et la hauteur du coussin du siècle.

RÉGLAGE DES SIÉGES À COMMANDÉ ÉLECTRIQUE AVANT (selon l'équipement du vehicule)
Conseils d'utilisation
-
Le moteur du siècle à commande électricque est équipé d'un circuit de protection contre les surcharges à réinitialisation automatique. Si le moteur s'arrête durant le fonctionnement, attendez 30 secondes, puis activez l'interrupteur de nouveau.
-
N'actionnez pas l'interrupteur du siège à réglage électrique pendant une longue période lorsque le moteur ne tourne pas. La batterie pourrait se décharger.
Réglage longitudinal
Pour déplacer le siège vers l'avant ou vers l'arrière, déplacez la commande vers l'avant ou vers l'arrière.
Inclinaison du dossier vers l'arrière
Pour incliner le dossier à l'angle désire, déplacez la commande d'inclinaison vers l'arrière. Pour redresser le dossier, déplacez la commande vers l'avant, tout en vous penchant vers l'avant. Le dossier reprend alors sa position verticale.
La fonction d'inclinaison permet de régler le dossier selon la taillie de l'occupant, ce qui procure un comfort supplémentaire et facilité le réglage de la ceinture de sécurité (consultez la section « Précautions concernant l'utilisation des ceintures de sécurité » plus loin dans ce chapitre). De plus, l'inclinaison du dossier permet aux occupants de se reposer lorsque le vehicule est arrêté.

Commande de réglage de la hauteur du siège (siège du conducteur)
Pour régler l'angle et la hauteur du coussin de siège, déplacez l'extrémité avant ou arrêté de la commande vers le haut ou vers le bas.

Support lomboke (siège du conducteur, selon l'équipement du vehicule)
Le siège du conducteur est muni d'un support lombaire. Déplacez le levier vers l'avant ou vers l'arrête pour régler le support lombaire.

STRAPONTIN (modèle King Cab)

AVERTISSEMENT
-
N'installez pas de dispositif de retenue pour enfant sur le strapontin du (:oté conducteur. Cette position n'est pas appropriée pour l'installation d'un dispositif de retenue pour enfant. Un dispositif de retenue pour enfant peut etre instalé sur le strapontin du (:oté passagger lorsque la rallonge de strapontin est déployee de la base du strapontin.
-
Lorsque vous remontez le strapontin, prenez soin ne pas vous pincer les doigts entre le coussin du siège et la carrosserie.

RéGLAGE DE L'APPUIE-TÊTE
Pour hausser l'appuie-tête, tirez-le vers le haut. Pour l'abaisser, maintenez le bouton de verrouillage enforcé, puis poussez l'appuie-tete vers le bas.
Les appuie-tete des sièges arrêtre sont amovi-bles.

AVERTISSEMENT
Les appuiè-tête doivent être régles correctement, car ils peuvent assurer une protection non négligeable contre les blessures en cas d'accident. Ne les retirez pas. Vérifiez la position de votre appuiè-tête si une autre personne a utilisé le siège avant vous.

WRS0134
Réglez la hauteur de l'appuie-tête de telle façon que son centre soit au même niveau que le milieu de votre oreille.

SPA1025
APPUIE-TÉTE ACTIFS (sièges avant seulement)

AVERTISSEMENT
-
Réglez toujours les appuie-tête de façon appropriée en respectant les directives de la section précédente. Un réglage inapproprié d'un appuie-tête actif risque de nuire à son efficacité.
-
Les appuié-tête actifs sont des disposits de sécurité complémentaires aux autres systèmes de sécurité du vehicule. Bouclez toujours vous ceinture de sécurité. Aucun dispositif ne peut éliminer tous les risques de blessures en cas d'accident.
- Ne fixez aucun article aux tiges d'appuie-tête. Cela pourrait nuire au fonctionnement de l'appuie-tête actif.
Les appuiè-tête s'avancent automatiquement en utilisant la force exerçée par le corps sur le dos-sier de siège pendant une collision arrière. Le déplacement de l'appuiè-tête aide à maintainir la tête de l'occupant en réduisant le mouvement vers l'arrière et en absorbant une partie de la force responsable des coups de fouet cervicaux.
Les appuiè-tête actifs sont efficaces dans le cas des collisions qui se produit à des vitesses faibles à moyennes et qui sont souvent responsables de ce genre de blessures.
Les appuiè-tête actifs ne fonctionnent que pour certains types de collision arrêté. Les appuiè-tête retrouvent leur position initiale après la colli sion.
Réglez les appuie-tête actifs de façon appropriée en respectant les directives données dans la presente section.

ACCOUOIR
Pour utiliser l'accoudoir central de la banquette de deuxieme rangée, tirez sur la languette depassant au milieu du siège pour rabattre l'accoudoir.
SIÉGES ADAPTABLES
AVERAGEMENT
- Ne laïsez jamais une personne pren-dre place dans l'aire de chargement ou sur un siège arrêté en position repliée. En cas de collision, les personnes qui s'y trouvent ne sont pas retenues et elles risquent de subir des blessures graves ou mortelles.
- Ne permettez jamais à un passager de s'asseoir ailleurs que dans un siège muni d'une ceinture de sécurité. Assurez-vous que tous les passagers de votre vehicule ont pris place sur un siège et qu'ils ont bien boucé leur ceinture de sécurité.
- Ne rabattez pas les sièges arrêté si des passagers se trouvent à proximité ou si des bagages reposent sur ces sièges.
-
Les appuiè-tête doivent être régles correctement, car ils peuvent assurer une protection non négligeable contre les blessures en cas d'accident. S'ils ont été retireurs pour chaque raison que ce soit, assurez-vous de tous jours les remettre en place et de bien régler leur position.
-
Si vous retirez les appuie-tête de leur emplacement pour quelque raison que ce soit, rangez-les correctement afin d'eviter qu'ils ne blessent quelqu'un ou qu'ils n'endommagent le vehicule en cas d'arrêt brusque ou d'accident.
- Lorsque vous redressez les dossiers des sièges en position verticale, assurez-vous qu'ils sont bien verruillés. S'ils ne sont pas correctement verruillés, les passagers pouraient être blessés en cas d'accident ou d'arrêt brusque.
Fixez tous les bagages solidement pour éviter qu'ils ne glissant ou se déplacent. N'empirez pas les bagages plus haut que les dossiers de sièges. En cas d'arrêt brusque ou de collision, les bagages non retenus pourraient entraîner des blessures.

Rabat du dossier de siège du passager avant (selon l'équipement du vehicule)
Pour rabattre le dossier du siège du passager avant afin d'accroître l'espace de chargement disponible au cours du transport de longs objets :
① Reculez le siège le plus possible. Soulevez le levier d'inclinaison,itué sur le côte extérieur du siège, puis rabattez autant que possible le dossier du siège vers l'avant. Soulevez ensuite le levier de blocage situé dans le coin supérieur du dossier pour déverrouiller le dossier du siège.

Lorsque le dossier du siège est dégagé, vous pouvez rabattre le dossier du siège du passager avant sur le coussin de siège.
3. Pour remettre le siège du passager avant en position normale, soulevez le dossier du siège et poussez-le jusqu'à la position relevante. Soulevez ensuite le levier d'inclinaison et inclinez le dossier du siège à une position appropriée. Relâchéze le levier pour verruiller le dossier du siège.
A VERTISSEMENT
- Si vous repliez le dossier du siècle du passager avant pour accommoder de longs objets, assurez-vous que ces objets sont correctement fixés et qu'ils ne sont pas dans les alentours immédiats d'un coussin gonflable. En cas d'accident, un coussin gonflable qui se déploie peut projeter l'objet sur un occupant du vehicule. Ceci peut cause des graves blessures ou la mort. Fixez les objets loin de la zone de déploiement des coussins gonflables. Reportez-vous à la section « Précautions concernant le dispositif de protection complémentaire», plus loin dans ce chapitre.
- Ne laïsez personne prendre place dans l'aire de chargement ou sur le siège du passager avant lorsque ce dernier est rabattu. Les personnes se trouvant dans ces espaces pourraient subir de graves blessures en cas d'accident ou d'arrêt brusque.

Relevement de la banquette arrière
Pour relever la banquette arrière :
① Tirez vers le haut le levier situé sur le côté du siège tout en relevant le devant du coussin de siège.

② Relevez le bas du coussin de siège vers l'arrière du vehicule jusqu'à ce qu'il se bloque.

③ Répétez cette procédure pour relever et fixer le coussin de siège de l'autre côté du vehicule et obtenir une capacité de rangement maximal.
Inversez la procEDURE pour remetre la banquette à sa position initiale. Assurez-vous de pousser suffisamment le coussin de siège vers le bas pour qu'il soit remis en place.
AVERAGEMENT
- Lorsque vous chargez des bagages dans votre vehicule, assurez-vous qu'ils sont bien retenus afin d'éviter qu'ils ne glissant ou se déplacent. N'empirez pas les bagages plus haut que les dossiers de sièges. En cas d'arrêt brusque ou de collision, les bagages non retenus pourraient entraîner des blessures.
- Ne permette jamais à un passager de s'asseoir ailleurs que dans un siège muni d'une ceinture de sécurité. Assurez-vous que tous les passagers de votre vehicule ont pris place sur un siège et qu'ils ont bien boucé leur ceinture de sécurité. Ne laissez personne s'asseoir aux places arrêté si les cousins de siège ne sont pas bien place ni correctement bloqués.
- Lorsque vous redressez les dossiers des sièges en position verticale, assurez-vous qu'ils sont bien verruillés. S'ils ne sont pas correctement verruillés, les passagers pouraient être blessés en cas d'accident ou d'arrêt brusque.

Rabat de la banquette arriere
Le dossier de la banquette arrière peut etre incline vers l'avant pour acceder au point d'ancrage du dispositif de retenue pour infant ou au cric.
Pour rabattre le dossier vers l'avant, tirez la courroie vers le haut ① , puis faites basculer le dossier. Les points d'ancrage pour dispositifs de retenue pour enfant ② se trouvent derriere le dossier de la banquette arriere. Le cric est accessible a partir de I'arriere du dossier du siege du cote passager.
CEINTURES DE SECURITE
A VERTISSEMENT
Ne laïsez personne prendre place dans l'aire de chargement ou sur le siège arrière lorsque ce siège est rabattu. Les personnes se trouvant dans ces espaces dépourvus de dispositifs de retenue ajustats risquent de subir de graves blessures en cas d'accident ou d'arrêt brusque.

S'asseoir droit et bien au fond du siege.

Le port de la ceinture de sécurité pendant la conduite est obligatoire presque partout au Canada et aux États-Unis.
PRECAUTIONS CONCERNANT L'UTILISATION DES CEINTURES DE SECURITE
En cas d'accident, les probabilités de blessures graves, VOIRE mortelles, peuvent etre considérablement réduites si vous étes assis bien au fond de votre siège,les deux pieds au sol,et que vous bouclez correctement votre ceinture de sécurité. NISSAN conseille vivement a tous les occupants du vehicule de boucler leur ceinture de sécurité en tout temps pendant la conduite,meme si la place qu'ils occupent est munie d'un coussin gonflable.

A VERTISSEMENT
- Tous les occupants du vehicule doivent toujours boucler leur ceinture de sécurité. Les enfants doivent être correctement attachés sur le siège arrêté et, s'il y a lieu, installés dans un dispositif de retenue pour infant.

AVERAGEMENT
- La ceinture de sécurité doit être serrée correctement. En cas d'accident, le non-respect de cette consigne peut réduire l'efficacité de tout le dispositif de protection et accroître les risques de blessures ainsi que la gravité de cellesci. Le port incorrect d'une ceinture de sécurité peut entrainer des blessures graves, voir mortelles.


AVERTISSEMENT
-
Faites toujours passer le baudrier sur votre épaulé et en travers de votre poitrine. Ne faites jamais passer la ceinture de sécurité derrière votre dos, sous votre bras ou sur votre cou. La ceinture de sécurité ne doit reposer ni sur votre visage ni sur votre cou, et elle ne doit pas tomber de leur épaulé.
-
Placez la ceinture sous-abdominale aussi bas et aussi serrée que possible AUTOUR DES HANCHES, ET NON AU NIVEAU DE LA TAILLE. En cas d'accident, une ceinture sous-abdominale placé trop haut peut augmenter les risques de blessures internes.
Assurez-vous que la languette de la ceinture de sécurité est solidement attachée à la boucle appropriée. - Ne portez pas une ceinture de sécurité bouclée à l'envers ou dont la sangle estvrillée, car elle ne pourrait pas vousprotéger aussi efficacement.
- Ne permette pas à plus d'une personne de s'attacher avec la même ceinture de sécurité.
-
Le nombre de passagers à bord du vehicule ne doit jamais dépasser le nombre de ceintures de sécurité.
-
Si le témoin des ceintures de sécurité reste allumé alors que le contact est établi, que toutes les portières sont fermées et que toutes les ceintures de sécurité sont bouclées, il est possible que le circuit soit défectueux. Rendez-vous chez un concessionnaire NISSAN pour faire vérifier le dispositif.
- Une fois que la ceinture de sécurité à pretendeur et l'enrouleur ont été activés, ils ne peuvent pas être réutilisés et doivent être replacés. Consultez votre concessionnaire NISSAN.
-
Le retrait et l'installation des composants du dispositif des ceintures de sécurité à prétenduur doivent être effectués par un concessionnaire NISSAN.
-
Àprouse une collision, toutes les ceintures de sécurité, de même que les enrouleurs et le matériel de fixation, doivent être inspectés par un concessionnaire NISSAN. NISSAN recommende le replACEMENT de toutes les ceintures de sécurité activées pendant une collision, à moins que cette collision n'ait été sans gravité, que les ceintures n'aient subi notamment dommage apparent et qu'elles ne fonctionnent encore correctement. Les ceintures de sécurité inutilisées à la suite d'une collision doivent aussi être inspectées. Elles doivent être replacées si des dommages ou un mauvais fonctionnement ont été décelés.
- Tous les dispositifs de retenue pour enfant et le matériel de fixation doivent être inspectés après une collision. Respectez toujours les directives d'inspection et de remplacement fournies par le fabricant du dispositif de retenue pour enfant que vous utilisez dans votre vehicule. Le dispositif de retenue pour enfant doit être replacé s'il est endommagé.
SECURITE DES ENFANTS
Les enfants ont besoin de l'aide des adults pour être bien protégés. Ils doivent être retenus ajustement.
En plus des renseignements généraux du present manuel, des renseignements de sécurité au sujet des enfants sont disponibles auprès de nombreuses sources, notamment les medecins, les professeurs, les agencies gouvernementales de sécurité routière et les organismes communautaires. Chaque enfant est différent. Assurez-vous donc de transporter votre enfant de la façon la plus approprié pour lui.
Il existe trois types élémentaires de dispositifs de retenue pour infant :
dispositif de retenue pour infant orienté vers l'arrête;
dispositif de retenue pour infant orienté vers l'avant;
rehausseur.
Le dispositif de retenue adequat est fonction de la taille de l'enfant. En règle générale, les bébés âgés d'un an et moins et pesant moins de 9 kg (20 lb) doivent être placés dans un dispositif de retenue pour infant orienté vers l'arrière. Des dispositifs de retenue pour infant orientés vers l'avant sont disponibles pour les enfants âgés
d'au moins un an qui sont trop grands pour les dispositifs orientés vers l'arrière. Les rehausseurs servent à favoriser le positionnement de la ceinture à trois points sur un enfant qui ne peut plus utiliser un dispositif de retenue pour infant orienté vers l'avant.
AVERAGEMENT
-
N'installez jamais un dispositif de retenue pour enfant orienté vers l'arrière sur le siège du passager avant. L'impact d'un coussin gonflable qui se déploie peut infliger des blessures graves ou mortelles à votre enfant. Les dispositifs de retenue pour enfant orientés vers l'arrière ne doivent être installés que sur le siège arrière.
-
Les bébés et les enfants requirement une protection particulière. Les ceintures de sécurité du vehicule peuvent ne pas s'adapter correctement à leur petite taille. Le baudrier peut passer trop pres de leur visage ou de leur cou. La ceinture sous-abdominale peut ne pas s'adapter à leurs hanches. En cas d'accident, une ceinture de sécurité mal place risque de causeurs des blessures graves ou mortelles. Utilisez plusieurs des dispositifs appropriés de retenue pour enfant.
Au Canada et aux États-Unis, l'utilisation de dispositifs de retenue homologues est obligatoire pour les bébés et les jeunes enfants. Reportez-vous à la section « Dispositifs de retenue pour enfant » plus loin dans ce chapitre.
De plus, il existe d'autres types de dispositifs de retenue qui offrent une(Meilleure protection pour les enfants plus grands.
NISSAN recommande, dans la mesure du possible, de faire asseoir tous les enfants de moins de douze ans sur un siège arrêté muni d'une ceinture de sécurité (modèles à cabine double seulement). Selon les statistiques relatives aux accidents, les enfants
dont plus en sécurité sils sont correctement retenus sur un siège arriere que sur un siège avant.
Cette statistique est particulièrement significative si l'on considère que votre vehicule est muni d'un dispositif de protection complémentaire (coussins gonflables) pour le siège du passager avant. Reportez-vous à la section « Dispositif de protection complémentaire», plus loin dans ce chapitre.
Bébés
Assoyez les bébés d'un an et moins dans un dispositif de retenue orienté vers l'arrière. NIS-SAN recommende d'asseoir les bébés dans un dispositif de retenue pour infant conforme aux normes de sécurité des vehicules automobiles du Canada ou aux normes des Federal Motor Vehicle Safety Standards des États-Unis. Choisissez un dispositif de retenue pour infant adapte à votre vehicule et suivez toujours les directives du fabricant concernant son installation et son'utilisation.
Jeunes enfants
Voupez asseoir les enfants de plus d'un an et qui peseit plus de 9 kg (20 lb) dans un dispositif de retenue pour enfant oriente vers l'avant.Consultez les directives du fabricant pour
obtenir les recommendations de poids minimal, de poids maximal et de grandeur. NISSAN recommande d'asseoir les jeunes enfants dans un dispositif de retenue pour enfant conforme aux normes de sécurité des vehicules automobiles du Canada ou aux normes des Federal Motor Vehicle Safety Standards des États-Unis. Choisissez un dispositif de retenue pour enfant adaptable à votre vehicule et suivez toujours les directives du fabricant concernant son installation et son'utilisation.
Enfants plus âgés
Les enfants qui sont trop grands pour prendre place dans un dispositif de retenue pour enfant doivent être assis sur le siège et retenus par les ceintures de sécurité du vehicule. Si l'enfant mesure moins de 142,5 cm (4 pi 9 po) et s'il pese entre 18kg (40 lb) et 36kg (80 lb), il est possible que la ceinture ne s'installe pas correctement. Utilisez un rehauser pour que la ceinture s'installe correctement.
NISSAN recommende de placer un enfant dans un rehausseur commercial si le baudrier passe pres du visage ou du cou de l'enfant, ou si la partie sous-abdominale passée sur l'abdomen. Le rehausseur doit elever l'enfant de sorte que le baudrier passée sur le centre de l'épaule et que la ceinture sous-abdominale repose bas sur les hanches. Utilisez un rehausseur seulement aux
places assises munies d'une ceinture de sécurité à trois points. Le rehausseur doit être adapté au siège du vehicule et pourvu d'une étiquette certifient son homologation aux normes de sécurité des vehicules automobiles du Canada ou aux normes des Federal Motor Vehicle Safety Standards des États-Unis. Lorsque l'enfant a grandi et que le baudrier ne passse plus sur ou pres de son visage et de son cou, l'utilisation du rehausseur n'est plus nécessaire.

AVERTISSEMENT
Ne laïsez jamais les enfants voyager debout ou à genoux sur un siège, et ne leur permettez jamais l'accès à l'aire de chargement lorsque le vehicule est en mouvement. En cas d'accident ou d'arrêt brusque, les enfants pouraient subir des blessures graves et même mortelles.
FEMMES ENCEINTES
NISSAN recommende aux femmes enceintes de porter leur ceinture de sécurité. Serrez bien la ceinture de sécurité et voirlez à ce que la portion sous-abdominale repose aussi bas que possible sur vos hanches, et non sur votre taille. Placez le baudrier sur votre épaulé et en travers de votre poitrine. Ne faites jamais passer la ceinture à trois
points sur votre abdomen. Consultez votre méthecin pour obtenir des renseignements spécifique à votre situation.
PERSONNES BLESSEES
NISSAN recommende aux personnes blessées de porter leur ceinture de sécurité. Consultez votre médecin pour obtenir des renseignements spécifiques à cette situation.
CEINTURE DE SECURITE A TROIS POINTS AVEC ENROLLEUR

AVERTISSEMENT
- Tous les occupants du vehicule doivent toujours boucler leur ceinture de sécurité.
- N'inclinez pas le dossier de votre siège lorsque le vehicule est en mouvement. Ceci peut se reveler très dangereux. Dans cette position, le baudrier de la ceinture de sécurité n'est pas appuyé contre votre corps. En cas d'accident, vous pourriez être projeté contre le baudrier et subir des blessures graves au cou ou à autres parties de votre corps. Vous pourriez également glisser sous la ceinture sous-abdominale et subir des blessures internes graves.
Pour bénéficier de la meilleure protection possible lorsque le vehicule est en mouvement, le dossier de votre siège devrait être en position verticale. Asseyez-vous toujours bien au fond de votre siège, les deux pieds au sol, et réglez la ceinture de sécurité correctement.

Siège avant à réglage manuel illustré Bouclage des ceintures de sécurité (sièges avant de tous les modèles et sièges arrêté des modèles à cabine double)
① Réglez la position du siège. Consultez la section « Sièges » vue précédemment dans ce chapitre.

Tirez lentement la ceinture de sécurité hors de l'enrouleur, puis insérez la languette dans la boucle jusqu'à ce que vous entendiez un déclic et que vous sentiez la languette se verrouiller.
L'enrouleur est concu pour se bloquer en cas de freinage brusque ou de collision. Si elle est tirée lentement, la ceinture de sécurité peut etre déroulée et procurer une certaine liberté de mouvement lorsqu'youes asis sur le siège.
- Si vous ne pouvez pas partager la ceinture de sécurité de l'enrouleur, tirez un coup sec sur la ceinture, puis relâchez-la immédiatement. Tirez ensuite doucement pour l'extraire de l'enrouleur.

③ Placez la ceinture sous-abdominale bas sur les hanches et bien serrée, tel qu'illustré.
④ Tirez le baudrier vers l'enrouleur pour éliminer le jeu de la ceinture. Assurez-vous que le baudrier passée sur votre épaulé et en travers de votre poitrine.
La ceinture de sécurité du passager avant et les ceintures de sécurité à trois points arrirere possedent un mecanisme de blocage prevu pour l'installation d'un dispositif de retenue pour enfant. Ce mecanisme est appelé mode de blocage automatique ou mode de dispositif de retenue pour enfant.
Lorsque le mecanisme de blocage automatique est activé, la ceinture de sécurité ne peut plus être tirée, à moins que la languette de ceinture ne soit détachée de la boucle et que la ceinture ne soit totalement rétractée. Une fois rétractée, la ceinture de sécurité revient au mode de blocage d'urgence. Pour obtenir de plus amples renseignements, reportez-vous à la section « Dispositifs de retenue pour infant » plus loin dans ce chapitre.
Le mode de blocage automatique ne doit être utilisé qu'aux fins d'installation d'un dispositif de retenue pour enfant. Le mode de blocage automatique ne doit pas être activé lorsqu'un passager utiliser normalement la ceinture de sécurité. Si ce mode est activé, la tension dans la ceinture de sécurité pourrait être inconfortable pour le passager qui la porte. L'utilisation de ce mode modifie aussi le fonctionnement du coussin gonflable du passager avant. Consultez la section « Coussin gonflable du passager avant et tímoin de neutralisation » plus loin dans leprésent chapitre.

AVERTISSEMENT
Lorsque vous bouclez les ceintures de sécurité, assurez-vous que les dossiers de siège sont bien verrouillés. S'ils ne sont pas correctement verrouillés, les passagers pourrait être blessés en cas d'accident ou d'arrêt brusque.
Bouclage des ceintures de sécurité (strapontins, modèles King Cab)

1. Ouvrez le strapontin. Consultez la section « Sièges » vue précédemment dans ce chapitre.

Tirez lentement la ceinture de sécurité hors de l'enrouleur, puis insérez la languette dans la boucle jusqu'à ce que vous entendiez un déclic et que vous sentiez la languette se verrouiller.
L'enrouleur est concu pour se bloquer en cas de freinage brusque ou de collision. Si elle est tirée lentement, la ceinture de sécurité peut etre déroulée et procurer une certaine liberté de mouvement lorsqu'youes asis sur le siège.
- Si vous ne pouvez pas partager la ceinture de sécurité de l'enrouleur, tirez un coup sec sur la ceinture, puis relâchez-la immédiatement. Tirez ensuite doucement pour l'extraire de l'enrouleur.

③ Placez la ceinture sous-abdominale bas sur les hanches et bien serrée, tel qu'illustré.
Tirez le baudrier vers l'enrouleur pour eliminer le jeu de la ceinture. Assurez-vous que le baudrier passse sur votre épaulé et en travers de votre poitrine.
Les ceintures de sécurité à trois points des stra-pontins sont dotées d'un mécanisme de blocage pour l'installation d'un dispositif de retenue pour enfant. Ce mécanisme est appelé mode de blocage automatique ou mode de dispositif de retenue pour enfant.
Lorsque le mecanisme de blocage automatique est activé, la ceinture de sécurité ne peut plus être tirée, à moins que la languette de ceinture ne soit détachede la boucle et que la ceinture ne soit totalement retractée. Une fois rétractee, la ceinture de sécurité revient au mode de blocage d'urgence. Pour obtenir de plus amples renseignements, reportez-vous à la section « Dispositifs de retenue pour infant » plus loin dans ce chapitre.
Le mode de blocage automatique ne doit être utilisé qu'aux fins d'installation d'un dispositif de retenue pour enfant. Le mode de blocage automatique ne doit pas être activé lorsqu'un passager utilise normalement la ceinture de sécurité. Si ce mode est activé, la tension dans la ceinture de sécurité pourrait être inoffordable pour le passager qui la porte.

Débouclage des ceintures de sécurité
① Pour déboucler la ceinture de sécurité, appuyez sur le bouton de la boucle. La ceinture de sécurité se rétracte automatiquement.
Vérification du fonctionnement des ceintures de sécurité
Les enrouleurs des ceintures de sécurité sont concus pour bloquer la ceinture de sécurité dans les deux cas suivants :
- lorsque la ceinture de sécurité est tirée sousdainement hors de l'enrouleur;
- lorsque le vehicule ralentit brusquement.
Pour vous assurer du bon fonctionnement des ceintures de sécurité, vérifiez-les de la façon suivante:
- Saisissez le baudrier et tirez-le brusquement vers l'avant. L'enrouleur doit se verrouiller et bloquer la ceinture de sécurité.
Si l'enrouleur ne se verrouille durant cette verification ou si vous avez des questions au sujet du fonctionnement des ceintures de sécurité, adressez-vous à un concessionnaire NISSAN.

LRS0242
Réglage de la hauteur du baudrier (sièges avant)
La hauteur de l'ancrage du baudrier doit être réglée à la position convenant le mistré à la talle de l'occupant du siècle. (Consultez la section « Précautions concernant l'utilisation des ceintures de sécurité » vue précédemment dans ce chapitre.) Pour procéder au réglage, tirez le bouton de réglage ① et déplacez l'ancrage du baudrier jusqu'à la position désirée ② de sorte que la sangle passée au centre de l'épaule. La ceinture de sécurité ne doit reposer ni sur votre visage ni sur votre cou, et elle ne doit pas tomber de votre épaule. Relâchez le bouton de réglage pour verruiller l'ancrage du baudrier.

AVERTISSEMENT
- Une fois le réglage terminé, relâchez le bouton de réglage et essayez de déplacer l'ancrage du baudrier vers le haut et vers le bas pour vous assurer qu'il est bien verrouillé.
- La hauteur de l'ancrage du baudrier doit être réglée à la position convenant le mieux à la taille de l'occupant du siècle. En cas d'accident, le non-respect de cette consigne peut réduire l'efficacité de tout le dispositif de protection et accroître les risques de blessures ainsi que la gravité de celles-ci.
RALLONGES DE CEINTURE DE SÉCURITÉ
Si la corpulence de la personne ou sa position de conduite rendent impossible le port normal de la ceinture de sécurité, une rallonge de ceinture de sécurité peut ettre utilisée. La rallonge de ceinture de sécurité allonge la ceinture d'environ 200 mm (8 po) et peut ettre utilisée aussi bien pour le siège du conducteur que pour celui du passager avant. Si vous avez besoin d'une rallonge de ceinture de sécurité, adressez-vous a un concessionnaire NISSAN.
DISPOSITIFS DE RETENUE POUR ENFANT
A VERTISSEMENT
- Seules les rallonges de ceintures de sécurité NISSAN, fabriquées par la même entreprise qui a concu les ceintures de sécurité d'origine, doivent être utilisées sur les ceintures de sécurité NISSAN.
- Les adultes et les enfants qui peuvent utiliser la ceinture de sécurité d'origine ne doivent pas utiliser la rallonge. L'utilisation inutilé d'une rallonge pourrait entraîner des blessures graves en cas d'accident.
- N'utilisez jamais de rallonge de ceinture de sécurité pour l'installation d'un dispositif de retenue pour infant. Si le dispositif de retenue pour infant n'est pas fixé correctement, l'enfant pourrait être gravement blessé en cas de collision ou d'arrêt brusque.
ENTRETIEN DES CEINTURES DE SECURITE
- Pour nettoyer les sangles des ceintures de sécurité, utilisez une solution de savoir deux ou toute solution recommende pour le nettoyage des revêtements de siège ou des tapis. Essuyez-les ensuite avec un chiffon et laisserze les secher à l'ombre. Ne laisserz pas les ceintures de sécurité se rétracter avant qu'elle ne soit complètement sèches.
- Si de la saleté s'accumule dans le guide du baudrier des ancrages de ceinture de sécurité, celle-ci pourrait se rétracter plus lentement. Essuyez le guide du baudrier avec un chiffon propre et sec.
- Vérifiez régulièrement le bon fonctionnement des ceintures de sécurité et des pièces métalliques, telles que les boucles, les languettes, les enrouleurs, les cables flexibles et les ancrages. Si vous constaté la présence de pièces desserrées ou de sangles usées, entailles ou autrement endommagées, vous nevez procéder au remplacement complet de la ceinture de sécurité.

PRECAUTIONS CONCERNANT LES DISPOSITIFS DE RETENUE POUR ENFANT

A VERTISSEMENT
-
Pendant les trajets en voiture, les bébés et les jeunes enfants doivent toujours être assist dans un dispositif de retenue approprié. Un enfant qui n'est pas correctement assist dans un dispositif de retenue peut être blessé gravesment ou tue.
-
Ne voyagez jamais avec un bébé ou un jeune enfant assis sur vos genoux. Meme l'adulte le plus fort n'est pas en mesure de lutter contre les forces en jeu au cours d'un accident grave. L'enfant pourrait être écrasé entre l'adulte et les parois interieures du vehicule. De plus, n'utilise jamais la même ceinture de sécurité pour vous-même et votre enfant.
-
Bien que ce vehicule soit muni du dispositif de coussin gonflable perfectionné NISSAN, n'installez jamais sur le siege du passager avant un siege d'enfant orienté vers l'arrière. Un coussin gonflable qui se déploie peut infli ger à votre enfant des blessures graves, voiré mortelles. Un dispositif de retenue orienté vers l'arrière doit être installé seulement sur le siege arrêté.
-
NISSAN recommende l'installation des dispositifs de retenue pour enfant sur le siège arrêté. Selon les statistiques relatives aux accidents, les enfants sont plus en sécurité s'ils sont correctement retenus sur un siège arrêté que sur un siège avant. Consultez la section « Installation d'un dispositif de retenue pour enfant à l'aide des ceintures de sécurité » plus loin dans ce chapitre si vous nevez installer un dispositif de retenue pour enfant orienté vers l'avant sur le siège avant.
- L'utilisation ou l'installation inadéquates d'un dispositif de retenue pour enfant peut augmenter le risque de blessures ou la gravité des blessures pour l'enfant et les autres occupants et peut cause des blessures graves, voire mortelles, en cas d'accident.
-
Suivez toutes les instructions d'installation et d'utilisation fournies par le fabricant du dispositif de retenue pour enfant. Au moment d'acheter un tel dispositif, assurez-vous qu'il est adapté à votre enfant et au vehicule. Il est possible que certains types de dispositifs de retenue pour enfant ne convennent pas à votre vehicule.
-
Si le dispositif de retenue pour enfant n'est pas fixé correctement, les risques que l'enfant soit blessé en cas d'accident ou d'arrêt brusque sont beaucoup plus élevés.
- Les points d'ancrage pour dispositifs de retenue pour infant ne sont prevus que pour résister aux charges appliquées par des dispositifs de retenue pour infant correctement installés. Les points d'ancrage inférieurs ne doivent enaucun cas etre utilisés avec des ceintures de sécurité ou des baudriers pouradultes.
-
La position des dossiers de siège inclinables doit être réglée de façon à pouvoir recevoir un dispositif de retenue pour infant dans une position aussi après que possible de la verticale.
-
Vérifiez la solidité de la fixation du dispositif de retenue avant d'y asseoir un enfant. Poussez-le latéralement en tenant le siège près du point d'ancrage du système LATCH ou près du trajet de la ceinture de sécurité. Essayez de le tirer vers l'avant et assurez-vous que la ceinture de sécurité le maintient en place correctement. Il ne doit pas se déplacer de plus de 25 mm (1 po). Si le dispositif de retenue est mal fixé, resserrez davantage la ceinture de sécurité, ou installez le dispositif sur un autre siège, puis vérifiez de nouveau la solidité de la fixation. Vous devrez peut-être essayer un dispositif de retenue pour enfant différent. Les dispositifs de retenue pour enfant ne convennent pas à tous les vehicules.
- Lorsque le dispositif de retenue pour enfant est inutilisé, laissez-le fixé à l'aide du système LATCH ou d'une ceinture de sécurité pour éviter qu'il soit projeté en cas d'arrêt brusque ou d'accident.
AMISE EN GARDE
N'oubliez pas qu'un dispositif de retenue pour enfant laissé dans un vehicule fermé peut devenir très chaud. Vérifiez la température des surfaces et des boucles du siège avant d'y déposer votre enfant.
Ce vehicule est muni d'un système d'ancrages inférieurs universal pour dispositifs de retenue pour enfant appelé système LATCH (points d'ancrage inférieurs et sangles d'ancrage pour siege d'enfant). Certains dispositifs de retenue pour enfant sont munis de deux fixations rigides ou montées sur une sangle qui peuvent être fixées à ces points d'ancrage inférieurs. Pour obtaining de plus amples renseignements à ce sujet, reportez-vous à la section « Système LATCH (points d'ancrage inférieurs et sangles d'ancrage pour siege d'enfant) » plus loin dans ce chapitre.
Si vous ne détenez pas un dispositif de retenue pour infant compatible avec le système LATCH, vous pouvez utiliser les ceintures de sécurité du vehicule. Consultez la section « Installation des dispositifs de retenue pour infant à l'aide des ceintures de sécurité » plus loin dans ce chapitre. En général, les dispositifs de retenue pour infant sont aussi conçus pour être installés au moyen de la partie sous-abdominale d'une ceinture de sécurité à trois points.
Plusieurs fabricants offrent des dispositifs de retenue pour bébés et jeunes enfants de différentes tailles. Lorsque vous choisissez un dispositif de retenue pour enfant, il est essentiel de tener compte des points suivants :
- NeCHOISSEZ qu'un dispositif de retenue pour enfant portant une etiquette certifiant son homologation à la norme de sécurité 213 des vehicules automobiles du Canada ou à la norme de sécurité 213 des Federal Motor Vehicle Safety Standards des États-Unis.
Assurez-vous que le dispositif de retenue pour enfant s'adapte correctement à votre vehicule et qu'il est compatible avec le siège et la ceinture de sécurité. - Si le dispositif de retenue pour enfant est compatible avec votre vehicule, placez votre enfant dans le dispositif et vérifiez-en les divers réglages pour vous assurer qu'il convient à la taille de votre enfant. Choisissez un dispositif de retenue pour enfant ajusté à la grandeur et au poids de votre enfant. Respectez toujours toutes les directives fournies.
Au Canada et aux États-Unis, l'utilisation de dispositifs de retenue homologués est obligatoire pour les bébés et les jeunes enfants.

Emplacement des ancrages du système LATCH
SYSTÉME LATCH (Lower Anchors and Tethers for CHildren [points d'ancrage inférieurs et sangles d'ancrage pour siège d'enfant])
Votre vehicule est doté de points d'ancrage spéciaux à utiliser avec des dispositifs de retenue pour enfant compatibles avec le système LATCH (points d'ancrage inférieurs et sangles d'ancrage pour siège d'enfant).
Les points d'ancrage du système LATCH permettent d'inverter des dispositifs de retenue pour enfant aux places arrriere laterales seulement (modèles à cabine double seulement). N'essayez pas d'inverter un dispositif de retenue pour enfant au centre de la banquette à l'aide des points d'ancrage du système LATCH.

Emplacement des etiquettes du système LATCH (modles à cabine double seulement)
Emplacement des points d'ancrage inférieurs du système LATCH
Les ancrages du système LATCH sont situés derrière le coussin de siège, après du dossier du siège. Une étiquette indiquant la position des ancrages du système LATCH est apposée sur le dossier du siège.

Emplacement des points d'ancrage inférieurs du système LATCH

AVERTISSEMENT
- N'attachez les dispositifs de retenue pour infant compatibles avec le système LATCH qu'aux emplacements indiqués. Si un dispositif de retenue pour infant n'est pas fixé correctement, votre infant pourrait être gravesment blessé ou même tué en cas d'accident.
Le système LATCH a ete concu pour résister uniquement aux charges imposées par des dispositifs de retenue pour enfant installés correctement. Les points d'ancrage inférieurs ne doivent en aucun cas etre utilisés avec des ceintures de sécurité ou des baudriers pour adultes.

Fixation montée sur sangle du système LATCH
Installation des fixations du système LATCH du dispositif de retenue pour enfant
Les dispositifs de retenue pour infant compatibles avec le système LATCH comptent deux fixations rigides ou montées sur une sangle qui peuvent être fixées à deux points d'ancrage situés à certaines places assises dans le vehicule. Grace à ce système, il n'est pas nécessaire d'utiliser une ceinture de sécurité du vehicule pour fixer le dispositif de retenue pour infant. Vérifiez si votre dispositif de retenue pour infant compte une

Fixation rigide du système LATCH
étiquette mentionnant la compatibilité avec le système LATCH. Ces renseignements peuvent aussi se trouver dans les directives fournies par le fabricant du dispositif de retenue pour enfant.
Les dispositifs de retenue pour infant compatibles avec le système LATCH requirement en général l'utilisation d'une sangle d'ancrage supérieur. Reportez-vous à la section « Dispositif de retenue pour infant avec sangle d'ancrage supérieur » plus loin dans ce chapitre pour connaître les directives d'installation.
Lorsque you installez un dispositif de retenue pour enfant, suivez rigoureusement les directives
données dans ce manuel ainsi que celles fournies avec le dispositif de retenue pour enfant. Consultez la section « Installation d'un dispositif de retenue pour enfant à l'aide du système LATCH » du present chapitre.
DISPOSITIONIF DE RETENUE POUR ENFANT AVEC SANGLE D'ANCRAGE SUPÉRIEURE
Si le fabricant de votre dispositif de retenue pour enfant requiert l'utilisation d'une sangle d'ancrage supérieure, il faut fixer cette sangle au point d'ancrage.

AVERTISSEMENT
Les points d'ancrage pour dispositifs de retenue pour infant ne sont prevus que pour résister aux charges appliquées par des dispositifs de retenue pour infant correctement installés. Les points d'ancrage inférieurs ne doivent enaucun cas etre utilisés avec des ceintures de sécurité ou des baudriers pour adultes.
Emplacement des points d'ancrage de la sangle supérieure
Des points d'ancrage se trouvent aux endroits suivants:
- derrière le siècle du passager avant (modèle les King Cab seulement);
-
sur le plancher, entre les boucles de la ceinture du strapontin, au centre du vehicule (modèles King Cab seulement);
-
sous la lunette arrête, derrière la banquette arrête (modèles à cabine double seulement).
Si vous avez des questions concernant l'installation d'un dispositif de retenue pour enfant avec sangle d'ancrage supérieur sur le siège du passager avant, sur le strapontin du côte passager ou sur la banquette arrêté, consultez votre concessionnaire NISSAN.
Installation de la sangle d'ancrage supérieure
Fixez d'abord le dispositif de retenue pour enfant à l'aide de la ceinture de sécurité ou du système LATCH (places laterales de la banquette arrêté sur les modèles King Cab seulement), selon le cas.

Siège du passager avant (modèles King Cab seulement)
Dans le cas du siège du passager avant de la fourgonnette à deux places seulement, installez la sangle d'ancrage supérieure comme suit :
- Reglez l'appuie-tete à sa hauteur maximale.
- Acheminez la sangle d'ancrage supérieure entre l'appuie-tête et le dessus du dossier.
-
Fixez la sangle d'ancrage au point d'ancrage de la sangle situé derrière le dossier du siège.
-
Pour-retirer toutjeude de la sangle,serrez celle-ci conformément aux directives du fabricant.
Pour obtenir une meilleure fixation de votre dispositif de retenue pour enfant, consultez les directives d'installation appropriées du present chapitre ainsi que celles du fabricant.

Strapontin du côté passager (modèles King Cab seulement)
- Couvercle
- Support d'acheminement de la sangle d'ancrage supérieure
- Point d'ancrage de la sangle d'ancrage supérieure
Le point d'ancrage se trouve sur le plancher entre les bouches de la ceinture du strapontin au centre du vehicule. Le support d'acheminement se trouve derrière le couvercle sous la glace arrière, au-dessus du strapontin du cote passager.

Installation de la sangle d'ancrage supérieurieure
- Sangle d'ancrage supérieure
- Support d'acheminement
- Point d'ancrage de la sangle d'ancrage supérieure.

AVENTISSEMENT
Ne fixez pas la sangle d'ancrage supérieur au support d'acheminement. Si le dispositif de retenue pour infant n'est pas fixé correctement, les risques que l'enfant soit blessé en cas d'accident ou d'arrêt brusque sont beaucoup plus élevés.
- Retirez le couvercle pour acceder au support d'acheminement de la sangle d'ancrage supérieure du strapontin du cote passager.
- Acheminez la sangle d'ancrage supérieure dans le support d'acheminement.
- Tendez ensuite la sangle d'ancrage supérieur et fixez-la au support de la sangle d'ancrage supérieur entre les attaches de boucle de ceinture de sécurité au centre du vehicule.

Banquette arrête (modèles à cabine double seulement)
Les points d'ancrage sont situés sous la lunette arrrière, derrière la banquette.
Si vous avez des questions concernant l'installation d'un dispositif de retenue pour enfant avec sangle d'ancrage supérieur sur la banquette arrêté, adressez-vous à votre concessionnaire NISSAN.

Accès aux points d'ancrage
- Sangle
- Emplacement des points d'ancrage
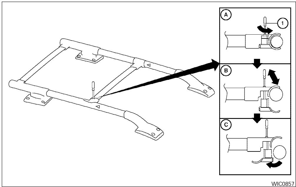
Pour acceder aux points d'ancrage situés derrière la banquette arrière, tirez sur la sangle se trouvant derrière le dossier de la banquette et inclinez le dossier vers l'avant.

Installation de la sangle d'ancrage supérieurieure
- Sangle d'ancrage supérieure
- Crochets
- Point d'ancrage
Installez la sangle d'ancrage supérieure comme suit :
- Levez l'appuie-tete.
-
Placez la sangle d'ancrage supérieure sur le dessus du dossier, en passant sous l'appuie-tete.
-
Fixez la sangle d'ancrage au point d'ancrage de la sangle sur le siège directement derrière le dispositif de retenue pour enfant.
- Pour-retirer toutjeu de la sangle,serrez celle-ci conformement aux directives du fabricant.
Pour obtenir une meilleure fixation de votre dispositif de retenue pour enfant, consultez les directives d'installation appropriées duprésent chapitre ainsi que celles du fabricant.
INSTALLATION D'UN DISPOSITIF DE RETENUE POUR ENFANT À L'AIDE DU SYSTÉME LATCH

AVERTISSEMENT
- Attachez les dispositifs de retenue pour enfant compatibles avec le système LATCH uniquement aux emplacements indiqués. Consultez la section « Systeme LATCH (points d'ancrage inférieurs et sangles d'ancrage pour siege d'enfant) » pour connaître l'emplacement des points d'ancrage inférieurs du système LATCH. Si un dispositif de retenue pour enfant n'est pas fixé correctement, votre enfant pourrait être gravement blessé ou même tué en cas d'accident.
Le système LATCH a ete concu pour résister uniquement aux charges imposées par des dispositifs de retenue pour enfant correctement installés. Les points d'ancrage inférieurs ne doivent en aucun cas etre utilisés avec des ceintures de sécurité ou des baudriers pour adultes.
Glissez vos doigs dans les ancrages inférieurs pour vous assurer que le système LATCH n'est pas entrave par une sangle de ceinture de sécurité ou par le tissu du coussin de siège. Le dispositif de retenue pour enfant ne pourra pas etre fixe solidement si les ancrages du système LATCH sont entraves.
Orientation vers l'avant
Suivez les étapes ci-dessous pour installer un dispositif de retenue pour infant orienté vers l'avant à l'aide du système LATCH :
- Placez le dispositif de retenue pour infant sur le siège. Respectez toujours toutes les directives fournies par le fabricant du dispositif de retenue pour infant.

Dispositif de retenue orienté vers l'avant, fixations sur la sangle - étape 2
- Fixez les fixations du dispositif de retenue pour enfant aux points d'ancrage inférieurs du système LATCH.
- L'arrête du dispositif de retenue pour infant doit être fixé au dossier du siège du vehicule.
S'il y a lieu, retirez l'appuie-tête ou reglez-le de façon à pouvoir bien installer le dispositif de retenue pour enfant. Consultez la section « Réglage de l'appuie-tête » de ce chapitre. Si vous avez retire l'appuie-tête, rangez-le en lieu sur. N'oubliez pas de réinstaller l'appuie-tête lorsque vous retirez le dispositif de retenue pour enfant.

Dispositif de retenue orienté vers l'avant, fixations rigides - étape 2
Si l'appuie-tete de la place assise n'est pas régrible ou s'il nuit à l'installation du dispositif de retenue pour infant, essayez une autre place assise ou un dispositif de retenue différent.

Dispositif de retenue orienté vers l'avant - étape 4
-
Dans le cas des dispositifs de retenue pour enfant dotés de fixations montées sur une sangle, éliminez le mou additionnel à partir des points d'ancrage. Poussez fermement vers le bas et vers l'arrière au centre du dispositif de retenue pour enfant avec votre genou pour comprimer le coussin et le dos-sier du siège du vehicule tout en serrant les sangles des points d'ancrage.
-
Si le dispositif de retenue pour infant est doté d'une sangle d'ancrage supérieure, acheminez la sangle d'ancrage supérieure, puis fixez la sangle d'ancrage au point d'ancrage de la sangle. Consultez la section « Dispositif de retenue pour infant avec sangle d'ancrage supérieure » de ce chapitre.

Dispositif de retenue orienté vers l'avant - étape 6
- Avant de placer l'enfant dans le dispositif de retenue pour enfant, tenez le dispositif de retenue pour enfant prés de la fixation du système LATCH et exercez une force latérale sur le dispositif de retenue pour enfant, puis tirez-le vers l'avant pour vous assurer qu'il est solidement fixé. Il ne doit pas se déplacer de plus de 25 mm (1 po). S'il se déplace de plus de 25 mm (1 po), tirez de nouveau sur les sangles des points d'ancrage pour serrer davantage le dispositif de retenue pour enfant. Si vous n'étés pas en mesure de fixerADFQUATIMENTLEdispositifde retenue,placez-leaune autre place essise et essayez de nouveau,ou utilisez un different dispositif de retenue pour enfant. Les dispositifs de retenue pour enfant ne convennent pas a tous les vehicules.
- Assurez-vous que le dispositif de retenue est bien fixé avant chaque utilisation. Si le dispositif de retenue pour enfant est l'âche, repêtez les étapes 3 à 6.
Orientation vers l'arrière
Suivez les étapes ci-dessous pour installer un dispositif de retenue orienté vers l'arrière à l'aide du système LATCH :
- Placez le dispositif de retenue pour infant sur le siège. Respectez toujours toutes les directives fournies par le fabricant du dispositif de retenue pour infant.

Dispositif de retenue orienté vers l'arrière, fixations sur la sangle - étape 2
- Fixez les fixations du dispositif de retenue pour enfant aux points d'ancrage inférieurs du système LATCH.

Dispositif de retenue orienté vers l'arrière, fixations rigides - étape 2
- Dans le cas des dispositifs de retenue pour enfant dotés de fixations montées sur une sangle, éliminez le mou additionnel à partir des points d'ancrage. Poussez fermement vers le bas et vers l'arrière au centre du dispositif de retenue pour enfant avec la main pour comprimer le coussin et le dossier du siècle du vehicule tout en serrant les sangles des points d'ancrage.

Dispositif de retenue orienté vers l'arrière - étape 3

Dispositif de retenue orienté vers l'arrière - étape 4
- Avant de placer l'enfant dans le dispositif de retenue pour enfant, tenez le dispositif de retenue pour enfant prés de la fixation du système LATCH et exercez une force latérale sur le dispositif de retenue pour enfant, puis tirez-le vers l'avant pour vous assurer qu'il est solidement fixé. Il ne doit pas se déplacer de plus de 25 mm (1 po). S'il se déplace de plus de 25 mm (1 po), tirez de nouveau sur les sangles des points d'ancrage pour serrer davantage le dispositif de retenue pour enfant. Si vous n'étés pas en mesure de fixerADFQUATIMENTLEdispositifde retenue,placez-leaune autre place essise et essayez de nouveau,ou utilisez un different dispositif de retenue pour enfant. Les dispositifs de retenue pour enfant ne convennent pas a tous les vehicules.
- Assurez-vous que le dispositif de retenue est bien fixé avant chaque utilisation. Si le dispositif de retenue pour enfant est l'âche, repêze les étapes 2 à 4.

INSTALLATION D'UN DISPOSITIF DE RETENUE POUR ENFANT À L'AIDE DES CEINTURES DE SECURITÉ - SUR LE SIÉGE DU PASSAGER AVANT ET SUR LA BANQUETTE ARRÊRÉ (modèles à cabine double seulement)

AVERTISSEMENT
- Bien que ce vehicule soit muni du dispositif de coussin gonflable perfectionné NiSSAN, n'installé jamais sur le siècle du passager avant un siècle d'enfant orienté vers l'arrière. Les cousins gonflables avant se déploient avec beaucoup de force. En cas d'accident, le coussin gonflable avant peut frapper violament le dispositif de retenue orienté vers l'arrière. Vote infant pour rait subir des blessures graves, voire mortelles.
-
NISSAN recommende l'installation des dispositifs de retenue pour enfant sur les sièges arrrière. Toutefois, si vous dévez absolument installer un dispositif de retenue pour enfant orienté vers l'avant sur le siège du passager avant, déplacez le siège le plus loin possible vers l'arrière. De plus, assurez-vous que le témoin de neutralisation du coussin gonflable du passager avant est allumé pour confirmer la neutralisation du coussin gonflable. Pour obtenir des détails à ce sujet, consultez la section « Coussin gonflable du passager avant et témoin de neutralisation » plus loin dans ce chapitre.
-
La ceinture de sécurité à trois points de votre vehicule est munie d'un enrouleur à mode de blocage automatique que vous doivent utiliser lorsque vous installez un dispositif de retenue pour infant.
- Le dispositif de retenue pour infant ne peut pas être fixé solidement si le mode de blocage de l'enrouleur n'est pas utilisé. Le dispositif de retenue risque de se renverser ou de se détacher en cas d'arrêt brusque ou d'accident, et l'enfant pourrait alors être blessé. Il a également une incidence sur le fonctionnement du coussin gonflable du passager avant. Consultez la section « Coussin gonflable du passager avant et tímedoin de neutralisation » plus loin dans le present chapitre.
- N'installez pas un dispositif de retenue pour enfant avec une sangle d'ancrage supérieure sur le siège du passager avant, sauf pour les modèles King Cab.
Les directives de la presente section s'appliquent à l'installation d'un dispositif de retenue à l'aide des ceintures de sécurité des places arrêté ou du siège du passager avant.

Dispositif de retenue orienté vers l'avant (siège du passager avant) - étape 1 Orientation vers l'avant
Suivez les étapes suivantes pour installer un dispositif de retenue pour infant orienté vers l'avant à l'aide de la ceinture de sécurité du vehicule sur la banquette arrêté (modèles à cabine double seulement) ou sur le siège du passager avant :
- Si vous doivent installer un dispositif de retenue pour enfant sur le siège avant, orientez-le vers l'avant seulement. Récules le siège au maximum. Les dispositifs de retenue pour bébés doivent être orientés vers l'arrière; par conséquent, ils ne doivent jamais être installés à l'avant du vehicule.
- Placez le dispositif de retenue pour infant sur le siège. Respectez toujours les directives du fabricant du dispositif de retenue pour infant.
L'arrière du dispositif de retenue doit être fixé au dossier du siècle. S'il y a lieu, retirez l'appuie-tête ou réglez-le de façon à pouvoir bien installer le dispositif de retenue pour infant. Consultez la section « Réglage de l'appuie-tête » de ce chapitre.
Si vous avez retire l'appuie-tete, rangeze-le en lieu sur. N'oubliez pas de réinstaller l'appuie-tete lorsque vous retirez le dispositif de retenue pour enfant. Si I'appuie-tete de la place assise n'est pas reglable ou s'il nuit a I'st installation du dispositif de retenue pour enfant, essayez une autre place assise ou un dispositif de retenue différent.

Dispositif de retenue orienté vers l'avant - étape 3
- Faites passer la languette de la ceinture de sécurité en travers du dispositif de retenue pour enfant, puis insérez-la dans la boucle jusqu'à ce que vous entendiez un déclic et que vous sentiez la languette se verrouiller. Respectez les directives d'acheminement de la ceinture de sécurité du fabricant du dispositif de retenue pour enfant.

Dispositif de retenue orienté vers l'avant - étape 4
- Tirez sur le baudrier jusqu'à ce que la ceinture soit complètement déployée. L'enrouleur de la ceinture de sécurité passé alors en mode de blocage automatique (mode pour dispositif de retenue pour enfant). Il returnera en mode de blocage d'urgence une fois que la ceinture de sécurité se sera complètement rétractée.

Dispositif de retenue orienté vers l'avant - étape 5
- Laissez la ceinture de sécurité se rétractor. Tirez sur le baudrier pour éliminer tout jeu de la sangle.

Dispositif de retenue orienté vers l'avant - étape 6
- Éliminez tout mou additionnel de la ceinture de sécurité; poussez fermement vers le bas et vers l'arrière au centre du dispositif de retenue pour infant avec votre genou pour comprimer le coussin et le dossier du siège du vehicule tout en serrant la ceinture de sécurité.

Dispositif de retenue orienté vers l'avant - étape 7
-
Si le dispositif de retenue pour enfant est doté d'une sangle d'ancrage supérieure, acheminez la sangle d'ancrage supérieure, puis fixez la sangle d'ancrage au point d'ancrage de la sangle. Consultez la section « Dispositif de retenue pour enfant avec sangle d'ancrage supérieure » de ce chapitre. N'installez pas de dispositifs de retenue pour enfant quirequirement l'utilisation d'une sangle d'ancrage supérieure à une place assise qui n'est pas dotée d'un point d'ancrage de sangle supérieure.
-
Avant de placer l'enfant dans le dispositif de retenue pour enfant, tenez le dispositif de retenue pour enfant pres du trajet de la ceinture de sécurité et exercez une force laterale sur le dispositif de retenue pour enfant, puis tirez-le vers l'avant pour vous assurer qu'il est solidement fixe. Il ne doit pas se déplacer de plus de 25mm (1 po). S'il se déplace de plus de 25mm (1 po), tirez de nouveau sur le baudrier pour serrer davantage le dispositif de retenue pour enfant. Si vous n'étés pas en mesure de fixer ajustement le dispositif de retenue, placez-le à une autre place assise et essayez de nouveau, ou utilisez un différent dispositif de retenue pour enfant. Les dispositifs de retenue pour enfant ne convennent pas à tous les vehicules.
-
Assurez-vous que l'enrouleur est bien en mode de blocage automatique en essayant de tirer la ceinture de sécurité hors de l'enrouleur. Si vous ne pouvez tirer davantage de sangle hors de l'enrouleur, ce dernier est en mode de blocage automatique.
-
Assurez-vous que le dispositif de retenue est bien fixé avant chaque utilisation. Répétez les étapes 3 à 8 si la ceinture de sécurité n'est pas verrouillée.

WRS0475
Dispositif de retenue orienté vers l'avant - étape 11
- Si le dispositif de retenue pour infant est installé sur le siège du passager avant, tournez le contacteur d'allumage à la position ON. Le tímoin de neutralisation du coussin gonflable du passager devrait s'allumer. Si ce tímoin est étèint, consultez la section « Coussin gonflable du passager avant et tímoin de neutralisation » de ce chapitre. Placez le dispositif de retenue pour infant sur un autre siège. Rendez-vous chez un concessionnaire NISSAN pour faire vérifier le dispositif.
Une fois le dispositif de retenue retire et la ceinture de sécurité entierement retractee, le mode de blocage automatique du dispositif de retenue pour enfant est désactivé.

Dispositif de retenue orienté vers l'arrière - étape 1
Orientation vers l'arrière
Suivez les étapes suivantes pour installer un dispositif de retenue pour enfant orienté vers l'arrière à l'aide de la ceinture de sécurité du vehicule sur la banquette arriere (modeles à cabine double seulement):
INSTALLATION D'UN DISPOSITIF DE RETENUE POUR ENFANT À L'AIDE DES CEINTURES DE SECURITÉ - SUR LE STRAPONTIN DU CÔTE PASSAGER (modèles King Cab seulement)

AVERTISSEMENT
- La ceinture de sécurité à trois points de votre vehicule est munie d'un enrouleur à mode de blocage automatique que vous doivent utiliser lorsque vous installez un dispositif de retenue pour infant.
- Le dispositif de retenue pour infant ne peut pas'être fixé solidement si le mode de blocage de l'enrouleur n'est pas utilisé. Le dispositif de retenue risque de se renverser ou de se détacher en cas d'arrêt brusque ou d'accident, et l'enfant pourrait alors être blessé.

LRS0598

AVERTISSEMENT
-
Lorsque vous installez un dispositif de retenue pour enfant sur le strapontin du côté passager, assurez-vous de déployer la rallonge du strapontin. Si la rallonge n'est pas utilisée correctement, le dispositif de retenue pour enfant sera mal installé et l'enfant pourrait subir des blessures en cas de collision ou d'arrêt brusque.
-
N'installez jamais un dispositif de retenue pour enfant sur le strapontin du côte conducteur. Il est impossible de correctement installer un dispositif de retenue pour enfant sur le strapontin du côte conducteur et l'enfant pourrait subir des blessures en cas de collision ou d'arrêt brusque.

Dispositif de retenue orienté vers l'avant
Suivez les étapes ci-après pour installer un dispositif de retenue pour infant du côte passager :

- Pour acceder à la rallonge de strapontin ① du côté passager, tirez ② sur la rallonge pour la déployer en position ouverte. Déployez ensuite les deux montants ③ et abaissez le strapontin en position entière-ment ouverte ④.

Dispositif de retenue orienté vers l'avant (position du côté passager seulement) - étape 2
- Placez le dispositif de retenue pour infant sur le siège. Respectez toujours les directives du fabricant du dispositif de retenue pour infant.
L'arrière du dispositif de retenue doit être fixé au dossier du siècle. S'il y a lieu, retirez l'appuie-tête ou réglez-le de façon à pouvoir bien installer le dispositif de retenue pour infant. Consultez la section « Réglage de l'appuie-tête » de ce chapitre.
Si vous avez retire l'appuie-tete, rangez-le en lieu sur. N'oubliez pas de réinstaller l'appuie-tete lorsque vous retirez le dispositif de retenue pour enfant. Si I'appuie-tete de la place assise n'est pas reglable ou s'il nuit a I'installation du dispositif de retenue pour enfant, essayez une autre place assise ou un dispositif de retenue différent.

Dispositif de retenue orienté vers l'avant - étape 3
- Faites passer la languette de la ceinture de sécurité en travers du dispositif de retenue pour enfant, puis insérez-la dans la boucle jusqu'à ce que vous entendiez un déclic et que vous sentiez la languette se verrouiller.
Assurez-vous de faire passer la ceinture de sécurité derrière le dispositif de retenue de la façon indiquée par le fabricant.

Dispositif de retenue orienté vers l'avant - étape 4
- Tirez sur le baudrier jusqu'à ce que la ceinture soit complètement déroulée. L'enrouleur de la ceinture de sécurité passée alors en mode de blocage automatique (mode pour dispositif de retenue pour enfant). La ceinture de sécurité returnera en mode de blocage d'urgence une fois qu'elle se sera complètement rétractée.

Dispositif de retenue orienté vers l'avant - étape 5
- Laissez la ceinture de sécurité se rétracter. Tirez sur le baudrier pour éliminer tout jeu de la sangle.

Dispositif de retenue orienté vers l'avant - étape 6
- Éliminez tout mou additionnel de la ceinture de sécurité; poussez fermement vers le bas et vers l'arrière au centre du dispositif de retenue pour infant avec votre genou pour comprimer le coussin et le dossier du siège du vehicule tout en serrant la ceinture de sécurité.

Dispositif de retenue orienté vers l'avant - étape 7
-
Si le dispositif de retenue pour enfant est doté d'une sangle d'ancrage supérieure, achemiez la sangle d'ancrage supérieure, puis fixez la sangle d'ancrage au point d'ancrage de la sangle. Consultez la section « Dispositif de retenue pour enfant avec sangle d'ancrage supérieure » de ce chapitre. N'installez pas de dispositifs de retenue pour enfant quirequirement l'utilisation d'une sangle d'ancrage supérieure à une place assise qui n'est pas dotée d'un point d'ancrage de sangle supérieure.
-
Avant de placer l'enfant dans le dispositif de retenue pour enfant, tenez le dispositif de retenue pour enfant pres du trajet de la ceinture de sécurité et exercez une force laterale sur le dispositif de retenue pour enfant, puis tirez-le vers l'avant pour vous assurer qu'il est solidement fixe. Il ne doit pas se déplacer de plus de 25mm (1 po). S'il se déplace de plus de 25mm (1 po), tirez de nouveau sur le baudrier pour serrer davantage le dispositif de retenue pour enfant. Si vous n'étés pas en mesure de fixer adequatement le dispositif de retenue, placez-le à une autre place assise et essayez de nouveau, ou utilisez un différent dispositif de retenue pour enfant. Les dispositifs de retenue pour enfant ne convennent pas à tous les vehicules.
- Assurez-vous que l'enrouleur est bien en mode de blocage automatique en essayant de tirer la ceinture de sécurité hors de l'enrouleur. Si vous ne pouvez tirer davantage de sangle hors de l'enrouleur, ce dernier est en mode de blocage automatique.
- Assurez-vous que le dispositif est fixé solidement avant chaque utilisation. Si la ceinture n'est pas verrouillée, repêze les étapes 3 à 9.
Lorsque la ceinture de sécurité se retracte complètement dans l'enrouleur après le retrait du dispositif de retenue pour infant, le mode de blocage automatique (mode pour dispositif de retenue pour infant) est désactivé.

Dispositif de retenue orienté vers l'arrête

AVERTISSEMENT
- N'installez pas un dispositif de retenue pour enfant sur le strapontin du côté passager sans déployer la rallonge du strapontin. Le dispositif de retenue ne sera pas correctement installé et l'enfant pourrait subir des blessures graves, voire mortelles en cas d'arrêt brusque ou de collision.


AVERTISSEMENT
- Pour installer un dispositif de retenue pour enfant orienté vers l'arrière sur le strapontin du côte passager, il faut déplacer le siège du passager avant entièrement vers l'avant et placer le dossier du siège avant à la verticale ou l'incliner vers l'avant. Le siège avant ne peut pas être occupé. Autrement, il pourrait en résultat de graves blessures en cas d'arrêt brusque ou de collision.

Suivez les étapes ci-après pour installer un dispositif de retenue pour infant sur le strapontin du côte passager :
- Pour acceder à la rallonge de strapontin ① du côté passager, tirez simplement ② sur la rallonge pour la déployer en position ouverte. Déployez ensuite les deux montants ③ et abaissez le strapontin en position entierement ouverte ④.


Dispositif de retenue orienté vers l'arrière (strapontin du côté passager seulement) - étape 2
- Déplacez le siège du passager avant en position ENTIEREMENT VERS L'AVANT. Placez ensuite le dossier du siège avant à la verticale ou en position inclinée vers l'avant. Placez le dispositif de retenue sur le strapontin. L'orientation du dispositif de retenue pour enfant varie en fonction du type de dispositif et de la taille de l'enfant. Suivez toujours toutes les directives fournies par le fabricant du dispositif.

Dispositif de retenue orienté vers l'arrière - étape 3
- Faites passer la languette de la ceinture de sécurité en travers du dispositif de retenue pour enfant, puis insérez-la dans la boucle jusqu'à ce que vous entendiez un déclic et que vous sentiez la languette se verrouiller.
Assurez-vous de faire passer la ceinture de sécurité derrière le dispositif de retenue de la façon indiquée par le fabricant.

Dispositif de retenue orienté vers l'arrière - étape 4
- Tirez sur le baudrier jusqu'à ce que la ceinture soit complètement déroulée. L'enrouleur de la ceinture de sécurité passée alors en mode de blocage automatique (mode pour dispositif de retenue pour enfant). Il returnera en mode de blocage d'urgence une fois que la ceinture de sécurité se sera complètement rétractée.

Dispositif de retenue orienté vers l'arrière - étape 5
- Laissez la ceinture de sécurité se rétracter. Tirez sur le baudrier pour éliminer tout jeu de la sangle.

Dispositif de retenue orienté vers l'arrière - étape 5
- Éliminez tout mou additionnel du dispositif de retenue; poussez fermement vers le bas et vers l'arrière au centre du dispositif de retenue pour enfant pour comprimer le coussin et le dossier du siège du vehicule tout en serrant la ceinture de sécurité.

Dispositif de retenue orienté vers l'arrière - étape 6
REHAUSSEURS
- Avant de placer l'enfant dans le dispositif de retenue pour enfant, tenez le dispositif de retenue pour enfant pres du trajet de la ceinture de sécurité et exercez une force laterale sur le dispositif de retenue pour enfant, puis tirez-le vers l'avant pour vous assurer qu'il est solidement fixe. Il ne doit pas se déplacer de plus de 25mm (1 po). S'il se déplace de plus de 25mm (1 po), tirez de nouveau sur le baudrier pour serrer davantage le dispositif de retenue pour enfant. Si vous n'étés pas en mesure de fixer adequatement le dispositif de retenue, placez-le à une autre place assise arrière et essayez de nouveau, ou utilisez un différent dispositif de retenue pour enfant. Les dispositifs de retenue pour enfant ne convennent pas à tous les vehicules.
- Assurez-vous que l'enrouleur est bien en mode de blocage automatique en essayant de tirer la ceinture de sécurité hors de l'enrouleur. Si vous ne pouvez tirer davantage de sangle hors de l'enrouleur, ce dernier est en mode de blocage automatique.
- Assurez-vous que le dispositif est fixé soliderment avant chaque utilisation. Si la ceinture n'est pas verrouillée, repêtez les étapes 3 à 8.
Lorsque le dispositif de retenue pour enfant est rétré du vehicule et que la ceinture de sécurité se rétracte complètement dans l'enrouleur, le mode de blocage automatique (mode pour dispositif de retenue pour enfant) est désactivé.

PRECAUTIONS CONCERNANT LES REHAUSSEURS

AVERTISSEMENT
-
Pendant les trajets en voiture, les bébés et les jeunes enfants doivent toujours être assist dans un dispositif de retenue approprié. Un enfant qui n'est pas assist dans un dispositif de retenue ou dans un rehauser ne peut subir des blessures graves, voir mortelles.
-
Ne voyagez jamais avec un bébé ou un jeune enfant assis sur vos genoux. Meme l'adulte le plus fort n'est pas en mesure de lutter contre les forces en jeu au cours d'un accident grave. L'enfant pourrait être écrasé entre l'adulte et les parois interieures du vehicule. De plus, n'utilise jamais la même ceinture de sécurité pour vous-même et votre enfant.
- NISSAN recommende l'installation d'un rehausseur sur le siège arrrière. Selon les statistiques relatives aux accidents, les enfants sont plus en sécurité s'ils sont correctement retenus sur un siège arrrière que sur un siège avant. Consultez la section « Installation d'un rehausseur » de ce chapitre si vous doivent installer un rehausseur sur le siège avant.
- Installez un rehausseur seulement à une place assise munie d'une ceinture à trois points. Si vous utilisez une place munie d'un autre type de ceinture, l'enfant pourrait subir des blessures graves en cas d'arrêt brusque ou de collision.
L'utilisation ou l'installation inadéquates d'un rehauser ne peut augmenter le risque de blessures ou la gravité des blessures pour l'enfant et les autres occupants et peut cause des blessures graves,Voire mortelles,en cas d'accident.
- N'utilisez pas de serviettes, de livres, d'oreillers ni d'autres articles à la place d'un rehausseur. De tels articles peuvent se déplacer pendant la conduite normale ou au moment d'une collision et cause des blessures graves, voire mortelles. Les rehausseurs sont concus pour être utilisés avec une ceinture à trois points. Les rehausseurs sont concus pour bien faire passer la partie sous-abdominale et le baudrier de la ceinture sur les parties les plus solides du corps d'un infant et ainsi assurer une protection maximale en cas de collision.
Suivez les directives du fabricant au sujeit de l'installation et de l'utilisation du rehausseur. Lorsque vous achetez un rehausseur, assurez-vous qu'il convient à votre enfant et au vehicule. Il est possible que certains types de rehausseur ne convennent pas à votre vehicule.
- Si le rehausseur et la ceinture de sécurité ne sont pas installés correctement, le risque de blessures à l'enfant augmente grandement en cas de collision ou d'arrêt brusque.
- La position des dossiers de siège inclinables doit être réglée de façon à pouvoir recevoir un rehauser dans une position aussi préc que possible de la verticale.
- Lorsque l'enfant est assis sur le rehausseur et que la ceinture de sécurité est bouclée, assurez-vous que le baudrier ne passse ni sur le visage de l'enfant ni sur son cou, et que la partie sous-abdominale ne repose pas en travers de l'abdomen.
- Ne placez pas le baudrier derrière l'enfant ou sous son bras. Consultez la section « Installation d'un rehausseur » plus loin dans ce chapitre si vousdezvez installer un rehausseur sur le siege avant.
- Lorsque le rehausseur est inutilisé, fixez-le avec une ceinture de sécurité afin d'éviter qu'il soit projeté en cas d'arrêt brusque ou d'accident.

MISE EN GARDE
N'oubliez pas qu'un rehausseur laissé dans un vehicule fermé peut devenir très chaud. Vérifiez la température des surfaces et des boucles du rehausseur avant de déposer votre enfant sur le rehausseur.

Plusieurs fabricants offrent des rehausseurs de diverses tailles. Tenez compte des considérations suivantes au moment de désir un rehausseur :
- Ne désisissez qu'un rehausseur portant une étiquette certifient son homologation à la norme 213 de sécurité des vehicules automobiles du Canada ou à la norme 213 des Federal Motor Vehicle Safety Standards des États-Unis.
- Placez le rehausseur dans votre vehicule et assurez-vous qu'il est compatible avec le siège et la ceinture de sécurité de votre vehicule.

Assurez-vous que la tete de l'enfant est correctement soutenue par le rehausseur ou le siège du vehicule. Le dossier doit monter au moins jusqu'au niveau du centre des oreilles de l'enfant. Par exemple, si vous désissez un rehausseur à dossier bas ①, le dossier du siège du vehicule doit se couver au moins au niveau du centre des oreilles de l'enfant. Si le dossier se trouve sous le centre des oreilles de l'enfant, utilisez un rehausseur à dossier élevé ②.

LRS0464
- Si le rehausseur est compatible avec votre vehicule, assoyez votre enfant dans le rehausseur et vérifie les divers réglages pour vous assurer que le rehausseur convient à votre enfant. Respectez toujours toutes les directives fournies.
Au Canada et aux États-Unis, l'utilisation de dispositifs de retenue homologués est obligatoire pour les bébés et les jeunes enfants.
Les directives de la presente section s'appliquent à l'installation d'un rehauser auplaces arrêté ou sur le siège du passager avant.
INSTALLATION D'UN REHAUSSEUR
SUR LE SIÉGE DU PASSAGER
AVANT ET SUR LE SIÉGE ARRÊRÉ
(modeles à cabine double seulement)

AVERTISSEMENT
NISSAN recommende l'installation des dispositifs de retenue pour enfant sur les sièges arrêté. Toutefois, si vous nevez absolument installer un rehausseur sur le siège du passager avant, recULEz le siège le plus possible.

MISE EN GARDE
Ne vous servez pas du mode de verrouillage automatique de la ceinture à trois points lorsque vous utilisez un rehausseur avec les ceintures de sécurité. Suivez les étapes suivantes pour installer un rehausseur à une place arrière ou sur le siège du passager avant :

-
Si vous doivent installer un rehauser sur le siège avant, déplacez le siège aussi loin que possible vers l'arrière.
-
Placez le rehausseur sur le siège. Orientez-le toujours vers l'avant. Suivez tous les directives du fabricant du rehausseur.

Place centrale arriere

Place latérale arrête
-
Placez le rehausseur sur le siège du vehicule pour qu'il soit stable. S'il y a lieu, réglez la hauteur de l'appuie-tête ou retirez-le de façon à bien installer le rehausseur. Consultez la section « Réglage de l'appuie-tête » vue précédemment dans ce chapitre. Si vous ave rétiré l'appuie-tête, rangez-le en lieu sûr. N'oubliez pas de réinstaller l'appuie-tête lorsque vous retirrez le rehausseur. Si l'appuie-tête de la place assise n'est pas régiable et s'il nuit à l'installation du rehausseur, essayez une autre place assise ou un rehausseur différent.
-
Serrez bien la sangle sous-abdominale de la ceinture de sécurité sur la partie inférieure des hanches de l'enfant. Assurez-vous d'acheminer la ceinture de sécurité selon les directives du fabricant du rehausseur.
- Tirez le baudrier de la ceinture vers l'enrouleur pour eliminer le jeu. Assurez-vous de placer le baudrier sur la partie centrale supérieure de l'épaule de l'enfant. Assurez-vous d'acheminer la ceinture de sécurité selon les directives du fabricant du rehauteur.
- Respectez les avertissements, les mises en garde et les directives d'installation d'une ceinture de sécurité données précédement dans la section « Ceinture de sécurité à trois points avec enrouleur » du present chapitre.

LRS0454
Siège du passager avant
- Si le rehausseur est installé sur le siège du passager avant : Lorsque le contacteur d'allumage est tourné à la position ON, le témoin de neutralisation du coussin gonflable du passager peut être allumé ou non en fonction de la taille de l'enfant et du type de rehausseur utilisé. Consultez la section « Coussin gonflable du passager avant et témoin de neutralisation » plus loin dans le present chapitre.
INSTALLATION D'UN REHAUSSEUR
SUR LE STRAPONTIN DU CÔTE
PASSAGER SEULEMENT (modèles King Cab seulement)
AVERAGEMENT
- Lorsque vous installez un rehausseur sur le strapontin du côte passager, assurez-vous de déployer la rallonge de strapontin. Si la rallonge n'est pas utilisée correctement, le rehausseur sera mal installé et l'enfant pourrait subir des blessures en cas de collision ou d'arrêt brusque.
- N'installez jamais un rehausseur sur le strapontin du côté conducteur. Il est impossible d'installer correctement un dispositif de retenue pour enfant sur le strapontin du côté conducteur; un enfant pourrait subir des blessures en cas de collision ou d'arrêt brusque.
AMISE EN GARDE
Ne vous servez pas du mode de verrouillage automatique de la ceinture à trois points lorsque vous utilisez un rehausseur avec les ceintures de sécurité. Suivez les étapes ci-après pour installer un rehausseur sur le strapontin :


- Pour acceder à la rallonge de strapontin ① du côté passager, tirez simplement ② sur la rallonge pour la déployer en position ouverte. Déployez ensuite les deux montants ③ et abaissez le strapontin en position entièrement ouverte ④.

- Placez le rehausseur sur le siège. Orientez-le toujours vers l'avant. Suivez tous les directives du fabricant du rehausseur.
DISPOSITIF DE PROTECTION COMPLEMENTAIRE
- Placez le rehausseur sur le siège du vehicule pour qu'il soit stable. S'il y a lieu, réglez la hauteur de l'appuie-tête ou retirez-le de façon à bien installer le rehausseur. Consultez la section « Réglage de l'appuie-tête » vue précédemment dans ce chapitre. Si vous avez retirel l'appuie-tete, rangez-le en lieu sûr. N'oubliez pas de réinstaller l'appuie-tete lorsque vous retirez le rehausseur. Si l'appuie-tête de la place assise n'est pas régiable et s'il nuit à l'installation du rehausseur, essayez une autre place assise ou un rehausseur différent.
- Serrez bien la sangle sous-abdominale de la ceinture de sécurité sur la partie inférieure des hanches de l'enfant. Assurez-vous d'acheminer la ceinture de sécurité selon les directives du fabricant du rehausseur.
-
Tirez le baudrier de la ceinture vers l'enrouleur pour éliminer le jeu. Assurez-vous de placer le baudrier sur la partie centrale supérieure de l'épaule de l'enfant. Assurez-vous d'acheminer la ceinture de sécurité selon les directives du fabricant du rehauteur.
-
Respectez les avertissements, les mises en garde et les directives d'installation d'une ceinture de sécurité données précédement dans la section « Ceinture de sécurité à trois points avec enrouleur » duprésent chapitre.
PRECAUTIONS CONCERNANT LE DISPOSITIF DE PROTECTION COMPLEMENTaire
Ce chapitre sur le dispositif de protection complémentaire (SRS) contient des renseignements importants au sujet des coussins gonflables frontaux des côtés conducteur et passager (dispositif de coussin gonflable perfectionné NiSSAN), des coussins et rideaux gonflables latéraux, des coussins gonflables en cas de renversement et des ceintures de sécurité à prétenueur.
Coussins gonflables avant : Le dispositif de coussin gonflable perfectionné NISSAN contribue à amortir le chic transmis au visage et au thorax du conducteur et du passager avant dans certains cas de collisions frontales.
Coussins gonflables lateraux (selon l'equipement du vehicule): Ce dispositif contribue à amortir le choc transmis au thorax du conducteur et du passager avant dans certains cas de collisions laterales. Les coussins gonflables lateraux du siège avant sont conçus pour se déployer du côte ou le vehicule subit la collision.
Rideaux gonflables latéraux et coussins gonflables en cas de renversement (selon l'équipement du vehicule): Ce dispositif contribue à amortir le choc transmis à la tête des occupants des sièges avant et latéraux arrrière
dans certains cas de collisions laterales et de renversement. Les rideaux gonflables lateraux sont concus pour se déployer du côté ou le vehicule subit la collision. En cas de renversement, les rideaux gonflables lateraux sont concus pour se déployer et rester gonflés pendant un court moment.
Ces dispositifs de retenue complémentaires sont concus pour compléter la protection fournie, en cas d'accident, par les ceintures de sécurité. Ils ne sont enaucun cas destinés àles remplacer.Les ceintures de sécurité doivent tous jours etre portéescorrectement.De plus,le conducteur doitetreassis aune distance appropriée du volant,et lui et le passager doivent se tenir suffisamment éloignés de la planche de bord et des moulures des portières.Consultez la section « Ceintures de sécurité » vue precedemment dans ce chapitre pour oblirer les directives d'utilisation et les précautions concernant les ceintures de sécurité.
Les coussins gonflables ne peuvent se déployer que si la clé de contact est à la position ON ou START.
Le témoin du coussin gonflable s'allume une fois la clé de contact tournée à la position ON. Si le dispositif est fonctionnel, le témoin du coussin gonflable s'éteint après environ sept secondes.


WRS0031
AVERAGEMENT
- En général, les coussins gonflables avant ne se déploient pas en cas de collision laterale ou arrêté, de capo-tage ou de collision frontale mineure. Bouclez toujours votre ceinture de sécurité afin de réduire les risques de blessures et la gravité de celles-ci en cas d'accident.
Le coussin gonflable du passager avant ne se déploie pas si le témoin de neutralisation du coussin gonflable du passager est allumé, ou si le siège du passager avant est inoccupé. Consultez la section « Coussin gonflable du passager avant et témoin de neutralisation » plus loin dans leprésent chapitre.
-
Les ceintures de sécurité et les coussins gonflables avant sont plus efficaces lorsque les occupants du vehicule sont assis bien droit au fond de leur siège. Les coussins gonflables avant se déploient avec beaucoup de force. Malgré le dispositif de coussin gonflable perfectionné NiSSAN, les risques de blessures graves ou mortelles en cas de collision sont plus grands si vous n'êtes pas attaché, étés penché en avant, assis de côté ou, de façon générale, mal assis. Le coussin gonflable avant peut également vous infliger des blessures graves, voir mortelles, si vous étés appuyé contre le module lorsqu'il se déploie. Assurez-vous d'avoir le dos bien appuyé contre le dossier de votre siège et de régler ce dernier aussi loin que possible du volant ou de la planche de bord, sans que cela neNUise à VOteur comfort ou à la conduite. Bouclez tous jours libre ceinture de sécurité.
-
Les boucles des ceintures de sécurité du conducteur et du passager avant sont munies de capteurs qui détectent le bouclage des ceintures de sécurité. En cas de collision, le dispositif perfectionné des coussins gonflables contrôle la force de la collision ainsi que l'utilisation des ceintures de sécurité et gonfle les coussins en conséquence. En cas d'accident, le port de la ceinture de sécurité peut réduire les risques de blessures ou la gravité de celles-ci.
-
Le siège du passager avant est muni d'un capteur de poids du passager (manocontacteur) qui permet de désactiver le coussin gonflable du passager avant dans certaines circonstances. Seul ce siège est muni d'un tel capteur. En cas d'accident, une bonne posture assise et le port de la ceinture de sécurité peutvent réduire les risques de blessures ou la gravité de celles-ci. Consultez la section « Coussin gonflable du passager avant et témoin de neutralisation » plus loin dans le present chapitre.
-
Tenez le volant par son pourtour extérieur. Si vous placez vos mains à l'intérieur du cercle du volant, vous courez un plus grand risque de vous bleisser en cas de déploiement de votre coussin gonflable.



AVERTISSEMENT
Assurez-vous que les enfants sont tous jours correctement retenus pendant que le vehicule roule et ne les laisses jamais partager les mains ou la tete par l'ouverture de la glace. Ne voyagez jamais en tenant un enfant sur vos genoux ou dans vos bras. Les illustrations donnent des exemples de positions dangereuses à ne pas adopter dans un vehicule en mouvement.




AVERTISSEMENT
- S'ils ne sont pas correctement retenus, les enfants peuvent subir des blessures graves, voir mortelles, au moment du déploiemment des coussins gonflables frontaux et lateraux, ou des rideaux gonflables lateraux de protection en cas de renversement. Dans la mesure du possible, les enfants de moins de 12 ans doivent être assis et correctement retenus sur le siège arrêté.


AVERAGEMENT
- Bien que ce vehicule soit muni du dispositif de coussin gonflable perfectionné NiSSAN, n'installé jamais sur le siege du passager avant un siege d'enfant orienté vers l'arrière. Un coussin gonflable qui se déploie peut infli ger à votre enfant des blessures graves, voire mortelles. Pour obtenir de plus amples renseignements, consultez la section « Dispositifs de retenue pour enfant » vue précédemment dans ce chapitre.

Ne vous appuyez pas contre la portière.
AVERAGEMENT
Coussins gonflables lateraux (selon l'equipement du vehicule) et rideaux gonflables lateraux et coussins gonflables en cas de renversement (selon l'equipement du vehicule):
- Le coussin gonflable létalé et le rideau gonflable létalé avec protection en cas de renversement ne se déploient habituèlement pas en cas de collision frontale, arrêté ou létale mineure. Bouclez toujours votre ceinture de sécurité afin de réduire les risques de blessures et la gravité de celles-ci en cas d'accident.

Ne vous appuyez pas contre les portières ou les glaces.

Ne vous appuyez pas contre les portières ou les glaces.

AVERTISSEMENT
- Les ceintures de sécurité, les coussins gonflables latéraux et les rideaux gonflables latéraux avec protection en cas de ren versement sont plus efficaces lorsqu'les occupants du vehicule sont aussi bien droits au fond de leur siège. Les coussins gonflables latéraux et les rideaux gonflables se déploient avec beaucoup de force. Ne laissez personne placer ses mains, ses jambes ou son visage à proximé d'un coussin gonflable latorial, c'est-à-dire sur le côté du dossier du siège avant ou pres des glissières latérales du toit. Ne permettez a peuer occupant assis à l'avant ou aux places latérales arrirée du vehicule de sortir la main par l'ouverture de la glace ni de s'appuyer contre les portières. Les illustrations precedentes donnent des exemples de positions dangereuses à éviter dans un vehicule en mouvement.

LRS0421

AVERTISSEMENT
-
Ne tenez pas le dossier du siège avant lorsque vous étés assis sur le siège arrrière. Vous pourriez être blessé gravement en cas de déplolement du cousin gonflable létal. Soyez particulièrement prudent lorsque vos passagers sont des enfants. Ceux-ci doivent être retenus correctement en tout temps. Les illustrations donnant des exemples de positions dangereuses à ne pas adopter dans un vehicule en mouvement.
-
N'installez pas de housses sur les dossiers des sièges avant. Elles pourraient entraver le déploiement des coussins gonflables latéraux.


- Modules des rideaux gonflables latéraux et des coussins gonflables en cas de renversement (selon l'équipement du vehicule)
- Rideaux gonflables lateraux et coussins gonflables en cas de renversement (selon l'équipement du vehicule)
- Unité de capteur de diagnostic
- Modules des coussins gonflables avant
- Capteur de zone de collision
- Module de commande du capteur depoids du passager
- Capteur de poids du passager (mano-contacteur)
- Capteurs périhériques
- Capteurs des bouches de ceinture de sécurité
- Enrouleur à prétendeur
- Modules des coussins gonflables latéraux (selon l'équipement du vehicule)
Dispositif de coussin gonflable perfectionné NISSAN (sièges avant)
Les sièges du conducteur et du passager avant sont équipés du dispositif de coussin gonflable perfectionné NiSSAN. Ce dispositif est concu pour respecter les exigences d'homologation fixées par la règlementation française. Il est
également autorisé au Canada. Toutefois, les renseignements, les mises en garde et les avertissements stipulés dans le present manuel s'appliquent toujours et doivent être respectés.
Le coussin gonflable avant du conducteur est situé au centre du volant. Le coussin gonflable avant du passager est monté dans la planche de bord, au-dessus de la boîte à gants. Les coussins gonflables avant sont concus pour se déployer en cas de collision frontale de forte intensité. Ils peuvent aussi se déployer si les forces provoquent par un autre type de collision s'assimilent à celles d'une collision frontale plus grave. Il est possible qu'ils ne se déploient pas pendant certains types de collisions frontales. Les dommages au vehicule (ou l'absence de dommages) ne constituent pas nécessairement un bon indice du fonctionnement des coussins gonflables avant.
Le dispositif de coussin gonflable perfectionné NiSSAN comporte des générateurs de gaz à double détente. Il surville les données émises par le capteur de zone de collision, l'unité du capteur de diagnostic, les capteurs des boucles des ceintures de sécurité, le capteur de poids du passager (manocontacteur) et le capteur de tension de la ceinture de sécurité du passager. Du côte du conducteur, l'activation du générateur de gaz est fonction de la gravité de la collision et de l'utilisation de la ceinture de sécurité. Pour le
passager avant, sont également pris en compte le poids du passager ou d'un objecteur placé sur le siège ainsi que la tension exercée sur la ceinture de sécurité. Selon l'information reçue par les capteurs, il est possible qu'un seul coussin gonflable avant se déploie en cas de collision. Une telle situation est fonction de la gravité de la collision et des occupants avant qui portent leur ceinture de sécurité. De plus, il est possible que le coussin gonflable du passager avant soit neutralisé automatiquement dans certaines situations, selon l'importance du poids détecté sur le siège du passager et la façon dont la ceinture est utilisée. Si le coussin gonflable du passager avant est désactiver, le témoin de neutralisation du coussin gonflable du passager est allumé (si le siège est inoccupé, le témoin est étéint, mais le coussin gonflable est désactiver). Pour obtenir de plus amples renseignements à ce sujet, consultez la section « Coussin gonflable du passager avant et témoin de neutralisation » plus loin dans ce chapitre. Le déploiement d'un seul coussin gonflable avant n'indique pas un mauvais fonctionnement du dispositif.
Veuillez communiquer avec NISSAN ou avec vo-. tre concessionnaire NISSAN si vous avez des questions concernant le dispositif de coussins gonflables de votre vehicule. Si, en raison d'un handicap physique, vous souhaitez faire modifier leur vehicule, veuillez communiquer avec NIS-
SAN. Les renseignements sur les personnes-ressources sont fournis au début du present Manuel du conducteur.
Le déploiement d'un coussin gonflable avant est accompagné d'un bruit fort, suivi d'une émission de fumée. Cette fumée n'est pas nocive et n'indique pas la présence d'un incendie. Il est cependant recommandé d'éviter de l'inhaler, car elle peut cause une irritation de la gorge ainsi qu'une sensation d'étouffement. Les personnes qui souffrent de problèmes respiratoires doivent respirer de l'air frais des que possible.
Les coussins gonflables avant, lorsqu'ils sont combinés au port des ceintures de sécurité, aident à amortir le chic transmis au visage et au thorax des occupants des sièges avant. Ils peuvent contributor à sauver des vies et à réduire les risques de blessures graves. Cependant, le déploiation d'un coussin gonflable avant peut cause des éraflures au visage ou d'autres blessures. Les coussins gonflables avant n'offrent aucune protection à la partie inférieure du corps.
Meme si votre vehicule est muni du dispositif de coussin gonflable perfectionné NISSAN, les ceintures de sécurité doivent toujours être portées correctement. De plus, le conducteur et le passager avant doivent être assis bien droit et aussi loin que possible du volant et de la planche de bord. Les coussins gonflables avant se dé
ploient rapidement pour protégér les occupants des sièges avant. L'occupant qui se trouve trop pres du module de coussin gonflable avant, ou encore qui est appuyé contre ce module, court de plus grands risques de blessures en raison de la force du déploiement.
Une fois déployés, les coussins gonflables avant se dégonflect rapidement.
Les coussins gonflables avant ne peuvent se déployer que si la clé de contact est à la position ON ou START.
Le témoin du coussin gonflable s'allume une fois la clé de contact tournée à la position ON. Si le dispositif est fonctionnel, le témoin du coussin gonflable s'eteint après environ sept secondes.

WRS0475
Coussin gonflable du passager avant et témoin de neutralisation
AVERAGEMENT
Le coussin gonflable du passager avant est concu pour se désactiver automatique dans certaines circonstances. Lisez attentivement la presente section pour comprendre le fonctionnement de ce dispositif. L'utilisation ajuste du siège, de la ceinture de sécurité et des disposits de retenue pour infant procure une protection plus efficace. En cas d'accident, le non-respect des consignes d'utilisation des sièges, des ceintures de sécurité et des disposits de retenue pour infant données dans le present manuel fait augmenter les risques de blessures ou la gravité de celles-ci.
Témoin de neutralisation
Le témoin de neutralisation du coussin gonflable du passager avant estitué pres des commandes de climatisation. Le témoin fonctionne comme suit :
Siège du passager inoccupé : Le témoin est étant et le coussin gonflable du passager avant est désactivé et ne se déploie pas en cas de collision.
-
Siège du passager occupe par un adulte de petite taille, un enfant ou un dispositif de retenue pour enfant tel que défin dans ce chapitre: Le témoin s'allume pour indiquer que le coussin gonflable du passager avant est désactivé et qu'il ne se déploiera pas en cas de collision.
-
Si le siège du passager est occupé et si le passager correspond aux critères définis dans ce chapitre, le témoin est étant pour indiquer que le coussin gonflable du passager avant est fonctionnel.
Coussin gonflable du passager avant
Le coussin gonflable du passager avant est concu pour se désactiver automatiquement lorsque le vehicule est utilisé dans les conditions décrites ci-après, conformément à la reglementation en vigueur aux États-Unis. Si le coussin gonflable du passager avant est neutralisé, il ne se déploiera pas en cas d'accident. Le coussin gonflable du conducteur et les autres coussins gonflables du vehicule ne font pas partie de ce dispositif.
La réglementation sur la désactivation du coussin gonflable a pour objet la réduction des blessures et des décès associés au déploiement de ces coussins lorsqu'un type de passager particulier occupe ce siège, par exemple un infant. Certains
capteurs sont conçus spécifique en réponse à cette réglementation.
Un de ces capteurs est le capteur de poids du passager (manocontacteur). Ce capteur est logé sous le coussin du siège du passager avant et permet de détecter la présence d'un occupant ou d'un objetquelconque selon le signal de poids reçu. Il fonctionne de pair avec les capteurs de tension de ceinture décrits plus loin. Par exemple, si un enfant est assis sur le siège du passager avant, le dispositif de coussin gonflable perfectionné est concu pour désactiver le coussin gonflable du passager avant, conformément à la réglementation en vigueur. De plus, si le siège du passager accueille un dispositif de retenue pour enfant conforme à la réglementation, le capteur détecte le poids de ce dispositif ainsi que celui de l'enfant, ce qui provoque la neutralisation du coussin gonflable. Le fonctionnement du capteur de poids du passager est fonction des capteurs de tension de ceinture de sécurité du passager avant.
Les capteurs de tension de la ceinture de sécurité du passager avant peuvent détecter le bouclage de la ceinture et la tension appliquée sur la ceinture, lorsque la ceinture est en mode de blocage automatique (mode de dispositif de retenue pour enfant) par exemple. Le dispositif de coussin gonflable perfectionné détermine alors, en fonction du poids détecté par le capteur de
poids du passager et de la tension exercée sur la ceinture, si le coussin gonflable du passager avant doit être automatiquement désactiver conformément aux règlements.
Les adults qui s'assoient sur le siège du passagger avant et qui utilisent leur ceinture de la façon indiquée dans leprésent manuel ne devraient pas provoquer la neutralisation automatique du cousin gonflable du passager avant. Il peut être dé-sactivé pour les adults de petite taille; toutefois, si l'occupant réussit à soustraire son poids du cousin de siège, en adoptant par exemple une position deviant de la verticale, en s'assoyant sur le rebord du siège ou dans toute autre position inappropriée, le capteur peut désactiver le cousin gonflable. Ce serait également le cas si la ceinture de sécurité était incorrectement utilisée en mode de blocage automatique (mode de dispositif de retenue pour infant). Assurez-vous toujours d'être bien assis et de porter la ceinture de sécurité de façon ajuste afin de bénéficier de toute la protection offerte par la ceinture de sécurité et le cousin gonflable.
NISSAN you recommend de faire asseoir les enfants de moins de 12 ans à l'arrière et de veiller à ce qu'ils soient bien retenus. NISSAN recommende également l'utilisation d'un dispositif de retenue pour infant ou d'un rehauser au déquats et correctement installés sur un siège arrêté. Sinon, le capteur de poids du passager et les
capteurs des ceintures de sécurité désactiver le coussin gonflable du passager avant, comme il est indiqué précédemment, pour certains dispositifs de retenue pour enfant conformément aux règlements. Si le dispositif de retenue pour enfant n'est pas fixé ou si le mode de blocage automatique de la ceinture de sécurité (mode de dispositif de retenue pour enfant) n'est pas utilisé adequatement, le dispositif de retenue pour enfant pourrait se renverser ou se déplacer en cas d'accident ou d'un arrêt brusque. Une telle utilisation pourrait également provoquer le déploiement nonprogramme du coussin gonflable du passager avant. Consultez la section « Dispositifs de retenue pour enfant » vue précédemment dans ce chapitre pour obtenir les directives d'installation et d'utilisation.
Si le siège du passager avant est inoccupé, le coussin gonflable du passager est concu pour ne pas se déployer en cas de collision. Toutefois, si des objets assez lourds se trouvent sur le siège, le coussin gonflable peut se déployer en cas de collision, puisque le capteur de poids du passager détecte le poids des objets. D'autres éléments pourraient également déclencher le déploiation du coussin gonflable, tels qu'un infant se tenant debout sur le siège, ou deux enfants occupant ce même siège, ce qui serait contraire aux directives figurant dans ce manuel. Assurez-
vous que tous les occupants du vehicule sont correctement assis et que les ceintures de sécurité sont bien bouclées.
Le témoin de neutralisation du coussin gonflable du passager permet de vérifier si le coussin gonflable du passager avant est automatiquement désactivé lorsque le siège est occupé. Le témoin ne s'allume pas lorsque le siège du passager avant est inoccupé.
Si un adulte occupe le siège du passager avant et que le témoin de neutralisation du coussin gonflable du passager est allumé (ce qui indique que le coussin gonflable est neutralisé), il s'agit probabilité d'unadulte de petite taille, ou d'unadulte n'était pas correctement assis ou ne portant pas ajustement sa ceinture de sécurité.
Si un dispositif de retenue pour enfant doit etre utilise sur le siège avant, le témoin de neutralisation du coussin gonfable du passager peut s'allumer ou non en fonction de la taille de l'enfant et du type de dispositif de retenue pour enfant utilise. Si le témoin de neutralisation du coussin gonfable du passager est eteint (ce qui indique que le coussin gonfable peut se déployer en cas de collision), le dispositif de retenue pour enfant ou la ceinture de sécurité est peut-etre incorre c tement utilisé. Assurez-vous que le dispositif de retenue pour enfant est bien installé, que la ceinture de sécurité est correctement place et que
l'enfant est bien assis. Si le témoin de neutralisation du coussin gonflable du passager est étéint, installez l'enfant ou le dispositif de retenue pour enfant sur le siège arrière.
Si le témoin de neutralisation du coussin gonflable du passager demeure éteint même si le dispositif de retenue pour infant est bien installé, que la ceinture de sécurité est correctement placée et que l'enfant est bien assis, le système pourrait détecter un siège inoccupé, ce qui signifié que le coussin gonflable est désactivé. Notre concessionnaire NISSAN peut vérifier si le coussin gonflable est bien désactivé au moyen d'un outil spécial. Toutefois, jusqu'à ce que votre concessionnaire vous confirme que le coussin gonflable fonctionne correctement, installez l'enfant ou le dispositif de retenue pour infant sur le siège arrière.
Le système des coussins gonflables et le témoin de neutralisation du coussin gonflable du passagger exigent quelques secondes pour noter le changement de l'etat du siège du passager. Par exemple, si un adulte imposant qui occupe le siège du passager avant quitter le vehicule, le témoin de neutralisation du coussin gonflable du passager s'allume pendant quelques secondes, puis s'éteint. Il s'agit d'une situation normale qui ne revèle pas une défaillance.
Si le dispositif de coussin gonflable du passager avant presente une anomalie, le témoin du coussin gonflable , situé au centre du tableau de bord, clignote. Rendez-vous chez un concessionnaire NISSAN pour faire vérifier le dispositif.
Autres précautions concernant les cousins gonflables avant
A VERTISSEMENT
- Ne déposez pas d'objets sur le rembourse du volant ou sur la planche de bord. Ne placez pas non plus d'objets entre les occupants et le volant ou la planche de bord. De tels objets pouraient devenir de dangereux projectiles et cause des blessures en cas de déplolement du coussin gonflable avant.
-
Plusieurs éléments des coussins gonflables avant seront chauds tout de suite après le déploiement des cousins. N'y touche pas; vous pourriez vous infilger des brûlures graves.
-
Aucune modification non approuvée ne doit être apportée aux composants ou au câblage des coussins gonflables. Ceci visse à empêcher que les coussins gonflables ne se déploient de façon inopinée ou que le dispositif ne soit endommagé.
- N'apportez aucune modification non autorisée au circuit électrique, à la suspension ou à la structure avant de votre vehicule. De telles modifications pourraient nuire au fonctionnement du dispositif de coussins gonflables avant.
-
Toute altilation des coussins gonflables avant peut entrainer des blessures graves. Ces alterations comprehennt les modifications apportees au volant et a la planche de bord, notamment l'installation d'equipement ou d'accessoires sur le rembourse du volant et sur la planche de bord, ou encore l'ajout de garnitures supplémentaires autour des coussins gonflables.
-
La modification ou l'alteration du siège du passager avant peut entrainer des blessures graves. Par exemple, ne modifiez pas les sièges avant en ajoutant du tissu ou des garnitures sur le cousin, telles des housses, si ces éléments n'ont pas été concus spécialément pour permettre le fonctionnement du cousin gonflable. De plus, ne place aucun objet sous le siège du passager avant ou entre l'assise du siège et le dossier. Ces objets peuvent nuir au fonctionnement du capteur de poids du passager (manocontacteur).
-
Aucune modification non approuvée ne doit être apportée aux composants ou au câblage des ceintures de sécurité. De telles modifications pourraient nuire au fonctionnement du dispositif de coussins gonflables. L'alteration des ceintures de sécurité peut entraîner des blessures graves.
-
Toute intervention sur les coussins gonflables avant ou à proximé de ceux-ci doit être effectuee par un concessionnaire NiSSAN. L'installation de tout équipement électrique doit également etreffectuee par un concessionnaire NiSSAN. Le cablage du dispositif de protection complémentaire (SRS) ne doit etre ni modifie, ni débranché. Le dispositif de coussins gonflables ne doit pas etre examé au moyen de sondes ou d'instruments d'essai électrique non autorisés.
- Un pare-brise fissure doit être remplaced dans les plus brefs déliés dans un atelier de réparation qualifié. Un pare-brise fissure peut nuir au fonctionnement des coussins gonflables.
- Les connecteurs du faisceau électrique du dispositif de protection complémentaire (SRS) sont facilement identifiables par leurs couleurs jaune et orange.
Si vous revendeziez your vehicule, nous you demandons d'informer l'acheteur de la presence du dispositif de coussins gonflables avant et de lui indiquer les chapitres s'y rapportant dans le present manuel du conducteur.

Dispositif de coussins gonflables lateraux, de rideaux gonflables lateraux et de coussins gonflables de protection en cas de renversement (selon l'equipement du vehicule)
Les coussins gonflables latéraux sont situés dans la partie latorale externe du dossier des sièges avant. Les rideaux gonflables latéraux et les coussins gonflables en cas de renversement sont situés dans les longerons du toit. Ils ont été concus pour répondre aux directives facultatives visant à réduire les risques de blessures aux occupants mal assis. Toutefois, les renseignements, les mises en garde et les aver
tissements stipulés dans leprésent manuel s'appliquent toujours et doivent être respectés. Les coussins et les rideaux gonflables latéraux et les coussins gonflables en cas de renversement sont concus pour se déployer en cas de collision latorale de forte intensité. Leur déploiemment est toutefois possible si les forces provoquées par un autre type de collision s'assimilant à celles d'une collision latorale grave. Ils sont concus pour se déployer du côte où le vehicule subit la collision. Il est possible qu'ils ne se déployent pas dans certains types de collisions latérales.
Les rideaux gonflables latéraux et les coussins gonflables en cas de renversement sont également concus pour se déployer pendant certains types de collisions avec renversement ou dans certaines situations de renversement imminent.
Les dommages au vehicule (ou l'absence de dommages) ne constituent pas nécessairement un indice du bon fonctionnement des coussins ou rideaux gonflables lateraux, et des coussins gonflables en cas de renversement.
Le déploiation d'un des coussins ou rideaux gonflables latéraux est accomplé d'un bruit puissant, suivi d'une émission de fumée. Cette fumée n'est pas nocive et n'indique pas la présence d'un incendie. Il est cependant recommandé d'éviter de l'inhaler, car elle peut cause
une irritation de la gorge ainsi qu'une sensation d'étouffement. Les personnes qui souffrent de problèmes respiratoires doivent respirer de l'air frais dans que possible.
Les coussins gonflables latéraux, lorsqu'ils sont combinés au port des ceintures de sécurité, aident à amortir le choc transmis au thorax des occupants des sièges avant. Les rideaux gonflables latéraux et les coussins gonflables en cas de renversement aident à amortir le choc transmis à la tête des occupants des sièges extérieurs avant et arrrière. Ils peuvent contribuer à sauver des vies et à réduire les risques de blessures graves. Cependant, le déploiation d'un coussin ou d'un rideau gonflable lésial peut cause des éraflures ou d'autres types de blessures. Les coussins et rideaux gonflables latéraux, et les coussins gonflables en cas de renversement n'offrent aucune protection à la partie inférieure du corps.
Les ceintures de sécurité doivent etre portees correctement.De plus,le conducteur et le passager avant doit etre assis bien droit et aussi loin que possible des coussins gonflables lateraux.Les passagers des sièges arrière doivent etre assis aussi loin que possible des moulures des portieres et des longerons de toit. Les coussins et rideaux gonflables lateraux,ainsi que les coussins gonflables de protection en cas de renversements, se déploient rapidement pour proteger les occupants du vehicule.De ce fait,le
risque de blessures occasionnées par la force du déploiation des coussins et des rideaux gonflables lateraux peut être accru si l'occupant du siège se trouve trop pres de ces modules ou encore s'il est appuyé contre ces modules au moment du déploiation. Les coussins gonflables lateraux se dégonfrent rapidement après la collision.
Cependant, les rideaux gonflables lateraux et les coussins gonflables en cas de renversement demeurent gonflés pendant un court moment.
Les coussins et les rideaux gonflables latéraux et les coussins gonflables en cas de renversement ne peuvent se déployer que lorsque la clé de contact est à la position ON ou START.
Le témoin du coussin gonflable s'allume une fois la clé de contact tournée à la position ON. Si le dispositif est fonctionnel, le témoin du coussin gonflable s'eteint après environ sept secondes.

AVERTISSEMENT
- Ne déposez aucun objet pris des dossiers des sièges avant. Ne place pas non plus d'objets (parapluié, sac, etc.) entre la garniture de la portière avant et le siège avant. De tels objets pouraient devenir de dangereux projectiles et causer des blessures en cas de déploiement du coussin gonflable lésral.
- Plusieurs éléments du dispositif des coussins et rideaux gonflables latéraux, et des coussins gonflables en cas de renversement seront chauds tout de suite après le déploiement des coussins et des rideaux. N'y touche pas; vous pourriez vous inflige des brûlures graves.
-
Aucune modification non approuvée ne doit être apportée aux composants ou au câblage des coussins gonflables latéraux et des rideaux gonflables. Ceci vise à empêcher que les coussins et rideaux gonflables latéraux ne se déploient de façon inopinée, ou que les dispositifs ne soient endommages.
-
N'apportez aucune modification non autorisée au circuit électrique, à la suspension ou aux panneaux lateraux de votre vehicule. De telles modifications pourraient nuire au fonctionnement du dispositif de rideaux gonflables lateraux.
- L'alteration des coussins gonflables lateraux peut entrainer des blessures graves. Par exemple, n'installez pas d'accessoires à proximate du dossier des sièges avant ou des garnitures supplémentaires, telles que des housses de sièges, autour des coussins gonflables latéraux.
-
Seul un concessionnaire NISSAN peut effectuer une intervention sur les rideaux gonflables ou à proximé de ce dispositif. L'installation de tout équipement électrique doit également être effectué par un concessionnaire NISSAN. Les faisceaux de cablage du dispositif de protection complémentaire* (SRS) ne doivent être ni modifiés, ni débranchés. Les coussins gonflables latéraux et les rideaux gonflables ne devraient pas été exposés à des son-des ou à des instruments d'essai électrique non autorisés.
-
Les connecteurs du faisceau électrique du dispositif de protection complémentaire (SRS) sont facilement identifiables par leurs couleurs jaune et orange.
Si vous revendez votre vehicule, nous vous demandons d'informer l'acheteur de la presence des dispositifs de coussins et de rideaux gonflables lateraux, et de lui indiquer les chapitres s'y rapportant dans le present Manuel du conducteur.
Ceintures de sécurité à prétendeur (sièges avant)

AVENTISSEMENT
- Une ceinture de sécurité à prétenueur activée ne peut pas être réutilisée. Elle doit être remplaçée au complet, y compris l'enrouleur et la boucle.
-
Si le vehicule est impliqué dans une collision frontale et si le pretendeur de ceinture de sécurité ne s'est pas activé, faites vérifier le pretendeur et, s'il y a lieu, faites-le replacer chez votre concessionnaire NISSAN.
-
Aucune modification non approuvée ne doit être apportée aux composants ou au câblage des ceintures de sécurité à prétendeur. Ceci vise à empêcher que les ceintures de sécurité à prétendeur ne soient activées de façon inopinée ou que leur dispositif ne soit endommagé. L'alteration du dispositif des ceintures de sécurité à prétendeur peut entrainer des blessures graves.
-
Toute intervention sur les prétendeurs de ceinture de sécurité ou à proximité de ceux-ci doit être confiée à un concessionnaire NISSAN. L'installation de tout équipement électrique doit également être effectuee par un concessionnaire NISSAN. Le dispositif des ceintures de sécurité à prétendeur ne devrait pas etre examé au moyen de sondes ou d'instruments d'essai electrique non autorisés.
-
Si vous devezmettre au rebut un pretendeur de ceinture de sécurité ou envoyer le vehicule à la ferraille, adressez-vous à un concessionnaire NiSSAN. Les méthodes correctes de mise au rebut d'un pretendeur de ceinture de sécurité sont indiquées dans le manuel de réparation NiSSAN approprié. L'application d'une méthode incorrecte de mise au rebut peut cause des blessures.
Les ceintures de sécurité à prétenée des sièges avant s'activent en même temps que les coussins et rideaux gonflables avant. Utilisées conjointement avec l'enrouleur, elles se tendent lorsque le vehicule subit certains types de collisions et aident ainsi à retenir les passagers des sièges avant.
Le pretendeur est intégré au boitier de l'enrouleur de la ceinture de sécurité. Ces ceintures de sécurité sont utilisées de la même façon que les ceintures classiques.
Lorsque la ceinture de sécurité à prétenueur se déclenché, de la fumée est produit et un bruit puissant peut se faire entendre. Cette fumée n'est pas nocive et n'indique pas la présence d'un incendie. Il est cependant recommendé d'éviter de l'inhaler, car elle peut cause une irritation de la gorge ainsi qu'une sensation
d'étouffement. Les personnes qui souffrent de problèmes respiratoires doivent respirer de l'air frais dus que possible.
À la suite du déclenchement des pretendeurs de ceinture de sécurité, les limiteurs de force librent la sangle de ceinture, s'il y a lieu, afin de réduire la pression exercée sur le thorax.
Lorsque la clé de contact est tournée à la position ON ou START, le tímoin du coussin gonflable ne s'allume pas, clignote par intermittence ou s'allume pendant sept secondes et demeure allumé si une anomalie est détectée dans le dispositif des prétendeurs. Dans un tel cas, les ceintures de sécurité à prétendeur pourraient ne pas fonctionner correctement. Elles doivent être vérifiées et réparées. Confiez votre vehicule au concessionnaire NISSAN le plus proche.
Si vous revendez votre vehicule, nous vous demandons d'informer l'acheteur de la presence des ceintures de sécurité à prétenueur et de lui indiquer les chapitres s'y rapportant dans le present Manuel du conducteur.

- Étiquettes d'ajretissement concernant les coussins gonflables
Les étiquettes d'ajretissement sont situées sur les pare-soleil. - Étiquette d'ajretissement concernant les coussins gonflables latéraux (selon l'équipement du vehicule)
L'étiquette d'avertissement est apposée sur le pied milieu du côte passager.
ÉTIQUETTES D'AVERTISSEMENT CONCERNANT LES COUSSINS GONFLABLES
Des étiquettes d'ajretissement à propos des coussins gonflables avant, des coussins gonflables latéraux et des coussins gonflables en cas de renversement sont apposées dans le vehicule aux endroits illustrés.

LRS0100
TÉMOIN DU COUSSIN GONFLABLE
Le témoin du coussin gonflable, dénoté par le pictogramme sur le tableau de bord, signale l'etat des circuits des coussins gonflables avant, des coussins gonflables latéraux, des rideaux gonflables latéraux, des coussins gonflables en cas de renversement, de même que des ceintures de sécurité à prétenueur. Les circuits dont l'etat est contrôle par le témoin du coussin gonflable sont les capteurs de diagnostic, le capteur de zone de collision, les capteurs périphériques, le capteur de renversement, les modules des coussins gonflables frontaux et latéraux, les
modules des rideaux gonflables, les ceintures de sécurité à prétenueur de même que tout le cablage connexe.
Lorsque la clé de contact est tournée à la position ON ou START, le tímein du coussin gonflable s'allume pendant environ sept secondes, puis s'éteint. Ceci indique que le dispositif est fonctionnel.
Les dispositifs des coussins gonflables frontaux, des coussins gonflables lateraux, des rideaux gonflables et des ceintures de sécurité à prétendeur doivent être vérifiés et réparés si l'une des situations suivantes se produit :
- Le témoin du coussin gonflable reste allumé après la période initiale d'environ sept secondes.
- Le témoin du coussin gonflable clignote par intermittence.
Le témoin du coussin gonflable ne s'allume pas du tout.
La présence d'une de ces situations peut promètre le fonctionnement des coussins gonflables frontaux et lateraux, des rideaux gonflables lateraux et des ceintures de sécurité à prétendeur. Faites vérifier et réparer ces dispositifs. Confiez votre vehicule au concessionnaire NISSAN le plus proche.
A VERTISSEMENT
L'activation du témoin des coussins gonflables peut indiquer que les dispositifs des coussins gonflables frontaux et latéraux, des rideaux gonflables ou des ceintures de sécurité à prétendreur ne fonctionneront pas en cas d'accident. Pour prévenir les blessures potentielles aux occupants, confiez votre vehicule dés que possible à un concessionnaire NISSAN.
Méthode de réparation et de remplacement
Les coussins gonflables frontaux et lateraux, les rideaux gonflables lateraux et les ceintures de sécurité à prétenueur sont concus pour n'être activés qu'une seule fois. En guise de rappel, à moins qu'il ne soit endommagé, le témoin du coussin gonflable reste allumé après l'activation de l'un ou l'autre de ces dispositifs. La réparation et le remplacement d'un des éléments du dispositif de coussin gonflable ne doivent être confiés qu'à un concessionnaire NISSAN.
Assurez-vous que la personne chargee d'effectuer un entretien sur le vehicule est informee de la presence de coussins gonflables frontaux ou lateraux, de rideaux gonflables lateraux, de ceintures de sécurité a pretender et de pipees connexes a ces dispositifs. La clé de contact
doit toujours être à la position LOCK pendant toute intervention effectue dans le组成部分 moteur ou dans l'habitacle.
AVERAGEMENT
-
Une fois qu'un coussin gonflable frontal, un coussin gonflable latéral ou un rideau gonflable s'est déployé, le module de coussin gonflable ne fonctionne plus et doit être replacé. De plus, si l'un des coussins gonflables avant se déploie, les ceintures de sécurité à prétenée activées doivent également être replacées. Le module de coussin gonflable et le dispositif des ceintures de sécurité à prétenée doit être replacés par un concessionnaire NiSSAN. Le module de coussin gonflable et le dispositif des ceintures de sécurité à prétenée ne peuvent être réparés.
-
En présence de dommages à la partie avant ouLTRale du vehicule,les coussins gonflables frontaux et lateraux ainsi que les rideaux gonflables et le dispositif de ceintures de sécurité à pretendeur doivent faire l'objet d'une inspection par un concessionnaire NISSAN.
-
Si vous doivent accuer un cousin gonflable ou un pretendeur de ceinture de sécurité, ou envoyer le vehicule à la ferraille, adressez-vous à un concessionnaire NISSAN. Les méthodes correctes de mise au rebut d'un coussin gonflable et d'un pretendeur de ceinture de sécurité sont indiquées dans le manuel de réparation NISSAN approprié. L'application d'une méthode incorre cte de mise au rebut peut cause des blessures.
2 Commandes et instruments
Planche de bord. 2-4
Instruments et indicateurs de bord. 2-6
Indicateur de vitesse et compteur
kilométrique. 2-7
Ordinateur de bord
(selon l'équipement du vehicule) 2-8
Compte-tours 2-9
Indicateur de température du liquide de
refroidissement. 2-10
Jauge de carburant 2-10
Manometre de pression d'huile moteur
(selon l'équipement du vehicule) 2-11
Voltmetre (selon l'équipment du vehicule) 2-12
Affichage de la température extérieure et de la
boussole (selon l'équipement du vehicule). 2-12
Affichage de la température extérieure 2-13
Affichage de la boussole 2-13
Témoins et rappels sonores. 2-16
Vérification des ampôules 2-17
Témoins 2-17
Témoins 2-22
Rappels sonores 2-27
Systèmes de sécurité
(selon l'équipment du vehicule) 2-28
Dispositif de sécurité du vehicule
(selon l'equipement du vehicule) 2-28
Dispositif antidémarrage du vehicule
NISSAN (sonl'équipement du vehicule) 2-29
Commande de lave-glace et d'essuie-glaces de
pare-brise 2-31
Fonctionnement du commutateur 2-31
Interrupteur de dégivrage de lunette arrêté et de
rétrouviseur extérieur (selon l'équipement du
vehicule) 2-32
Interrupteur des phares et des clignotants. 2-32
Interrupteur des phares 2-32
Phares de jour (Canada seulement). 2-35
Commande de luminosité de l'éclairage de
la planche de bord. 2-35
Commutateur des phares antibrouillard
(selon l'equipement du vehicule) 2-36
Interrupteur des feu de détresse. 2-37
Avertisseur sonore. 2-37
Interrupteur d'éclairage de l'aire de chargement. 2-38
Siège chauffant (selon l'équipement du vehicule). 2-38
Interrupteur du dispositif de contrôle dynamique du vehicule (VDC) (selon l'équipement du vehicule) 2-39
Interrupteur du dispositif d'assistance en descente (HDC) (selon l'équipement du vehicule). 2-40
Interrupteur du dispositif E-Lock (verrouillage électronique du différentiel arrêté) (selon l'équipement du vehicule) 2-41
Contacteur de position de la pédale d'embrayage (selon l'équipement du vehicule) 2-43
Prise d'alimentation 2-44
Rangement 2-45
Plateaux de rangement 2-45
Bacs de rangement sous le siege 2-47
Range-lunettes de soleil (selon l'équipement du vehicule) 2-49
Vide-poches 2-49
Vide-poches de siège (selon l'équipement du vehicule) 2-50
Portetasses 2-51
Porte-bagages (selon l'équipement du vehicule) 2-53
Glaces 2-54
Glaces électriques (selon l'équipement du vehicule) 2-54
Glaces manuelles 2-57
Glace coulissante arriere (selon l'equipement du vehicule) 2-57
Toit ouvrant (selon l'équipment du vehicule) 2-57
Toit ouvrant automatique 2-57
Éclairage interieur 2-59
Lampes individuelles (selon l'equipement du vehicule) 2-60
Lampes de lecture (selon l'équipment du vehicule) .2-61
Télécommande universelle HomeLinkMD
(selon l'équipement du vehicule) 2-61
Programmation de la télécommande
universalHomeLinkMD 2-62
Programmation de la télécommande
HomeLinkMD pour le Canada 2-63
Utilisation de la télécommande universelle HomeLinkMD 2-63
Diagnostic des problèmes de
programmation. 2-63
Suppression de la programmation des touches HomeLink ^MD 2-64
Reprogramming d'une seule touche
HomeLinkMD 2-64
Si voiture vehicule est volé 2-64

- Aérateurs (p. 4-2)
- Commutateur des phares, phares antibrouillard (selon l'equipement du vehicule) et clignotants (p. 2-32)
- Commande de volant de la chaîne audio (selon l'équipement du vehicule) (p. 4-29)
- Coussin gonflable avant du côte conducteur, avertisseur sonore (p.1-57, p. 2-37)
- Instruments, jauges et témoins (p. 2-6,p 2-16)
- Commande principale et de réglage du régulateur de vitesse (selon l'équipement du vehicule) (p. 5-21)
- Commande de lave-glace et d'essuie-glace de pare-brise (p. 2-31)
- Rangement (p. 2-45)
- Commandes de la chaîne stéreo (selon l'équipement du vehicule) (p.4-11)
- Coussin gonflable avant du côte passager (p. 1-57)
- Boite à gants supérieure et inférieure (p. 2-48)
-
Prise d'alimentation (p. 2-44)
-
Interrupteur du dispositif E-Lock (verrouillage electronic du différentiel arrière) (selon l'equipement du vehicule) (p. 2-41) Contacteurs de siège chauffant (selon l'équipement du vehicule) (p. 2-38) Interrupteur du dispositif d'assistance en descente (HDC) (selon l'équipement du vehicule) (p. 2-40) Interrupteur du dispositif de contrôle dynamique du vehicule (VDC) (selon l'équipement du vehicule) (p. 2-39)
- Levier sélecteur (p. 5-13)
- Interrupteur de passage en mode 4 roues motrices (selon l'equipement du vehicule) (p. 5-25)
- Commandes de climatisation (p. 4-2)
- Témoin de neutralisation du coussin gonflable du passager (p. 1-67)
- Interrupteur des faux de détresse (p. 2-37)
- Contacteur d'allumage (p. 5-10)
- Commande du volant de direction inclinable (selon l'equipement du vehicule) (p. 3-11)
-
Interrupteur d'éclairage de l'aire de chargement (p. 2-38)
-
Contacteur de position de la pedale d'embrayage (selon l'équipement du vehicule) (p. 2-43)
- Commandes des rétroviseurs extérieurs (selon l'équipement du vehicule) (p.3-14)
INSTRUMENTS ET INDICATEURS DE BORD

- Témoins d'avertissement ou de fonctionnement
- Compte-tours
- Indicateur de vitesse
-
Jauge de carburant
-
Voltmère (selon l'équipement du vehicule)
-
Compteur kilométrique, compteur journalier double, ordinateur de bord (selon l'équipement du vehicule)
-
Manomètre de pression d'huile moteur (selon l'équipement du vehicule)
- Indicateur de température du liquide de refroidissement

- Indicateur de vitesse
- Affichage du compteur kilométrique, compteur journalier double
- Touche de modification
COMPTEUR KILOMÉTRIQUE
Indicateur de vitesse
L'indicateur de vitesse affiche la vitesse du vehicule en kilometres à l'heure (km/h) et en milles à l'heure (mi/h).
Compteur kilométrique et compteur journalier double
Le compteur kilométrique et le compteur journalier double s'affichent lorsque le contacteur d'allumage est à la position ON.
Le compteur kilométrique indique la distance totale parcourue par le vehicule.
Le compteur journalier double permet d'enregistrer la distance parcourue au cours de voyages individuels.

Avec compteur journalier double Modification de l'affichage
Si vous véchicule est muni d'un compteur journalier double, enforcez le bouton de changement de mode pour afficher les modes suivants :
Trajet A Trajet B Trajet A

Avec l'ordinateur de bord
Si votre vehicule est muni d'un ordinateur de bord, enforcez le bouton de changement de mode pour afficher les modes suivants:
Trajet A Trajet B Autonomie de carburant Vitesse moyenne Consommation moyenne de carburant Temps du trajet Trajet A
Pour obtenir de plus amples renseignements, reportez-vous à la section « Ordinateur de bord », plus loin dans ce chapitre.
Réinitialisation du compteur journalier
Pour réinitialiser le compteur journalier, enforcez la touche de modification pendant plus d'une seconde.
ORDINATEUR DE BORD (selon l'équipement du vehicule)
L'information relative à l'ordinaireur de bord apparait à l'affichage de l'indicateur de vitesse. L'affichage indique tous les modes de l'ordinaireur de bord successivement lorsque le contacteur d'allumage est tourné à la position ON, puis indique le mode choisi avant que le contacteur ne soit tourné à la position OFF.
Une fois le contact établi, vous pouvez seLECTIONner l'un des modes de l'ordinateur de bord en appuyant sur le bouton de changement de mode de l'ordinateur de bord. Vous pouvez désirier parmi les modes suivants :
Autonomie de carburant (DTE - en kilomètres ou en milles)
Le mode Autonomie (DTE) évalue la distance pouvant être parcourue avant qu'un ravitationnement ne soit nécessaire. L'autonomie de carburant fait l'objet de calculs constants, qui se basent sur la quantité de carburant présente dans le réserveit et la consommation de carburant en cours.
L'affichage est mis a jour toutes les 30 secondes.
Le mode Autonomie (DTE) comprend un averiss-. seur de faible autonomie. Lorsque le niveau de carburant est bas, le mode DTE est automatique-. ment selectionné et les chiffres clignotent pour attirer l'attention du conducteur. Pour returner au mode selectionné avant que cet averissement ne s'affiche, appuyez sur le bouton de changement de mode. L'advertissement du mode DTE continue de clignoter jusqu'à ce que du carburant soit ajoute dans le réservoir du vehicule.
Lorsque le niveau de carburant chute encore plus bas, le mode d'autonomie de carburant affiche la mention « (----) »
NOTA :
- La distance évaluée par le mode d'autonomie de carburant peut demeurer affichée après le ravitallement si la quantité de carburant qui a été ajoutée pendant que le contact était coupé est peu importante.
- L'information affichée par le mode d'autonomie de carburant peut changer lorsqu vous prenez des virages ou que vous gravissez des pentes, puisque le carburant présente dans le réserveir se déplace.
Vitesse moyenne (km/h ou mi/h)
Le mode de vitesse moyenne indique la vitesse moyenne du vehicule depuis la derniere réinitialisation. Pour réinitialiser cette information, enforcez le bouton de changement de mode pendant plus d'une seconde. L'affichage est mis à jour toutes les 30 secondes. La mention (----) s'affiche pendant les 30 premières secondes suivant une réinitialisation.
Consommation moyenne de carburant (L/100 km ou mi/gal.)
Le mode de consommation moyenne de carburant indique la consommation moyenne depuis la derniere réinitialisation. Pour réinitialiser cette information, enforcez le bouton de changement de mode pendant plus d'une seconde. L'affichage est mis à jour toutes les 30 secondes. À la suite d'une réinitialisation, la mention « (----) » s'affiche pendant environ les 500 premiers metres (1/3 mi).
Temps du trajet
Le mode de temps du trajet indique le temps écoué depuis la dernière réinitialisation. Pour réinitialiser le temps écoué, enforcez le bouton de changement de mode pendant plus d'une seconde.
Réinitialisation de l'ordinateur de bord
Enforcez le bouton de changement de modependant plus de trois secondes pour réinitialisertous les modes sauf pour le trajet A etl'autonomie de carburant.

LIC0738
COMPTE-TOURS
Le compte-tours indique le régime du moteur en tours par minute (tr/min). Ne laïsez pas le régime du moteur passer dans la plage rouge ①.

MISE EN GARDE
Lorsque l'aiguille du compte-tours (ré-gime du moteur) s'approche de la zone rouge, passez à un rapport supérieur. Vous pouvez causer de graves dommages au moteur si vous persistez à le faire tourner lorsque l'aiguille se trouve dans la zone rouge.

LIC0739
INDICATEUR DE TEMPERATURE DU LIQUIDE DE REFROIDISSEMENT
Cet indicateur affiche la température du liquide de refroidissement du moteur. La température du liquide de refroidissement est dans la plage normale lorsque l'aiguille de l'indicateur se trouve dans la zone indiquée ①.
La température du liquide de refroidissement est fonction de la température extérieure et des conditions de conduite.
AMISE EN GARDE
Si l'aiguille de l'indicateur de température du liquide de refroidissement se rapproche de la zone chaude (H) au bout de la plage normale, ralentissez afin de permettre au liquide de refroidir. Si l'aiguille de l'indicateur dépasse la plage normale, arrêtez le vehiculeès qu'il est possible et sécuritaire de le faire. Si vous continuez de rouler alors que le moteur surchauffe, vous risquez d'endommager gravement le moteur. Pour obtenir de plus amples renseignements sur les mesures à prendre immédiatement, consultez la section « Si le moteur surchauffe » du chapitre « En cas d'urgence » duprésent manuel.

LIC0740
JAUGE DE CARBURANT
LaJAuge de carburant indique le niveaoproximatif de carburant dans le réservoir.
Les freinages, les virages, les accélérations ainsi que la conduite dans une pente peuvent faire bouger légèrement l'iguille de la jauge.
L'aiguille de la jauge descend jusqu'au repere E (vide) lorsque la clé de contact est tournée à la position OFF.
Le témoin de bas niveau de carburant s'allume lorsque le réservoir ne contient plus qu'une faible quantité de carburant.
Remplissez le réservoir de carburant de votre vehicule avant que l'aiguille de la jauge n'atteigne le repere E (vide).
Le pictogramme indique que la trappe du réservoir de carburant du vehicule se trouve du cote conducteur.

MISE EN GARDE
- En cas de panne sèche, le témoin d'anomalie (MIL) SERVICE ENGINE imaginable, peut s'allumer. Faites le plein dés que possible. Le témoin ENGINE devrait s'eteindre après quelques cycles de démarrage. Si le témoin reste allumé, faites inspector le vehicule par un concessionnaire NISSAN.
- Pour obtenir de plus amples renseignements, consultez la section « Témoin d'anomalie (MIL) » plus loin dans le present chapitre.

LIC0741
MANOMÉTRE DE PRESSION
D'HUILE MOTEUR (selon
I'equipement du vehicule)
Le manometre indique la pression d'huile du circuit de lubrification du moteur pendant que le moteur tourne. Lorsque le régime moteur est elevé, la pression d'huile moteur est aussi élevée. Lorsque le régime moteur est bas, l'indicateur peut signaler une basse pression d'huile.

MISE EN GARDE
- Cet indicateur n'est pas conscience pour indiquer que le niveau d'huile moteur est bas. Utilisez la jauge pour vérifier le niveau d'huile. (Consultez la section « Huile moteur » dans le chapitre « Entretien et interventions du propretaire ».)
- Si l'aiguille de l'indicateur ne correspond pas à une pression d'huile moteur ajusté, rendez-vous chez un concessionnaire NISSAN pour y faire vérifier votre vehicule. Le fait de continuer à conduire le vehicule dans de telles circonstances peut endommager gravement le moteur.

WIC0913
VOLTMÈTRE (selon l'équipement du vehicule)
Lorsque la clé de contact est tournée à la position ON, le voltmètre indique la tension de la batterie. Lorsque le moteur tourne, il indique la tension de l'alternateur.
Lorsque le moteur est lancé, l'aignuille descend sous la plage normale. Si I'aiguille ne se situe pas dans la plage normale (11 volts à 15 volts) ① lorsque le moteur tourne, cela peut indiquer une anomalie du dispositif de charge de votre vehicule. Rendez-vous chez un concessionnaire NISSAN pour faire vérifier le dispositif.
AFFICHAGE DE LA TEMPERATURE EXTERIEURE ET DE LA BOUSSOLE (selon l'équipement du vehicule)
Ce dispositif offre les fonctions suivantes :
- mesure du magnétisme terrestre et indication du cap directionnel du vehicule;
- indication de la température de l'air extérieur.
Avec le contacteur d'allumage en position ON, appuyez sur le bouton - comme indiquedans le tableau ci-dessous pour activer diverses fonctions du rétroviseur interieur automatique anTIéblouissement.
| Enforcez le bouton -N-pendant environ : | Fonction :(Appuyez de nouveau sur le bouton pendant une seconde pour modifier les paramètres) |
| Une seconde | Activation-désactivation de l'affichage de la direction indiquée par la boussole et de la température extérieure. |
| 3 secondes | Affichage de la température extérieure en degrès Fahrenheit ou en degrès Celsius. |
| 8 secondes | La zone de déclinaison peut être modifiée pour corriger les lectures de boussole erronées. |
| 10 secondes | La boussole passé en mode d'étabonnage. |
Consultez la section « Rétroviseur interieur automatique antiéblouissement » du chapitre « Vérifications et réglages avant le démarrage » pour obtenir des renseignements au sujet de la fonction d'antiéblouissement automatique.

AFFICHAGE DE LA TEMPERATUREEXTÉRIEURE
Lorsque la clé de contact est à la position ON, appuyez sur la touche -pendant environ une seconde pour activer ou désactiver l'affichage ① de la température extérieure et de la direction indiquée par la boussole.
Pour passer des ^ aux ^ C, enforcez la touche pendant trois secondes environ, jusqu'acce que I'affichage commence a clignoter.Enforcez de nouveau cette touche pour basculer entre les ^ et les ^ C Une fois que vous avez selectionné ^ ou ^ C, I'affichage continue de clignoter pendant
cinq secondes environ, puis la température apparait.
- Si la température extérieure se situe entre 60^ (140°F) et 90^ (194°F), l'affichage indique 60^ (140°F). Si la température est supérieure à 90^ (194°F), l'affichage indique « SC ».
Si la température extérieure se situe entre -40^ (-40^) et -51^ (-60^) l'affichage indique -40^ (-40^) . Si la température est inférieure a -51^ (-60^) , l'affichage indique « OC »
Le capteur de température extérieure est situé à l'avant du radiateur. L'état de la route, la chaleur du moteur, la direction du vent et d'autres conditions de conduite peuvent affecter le fonctionnement du capteur. Celui-ci peut donc indiquer une température différente de la température extérieure réelle ou de cette affichée sur divers panneaux. - L'affichage de la température est mis à jour seulement lorsque le vehicule se déplace à plus de 20km / h (12 mi/h) ou que le contacteur d'allumage est tourné à la position OFF pendant quatre heures.
AFFICHAGE DE LA BOUSSOLE
Lorsque la clé de contact est à la position ON, appuyez sur la touche -pendant environ une seconde pour activer ou désactiver l'affichage ① de la température extérieure et de la direction indiquée par la boussole. L'affichage indique le cap du vehicule.
N : Nord
E:Est
S:Sud
W:Ouest
Si la boussole affiche « CAL » (étalonnage), vous nevez étabonnner la boussole en effetuant, à moins de 8 km/h (5 mi/h), trois cercles complets avec votre vehicule.
Voupeuz également étalonnner la boussole en conduisant votre vehicule en effetuant votre trajet quotidien. La boussole sera étalonnée une fois que vous aurez effectué trois cercles complets.

Procedure de modification de la déclinaison
La différence entre le nord magnétique et le nord géographique porte le nom de déclinaison. Dans certaines régions, cette différence peut être suffisamment grande pour entraîner des lectures de boussole erronées. Si cela se produit, vous pouvez régler la boussole en fonction de la déclinaison de votre zone, si nécessaire.
- Appuyez sur la touche et maintenez-la enforcée pendant huit secondes environ. Le numero de la zone utilisée par la boussole s'affiche à l'écran. Relâchez le bouton.
- Localisez votre emplacement actuel sur la carte des zones de declinaison (reportez-vous à l'illustration).
- Appuyez plusieurs fois sur le bouton - pour parcourir les nombres de zone jusqu'à ce que le nombre youlu apparaisse à l'affichage. Lorsque vous avez sélectionné un nombre de zone, l'affichage indique une direction de boussole en moins de quelques secondes.
Affichage erroné de la direction
L'affichage de la boussole comporte une fonction de correction automatique. Si la direction affi-chiee est incorrecte, suive cette procedure.
- Lorsque l'affichage est activé, appuyez sur la touche -N- et maintenez-la enforcée pendant environ 10 secondes. L'icone « CAL » (étalonnage), sur l'écran de la direction indiquée par la boussole, s'allume alors.
- Étalionnez la boussole en effectuant trois cercles complets à une vitesse maximale de 8km / h (5 mi/h).
- L'affichage devrait revenir à la normale après cette manqueevre.
- Si la boussole se dérègle de façon répétée peu après le réglage, faites-la vérifier par un concessionnaire/agréé.
-
L'indication de la boussole peut se révérer inexacte lorsqu'vous franchissez un tunnel ou si vous parcours présente des pentes particulièrement raides. (L'indication de la boussole se rétablit lorsque le vehicule roule de nouveau dans une zone dont le géomagnétique est stabilisé.)
-
La lecture de la boussole peut être erronée si un aimant se trouve dans la console au pavillon ou pres de la console, ou si le vehicule se trouve dans une zone où le magnétisme terrestre est perturbé.
AMISE EN GARDE
- N'installez pas de porte-skis, antenné, etc. qui se fixent au vehicule au moyen d'aimants. Ces articles nuisent au fonctionnement de la boussole.
- Pour le nettoyage du rétroviseur, utilisez un essuie-tout ou un autre produitsemblable sur lequel vous aurez appliqué un nettoyant pour verre. Ne vaporisez pas le nettoyant pour verre directement sur le rétroviseur, car le liquide risquérait de s'infiltrer dans le boîtier du rétroviseur.
TÉMOINS ET RAPPELS SONORES
| ABS A/T OIL TEMP | Témoin des freins antiblocage | Témoin de bas niveau de liquide lave-glace | Témoin du dispositif d'assistance en descente (HDC) (selon l'équipement du vehicule) |
| Témoin de température d'huile de la boite de vitesses automatique (selon l'équipement du vehicule) | Témoin et carillon des ceintures de sécurité | Témoin d'anomalie (MIL) | |
| ATP | Témoin de stationnement de boite de vitesses automatique (modèle 4x4) | Témoin du coussin gonflable | Témoin d'annulation de la surmultiplication (boite de vitesses automatique seulement) |
| BRAKE | Témoin des freins | Témoin de position de la boite de vitesses automatique | Témoin de sécurité (selon l'équipement du vehicule) |
| + | Témoin de charge (selon l'équipement du vehicule) | CRUISE | Témoin SLIP (dérapage) sur les modèles munis d'un dispositif antipatinage (selon l'équipement du vehicule) |
| Témoin de portière ouverte | SET | Témoin SLIP (dérapage) sur les modèles munis d'un dispositif de contrôle dynamique du vehicule (selon l'équipement du vehicule) | |
| Témoin de pression d'huile moteur (selon l'équipement du vehicule) | DIFF LOCK | Témoin de position de gamme 4LO de la boite de transfert (modèle 4x4) | |
| 4WD | Témoin d'anomalie du mode 4 roues motrices (modèle 4x4) | Témoin de passage en mode 4 roues motrices (modèle 4x4) | Témoins des clignotants et des feu des détresse |
| Témoin de bas niveau de carburant | OFF | Témoin de neutralisation du coussin gonflable du passager avant | |
| Témoin de basso pression des pneus | Témoin de faisceaux route (bleu) | Témoin de neutralisation du dispositif de contrôle dynamique du vehicule (selon l'équipement du vehicule) |
VÉRIFICATION DES AMPOULES
Lorsque toutes les portières sont fermées, serrez le frein de stationnement et tournez la clé de contact à la position ON sans démarrer le moteur. Les témoins suivants s'allument :

BRAKE







4WD
Les témoins suivants s'allument brivement, puis s'éteignent :
ABS

C C






商,
4LC
Si l'un des témoins mentionnés ne s'allume pas, il est possible que son ampoule soit brûlée ou qu'un des circuits électriques de votre vehicule soit ouvert. Faites réparer le système électrique de votre vehiculeès que possible.
TEMOINS

ou


Témoin des freins antiblocage
Si le témoin s'allume lorsque le moteur tourne, il se peut que le système de freinage antiblocage ne fonctionne pas correctement. Rendez-vous chez un concessionnaire NISSAN pour faire vérifier le dispositif.
En cas d'anomalie du système, la fonction antiblocage est mise hors fonction, mais le système de freinage normal continue de fonctionner.
Si le témoin s'allume pendant que vous conduisez, communiquez avec un concessionnaire NISSAN pour demander que les réparations nécessaires soient effectuées.
L'antiblocage (ABS) est mis hors fonction tandis que le témoin de freinage antiblocage s'allume lorsque l'on place le commutateur du dispositif E-Lock (verrouillage electronic du différentiel arrrière) (selon l'équipement du vehicule) en position de marche et que le dispositif E-Lock s'engage. Si le dispositif E-Lock est désactivé ou si vous place le commutateur en position d'arrêt, l'antiblocage est réactif et le témoin ABS s'eteint.

Témoin de température d'huile de la boîte de vitesses automatique (selon l'équipement du vehicule)
Ce témoin s'allume lorsque la température de l'huile pour boite de vitesses automatique est trop élevé. Si le témoin s'allume pendant la conduite, réduisez la vitesse du vehicule aussiôt qu'il est possible et prudent de le faire, et ce, jusqu'à ce que le témoin s'éteigne.

MISE EN GARDE
Le fait de continuer à conduire le vehicule lorsque le témoin de température d'huile de la boite de vitesses automatique est allumé peut endommager la boite de vitesses.

Témoin de stationnement de boîte de vitesses automatique (modèle 4x4)

AVERTISSEMENT
- Si le témoin ATP est allumé, la position P de la boîte de vitesses automatique ne peut être engagée et la boîte de transfert est au point mort.
-
Lorsque vous stationnez le vehicule, assurez-vous que le témoin de sélection 4WD est allumé et que le frein de stationnement est serré. Si le levier sélecteur de la boîte de transfert n'est pas place en position 2WD (2 roues motrices), 4H (4 roues motrices, gamme haute) ou 4LO (4 roues motrices, gamme basse), le vehicule risque de se déplacer inopinément et de causeurs des blessures graves ou des dommages importants.
-
Déplacez à nouveau le commutateur 4WD à la position 2WD, 4H ou 4LO pour éteindre le témoin de fonctionnement de stationnement alors que le levier sélecteur de la boite de vitesses automatique est à la position P et que le témoin de fonctionnement de stationnement est allumé. (Avant de régler le sélecteur 4WD à la position 4LO, déplacez le levier sélecteur à la boite de vitesses automatique à la position N, puis replacez-le à la position P et assurez-vous que le témoin de fonctionnement de stationnement est étéint.)
Ce témoin indique que la boîte de vitesses automatique n'est pas en fonction de stationnement. Si le levier sélecteur de la boîte de transfert n'est pas placé dans une position de marche alors que le levier de la boîte de vitesses automatique est en position P, la boîte de vitesses débrayera et les roues ne seront pas bloquées.



Témoin des freins
Les circuits du frein de stationnement et des freins de conduite sont reliés à ce témoin.
Témoin de frein de stationnement
Lorsque la clé de contact est à la position ON, le témoin s'allume lorsque le frein de stationnement est serré.
Témoin de bas niveau de liquide de frein
Lorsque la clé de contact est à la position ON, le témoin s'allume pour vous avertir que le niveau du liquide de frein est bas. S'il s'allume alors que le moteur tourne et que le frein de stationnement n'est pas serré, immobilisez votre vehicule et prenez les mesures suivantes :
- Vérifiez le niveau de liquide de frein. Ajoutez la quantité de liquide de frein requise. Consultez la section « Liquide de frein » du chapitre « Entretien et interventions du propriétaire » du present manuel.
- Si le niveau du liquide de frein est adequat, rendez-vous chez un concessionnaire NISSAN pour faire vérifier le système d'advertissement de votre vehicule.

AVERTISSEMENT
- Si le témoin des freins est allumé, esta peut indiquer une défaillance du circuit de freinage. La conduite du vehicule peut alors être dangereuse. Si vous juge que vous pouvez poursuivre votre route sans danger, conduisez prudemment jusqu'à la station-service la plus proche pour y faire effectuer les réparations nécessaires. Sinon, faites remorquer votre vehicule.
- Le fait d'enforcer la pédale de frein lorsque le moteur est à l'arrêt ou que le niveau de liquide de frein est bas peut prolonger la distance de freinage et la course de la pédale ainsi que l'effort requis pour freiner.
- Si le niveau du liquide de frein se situe sous le repère MINIMUM ou MIN du réservoir de liquide de frein, ne conduise pas le vehicule tant que le circuit de freinage n'a pas été inspecté par un concessionnaire NISSAN.

Témoin de charge (selon l'équipement du vehicule)
L'activation de ce témoin pendant que le moteur tourne peut indiquer une anomalie du système de charge de votre vehicule. Coupez le contact et vérifie la courroie de l'alternateur de votre vehicule. Si la courroie est desserrée, brisée ou manquante, ou si le témoin demeure allumé, adressez-vous immédiatement à un concessionnaire NiSSAN.

MISE EN GARDE
- Ne mettez pas à la masse les accessoires en les branchant directement à la cosse de la batterie. Vous court-circuiteriez ainsi le dispositif de commande à variation de tension et la batterie pourrait ne pas se charger complètement. Consultez la section « Dispositif de commande à variation de tension » du chapitre « Entretien et interventions du propriétaire » plus loin dans ce manuel.
- Ne conduisez pas votre vehicule si la courroie de l'alternateur est desserrée, rompue ou manquante.

Témoin de portière ouverte
Ce témoin s'allume lorsqu'une des portières du vehicule est mal fermée et que la clé de contact est à la position ON.

Témoin de pression d'huile moteur (selon l'équipement du vehicule)
Ce témoin s'allume lorsque la pression d'huile moteur du vehicule est BASSE. Si ce témoin clignote ou s'allume en presence de conditions de conduite normales, immobilisez votre vehicule dans un endroit sur en bordure de la route, coupez le contact immédiatement et appelez un concessionnaire NiSSAN ou un autre atelier de réparation/agree.
Le témoin de pression d'huile moteur n'est pas conscience pour indiquer un bas niveau d'huile. Utilisez la jauge pour vérifier le niveau d'huile. Consultez la section « Huile moteur » du chapitre « Entretien et interventions du propretaire » duprésent manuel.

MISE EN GARDE
Le fait de laisser le moteur tourner alors que le témoin de pression d'huile moteur est allumé peut très rapidement provoquer de graves dommages au moteur. De tels dommages ne sont pas couverts par la garantie. Mettez le moteur à l'arrêt des qu'il vous est possible de le faire en toute sécurité.
4WD
Témoin d'anomalie du mode 4 roues motrices
(modèle 4x4)
Le témoin des quatre roues motrices s'allume lorsque le contacteur d'allumage est tourné à la position ON. Il s'éteint peu après que le moteur ait été démarré.
Si le moteur ou le vehicule ne fonctionne pas correctement, le témoin reste allumé ou clignote. Consultez la section « Témoin des quatre roues motrices » du chapitre « Démarrage et conduite »

MISE EN GARDE
-
Si le témoin s'allume ou clignote pendant la conduite, faites inspectorer votre vehicule des que possible par un concessionnaire NISSAN.
-
N'utilisez pas les modes 4H et 4LO lorsque vous conduisez sur des chaussées pavées et sèches. Si le témoin des quatre roues motrices s'allume alors que vous conduisez sur des chaussées sèches :
-
En position 4H, déplacez le/selecteur de la boite de transfert de 4WD à 2WD.
- En position 4LO (4 roues motrices, gamme basse), pour les modeles à boîte automatique, immobilisez le vehicule et placez la boîte de vitesses au point mort en,enfantant la pédale de frein, puis déplacez la commande de mode 4 roues motrices en position 2WD (2 roues motrices).
-
En position 4LO (4 roues motrices, gamme basse), pour les modeles à boîte manuelle, immobilisez le vehicule et placez la boîte de vitesses au point mort en enforcant la pédale d'embrayage, puis déplacez la commande de mode 4 roues motrices en position 2WD (2 roues motrices).
-
Faites vérifier votre vehicule par un concessionnaire NISSAN dés que possible si le témoin demeure allumé à la suite des manoeuvres décrites précédemment.

Témoin de bas niveau de carburant
Ce témoin s'allume lorsque le réservoir de carburant de votre vehicule ne contient plus qu'une faible quantité de carburant. Faites le plein des que possible et, de préférence, avant que l'aiguille de la jauge de carburant n'atteigne le repère E (vide). Lorsque l'aiguille de la jauge atteint le repère E (vide), le réservoir de carburant de votre vehicule ne contient plus qu'une petite réserve de carburant.

Témoin de basse pression des pneus
Votre vehicule est doté d'un système de surveillance de la pression des pneus qui sur VEille la pression de tous les pneus, sauf le pneu de secours.
Le témoin de bassé pression des pneus signale une basse pression des pneus ou indique que le système de surveillance de la pression des pneus ne fonctionne pas correctement.
Après l'établissement du contact, le témoin s'allume pendant environ une seconde.
Avertissement de basse pression des pneus
Le témoin s'allume pendant la conduite si uneasse pression des pneus est détectée.
Lorsque le témoin de basse pression des pneus s'allume, immobilisez le vehicule et reglez la pression des pneus à la pression de gonflage à froid indiquée sur l'étiquette des pneus et d'information sur la charge pour éteindre le témoin. Meme si vous avez régle la pression de gonflage des pneus en fonction de la valeur À FROID, le témoin de basse pression des pneus ne s'éteint pas automatiquement. Une fois la pression des pneus reglee à la pression de gonflage recommendée, il faudra rouler à plus de 25 km/h (16 mi/h) pour activer le système de surveillance de la pression des pneus et désactiver le témoin de basse pression des pneus. Utilisez un manomètre pour pneus pour régler la pression des pneus à la valeur préconisée.
Pour obtenir de plus amples renseignements, consultez la section « Système de surveillance de la pression des pneus » des chapitres « Démarriage et conduite » et « En cas d'urgence »
Défaillance du système de surveillance de la pression des pneus
Si le système de surveillance de la pression des pneus ne fonctionne pas correctement, le témoin de bassé pression des pneus clignote pendant environ une minute lorsque le contact est établi. Le témoin demeure allumé après une minute. Rendez-vous chez un concessionnaire NiSSAN pour faire vérifier le dispositif.
Pour obtenir de plus amples renseignements, consultez la section « Système de surveillance de la pression des pneus » du chapitre « Démarrage et conduite »
AVERAGEMENT
-
Si le témoin ne s'allume pas lorsque le contacteur d'allumage est tourné à la position ON, faites vérifier votre vehicule par un concessionnaire NISSAN dés que possible.
-
Si le témoin s'allume pendant la conduite, évitez les manœuvres de braquage et les freinages brusques, ralentissez, rangez-vous en un endroit sécuritaire, puis immobilisez le vehicule dés que possible. Voitre vehicule pourrait subir des dommages importants et vous pourriez avoir un accident entrainant des blessures graves. Vérifiez la pression de tous les pneus. Effectuez un réglage de pression À FROID, tel que spécifique sur l'étiquette des pneus et d'information sur la charge, pour ainsi désactiver le témoin d'avertissement de basse pression. Si, après avoir régèle la pression des pneus, le témoin demeure allumé pendant la conduite, il se peut qu'un des pneus soit à plat. Si vous avez fait une crevaison, montez la roue de secours dés que possible.
-
Lorsqu'une roue de secours est montée ou lorsqu'une roue est replacee, la pression des pneus n'est pas indiquee, le systeme de surveillance de la pression des pneus ne fonctionne pas et le témoin de masse pression des pneus clignote. Communique avec votre concessionnaire NISSAN dés que possible pour procéder au remplacement des pneus ou à la réinitialisation du système.
-
L'utilisation de pneus de remplacement autres que ceux précisés par NiSSAN peut nuir au fonctionnement du système de surveillance de la pression des pneus.
AMISE EN GARDE
- Le système de surveillance de la pression des pneus ne remplace aucunement la vérification régulière de la pression des pneus. Vérifiez régulièrement la pression des pneus de votre vehicule.
- Si le vehicule roule à moins de 25km / h (16 mi/h), le système de surveillance de la pression des pneus peut ne pas fonctionner correctement.
Assurez-vous que des pneus de la taille spécifiée sont installés correctement aux quatre roues de votre vehicule.

Témoin de bas niveau deliquide lave-glace
Ce témoin s'allume lorsque le niveau de liquide lave-glace est bas. Ajoutez la quantité de liquide lave-glace requise. Consultez la section « Liquide lave-glace » du chapitre « Entretien et interventions du propriétaire » dans leprésent manuel.

Témoin et carillon des ceintures de sécurité
Ce témoin et ce carillon s'activent pour rappeler aux occupants du vehicule de boucler leur ceinture. Le témoin s'allume dès que la clé de contact est tournée à la position ON ou START et reste allumé jusqu'à ce que le conducteur ait boucle sa ceinture. Au même moment, le carillon commence à sonner pendant environ six secondes, à moins que le conducteur ne boucle sa ceinture.
Le témoin des ceintures de sécurité peut aussi s'allumer si la ceinture de sécurité du passager avant n'est pas bouclée lorsque le siège du passager avant est occupé. Pendant sept secondes après l'établissement du contact, le système n'allume pas le témoin associé au passager avant.
Pour connaître les précautions concernant l'utilisation des ceintures de sécurité, reportez-vous à la section « Ceintures de sécurité » du chapitre « Sécurité - Sièges, ceintures de sécurité et dispositif de protection complémentaire »

Témoin du coussin gonflable
Lorsque la clé de contact est tournée à la position ON ou START, le tímoin du coussin gonflable s'allume pendant environ sept secondes, puis il s'éteint. Ceci indique que le dispositif est fonctionnel.
Si l'une des situations suivantes se produit, rendez-vous chez un concessionnaire NISSAN pour faire réparer les coussins gonflables avant, les coussins gonflables latéraux (selon l'équipement du vehicule), les rideaux gonflables latéraux (selon l'équipement du vehicule) ou les ceintures de sécurité à prétenéeur de votre vehicule :
- Le témoin du coussin gonflable reste allumé après la période initiale d'environ sept secondes.
- Le témoin du coussin gonflable clignote par intermittence.
- Le témoin du coussin gonflable ne s'allume pas du tout.
Le dispositif de retenue complémentaire (cous-sins gonflables) et les ceintures de sécurité à pretendeur risquent de mal fonctionner s'ils n'ont pas eté vérifiés et réparés. Pour obtaining de plus amples renseignements, reportez-vous à la section « Dispositif de protection complémentaire » du chapitre « Sécurité - Sièges, ceintures de sécurité et dispositif de protection complémentaire » du présent manuel.

AVERTISSEMENT
L'illumination du témoin des coussins gonflables peut indiquer que les coussins gonflables avant, les coussins gonflables lateraux (selon l'équipment du vehicule), les rideaux gonflables lateraux (selon l'équipment du vehicule) ou les ceintures de sécurité à préteneur ne fonctionneront pas en cas d'accident. Pour prévenir les blessures potentielles aux occupants, confiez votre vehiculeès que possible à un concessionnaire NISSAN.
TEMOINS

Témoin de position de la boîte de vitesses automatique
Le témoin indique la position du levier sélecteur de la boîte de vitesses automatique lorsque la clé de contact est tournée à la position ON. Consultez la section « Conduite du vehicule » du chapitre « Démarrage et conduite » dans ce manuel.
CRUISE Témoin d'interrupteur principal du régulateur de vitesse (CRUISE) (selon l'équipement du vehicule)
Ce témoin s'allume lorsque le commutateur principal du régulateur de vitesse est enforcé. Il s'eteint lorsque le commutateur principal est enforcé de nouveau. L'activation de ce témoin indique que le régulateur de vitesse est en fonction.
SET Témoin d'interrupteur de réglage du régulateur de vitesse (SET) (selon l'équipement du vehicule)
Ce témoin s'allume lorsque le régulateur de vitesse commande la vitesse du vehicule. Si le témoin clignote pendant que le moteur de votre vehicule tourne, cela peut indiquer une anomalie du régulateur de vitesse. Rendez-vous chez un concessionnaire NISSAN pour faire vérifier le dispositif.
DIFF Témoin d'activation du dispositif E-Lock (verrouillage électronique du différentiel arrêté) (selon l'équipement du vehicule)
Ce témoin s'allume quand le dispositif de verrouillage électronique du différentiel arrêté est entièrement engagé.
Le témoin clignote la première fois que le dispositif est activé. Quand le dispositif est complètement activé, le témoin demeure allumé. Si le commutateur est en position ON et si le témoin continue à clignoter, le dispositif n'est pas activé.
Pour obtenir de plus amples renseignements, consultez les sections « Commutateur du dispositif E-Lock (verrouillage électronique du différentiel arrêté)», plus loin dans leprésent chapitre, et « Dispositif E-Lock (verrouillage électronique du différentiel arrêté)», dans le chapitre « Démarrage et conduite » duprésent manuel.

Témoin de passage en mode 4 roues motrices (modèle 4x4)
Le témoin devrait s'éteindre après une seconde lorsque le contacteur d'allumage est tourné à la position ON.
Pendant que le moteur tourne, le témoin de passage en mode 4 roues motrices indiquera la position du sélecteur de passage en mode 4 roues motrices.
Le témoin de passage en mode 4 roues motrices peut clignoter au moment du changement d'un mode d'entrainment à un autre.

Témoin de neutralisation du coussin gonflable du passager avant
Le témoin de neutralisation du coussin gonflable du passager avant ( ) s'allume et le coussin gonflable du passager avant est désacté en fonction de l'utilisation faite du siège du passager avant.
Pour obtenir de plus amples renseignements sur le témoin de neutralisation du coussin gonflable du passager avant, consultez la section « Cousin gonflable du passager avant et témoin de neutralisation » du chapitre « Sécurité - Sièges, ceintures de sécurité et dispositifs de protection complémentaires » dans ce manuel.

Témoin de faisceaux route (bleu)
Ce témoin bleu s'allume lorsque les faisceaux route sont allumés et s'éteint lorsque les feu de croissement sont sélectionnés.
Le témoin des faisceaux route s'allume également lorsque le signal de dépassement est activé.

Témoin de fonctionnement du dispositif d'assistance en descente (HDC) (selon l'équipement du vehicule)
Après l'établissement du contact, ce témoin s'allume brievement, puis s'éteint.
Le témoin s'allume lorsque le dispositif d'assistance en descente entre en fonction.
Si l'interrupteur du dispositif d'assistance en descente est en position de marche et si le témoin clignote, le dispositif ne s'est pas engagé.
Si le témoin ne s'allume pas ou s'il clignote lorsque l'interrupteur du dispositif d'assistance en descente est en position de marche, il est probable que le dispositif ne fonctionne pas correctement. Rendez-vous chez un concessionnaire NISSAN pour faire vérifier le dispositif.
Pour obtenir de plus amples renseignements, consultez la section « Interrupteur du dispositif d'assistance en descente », plus loin dans ce chapitre, et « Dispositif d'assistance en descente » du chapitre « Démarrage et conduite » de ce manuel.
SERVICE Témoin d'anomalie (MIL) ENGINE SOON
Un témoin d'anomalie qui s'allume ou qui clignote pendant que le moteur tourne peut indiquer une anomalie du dispositif antipollution.
Ce même témoin peut également s'allumer si le bouchon du réservoir de carburant est desserré ou manquant, ou si le réservoir de carburant de votre vehicule est presque vide. Assurez-vous que le bouchon du réservoir de carburant de votre vehicule a bien été revisse et que le réservoir contient au moins 11,4 litres (3 gallons US) de carburant.
Le témoin SERVICE DEVRAIT s'eteindre après quelsques cycles de conduite s'il n'existe aucune autre anomalie du dispositif antipollution.
Si ce témoin demeure allumé pendant 20 secondes, puis clignote pendant 10 secondes alors que le moteur ne tourne pas, le vehicule n'est pas prét à subir un contrôle d'inspection et d'entretien du dispositif antipollution. Consultez la section « Préparation aux contrôles
d'inspection et d'entretien » du chapitre « Données techniques et information au consommateur » dans ce manuel.
Fonctionnement
Le témoin d'anomalie s'allume lorsque l'une des situations suivantes se produit :
Le témoin d'anomalie s'allume - une défectuosié du dispositif antipollution a été décelée. Vérifiez le bouchon du réservoir de carburant. Si le bouchon du réservoir de carburant est desserré ou manquant, serrez-le ou installez-le et poursuivez votre route. Le témoin Service ENGINE SONG DOIT s'éteindre après quelques cycles de conduite. Si le témoin Service ENGINE SONG reste allumé, rendez-vous chez un concessionnaire NISSAN pour y faire inspecter votre vehicule. Il n'est pas nécessaire de faire remorquer votre vehicule pour vous rendre chez le concessionnaire.
Le témoin d'anomalie clignote - un raté d'allumage du moteur susceptible d'endommager le dispositif antipollution de votre vehicule a été détecté. Pour éviter les dommages au dispositif antipollution de votre vehicule ou pour réduire la gravité de ceux-ci:
-
ne conduisez pas à une vitesse supérieure à 72 km/h (45 mi/h);
-
evitez les accelerations et les décelerations brusques;
- évitez les pentes très raides;
- autant que possible, réduisez la charge transportée ou remorquée par votre vehicule.
Il est possible que le témoin d'anomalie cesse de clignoter et demeure allumé. Rendez-vous chez un concessionnaire NISSAN pour faire inspectorer votre vehicule. Il n'est pas nécessaire de faire remorquer votre vehicule pour vous rendre chez le concessionnaire.
AMISE EN GARDE
Le fait de continuer à conduire le vehicule en omettant de faire inspector ou réparer (s'il y a lieu) le dispositif antipollution peut promètre la maniabilité du vehicule et sa consommation de carburant, et accroître les risques de dommages au dispositif antipollution.
O/D OFF
Témoin d'annulation de la surmultiplée (boîte de vitesses automatique seulement)
Ce témoin s'allume lorsque la surmultiplée est désactivée.
L'interrupteur de surmultipliee commande la fonction de surmultipliee de la boite de vitesses automatique.
Consultez la section « Conduite du vehicule » du chapitre « Démarrage et conduite » dans ce manuel.

Témoin de sécurité (selon l'équipement du vehicule)
Ce témoin clignote lorsque le contacteur d'allumage se trouve à la position LOCK, OFF ou ACC. Ce témoin indique que le dispositif de sécurité du vehicule est fonctionnel.
Pour obtenir de plus amples renseignements, consultez la section « Systèmes de sécurité», plus loin dans leprésent chapitre.
SLIP
Témoin SLIP (dérapage) sur les modèles munis d'un dispositif antipatinage (selon l'équipement du vehicule)
Ce témoin s'allume lorsque le dispositif antipatinage est activé. S'il est activé, le dispositif freine les roues motrices qui patinent, ce qui procure plus de motricité aux roues qui ne patinent pas.
SLIP
Témoin SLIP (dérapage) sur les modèles munis d'un dispositif de contrôle dynamique du vehicule (selon l'équipement du vehicule)
Ce témoin clignote lorsque le dispositif d'antipatinage limite le patinage des roues. Le clignotement de ce témoin peut indiquer des conditions de dérapage. Le cas échéant, adaptez votre conduite en conséquence.
Il s'allume également lorsque vous tournez la clé de contact à la position ON. Il s'éteint après deux secondes si le dispositif est fonctionnel. Si le témoin ne s'allume pas ou ne s'éteint pas, faites inspector le dispositif d'antipatinage de votre vehicule chez un concessionnaire NISSAN.
Si la batterie est déposée ou déchargée, le dispositif d'antipatinage se désactive et le témoin de dérapage ne s'éteint pas dans les deux secondes suivant l'établissement du contact. Pour réinitialiser le dispositif, executez la procédure de réinitialisation. Consultez la section « Dispositif de contrôle dynamique du vehicule » du chapitre « Démarrage et conduite » duprésent manuel.
Si le témoin ne s'éteint pas après la procédure de réinitialisation, rendez-vous chez un concessionnaire NiSSAN pour faire vérifier le dispositif d'antipatinage de votre vehicule.
4LO
Témoin de position de gamme 4LO de la boîte de transfert (modèle 4x4)
Le témoin devrait s'eteindre après une seconde lorsque le contacteur d'allumage est tourné à la position ON.
Ce témoin s'allume lorsque le sélecteur de passage en mode 4 roues motrices est mis à la position 4LO alors que la clé de contact est à la position ON.
La boîte de transfert peut subir des dommages si vous reglez le sélecteur de passage pendant la conduite.
Assurez-vous que le témoin de position de gamme 4LO de la boîte de transfert s'allume lorsque vous reglez le sélecteur de passage en mode 4 roues motrices à 4LO.
Le témoin de passage en mode 4 roues motrices peut clignoter pendant le passage d'un mode d'entrainment à un autre.
Le témoin 4LO doit arrêter de clignoter et demeurer allumé ou s'eteindre avant le passage d'un rapport de la boîte de vitesses. Si le levier sélecteur de la boîte de vitesses est place hors de la position de point mort alors que le témoin 4LO clignote, le vehicule pourrait se déplacer de façon inopinée.
Suivez les directives ci-après lorsque vous alternez entre les positions 4H (4 roues motrices, gamme haute) et 4LO (4 roues motrices, gamme basse):
Pour les modeles munis d'une boite automatique, immobilisez le vehicule, placez le selecteur de la boite de vitesses au point mort en enforcant la pédale de frein, puis poussez et tournez la commande de mode 4 roues motrices en position 4LO ou 4H.
Pour les modèles munis d'une boîte manuelle, immobilisez le vehicule, placez le sélecteur de la boîte de vitesses au point mort en,enfantant la pédale d'embrayage, puis poussez et tournez la commande de mode 4 roues motrices en position 4LO ou 4H.
Vou ne pouvez pas déplacer le sélecteur de passage en mode 4 roues motrices entre les positions 4H (4 roues motrices, gamme haute) et 4LO (4 roues motrices, gamme basse) à moins d'immobiliser le vehicule et de déplacer le levier sélecteur de la boîte de vitesses au point mort en,enfantant la pédale de frein (modèles à boîte automatique) ou la pédale d'embrayage (modèles à boîte manuelle).

Témoins des clignotants et des feuels de détresse
Le témoin gauche ou droit (selon le cas) clignote lorsqu'la commande de clignotant est activée.
Les deux tímoins clignotent lorsque l'interrupteur des feuels de détresse est enforcé.

Témoin de neutralisation du dispositif de contrôle dynamique du vehicule (selon l'équipement du vehicule)
Ce témoin s'allume lorsque l'interrupteur de neutralisation du système de contrôle dynamique du vehicule est reglé à OFF (hors fonction), que la boîte de transfert est en position 4LO (modele 4x4) ou lorsque le système de contrôle dynamique du vehicule ne fonctionne pas correctement. pour indiquer que le dispositif de contrôle dynamique du vehicule ne fonctionne pas.
Pour rétablit le fonctionnement normal du dispositif, appuyez de nouveau sur l'interrupteur du dispositif de contrôle dynamique du vehicule ou faites redémarrer le moteur. Consultez la section « Dispositif de contrôle dynamique du vehicule » du chapitre « Démarrage et conduite » du réseau manuel.
Le témoin du dispositif de contrôle dynamique du vehicule s'allume également lorsque vous tournez le contacteur d'allumage à la position ON. Il s'éteint après deux secondes si le dispositif est fonctionnel. Si le témoin reste allumé ou s'il s'allume en même temps que le témoin SLIP (dérapage) pendant la conduite, faites vérifier ce dispositif chez un concessionnaire NISSAN.
Si la batterie est déposée ou déchargée, le dispositif d'antipatinage se désactive et le témoin de dérapage ne s'éteint pas dans les deux secondes suivant l'établissement du contact. Pour réinitialiser le dispositif, executez la procédure de réinitialisation. Consultez la section « Dispositif de contrôle dynamique du vehicule » du chapitre « Démarrage et conduite » duprésent manuel.
Si le témoin ne s'éteint pas après la procédure de réinitialisation, rendez-vous chez un concessionnaire NiSSAN pour faire vérifier le dispositif d'antipatinage de votre vehicule.
Il est possible que le fonctionnement du dispositif de contrôle dynamique du vehicule entraine une légere vibration ou des bruits lorsque vous démarrez le vehicule ou que vous accélèrez. Il s'agit la d'une situation normale.
Le dispositif de contrôle dynamique du vehicule (VDC) est mis hors fonction tandis que le témoin de freinage antiblocage s'allume, lorsque l'on place l'interrupteur du dispositif E-Lock (différen
tiel arrirée à verrouillage électronique) (selon l'équipement du vehicule) en position de marche et que le dispositif E-Lock s'engage. Si le dispositif E-Lock est désactivé ou si vous placez l'interrupteur en position d'arrêt, le dispositif de contrôle dynamique du vehicule est reactif et le témoin VDC s'eteint.
RAPPELS SONORES
Signal d'avertissement des indicateurs d'usure de plaquettes de frein
Les indicateurs d'usure de plaquettes de frein peuvent émettre un signal d'avertissement. Lorsqu'une plaquette de frein avant doit être remplacee, l'indicateur d'usure correspondant émet un bruit de frottement strident pendant la conduite, et ce, que la pédale de frein soit enforcée ou non. Faites vérifier les freins de votre vehicule des que possible si les indicateurs d'usure des freins émettent un tel bruit.
Carillon de rappel de clé dans le contacteur d'allumage
Un carillon retentit si vous ouvrez la portiere du conducteur alors que la clé se trouve dans le contacteur d'allumage. Retirez la clé du contacteur d'allumage avant de quitter votre vehicule.
Carillon de rappel des phares allumés
Si les phares ou les feuels de stationnement du vehicule sont allumés et si le contacteur est tourné à la position OFF, un carillon retentit lorsque vous ouvrez la portière du conducteur.
Éteignez les phares avant de quitter votre vehicule.
SYSTITÉMES DE SECURITÉ (selon l'équipement du vehicule)

Votre vehicule peut composer deux types de dispositifs de sécurité :
- Dispositif de sécurité du vehicule (selon l'équipement du vehicule)
- Système antidémarrage du vehicule NIS-SAN (selon l'équipement du vehicule)
DISPOSITIONIF DE SECURITE DU VEHICULE (selon l'équipement du vehicule)
Des signaux d'alarme visuels et sonores retentissent siquelqu'un ouvre les portieres lorsque le dispositif de sécurité du vehicule est armé. Il ne s'agit toute fois pas d'un dispositif à détention de
mouvement s'activant en cas de déplacement du vehicule ou en présence de vibration.
Le dispositif sert à discourage les voleurs, mais il ne saurait empêcher le vol du vehicule ni interdire dans tous les cas le vol d'éléments interieurs ou extérieurs. Verrouillez toujours votre vehicule, même si vous le garez pour un instant. Ne laissez jamais vos clés dans le contacteur et verrouillez toujours le vehicule si vous le laissez sans surveillance. Pour toute sécurité, garez-vous dans des zones aussi sûres et bien éclairées que possible.
De nombreux dispositifs proposés dans les boutiques d'accessoires automobiles et magasins spécialisés offrent une protection supplémentaire, comme des verrous d'accessoire, des éléments d'identification ou des dispositifs de repêrage. Notre concessionnaire NISSAN peut également vous offrir ce type de dispositif. Vérifiez auprès de cette société d'assurance si vous pouvez bénéficier de réductions liées à l'installation de ces différents dispositifs antivols.
Méthode d'activation du dispositif de sécurité de votre vehicule
- Fermez toutes les glaces de votre vehicule. (Le dispositif peut être activé même si les glaces sont ouvertes).
-
Retirez la clé du contacteur d'allumage.
-
Fermez toutes les portières. Verrouillez toutes les portaires. Les portaires peuvent etre verrouillées avec la clé, l'interrupteur de verrouillage électrique des portaires (si la portiere est ouverte, verrouillée, puis fermée) ou la télécommande.
Fonctionnement de la télécommande
- Enforcez la touche 1 de la télécommande. Toutes les portières se verrouillent. Les faux de détresse clignotent deux fois et l'avertisseur sonore émet un bip pour confirmer le verrouillage de toutes les portières.
- Si la touche est enforcée alors que les portières sont déjà toutes verrouillées, les frais de détresse clignotent deux fois et l'avertisseur sonore émet un bip pour indiquer que les portières sont déjà verrouillées.
L'avertisseur sonore peut émettre un bip ou rester silencieux. Consultez la section « Mise au silence de l'avertisseur sonore » du chapitre « Vérifications et réglages avant le démarrage » du present manuel.
- Assurez-vous que le témoin s'allume. Le témoin demeure allumé pendant environ 30 secondes. Cela indique que le dispositif de sécurité du vehicule est préactivé. Le dispositif est automatiquement activé après environ 30 secondes. Le témoin commence alors à clignoter une fois toutes les trois secondes. Si, pendant la période de préactivation de 30 secondes, la portière du conducteur est déverrouillée à l'aide de la clé ou de la télécommande, ou la clé de contact est tournée à la position ACC ou ON, le dispositif ne s'active pas.
- Le dispositif peut ne pas s'activer si la clé est tournée lentement pour verrouiller la portière du conducteur. De plus, si la clé est tournée au-delà de la position verticale vers la position de déverrouillage, le dispositif peut se désactiver une fois la clé retiree. Si le témoin n'est pas resté allumé pendant 30 secondes, déverrouillez la portière et verrouillez-la de nouveau.
- Mème lorsque le conducteur et des passagers se trouvent dans le vehicule, le dispositif s'active si toutes les portières sont fermées et verrouillées, et si la clé de contact est à la position OFF.
Activation du dispositif de sécurité du vehicule
L'alarme déclenchée par le dispositif de sécurité du vehicule implique les éléments suivants :
- Les phares clignotent et l'avertisseur sonore retentit par intermittence.
L'alarme s'eteint automatiquement après environ 50 secondes. Par contre, en cas d'une nouvelle effraction, elle s'active de nouveau. L'alarme s'arrête lorsque vous déverrouillez la portière du conducteur au moyen de la clé ou que vous appuyez sur la touche de la télécommande.
L'alarme s'active si :
- une portière est ouverte sans utiliser la clé ou la télécommande (meme si la portière est déverrouillée à l'aide de la commande de verrouillage interieure ou de l'interrupteur de verrouillage électrique des portières).
Neutralisation de l'alarme
L'alarme s'arrête seulement si vous déverrouille la portière du conducteur au moyen de la clé ou si vous appuyez sur la touche de la télécommande.
DISPOSITIONIF ANTIDÉMARRAGE DU VÉHICULE NISSAN (selon
I'equipement du vehicule)
Le dispositif antidémarrage du vehicule Nissan empêche le démarrage du moteur sans clé programmée.
Si on se sert d'une clé NVIS programmée et que le moteur refuse quand même de démarrer (par exemple, en présence d'interférences causées par une autre clé programmée, par un dispositif pour poste de péage automatisé ou par un dispositif de paiement automatique se trouvant sur votre porte-clés), procédez comme suit :
- Laissez le contacteur d'allumage à la position ON pendant environ cinq secondes.
- Tournez-le ensuite à la position OFF ou LOCK et attendez environ 10 secondes.
- Recommencez les étapes 1 et 2.
- Tentez de nouveau de faire demarrer le moteur au moyen de votre clé programmee NVIS tout en tenant le dispositif (ayant cause des interférences) à l'écart.
Si le moteur refuse toujours de démarrer, NIS-SAN vous recommende de placer votre clé NVIS programme sur un autre porte-clés afin d'éviter les interférences causées par les autres dispositifs.
Énoncé de l'article 15 des règlements de la FCC concernant les dispositifs antidémarrage du vehicule NISSAN
Ce dispositif est conforme à l'article 15 des règlements de la FCC et au règlement RSS-210 d'Industrie Canada. Son utilisation est soumise aux conditions suivantes :
(1) Ce dispositif ne doit causeer aucune interfequence nuisible, et (2) il doit accepter toutes les interférences, y compris celles qui peuvent l'activer de façon inopinée.
TOUTE MODIFICATION D'UN DISPOSITIF NON CONFORME AUX NORMES DE LA PARTIE RESPONSABLE PEUT ANNULER LE DROIT DE L'UTILISATEUR DE DISPOSER D'UN TEL ÉQUIPEMENT.

SAN dés que possible. Veuillez apporter toutes vos clés programmes lorsque vous vousprésentez chez un concessionnaire NISSAN pour faire réparer ce système.
Témoin de sécurité
Le témoin de sécurité clignote lorsque le contacteur d'allumage se trouve à la position LOCK, OFF ou ACC. Cette fonction indique que le système antidémarrage du vehicule NISSAN est en état de marche.
Lorsque la clé de contact est à la position ON et que le témoin reste allumé, cela indique une anomalie du système antidémarrage du vehicule NISSAN.
Si le témoin reste allumé ou que le moteur ne démarre pas, rendez-vous chez un concessionnaire NISSAN pour faire réparer le système antidémarrage du vehicule NIS-
COMMANDE DE LAVE-GLACE ET D'ESSUIE-GLACES DE PARE-BRISE

FONCTIONNEMENT DU COMMUTATEUR
Les essuie-glaces et le lave-glace de pare-brise fonctionnent lorsque le contacteur d'allumage est à la position ON.
Poussez le levier vers le bas pour actionner les essuie-glaces aux réglages suivants :
1 Intermittent (INT) - le fonctionnement inter- mittent se regle en tournant le bouton vers A cycles plus longs) ou B cycles plus courts).
(2) Basse vitesse (LO) — les essuie-glaces fonctionnent en continu à basse vitesse
Haute vitesse (HI) — les essieu-glaces fonctionnent en continu à haute vitesse
Poussez le levier vers le haut ④ pour obtenir un seul cycle de balayage.
Pour activer le lave-glace ⑤ , tirez le levier vers vous. Les essuie-glaces exécuteront également plusieurs cycles de balayage.

AVENTISSEMENT
Lorsque la température est inférieure au point de congélation, le liquide lave-glace risque de geler sur le pare-brise et de vous obstruer la vue, ce qui peut entrainer un accident. Faites fonctionner le dégivreur pour réchauffer le pare-brise avant de le nettoyer.

MISE EN GARDE
- N'actionnez pas le lave-glace pendant plus de 30 secondes.
-
N'actionnez pas le lave-glace si le réservoir de liquide lave-glace est vide.
-
Ne remplissez pas le réservoir de liquide lave-glace avec des concentrates non dilués. Les éclaboussures de certains concentrates de liquide lave-glace au methanol peuvent tacher la calandre de façon permanente pendant le remplissage du réservoir de liquide lave-glace.
- Mélangez le concentré de liquide lave-glace avec de l'eau conformément aux recommendations du fabricant avant de verser le mélange dans le réservoir de liquide lave-glace de votre vehicule. N'effectuez pas ce mélange dans le réservoir même.
INTERRUPTEUR DE DÉGIVRAGE DE LUNETTE ARRIÈRE ET DE RÉTROVISEUR EXTERIEUR (salon l'équipement du vehicule)

LICO783
Pour dégiver la lunette arrête et les rétroviseurs extérieurs (selon l'équipement du vehicule), faites démarrer le moteur et appuyez sur l'interrupteur de dégivrage de lunette arrière. Le témoin de dégivreur de lunette arrérique qui se trouve sur l'interrupteur s'allume. Appuyez de nouveau sur l'interrupteur pourmettre le dégivreur hors fonction.
Le dégivreur de lunette arrête s'est int automatiquement environ 15 minutes après son activation.
AMISE EN GARDE
Au moment du nettoyage de la paroi interieure de la lunette arriere, prenez soit de ne pas égratigner ou d'endommager le dégivreur.
INTERRUPTEUR DES PHARES ET DES CLIGNOTANTS

Type A
INTERRUPTEUR DES PHARES
Eclairage
① Les feu des stationnement avant, les feu arrière, l'éclairage de la plaque d'immatriculation et l'éclairage de la planche de bord s'allument lorsque le sélecteur est placé à la position DDE.
(2) Les phares s'allument et les autres feuels demeurent allumés lorsque le selecteur est place à la position

Type B

Type C
AMISE EN GARDE
Pour éviter de décharger la batterie, allumez les phares seulement lorsque le moteur tourne.

Système des phares automatiques (selon l'équipement du vehicule)
Le dispositif de phares automatiques permet l'activation et la désactivation automatiques des phares. Le dispositif peut :
- allumer les phares, les feuels de stationnement avant, les feuels arrirere et l'éclairage de la plaque d'immatriculation et du tableau de bord lorsqu'il fait nombre;
- étéindre tous les feuels lorsqu'il fait jour;
- laisser tous les feuels allumés pendant 45 secondes après la coupure du contact alors que toutes les portières sont fermées.
Pour activer le dispositif des phares automatiques:
- Tournez le sélecteur des phares à la position AUTO ①.
- Tournez la clé de contact à la position ON.
- Le dispositif des phares automatiques allume et eteint automatiquement les phares.
Par défaut, si le contacteur d'allumage est tourné à la position OFF et si une portière est ouverte et demeure ouverte, les phares demeurent allumés pendant cinq minutes. Mais si une autre portière est ouverte pendant ce décai, le temporisateur se réinitialise.
Pour désactiver le dispositif des phares automatiques, tournez le sélecteur à la position OFF, éde ou 。

Assurez-vous qu'aucun objet n'est déposé sur la cellule photoélectrique de commande automatique des phares ① , située sur le dessus de la planche de bord. La cellule photoélectrique commande le dispositif des phares automatiques. Si un objet la recouvre, elle assimile l'absence de lumière ainsi provoquee à une condition nocturne et réagit en activant les phares. Une telle situation pourrait entrainer la décharge de la batterie de votre vehicule si vous stationnez ce dernier alors que le moteur est à l'arrêt et que la clé de contact est à la position ON.

Selection des faisceaux route
1 Pour selectionner les faisceaux route, poussez le levier vers l'avant. Les faisceaux route et le témoin 0 s'allument.
② Tirez le levier vers l'arrête pour seLECTIONner les yeux de croissement.
③ Les faisceaux route sont actifs et désactifs lorsque vous tirez puis relâchéze le levier.
Dispositif antidécharge de la batterie
Si le contacteur d'allumage est à la position OFF alors que le sélecteur des phares se trouve à la position ou , les phares demeure-ront allumés pendant cinq minutes.
À la suite de la coupure automatique des phares alors que le sélecteur est en position à l'offre ou à l'offre, les phares s'allumeront de nouveau pendant cinq minutes si le sélecteur des phares est placé à la position OFF, puis de nouveau à la position à l'offre.

MISE EN GARDE
Meme si le dispositif antidécharge de la batterie eteint automatiquement les phares après un certain temps, mettez le selecteur des phares en position OFF lorsque le moteur ne tourne pas, pour ne pas décharger la batterie.
PHARES DE JOUR (Canada tableau)
Les phares s'allument automatiquement à intensité réduite lorsque le frein de stationnement est desserré après le démarrage du moteur. Les phares de jour fonctionnent lorsque le sélection des phares se trouve à la position OFF ou à la position DAE. Tournez le sélection des phares à
la position pour obtenir une intensité d'éclairage maximale destinée à la conduite de nuit.
Les phares de jour ne s'allument pas au démarriage du moteur si le frein de stationnement est serré. Ils s'allument lorsque le frein de stationnement est desserré. Ces phares restent allumés jusqu'à ce que le contacteur d'allumage soit tourné à la position OFF.

AVERTISSEMENT
Les feuux arriré de votre vehicule sont éteints lorsque les phares de jour sont allumés. Vous doivent allumer les phares de leur vehicule à la brunante. Le non-respect de cette directive risque de causeur un accident et des blessures à vous même et à autreui.

COMMANDE DE LUMINOSITÉ DE L'ÉCLAIRAGE DE LA PLANCHE DE BORD
La commande de luminosité de la planche de bord fonctionne lorsque le sélection des phares se trouve à la position DDE, ou AUTO (avec les phares automatiques actifs).
Tournez cette commande A pour regler l'intensité d'éclairage du tableau de bord lorsqu'youe conduisez la nuit.

LIC0563
COMMANDDE DES CLIGNOTANTS
Clignotants
① Déplacez le levier de la commande des clignotants vers le haut ou vers le bas pour indiquer la direction du virage. Les clignotants s'arrêtent automatiquement lorsque vous complètez votre virage.
Signal de changement de voie
② Pour signaler votre intention de changer de voie, déplacez le levier vers le haut ou vers le bas jusqu'à ce que le clignotant s'active, mais sans enclencher le levier.

COMMUTATEUR DES PHARES
ANTIBROULLARD (selon
I'equipement du vehicule)
Pour allumer les phares antibrouillard, tournez l'interrupteur des phares à la position 日 , puis tournez le commutateur des phares antibrouillard à la position 日
Pour allumer les phares antibrouillard lorsque l'interrupteur des phares est en position AUTO (automatique, selon l'équipement du vehicule), les phares doivent être allumés, puis tournez le commutateur des phares antibrouillard en position 0.
Pour eteindre les phares antibrouillard, tournez le commutateur des phares antibrouillard en position OFF.
Les phares doivent être allumés à la position des deux de croisement pour que les phares antibrouillard puissant fonctionner. Les phares antibrouillard s'eteignent automatiquement lorsque les faisceaux route sont sélectionnés.
INTERRUPTEUR DES FEUX DE DÉTRESSE

LICO394
Appuyez sur cet interrupteur pour signaler aux conducteurs des autres vehiculesYOUR intention d'immobiliser ou de stationner d'urgenceYOUR vehicule. Tous les clignotants de�te vehicule seront ainsi actives.
AVERAGEMENT
-
Si vous devez vous arrêté en cas d'urgence, stationnez le vehicule aussi loin que possible de la route.
-
N'actionnez pas les feuels de détresse lorsque vous roulez sur l'autoroute, à moins que des circonstances inhabituelles ne vous forcent à conduire votre vehicule à une vitesse très BASSE qui pourrait se révêler dangereuse pour les autres automobilistes.
- Les clignotants ne fonctionnent pas lorsque les yeux de détresse sont actifs.
Les feu de détresse de votre vehicule fonctionnent, peu importe la position du contacteur d'allumage.
Certains États interdisent l'utilisation des yeux de détresse lorsque le vehicule est en mouvement.
VERTISSEUR SONORE

LIC0604
Pour actionner l'avertisseur sonore de votre vehicule, appuyez sur le rembourse central du volant.
AVERAGEMENT
Ne tentez pas de démonter l'avertisseur sonore. Une telle action pourrait comprometer le fonctionnement du coussin gonflable avant. Toute alération des coussins gonflables avant peut entrainer des blessures graves.
INTERRUPTEUR D'ÉCLAIRAGE DE L'AIRE DE CHARGEMENT
SIÉGE CHAUFFANT (selon l'équipement du vehicule)

LIC0616
Pour activer l'éclairage de l'aire de chargement, poussez l'interrupteur vers le bas à la position ON.

MISE EN GARDE
Assurez-vous de tournier le commutateur d'éclairage à la position d'arrêt lorsque vous quittez le vehicule pour une période prolongée, sinon la batterie se décharger.

LIC1041
Les sièges avant sont rechauffés par des dispos-ritifs de chauffage intégrés (selon l'équipement du vehicule).
- Démarrez le moteur.
- Appuyez sur la partie LO (faible chaleur) ou HI (chaleur elevée) du commutateur pour régler la température au niveau désire. Le témoin du commutateur activé s'allume.
Le dispositif de chauffage est commande par un thermostat qui active ou désactive automatiquement le dispositif de chauffage. Le témoin reste allumé tant que le commutateur se trouve à la position de marche.
- Assurez-vous de placer le commutateur à la position d'arrêt lorsque le siège est suffisamment chaud ou lorsque vous quittez le vehicule.

MISE EN GARDE
- N'utilisez pas le dispositif de chauffage du siège pendant de longues périodes ou lorsque personne n'y a pris place.
- Ne posez rien sur le siège qui puisse isoler la chaleur (couverture, coussin, housse de siège, etc.) et cause la surchauffe du siège.
- Ne déposez pas d'objets durs ou lourds sur le siège et ne perf freeze pas celui-ci avec une broche ou un autre objet similaire. Ceci pourrait endommager le dispositif de chauffage du siège.
- Tout liquide renversé sur le siège chauffant doit être nettoyé immidiatement avec un chiffon sec.
-
N'utilisez jamais d'essence, de benzène, de solvant ou de produit similaire pour nettoyer les sièges.
-
En cas d'anomalie ou de nonfonctionnement du siège chauffant, mettez le commutateur en position d'arrêt et faites vérifier le dispositif par votre concessionnaire NISSAN.
- La batterie peut se décharger si le dispositif de chauffage des sièges est activé et si le moteur ne tourne pas.
INTERRUPTEUR DU DISPOSITIF DE CONTROLE DYNAMIQUE DU VEHICULE (VDC) (selon l'équipement du vehicule)

WIC0534
Le dispositif de contrôle dynamique du vehicule devrait etre activede la plupart des conditions de conduite.
Si le vehicule est enlisé dans la boue ou la neige, le dispositif de contrôle dynamique du vehicule réduit la puissance du moteur afin de diminuer le patinage des roues. Le régime du moteur restera bas, même si l'accéléateur est complètement enforcé. Si une puissance maximale est requise pour libérer un vehicule embarbé, désactive le dispositif de contrôle dynamique du vehicule.
Pour désactiver le dispositif de contrôle dynamique du vehicule, appuyez sur l'interrupteur VDC OFF. Le témoin [OFF] s'allume.
Pour reactiver le dispositif, appuyez de nouveaux sur l'interrupteur VDC OFF, ou faites redémarrer le moteur. Consultez la section « Dispositif de contrôle dynamique du vehicule » du chapitre « Demarrage et conduite »
INTERRUPTEUR DU DISPOSITIF D'ASSISTANCE EN DESCENTE (HDC) (selon l'équipement du vehicule)

LIC0743
A VERTISSEMENT
- Ne vous fiez jamais uniquement au dispositif d'assistance en descente pour maitriser la vitesse du vehicule sur des pentes raides. Conduisez toujours prudiment lorsque vous utilisez le dispositif d'assistance en descente et decelerez au besoin en enfontant la pédale de frein. Soyez particulièrement vigilant lorsque le terrain est gelé ou boueux, ou si vous ne peuventz plus maitriser la vitesse du vehicule, vous pourriez en perdre les commandes et risquer des blessures sérieues, voire mortelles.
- Le dispositif d'assistance en descente pourrait être impuissant devant certaines conditions de charge ou d'état du terrain. Gardez toujours le pied pres de la pédale de frein en cas de besoin. Sinon, vous risqueriez une collision ou de graves blessures.
AMISE EN GARDE
Si le dispositif d'assistance en descente est trop longtemps sollicité, les plaquettes de frein risquent de surchauffer et le dispositif d'assistance pourrait se désactiver (le témoin se mettrait à clignoter). Si le témoin ne s'allume pas en continu après avoir clignoté, cessez de recourir au dispositif.
Le dispositif d'assistance en descente vient en aide au conducteur lorsque le terrain est en pente raide. Le dispositif d'assistance en descente libéré le conducteur de certaines contraintes afin qu'il puisse更好地 maintainir le cap de son vehicule.
Pour activer le dispositif d'assistance en descente:
- Le levier sélecteur de la boîte de vitesses doit se couver dans une position de marche avant ou de marche arrêté.
-
La commande de mode 4 roues motrices doit se couver en position 4L et la vitesse du vehicule doit être inférieure à 25 km/h (15 mi/h).
-
La commande de mode 4 roues motrices doit se couver en position 4H et la vitesse du vehicule doit être inférieure à 35 km/h (21 mi/h).
-
L'interrupteur du dispositif d'assistance en descente doit être en position de marche.
Le témoin de fonctionnement du dispositif d'assistance en descente s'allume lorsque le dispositif entre en fonction. Également, les feués d'arrêt-feux arrirées s'allument lorsque le dispositif d'assistance en descente applique les freins pour maîtriser la vitesse du vehicule.
Si vous appuyez sur l'accelerateur ou sur la pedale de frein lorsque le dispositif d'assistance en descente est en fonction, ce dernier se désactive momentarilyement. Dans que vous relâchez l'accelerateur ou la pedale de frein, le dispositif d'assistance en descente entre de nouveau en fonction si les conditions l'exigent.
Le témoin du dispositif d'assistance en descente clignote si l'interrupteur est en position de marché et si toutes les conditions d'activation du dispositif ne sont pas respectées, ou si le dispositif se désactive pour une raison quelconque.
Pour désactiver le dispositif d'assistance en descente, mettez l'interrupteur en position d'arrêt.
Pour obtenir de plus amples renseignements, consultez la section « Témoin de fonctionnement du dispositif d'assistance en descente » vue précédément dans ce chapitre, et la section « Dispositif d'assistance en descente » du chapitre « Démarriage et conduite » duprésent manuel.
INTERRUPTEUR DU DISPOSITIF E-LOCK (verrouillage électronique du différentiel arrêté) (selon l'équipement du vehicule)

LIC0729
Le dispositif E-Lock (verrouillage électronique du différentiel arrêté) permet d'améliorer la motricité lorsque le vehicule s'enlise ou est enlisé.
Pour activer le dispositif E-Lock :
- le commutateur 4WD doit se couver en position 4LO (vehicules à quatre roues mo-trices);
- le vehicule doit être immobilisé ou se déplacer à une vitesse maximale de 7 km/h (4 mi/h);
- l'interrupteur du dispositif E-Lock doit etre en position ON.
Lors de la mise en fonction initiale du dispositif de verrouillage électronique du différentiel arrêté, le témoin clignote jusqu'à ce que le système s'engage. Cependant, si toutes les conditions ci-dessus ne sont pas réunies ou si le dispositif se désengage, le témoin continue de clignoter.
L'antiblocage est mis hors fonction et le témoin ABS s'allume lorsque le dispositif E-Lock est activé. En outre, le dispositif de contrôle dynamique du vehicule est désactiver et le témoin VDC s'allume lorsque le dispositif E-Lock est activé.
Pour obtenir de plus amples renseignements, reportez-vous à la section « Dispositif E-Lock (verrouillagelectronique du différentiel arriere) » du chapitre « Demarrage et conduite »

AVENTISSEMENT
- Ne laïsez jamais le dispositif E-Lock activé lorsque vous circuez sur des chaussées normales ou pavées. Les roues arrêtère pourraient déraper dans les virages et causer un accident entrainant des blessures. ÀpRES avoir dégagé le vehicule grâce au dispositif E-Lock, mettez ce dernier hors fonction.
Utilisez le dispositif E-Lock uniquement pour tenter de dégager le vehicule s'il est enlisé. Essayez d'abord la position de gamme 4LO avant de recourir au dispositif E-Lock. Ne vous en servez jamais sur une chaussée glissante telle qu'une route enneigée ou verglacée. L'activation du dispositif E-Lock dans de telles conditions routières peut engendrer un comportement inattendu du vehicule en cas d'utilisation du frein moteur, pendant les accelerations ou dans les virages, ce qui peut entraîner un accident et des blessures graves.

MISE EN GARDE
- Àprouvés avoir eu recours au dispositif E-Lock, placez l'interrupteur à la position OFF pour prévenir tout dommage potentiel aux éléments de boîte de vittesses à la suite de leur sollicitation excessive.
-
Ne roulez pas à plus de 20 km/h (12 mi/h) lorsque le dispositif est activé. Vous risqueriez d'endommager la boîte de vitesses.
-
N'activez pas le dispositif E-Lock pendant que les roues patinent. Cela pourrait endommager les composants de la boîte de vitesses.
CONTACTEUR DE POSITION DE LA PEDALE D'EMBRAYAGE (selon l'équipement du vehicule)

WIC0817

AVERTISSEMENT
Portez une attention spéciale à votre environnement lorsque vous utilisez le contacteur de position de la pedale d'embrayage. Le vehicule se déplacera vers l'avant ou l'arrière en fonction du rapport selectionné.
Le contacteur de position de la pédale d'embrayage permet de démarrer le moteur sans enforcer la pédale d'embrayage. Cette fonction vous aide à redémarrer le moteur s'il s'arrête en conditions difficiles. (Par exemple, si le moteur
s'arrête dans une pente prononcée et si un léger mouvement vers l'avant ou l'arrière peut se révêler dangereux.)
Pour utiliser le contacteur de position de la pédale d'embrayage :
- Serrez le frein de stationnement.
- Enforcez la pedale de frein avec le pied croit.
- Placez le levier de vitesse en position 1 pour aller de l'avant ou R pour reculer.
- Placez votre pied gauche sur la pédale de frein et relâchéz le frein de stationnement.
- Tournez le contacteur d'allumage à la position ON.
-
Appuyez brievement sur le contacteur de position de la pédale d'embrayage. Le témoin CANCEL du contacteur s'allume.
-
Tournez la clé de contact en position START pour démarrer le moteur et enforcez simultanément la pédale d'accéléateur du pied croit. Lorsque le vehicule commence à se déplacer, retirez votre pied gauche de la pédale de frein. Le tímoin CANCEL du contacteur de position de la pédale d'embrage s'eteint lorsque le moteur démarre. N'utilise pas le contacteur de position de la pédale d'embrage pour démarrer le moteur en conditions normales de conduite.

Rangee avant
Les prises de courant de votre vehicule seront à brancher des accessoires électriques tels que des téléphones cellulaires.
La prise d'alimentation inférieure du tableau de bord est directement alimentee par la batterie du vehicule
La prise d'alimentation supérieure du tableau de bord (selon l'équipement du vehicule) et la prise d'alimentation située à l'intérieur de la console centrale sont alimentées uniquement lorsque la clé de contact se trouve à la position ACC ou ON.

Console centrale
Ouvrez le capuchon avant d'utiliser une prise de courant.

MISE EN GARDE
- La prise et la fiche peuventvenir chaudes pendant ou immédiatement après l'utilisation.
-
Seules certaines prises d'alimentation sont conçues pour recevoir un allumecigare. N'utilisez aucune autre prise pour cet accessoire. Pour obtenir de plus amples renseignements, consultez votre concessionnaire NISSAN.
-
N'utilisez pas d'accessoires consommant plus de 12 V, 120 W (10 A). N'utilisez pas d'adaptateurs doubles et ne branchez pas plus d'un accessoire électrique dans la même prise.
Utilisez les prises de courant seulement lorsque le moteur tourne afin d'eviter de décharger la batterie du vehicule. - Évitez d'utiliser les prises de courant lorsque le climatiseur, le dégivreur de lunette arrête ou les phares sont en fonction.
- Avant de brancher ou de débrancher un accessoire électrique, assurez-vous que l'accessoire est étéint.
- Enforcez la fiche le plus loin possible. Si le contact n'est pas établi ajustement, la fiche peut surchauffer ou le fusible de température interne peut griller.
Assurez-vous que le capuchon est fermé lorsque vous n'utilise pas la prise. Évitez demettre la prise en contact avec de l'eau.
RANGEMENT

Plateau central supérieur PLATEAUX DE RANGEMENT

Modèle à boite automatique

Modèle à boite manuelle (selon l'équipement du vehicule)

AVERTISSEMENT
Afin de prévenir les blessures en cas d'accident ou d'arrêt brusque, ne déposez pas d'objets acérés dans les bacs.

Modèle à boite manuelle (selon l'équipement du vehicule)

Bac de rangement sous le siège de deuxieme rangée (modèle King Cab)

Bac de rangement sous le siège de deuxieme rangée (modèle à cabine double)
BACS DE RANGEMENT SOUS LE SIÉGE

AVERTISSEMENT
Fixez solidement tous les bagages à l'aide de cordes ou de sangles afin d'eviter qu'ils ne glissent ou se déplacent. En cas d'arrêt brusque ou de collision, les bagages non retenus pourraient entraîner des blessures.
- La charge contenue dans les bacs de rangement sous le siège ne doit pas dépasser les limites de poids numériées ci-dessous, sinon les bacs peuvent ne pas demeurer fixés. En cas d'arrêt brusque ou de collision, des bacs mal fixés peuvent cause des blessures.
Modèle King Cab : 7,25 kg (16 lb)
Modèle à cabine double
Côté conducteur : 7,25 kg (16 lb)
Côté passager : 11,33 kg (25 lb)
- Si vous retirez les bacs de rangement sous les sièges pour chaque raison que ce soit, assurez-vous de les ranger correctement afin d'éviter qu'ils ne causent des blessures ou des dommages en cas d'arrêt brusque ou d'accident.
- Ne placez pas d'objets tranchants dans les bacs de rangement sous les sièges. En cas d'accident, de tels objets peuvent开发商 des projectiles dangereux qui risquent de causeer des blessures.
Accès aux bacs de rangement situés sous un siège :
Dans le cas du modele King Cab, levez le strapontin.Consultez la section «Strapontins» du chapitre « Securite — Sièges, ceintures de sécurité et dispositifs de protection complémentaires » vu precedemment dans ce manuel.
Dans le cas du modele à cabine double, levez la banquette arriere. Consultez la section « Rabat de la banquette arriere » du chapitre « Sécurité – Sièges, ceintures de sécurité et dispositifs de protection complémentaires » vu précédemment dans ce manuel.

Pour retirer les bacs de rangement sous le siège :
- Retirez le filet de rangement.
- Retirez le plateau en le soulevant hors du bac de rangement (modèle King Cab).
- Tournez les boutons en position de DÉVER-ROUILAGE (2).
Pour installer les bacs de rangement sous le siège :
- Placez le bac de rangement sous le siège pour que les orifices s'alignent avec les orifices du plancher.
- Insérez les boutons et tournez-les en position de VERROUILLAGE ①.



COMPARTIMENT DE LA CONSOLE
AVENTISSEMENT
La conduite du vehicule exige toute votre attention : n'utilisez donc pas le compartment de la console centrale en conduisant.
Tirez sur le levier ② pour ouvrir le couvercle du compartment de la console ①
BOITE A GANTS
Pour ouvrir la partie supérieure de la boîte à gants, soulevez le loquet A , puis soulevez le couvercle.
Pour ouvrir la partie inférieure de la boîte à gants, abaissez la poignée (B), puis le couvercle.
Pour verrouiller ou déverrouiller la boîte à gants, utilisez la clé principale. La boîte à gants ne peut pas être verrouillée ou déverrouillée à l'aide de la clé de sûreté.

AVERTISSEMENT
Pour prévenir les blessures en cas d'accident ou d'arrêt brusque, la boite à gants devrait toujours être fermée lorsque le vehicule est en mouvement.

AMISE EN GARDE
- N'y déposez rien d'autre que des lunéttes de soleil.
- Ne laïsez pas de lunettes de soleil dans le range-lunettes si vous stationnez votre vehicule au soleil. La chaleur pourrait endommager les lunettes.

VIDE-POCHES
RANGE-LUNETTES DE SOLEIL
(selon l'équipement du vehicule)
Pour ouvrir le range-lunettes, appuyez brievement sur son couvercle.

AVERTISSEMENT
- Pour prévenir les risques d'accident, laissez le range-lunettes fermé lorsque vous conduisez.

Modèle King Cab

Modèle à cabine double

VIDE-POCHES DE SIEGE (selon l'équipement du vehicule)
Un vide-poches est situé à l'arrière du siège du conducteur. Un petit vide-poches se trouve également sur le côté interieur du siège du passager.


Avant
PORTE-TASSES
Les portetasses avant sont munis d'adaptateurs que vous pouvez-retirer pour déposer des tasses de plus grandes dimensions.

AVERTISSEMENT
La conduite du vehicule exige toute votre attention : n'utilisez donc pas le portetasse en conduisant.

MISE EN GARDE
- Évitez de démarrer ou de freiner brusquement lorsque le porte-tasse est utilisé, car le liquide pourrait se renverser. Si le liquide est chaud, votre passager et vous pourriez être brûlés.
- Ne déposez que des tasses faites de matérieliaux couples dans le porte-tasse. Des objets durs pourraient vous infliger des blessures en cas d'accident.

Deuxieme rangée (a l'arriere de la console avant)
Abaissez le couvercle pour ouvrir les portetasses de deuxieme rangée (à l'arriere de la console avant). Pour les referrer, relevez le couvercle.

Porte-bouteille (rangée avant)

MISE EN GARDE
- N'utilisez pas le support à bouteille pour retenir d'autres types d'objets qui pourrait être projetés dans le vehicule et infliger des blessures aux occupants en cas de freinage brusque ou d'accident.
- N'utilisez pas le porte-bouteille pour retenir des bouteilles de liquide ouvertes.

Porte-bouteille (deuxieme rangée, cabine double)

PORTE-BAGAGES (selon l'équipement du vehicule)
La charge du porte-bagages tubulaire doit tous jours etre répartie uniformément.Lorsqu'elle est répartie uniformément sur le portebagages,la charge totale maximale est de
56 kg (125 lb). Assurez-vous que votre vehicule ne dépasse pas le poids nominal brut du vehicule (PNBV) ou le poids technique maximal sous essieu (PTME avant et arrêté). Les specifications relatives au PNBV et au PTME sont indiquées sur l'étiquette d'homologation F.M.V.S.S. (située sur le montant de portière du conducteur). Pour ob
tenir de plus amples renseignements concernant les PNBV et PTME du vehicule, consultez la section « Information relative au chargement du vehicule » du chapitre « Données techniques et information au consommateur » plus loin dans ce manuel.
La barre transversale avant peut être réglée ou retiree. Utilisez le tournevis à pointe à six lobes (Torx) de la trousse à outils pour desserrer les deux vis de réglage des traverses.
Pour régler la fonction :
- Desserrez les vis de réglage à l'aide du tournevis Torx ① en les tournant dans le sens contraire des aiguilles d'une montré A.
- Lorsque la bride de fixation est desserrée, déplacez la traversse (B) pour que la charge puisse y'être déposée.
- Serrez les vis de réglage à l'aide du tournevis Torx en tournant dans le sens des aiguilles d'une montre.
- Attachez solidement les bagages à l'aide d'une corde.
- Vérifiez toujours si les vis de réglage des traverses sont suffisamment serrées.
GLACES
Pour le retrait :
- Desserrez les vis de réglage à l'aide du tournevis Torx ① en les tournant dans le sens contraire des aiguilles d'une montré A.
- Tournez les brides de fixation (C).
- Retirez la barre transversale.
- Aux fins de réinstallation, suivez cette procédure dans l'ordre inverse.
- Vérifiez toujours si les vis de réglage des traverses sont suffisamment serrées.
Si, pendant que vous roulez, vous-percevez un sifflement en provenance du porte-bagages, reglez sa traverser en position neutre, à l'arrière du sur les longerons.

AVERTISSEMENT
Fixez solidement tous les bagages à l'aide de cordes ou de sangles afin d'eviter qu'ils ne glissant ou se déplacent. En cas d'arrêt brusque ou de collision, les bagages non retenus pourraient entraîner des blessures.
AMISE EN GARDE
Soyez prudent en installer des articles sur la galerie de toit ou en les enlevant. Si vous ne pouvez soulever sans effort les articles et les déposer sur la galerie de toit, utilisez une échelle ou un tabouret.
GLACES ÉLECTRIQUES (selon l'équipement du vehicule)

AVERTISSEMENT
Assurez-vous que tous vos passagers ont les mains, les bras, etc. à l'intérieur lorsque le vehicule est en mouvement et avant de relever les glaces. Servez-vous du commutateur de verrouillage des glaces pour empêcher l'utilisation imprévue des lève-glaces électriques.
- Ne laisses pas d'enfants sans surveillance dans le vehicule. Ils pourraient actionner par mégarde les commutateurs ou les commandes de lève-glace et se trouver coincés dans l'ouverture d'une des glaces. Des enfants laissés sans surveillance dans un vehicule pourrait être victimes d'accidents graves.
Les glaces électriques peuvent être activées lorsque le contacteur d'allumage est tourné à la position ON ou jusqu'à 45 secondes après la coupure du contact (position OFF). L'alimentation des glaces électriques est toute-fois neutralisée si la portière du conducteur ou celle du passager est ouverte durant cette période d'environ 45 secondes.

- Interrupteur de verrouillage des glaces
- Interrupteur de verrouillage électrique des portières
- Commande de glace électrique du côté passager avant
- Commande de glace du passager arrriere droit (modèles à cabine double seulement)
- Commande de glace du passage arriere gauche (modèles à cabine double seulement)
- Commande de glace électrique automatique du côté du conducteur
Commande des glaces électriques du côte conducteur
Le bloc de commande du côté du conducteur est muni de commandes qui permettent d'ouvrir ou de fermer les glaces des passagers avant et arrrière.
Pour ouvrir une glace, appuyez sur l'une des commandes et tenez-la enforcée. Soulevez et maintenez la commande pour refermer la glace. Pour interrompre l'ouverture ou la fermeture d'une glace, relâchez simplement la commande.

Commande de glace électrique du côté du passager avant
Seule la glace du passager correspondante peut etre manoeuvree au moyen de cette commande. Pour ouvrir la glace, appuyez sur la commande et maintenez-la enfoncée ① . Soulevez la commande pour refermer la glace ②

Commande des glaces électriques arrrière (modèles à cabine double seulement)
Les commandes des glaces électriques des passagers arrirée permettant seulement d'ouvrir ou de fermer la glace électrique du passager correspondant. Pour ouvrir la glace, appuyez sur la commande et maintenez-la enforcée ①. Tirez la commande vers le haut pour referrer la glace ②.
Verrouillage des glaces des passagers
Seule la glace du côté du conducteur peut être ouverte ou fermée lorsque l'interrupteur de verrouillage des glaces est enforcé. Pour déverrouiller les glaces, enforcez de nouveau l'interrupteur.

Fonctionnement automatique
Pour ouvrir complètement une glace dotée du fonctionnement automatique, appuyez sur l'interrupteur de glace jusqu'àu deuxieme cran et relâchéze-le. Il est inutile de le maintainir enforcé. La glace s'ouvre complètement. Pour interrompre l'ouverture de la glace, tirez la commande vers le haut.

GLACES MANUELLES
Les glaces laterales peuvent etre ouvertes et fermées en tournant la poignée sur chacune des portieres.

GLACE COULISSANTE ARRIÈRE (selon l'équipement du vehicule)
Serrez les poignées du levier ①, puis faites couilisser la glace en position ouverte ②.
TOIT OUVRANT (selon l'équipement du vehicule)

TOIT OUVRANT AUTOMATIQUE
Le toit ouvrant fonctionne seulement lorsque la clé de contact se trouve à la position ON. Le toit ouvrant peut fonctionner pendant environ 45 secondes, et ce, même si la clé de contact est à la position ACC ou OFF. L'alimentation du toit ouvrant électrique est toute fois coupée si la portière du conducteur ou du passager est ouverte durant cette période de 45 secondes.
Ouverture et fermetre du toit ouvrant
Pour ouvrir complètement le toit ouvrant, poussez l'interrupteur vers la position DOWN/OPEN ①.
Pour le referrer, puissez l'interrupteur vers la position UP/CLOSE ②.
Pour ouvrir ou fermer partiellement le toit ouvrant, enforcez le commutateur dans un sens ou dans l'autre pendant le fonctionnement du toit pour l'arreter à la position désirée.
Inclinaison du toit ouvrant
Fermez le toit ouvrant en poussant l'interrupteur vers la position UP/CLOSE ②. Relâchez ensuite l'interrupteur, puis poussez-le de nouveau vers la position UP/CLOSE pour incliner le toit ouvrant vers le haut.
Pour incliner le toit ouvrant vers le bas, poussez l'interrupteur vers la position DOWN/OPEN ①.
A VERTISSEMENT
- En cas d'accident, vous pourriez être ejecté du vehicule par le toit ouvrant si celui-ci est ouvert. Bouclez toujours les ceintures de sécurité et utilisez des dispositifs de retenue pour infant.
- Ne laïsez personne se tenirABOUT ou passer une partie de son corps par l'ouverture du toit ouvrant pendant que le vehicule roule ou pendant que vous fermez le toit ouvrant.
AMISE EN GARDE
- Retirez les gouttes d'eau, la neige, la glace ou le sable du toit ouvrant avant de l'ouvrir.
- Ne déposez pas d'objets lourds sur le toit ouvrant ou à proximé de ce dernier.
Fonction d'inversion automatique (pendant la fermeture ou l'inclinaison du toit ouvrant)
L'inversion automatique peut semettre en fonction si la commande automatique de fermeture ou d'inclinaison vers le bas du toit ouvrant est activée alors que la clé de contact est à la position ON ou jusqu'à 45 secondes environ après la coupure du contact.
L'inversion automatique peut également être activée par un impact ou une charge ayant le même effet qu'un object se trouvant dans la trajectory du toit ouvrant, selon l'environnement ou les conditions de conduite.
A VERTISSEMENT
Certaines zones très limitées et très rapprochées de la position de fermeture complète ne bénéficient pas de la fonction de détction. Assurez-vous donc que rien ne se trouve dans l'ouverture du tout ouvrant (par exemple, les mains des passagers, etc.) avant de le fermer.
Pendant la fermeture
Si l'unité de commande detecte la présence d'un object dans la trajectory du tout ouvrant se refermant, elle inversera immidiatement la course.
Pendant l'inclinaison vers le bas
Si l'unité de commande déetecte la présence d'un object dans la trajectory du toit ouvrant s'inclinant vers le bas, elle réinclinera immidiatement le toit vers le haut.
Si la fonction d'inversion automatique se dérègle et ouvre ou bascule vers le haut le toit ouvrant de façon répétitive, continuez à appuyer sur le commutateur d'inclinaison dans les cinq secondes suivantes; le toit ouvrant se fermera graduellement. Assurez-vous qu'il n'y a aucun object dans la trajectory du toit ouvrant.
ÉCLAIRAGE INTÉRIEUR
A VERTISSEMENT
- En cas d'accident, vous pourriez être éjecté du vehicule par le toit ouvrant si celui-ci est ouvert. Bouclez toujours les ceintures de sécurité et utilisez des dispositifs de retenue pour infant.
- Ne laïsez personne se tenirABOUT ou passer une partie de son corps par l'ouverture du toit ouvrant pendant que le vehicule roule ou pendant que vous fermez le toit ouvrant.
AMISE EN GARDE
- Retirez les gouttes d'eau, la neige, la glace ou le sable du toit ouvrant avant de l'ouvrir.
- Ne déposez pas d'objets lourds sur le toit ouvrant ou à proximé de ce dernier.
Pare-soileil
Faites glissez le pare-soleil vers l'avant ou vers l'arrière pour l'ouvrir ou le fermer.
Si le toit ouvrant ne se ferme pas
Faites vérifier et réparer le toit ouvrant par un concessionnaire NISSAN.

Type A
L'éclairage interieur est commandé par un commutateur à trois positions. Il fonctionne qu'elle que soit la position du contacteur d'allumage.
Lorsque le commutateur est à la position ON ①, l'éclairage interieur s'allume, qu'elle que soit la position de la portière. L'éclairage s'éteint après environ 30 minutes, à moins que la clé de contact ne soit tournée à la position ACC ou ON.
Si le sélecteur se trouve à la position O ②, l'éclairage interieur reste allumé pendant environ 30 secondes lorsque :

Type B
- les portières sont déverrouillées à l'aide de la télécommande, d'une clé ou de l'interrupteur de verrouillage électrique des portières alors que toutes les portières sont fermées et que le contacteur d'allumage est à la position OFF;
- la portière du conducteur est ouverte, puis reférmée sans que la clé ne se trouve dans le contacteur d'allumage;
- la clé est retiree du contacteur d'allumage lorsque toutes les portières sont fermées.

Type C
L'éclairage s'esteint pendant la temporisation de 30 secondes si :
- la portière du conducteur est verrouillée au moyen de la télécommande, d'une clé ou de l'interrupteur de verrouillage électrique des portières;
- le contacteur d'allumage est tourné à la position ON.
Lorsque les portières sont ouvertes, l'éclairage s'eteint automatiquement dans un début de 30 minutes pour éviter d'épuiser la batterie.
Lorsque le commutateur est à la position OFF ③, l'éclairage interieur ne s'allume pas, qu'elle que soit la position des portières.

MISE EN GARDE
Ne l'utilise pas pendant de longues périodes lorsque le moteur est arrêté, car la batterie pourrait se décharger.
LAMPES INDIVIDUELLES (selon I'equipement du vehicule)

Pour allumer les lampes individuelles, enforcez les interrupteurs correspondants. Enforcez les interrupteurs de nouveau pour eteindre ces lampes.

MISE EN GARDE
Ne les utilisez pas pendant de longues périodes lorsque le moteur est arrêté, car la batterie pourrait se décharger.
LAMPES DE LECTURE (selon l'équipement du vehicule)

Pour allumer les lampes de lecture, enforcez les interrupteurs correspondants. Enforcez les interrupteurs de nouveau pour eteindre ces lampes.

MISE EN GARDE
Ne les utilisez pas pendant de longues périodes lorsque le moteur est arrêté, car la batterie pourrait se décharger.
TELECOMMANDE UNIVERSELLE HOMELINKMD (selon l'equipement du vehicule)
La télécommande universelle HomeLink ^MD est un dispositif pratique qui combine jusqu'à trois télécommandes en une seule.
La télécommande universelle HomeLink ^MD :
- peut activer la plupart des dispositifs à fréquence radio tels que les portes de garage, les portails, l'éclairage de la maison et du bureau, les serrures de porte d'entrée et les systèmes de sécurité;
- est alimentée par la batterie de votre vehicule et ne requiert pas de piles individuelles. La programmation de la télécommande HomeLinkMD n'est pas effacée si votre batterie est débranchée ou si elle se décharge.
Une fois vous telécommande universelle HomeLinkMDprogrammée, conservez la telécommande originale aux fins de programmation ultérieure (p. ex., achat d'un nouveau vehicule). Si vous vendez votre vehicule, la programmation de votre telécommande universelle HomeLinkMD doit être effacée pour des raisons de sécurité. Pour obtenir de plus amples renseignements, reportez-vous à la section « Programmation de la telécommande universelle HomeLinkMD » plus loin dans ce chapitre.

AVERTISSEMENT
- N'utilisez pas la télécommande universelle HomeLinkMD avec un ouvre-porte de garage qui ne comporte pas de fonctions d'arrêt d'urgence et de marche arrrière telles qu'exigées par les normes de sécurité fédérales. (Ces normes s'appliquent aux modèles d'ouvre-porte de garage fabriqués après le 1er avril 1982.) Un ouvre-porte de garage qui ne peut pas détecter la présence d'un object se trouvant sous la portependant la fermeture, s'immobiliser automatiquement et faire ensuite marche arrière, n'est pas conforme aux normes de sécurité fédérales en vigueur. L'utilisation d'un tel ouvré-porte de garage accroit les risques de blessures graves ou mortelles.
- Pendant la procédure de programmation, la porte de votre garage ou la barrière de sécurité s'ouvre et se ferme (si vous utilisez la télécommande dans les limites de son champ d'action). Assurez-vous que rien ni personne ne se trouve dans le champ de la porte de garage, de la barrière de sécurité, etc. que vous actionnez en programmant la télécommande.
- Coupe le moteur avant de programmer la télécommande HomeLink ^MD .

PROGRAMMATION DE LA TÉLECOMMANDE UNIVERSELLE HOMELINK
- Maintenez d'abord les deux touches HomeLink MD extérieures enfoncées (pour effacer la mémoire) jusqu'à ce que le témoin ① se mette à clignoter (après 20 secondes). Relâchez les deux touches.
- Placez l'extrémité de votre télécommande portative à une distance de 25 mm à 75 mm (1 po à 3 po) de la surface de la télécommande universelle HomeLink ^MD .

- À l'aide de vos deux mains, appuyez simultanément sur la touche HomeLinkMD que vous souhaitez programmermer et sur celle de la télécommande portative.
NE relâchéz PAS les touches avant d'avoir terminé l'étape 4.
- Maintenez les deux touches enforcées jusqu'à ce que le témoin HomeLinkMD clignote, d'abord lentement, puis plus rapidement (pas plus de 90 secondes). Lorsque le témoin clignote rapidement, relâchéz les deux touches. Le clignotement rapide indique que la programmation a réussi. Pour actionner une porte de garage ou tout autre dispositif programme, appuyez sur la touche programmée HomeLinkMD jusqu'à ce que le dispositif s'actionne.
-
Le témoin HomeLink ^MD clignote rapidement pendant deux secondes et demeure allumé par la suite lorsque le dispositif HomeLink ^MD a détecté le signal de « code tournant » d'ouvre-porte de garage. Vous devrez alors passer aux étapes suivantes pour terminer la programmation du dispositif HomeLink ^MD . Ceci pourrait nécessiter l'usage d'une échelle et l'aide d'une autre personne.
-
Appuyez sur le bouton de programmation « Smart » ou « Learn » du moteur de l'ouvre-porte de garage pour activer le mode d'apprentissage. Ce bouton se trouve normalement pres du fil d'antenne suspendu au moteur. Si le fil débouché sous la lentille de l'éclairage, vous devrez retarder cette lentille pour atteindre le bouton de programmation.
NOTA :
Une fois que vous avez relachué le bouton de programmation du moteur d'ouvre-porte et que le témoin d'apprentissage est allumé, vous ne disposez que de 30 secondes pour effectuer l'étape 7. La contribution d'une autre personne est fortement recommandée pouraccomplir cette étape.
- Dans les 30 secondes suivant l'activation du bouton de programmation de l'ouvre-porte de garage, appuyez fermement mais brievement sur la touche HomeLinkMD que vous venez de programmer. Appuyez jusqu'à trois fois sur la touche HomeLinkMD pour compléter la procédure d'apprentissage.
- La touche de votre dispositif HomeLink MD devrait maintainant etre programmee. (Pour programmer le reste des touches HomeLink MD et ainsi actionner d'autres portes ou barrières, n'effectuez que les étapes 2 à 8.)
NOTA :
Ne repetez pas l'etape 1, à moins que vous ne souhaitiez effacer la programmation de toutes les touches HomeLink ^MD .
Si vous avez des questions concernant la programmation des touches de votre dispositif HomeLink ^MD , ou si vous éprouvez des difficultés au cours de la programmation, consultez le site Web de HomeLink ^MD à l'adresse suivante: www.homelink.com, ou composeze le 1 800 355-3515.
PROGRAMMATION DE LA TÉLÉCOMMANDE HOMELINKMD POUR LE CANADA
Avant 1992, le règlement du ministère canadien des Communications exigeait l'interruption de la transmission des télécommandes portatives après deux secondes. Pour programmermer votre télécommande portative dans la télécommande HomeLink ^MD , continuez d'appuyer sur la touche de la télécommande universelle HomeLink ^MD (consultez les étapes 2 à 4 de la section « Programmation de la télécommande universelle HomeLink ^MD ») et appuyez toutes les deux secondes « un cycle ») sur votre télécommande portative jusqu'à ce que le témoin clignote rapidement (ce qui indique la réussite de la programmation).
NOTA :
Si vous programmez un ouvre-porte de garage ou un autre dispositif du même type, il est conseilé de débrancher le dispositif pendant le processus de « cyclage » afin d'éviter d'endommager ses composants.
UTILISATION DE LA TÉLÉCOMMANDE UNIVERSELLE HOMELINKMD
Une fois programmée, la télécommande universelle HomeLinkMD peut être utilisée pour actionner une porte de garage ou tout autre dispositif similaire. Pour ce faire, appuyez brièvement sur la touche programmée correspondante de la télécommande universelle HomeLinkMD. Le:témoin rouge s'allume alors pour indiquer qu'un signal est transmis.
DIAGNOSTIC DES PROBLEMES DE PROGRAMMATION
Si la télécommande HomeLink ^MD ne reconnait pasrapidementlescodesd'unetelecommandeportative:
- remplacez les piles de la télécommande portative;
- placez la télécommande portative devant la télécommande HomeLink ^MD , en tenant
l'extrémité où se trouve la pile à l'écart de la surface de la télécommande HomeLinkMD;
- appuyez simultanément sur les touches des deux télécommandes, sans les relâcher;
- placez l'extrémité de votre télécommande portative à une distance de 25 à 75 mm (1 po à 3 po) de la surface de la télécommande universelle HomeLinkMD. Maintenez la télécommande dans cette position pendant 15 secondes. Si ce délambda n'est pas suffisant pour programmer la télécommande HomeLinkMD, essayez de tener la télécommande dans une autre position en gardant le témoin en vue en tout temps.
Si les problèmes de programmation persistent, veuillez communiquer avec le NISSAN Consumer Affairs Department. Les nombres de téléphone pour joindre ce service sont inscrits dans l'avant-propos de ce manuel.
SUPPRESSION DE LA PROGRAMMATION DES TOUCHES HOMELINK
Il n'est pas possible d'effacer la programmation d'une touche individuelle. Pour effacer toute programmation antérieure, appuyez sur les deux touches extérieures de la télécommande et maintenez-les enforcées jusqu'à ce que le moyen clignote (environ 20 secondes).
REPROGRAMMATION D'UNE SEULE TOUCHE HOMELINK
Pour reprogrammer une touche HomeLink ^MD , précédez comme suit :
- Appuyez sur la touche HomeLink MD désirée et maintenez-la enforcée. Ne relâchéz pas la touche avant d'avoir terminé l'étape 4.
- Lorsque le témoin commence à clignoter lentement (après 20 secondes), placez la télécommande portative à une distance de 25mm à 75mm (1 po à 3 po) de la surface de la télécommande HomeLinkMD.
- Appuyez sur la touche de la télécommande portative et maintenez-la enfoncée.
- Le témoin HomeLinkMD clignote lentement, puis rapidement. Dès que le témoin clignote rapidement, relâchéz les deux touches.
La touche de la télécommande universelle HomeLink ^MD est maintainant reprogrammée. Le nouveau dispositif peut être activé en,enfantant la touche HomeLink ^MD qui vient tout juste d'etre programmée. Cette procédure n'attecte pas les autres touches programmes de la télécommande HomeLink ^MD .
SI VOTRE VÉHICULE EST VOLÉ
Si vous vécicule est volé, vous nevez changer les codes de tout dispositif à code non tournant déjàprogrammé dans la télécommande HomeLink. Consultez le mode d'emploi de chacun des dispos-sitifs programmes ou communiquez avec les fabri-cants ou les détaillants de ces disposits pour obtenir de plus amples renseignements à ce sujet.
Vous devrez reprogrammer ces nouveaux renseignements dans la télécommande universelle HomeLinkMD lorsque votre vehicule est retrouvé.
Avis de la FCC :
Ce dispositif est conforme aux normes de la section 15 des règlements de la FCC. Son utilisation est soumise aux deux conditions suivantes : (1) Ce dispositif ne doit causer aucune interférence nuisible et (2), il doit pouvoir accepter toutes les interférences, y compris celles qui peuvent l'activer de façon inopinée.
Ce dispositif a ete teste et est conforme aux normes de la FCC et du MDC. Toute modification non approuvue par la partie responsable de la conformite peut annuler le droit d'utiliser ce dispositif.
MDC:ISTC1763K1313
FCC I.D. CV2V67690
3 Vérifications et réglages avant le démarrage
Clés 3-2
Clés du système antidémarrage du vehicule
NISSAN (selon l'équipement du vehicule) 3-2
Portieres 3-3
Verrouillage au moyen d'une clé 3-3
Verrouillage au moyen de la commande de verrouillage interieure 3-4
Verrouillage au moyen du commutateur de verrouillage électricque des portières (salon l'équipement du vehicule) 3-4
Portieres arrriere (modles King Cab) 3-5
Serrure de portiere arrirée à dispositif de sécurité pour enfant (modèles à cabine double seulement). 3-6
Dispositif d'entrée sans clé à télécommande
(selon l'équipement du vehicule) 3-6
Utilisation du dispositif d'entrée sans clé à télécommande 3-7
Capot 3-9
Trappe du réservoir de carburant 3-10
Bouchon du réservoir de carburant 3-10
Volant. 3-11
Fonctionnement du dispositif d'inclinaison du volant (selon l'équipement du vehicule). 3-11
Pare-soleil 3-12
Miroirs de courtoisie 3-13
Retroviseurs 3-13
Rétroviseur interieur (selon l'équipement du vehicule) 3-13
Réroviseur interieur automatique
antiéblouissement
(selon l'equipement du vehicule) 3-13
Rétroviseurs extérieurs 3-14
Caisse 3-16
Hayon. 3-16
Crochets d'arrimage (selon l'équipement du vehicule) 3-17



WPD0128
- Deux clés principales (noires) avec puce de transpondeur (selon l'équipement du vehicule) et symbole NISSAN chromé sur une des faces
- Clé de suture (noire) avec puce de transpondeur (selon l'équipement du vehicule)
- Plaque avec numero de clé
- Puce de transpondeur (selon l'équipement du vehicule)
Un numero de clé est fourni avec les clés de votre vehicule. Prenez en note ce numero de clé et conservez-le dans un endroit sur ( comme votre portefeuille), mais pas dans votre vehicule. Si
you perdez vos clés, rendez-vous chez un concessionnaire NISSAN avec ce numéro pour obtenir des copies de la clé. Il est très important que vous preniez en note le numéro de clé qui apparait sur la plaque puisque NISSAN ne conserve pas de registres de ces numéro de clés.
Vous n'aurez besoin de ce numero que si vous perdez toutes les clés du vehicule et qu'il n'est pas possible d'utiliser une autre clé pour en tirer des copies. Si vous possédez encore une clé, votre concessionnaire NISSAN peut en tirer des copies.
CLÉS DU SYSTÉME ANTIDÉMARRAGE DU VÉHICULE NISSAN (selon l'équipement du vehicule)
Vous ne pouvez faire demarrer votre vehicule qu'avez les clés principales ou de sureté qui sont enregistrées dans la mémoire du dispositif antidémarrage de vehicule NISSAN (NVIS). Ces clés contiennent une puce de transpondeur.
La clé principale permet de verrouiller et de déverrouiller toutes les serrures du vehicule.
La clé de suture ne peut pas être utilisée pour ouvrir la serrure de la boîte à gants.
Si vous prétez votre vehicule à quelqu'un, mais ne poulez pas lui donner accès à vos objets personnels, remettez-lui une clé de suture.
Ne laissez jamais ces clés dans le vehicule.
Clés supplémentaires ou de remplacement :
Si vous avez encore une clé en votre possession, le numéro de clé n'est pas nécessaire si vous désirez vous procurer une autre clé associée au NVIS. Notre concessionnaire peut tirer une copie de votre clé. Vous pouvez utiliser jusqu'à cinq clés associées au système antidémarrage NISSAN. Vous devriez apporter toutes les clés du système antidémarrage du vehicule NISSAN lorsque vous给您présentez chez un concessionnaire NISSAN pour les faire programmer. En effet, le procédé d'enregistrement efface tous les codes de clés enregistrrés antérieurement dans la mémoire du NVIS de votre vehicule. Une fois la programmation achevée, les composants du système ne reconnaissent que les clés NISSAN mises en mémoire dans le système au cours de la procédure de programmation. Les clés que vous n'aurez pas remises à votre concessionnaire aux fins d'enregistrement ne pourrait plus faire démarrer votre vehicule.
Ne laissez pas de l'eau salée entre en contact avec une clé NVIS, qui contient un transpondeur électrique, car cela pourrait nuir au fonctionnement du dispositif.
3-2 Vérifications et réglages avant le démarrage

AVENTISSEMENT
- Conduisez toujours avec les portières verrouillées. Utilisé en combinaison avec les ceintures de sécurité, le verrouillage des portières offre une plus grande sécurité en cas d'accident puisqu'il empêche l'éjection des passagiers du vehicule. Cette précaution empêche aussi l'ouverture accidentelle des portières par des enfants ou d'autres personnes et toute intrusion dans le vehicule.
- Avant d'ouvoir une portière, assurez-vous de pouvoir éviter les vehicules venant en sens inverse.
- Ne laisses pas d'enfants sans surveillance dans le vehicule. Ils pourraient actionner les commutateurs ou les commandes par megarde. Des enfants laissés sans surveillance dans un vehicule poursaient etre victimes d'accidents graves.

Côté conducteur
VERROUILAGE AU MOYEN D'UNE CLÉ
Verrouillage manuel
Pour verrouiller la portiere, tournez la clé vers l'avant du vehicule ①. Pour la déverrouiller, tournez la clé vers l'arrière ②.

Verrouillage electrique (selon l'équipement du vehicule)
Le verrouillage électrique des portières vous permé de verrouiller ou de déverrouiller toutes les portières en même temps.
Pour verrouiller toutes les portières, tournez la clé vers l'avant du vehicule ①.
Pour déverrouiller une seule portière, tournez la clé une fois, dans la serrure de cette portière, vers l'arrière du vehicule ②. Pour déverrouiller toutes les portières, replacez la clé à la position de départ ③ (d'ou elle peut être retiree et insérée uniquement), puis tournez-la de nouveau vers l'arrière dans les cinq secondes ④.

Verrouillage de l'intérieur
VERROUILLAGE AU MOYEN DE LA COMMANDE DE VERROUILLAGE INTÉRIÈURE
Pour verrouiller la portiere sans utiliser la clé, déplacez la commande de verrouillage interieure à la position de verrouillage ①, puis fermez la portière.
Pour déverrouiller la portière sans utiliser la clé, déplacez la commande de verrouillage interieure à la position de déverrouillage ②.

Commutateur de verrouillage de portiere
VERROUILLAGE AU MOYEN DU COMMUTATEUR DE VERROUILLAGE ÉLECTRIQUE DES PORTIERES (salon l'équipement du vehicule)
Pour verrouiller toutes les portières sans l'aide de la clé, appuyez sur l'avant ① du commutateur de verrouillage électrique de la portière (côté conducteur ou passager). Assurez-vous de ne pas laisser vos clés dans le vehicule si vous utilisez cette méthode pour verrouiller les portières.
Pour déverrouiller toutes les portières sans la clé, appuyez sur le commutateur de verrouillage de portière (2) (côté conducteur ou passager avant), en position de déverrouillage.
Protection de verrouillage
Si vous placez le commutateur de verrouillage de portiere (côté conducteur ou passager avant) en position de verrouillage alors que la clé se trouve dans le contacteur d'allumage et qu'une portière est ouverte, toutes les portières se verrouillent, puis se déverrouillent automatiquement. Vous évitez ainsi de verrouiller les clés à l'intérieur du vehicule.

PORTIÈRES ARRÊRÉ (modèles King Cab)
- Ouvrez la portiere du conducteur ou du passager.

- De l'extérieur du vehicule, tirez la poignee de la portiere A vers vous.

- Ouvrez la portière à la position désirée.

SERRURE DE PORTIÈRE ARRÊRÉ À DISPOSITIONIF DE SÉCURITÉ POUR ENFANT (modèles à cabine double seulement)
Le dispositif de sécurité pour infant empêche l'ouverture accidentelle des portières arrêté, plus particulièrement lorsque de jeunes enfants ont pris place dans le vehicule.
Les leviers de verrouillage du dispositif de sécurité pour enfant sont situés sur le rebord des portières arrêté.
Les portières arrirée ne peuvent être ouvertes que de l'extérieur lorsque les leviers sont en position de verrouillage.
DISPOSITIONIF D'ENTREE SANS CLÉ À TÉLECOMMANDE (selon l'équipement du vehicule)
La télécommande permet de verrouiller et de déverrouiller toutes les portières, d'allumer l'éclairage interieur et d'activer l'alarme de détresse de l'estérieur du vehicule.
Assurez-vous que les clés ne sont pas dans le vehicule avant de verrouiller les portières.
La télécommande peut fonctionner à environ 10m (33 pi) du vehicule. Toutefois, cette distance peut varier en fonction des conditions environnantes du vehicule.
Voupeuvez utiliser jusqu'à cinq télécommandes pour un vehicule. Pour obtenir des renseignements relatifs à l'achat et à l'utilisation de télécommandes supplémentaires, adressez-vous à un concessionnaire NISSAN.
La télécommande ne fonctionnera pas si :
- la pile est à plat;
- la distance entre le vehicule et la télécommande est supérieure à 10 m (33 pi).
L'alarme de détresse ne s'active pas si la clé se trouve dans le contacteur d'allumage.

MISE EN GARDE
Pour éviter d'endommager la télécommande:
- ne la mettez pas en contact avec de l'eau;
ne la laissez pas tomber; - ne la frappez pas brusquement sur un autre objet;
- ne la laissez pas trop longtemps dans un endroit où la température est supérieure à 60^ (140°F).
Si une télécommande est perdue ou volée, NISSAN vous recommende d'effacer le code d'identification de cette télécommande. Vous empêcherez ainsi toute personne non autorisée d'utiliser la télécommande pour déverrouiller le vehicule. Communique avec un concessionnaire NISSAN pour obtenir des renseignements concernant la procédure à utiliser pour effacer le code.

UTILISATION DU DISPOSITIF D'ENTREE SANS CLÉ À TÉLECOMMANDE
Verrouillage des portières
- Fermez toutes les glaces de votre vehicule.
- Retirez la clé du contacteur d'allumage.
- Fermez le capot et toutes les portières.
-
Enoncez la touche de la télécommande. Toutes les portieres se verrouillent. Les feu des detresse clignotent deux fois et l'avetisseur sonore emet un bip pour confirmer le verrouillage de toutes les portieres.
-
Si vous appuyez sur la touche 1 alors que toutes les portières sont verrouillées, les frais de détresse clignotent deux fois et l'avertisseur sonore émet un bip pour indiquer que les portières sont déjà verrouillées.
Si une portiere est ouverte et si vous appuyez sur la touche 1 , les portieres se verrouillent, mais l'avertisseur sonore ne retentit pas brièvement et les deux de détresse ne clignotent pas.
L'avertisseur sonore peut émettre un bip ou rester silencieux. Consultez la section « Mise au silence de l'avertisseur sonore » plus loin dans ce chapitre pour obtenir de plus amples renseignements à ce suje.

Déverrouillage des portières
Appuyez une fois sur la touche de la télé-commande.
- Seule la portiere du conducteur se déverrouille.
- Les feuels de détresse clignotent une fois lorsqu'elles portières sont complètement fermées et que la clé de contact se trouve à une position autre que la position ON.
L'éclairage interieur s'allume pendant 30 secondes si l'interrupteur se trouve à la position de fonctionnement normal.
Appuyez de nouveau sur la touche de la télécommande dans les cinq secondes qui suivent.
- Toutes les portières se déverrouillent.
- Les faux de détresse clignotent une fois si toutes les portières sont complètement fermées.
Voupeuze eteindre l'eclairage interieur sans attendre le delai de 30 secondes en inserant la clé dans le contacteur d'allumage et en la tournant à la position ON ou START, en verrouillant les portieres au moyen de la télécommande ou en mettant hors fonction l'interrupteur de l'eclairage interieur.
Dispositif de reverrouillage automatique
Lorsque la touche de la télécommande est enforcée, toutes les portières se verrouillent automatiquement dans un-delai d'une minute, a moins qu'une des opérations suivantes ne soit effectuee:
- l'ouverture d'une portière;
- l'insertion d'une clé dans le contacteur d'allumage, puis son passage de la position OFF à la position ON.

Utilisation de l'alarme de détresse
Si vous vous trouvez à proximé de votre vehicule et si vous croyez être en danger, vous pouvez activer l'alarme de détresse en,enfantant la touche de la télécommande pendant plus d'une demi-seconde.
L'alarme de détresse et les phares s'activent alors pendant 25 secondes.
L'alarme de détresse est neutralisée :
- lorsqu'elle a retenti pendant 25 secondes;
- lorsqu'une des touches de la télécommande est enforcée.

Mise au silence de l'avertisseur sonore
Vous pouvez neutraliser la fonction d'activation à distance de l'avertisseur sonore si vous le désirez.
Pour neutraliser cette fonction : enforcez les touches 1 et 2 durant au moins deux secondes.
Les feu de détresse clignotent alors trois fois pour confirmer la neutralisation de la fonction de signal sonore.
Pour rétablit cette fonction : enforcez les touches 1 et à nouveau pendant au moins deux secondes.
CAPOT
Les feu des détresse clignotent une fois et l'avertisseur sonore retentit pour confirmer le rétabillisement de la fonction.
La neutralisation de la fonction de signal sonore n'entraine pas la mise au silence de l'avertisseur en cas de déclenchement de l'alarme.
Utilisation de l'éclairage interieur
Enoncez une fois la touche de la télécommande pour allumer l'éclairage interieur.
Pour obtenir de plus amples renseignements, consultez la section « Éclairage interieur » du chapitre « Instruments et commandes » plus loin dans ce manuel.

① Tirez sur la poignée de déverrouillage du capot qui se trouve sous le tableau de bord du côte du conducteur. Le capot s'entrouvre légèrement.
② Du bout des doigts, poussez vers le côté le levier situé à l'avant du capot, tel qu'illustré, puis soulevez le capot.
③ Insérez l'extrémité de la bequille de capot dans la fente prévue à cet effet sous le capot.
Pour referrer le capot, abaissez-le doucement et assurez-vous qu'il se verrouille correctement.

AVERTISSEMENT
Assurez-vous que le capot de votre vehicule est bien fermé et correctement verrouillé avant de prendre la route. Si cette vérification n'est pas faite, le capot pourrait s'ouvrir et causeur un accident.
- Si vous Voyez de la vapeur ou de la fumée s'échapper du compartment moteur, n'ouvre pas le capot, car vous pourriez subir des blessures.
TRAPPE DU RÉSERVOIR DE CARBURANT

BOUCHON DU RÉSERVOIR DE CARBURANT
Le bouchon du réservoir de carburant est de type à téléphone. Pour enlever le bouchon, tournez-le dans le sens contraire des aiguilles d'une montre. Pour le serrer, tournez-le dans le sens des aiguilles d'une montre jusqu'à ce qu'il émette des déclics.

Lorsque you faites le plein, faites une boucle avec la courroie de retenue autour du crochet ①.
AVERAGEMENT
- L'essence est une substance extrémenment inflammable qui peut aussi devenir hautement explosive dans certaines conditions. Vous pourriez subir des brûlures ou des léasons graves en cas d'utilisation ou de manipulation incorrecte. Lorsque vous faites le plein d'essence, coupez toujours le moteur, ne fumez pas et tenez toute flamme ouétincelle loin du vehicule.
Le carburant peut etre sous pression. Devissez le bouchon d'un tiers de tour et si vous entendez un « sifflement »attendez qu'il s'arrête avant de continuer.Vous eviterez ainsi d'être asperge par un jet de carburant qui pourrait cause des blessures.Retirez ensuite le bouchon.
- Ne tentez pas de continuer à replir le réservoir de carburant lorsque le pistolet du distributeur d'essence se déclenché automatiquement. Le surremplissage pourrait faire déborder le réservoir, faire giclér le carburant et provoquer un incendie.
- Ne remplacez un bouchon de réservoir de carburant que par un bouchon d'origine. En effet, celui-ci est muni d'une soupape de sureté intégrée nécessaire au fonctionnement ajustat du circuit d'alimentation et du dispositif antipollution. L'utilisation d'un bouchon non ajustat peut entrainer une défaillance importante ainsi que des blessures. Une telle utilisation peut également provoquer l'activation du méoin d'anomalie.
VOLANT
- Ne tentez jamais de faire demarrer votre vehicule en versant du carburant dans le corps du papillon d'accéléateur.
- Ne replisssez pas un contenant portafit de carburant dans votre vehicule ou votre remorque. L'électricité statique pourrait provoquer une explosion en raison de la présence de liquides, vapeurs ou gaz inflammables. Pour réduire les risques de blessures graves ou mortelles au moment du replissage de carburant d'un contenant portatif :
- placez toujours le contenant sur le sol pour le replir;
- n'utilisez chaque dispositiflectroniquependant le remplissage;
- gardez le pistolet du distributeur d'essence en contact avec le contenant pendant le remplissage;
- utilisez uniquement un contenant portatif approuve pour liquide inflammable.
AMISE EN GARDE
- Si du carburant a été renversé sur la carrosserie du vehicule, rincez-le immédiatement avec de l'eau pour éviter des dommages à la peinture.
- Serrez le bouchon du réservoir de carburant jusqu'à ce qu'il émette un déclic. Le témoin d'anomalie (MIL) SERVICE ENGINE ENGINE SOON peut s'allumer si le bouchon du réservoir de carburant est mal serré. Si le témoin ENGINE s'allume parce que le bouchon n'a pas été replaced ou parce qu'il est mal visse, replacez-le ou vissez-le et poursuivez votre route. Le témoin ENGINE doit s'eteindre après quelques cycles de conduite. Si le témoin ENGINE reste allumé, rendez-vous chez un concessionnaire NISSAN pour y faire inspecter votre vehicule.
- Pour obtenir de plus amples renseignements, consultez la section « Témoin d'anomalie (MIL) » du chapitre « Commandes et instruments » dans le现行 manuel.

FONCTIONNEMENT DU DISPOSITIF D'INCLINAISON DU VOLANT (selon l'équipement du vehicule)
Tirez le levier de verrouillage vers l'avant et maintenez-le ainsi pour régler le volant vers le haut ou vers le bas jusqu'à la position désirée.
Relâchéz le levier de verrouillage pour bloquer le volant.
PARE-SOLEIL

AVERTISSEMENT
Ne reglez pas le volant pendant que vous conduisiez. Vous pourriez perdre la maitrise de votre vehicule et causer un accident.

① Pour éliminer l'éblouissement frontal, abaissez le pare-soleil principal.
Pour éliminer l'éblouissement lésral, dégage le pare-soleil principal de son support central et faites-le pivoter sur le côte.
③ Faites glisser la rallonge du pare-soleil vers l'intérieur ou vers l'extérieur au besoin.

MISE EN GARDE
- Ne tentez pas de ranger le pare-soleil principal avant d'avoir d'abord range la rallonge du pare-soleil.
- Ne tirez pas la rallonde de pare-soileil verticalément et vers le bas.
RETROVISEURS

MIROIRS DE COURTOISIE
Pour utiliser le miroir de courtoisie, abaissez le pare-soleil et levez le volet du miroir. Certains miroirs de courtoisie possedent un éclairage qui s'active à l'ouverture du volet.

RÉTROVISEUR INTÉRIEUR (selon l'équipement du vehicule)
La position de nuit ① permet de réduire l'éblouissement provoqué par les phares des vehicules qui vous suivent lorsque vous conduisez la nuit.
Pour la conduite de jour ② ,utilisez la position de jour.

AVENTISSEMENT
N'utilisez la position de nuit qu'en cas de besoin, car elle reduit la visibilité arrière.

RETROVISEUR INTÉRIEUR AUTOMATIQUE
ANTIEBLOUISSEMENT (selon l'équipement du vehicule)
Le rétroviseur interieur modifie automatiquement son degré de réflexion en fonction de l'intensité lumineuse des phares du vehicule qui vous suit. La fonction automatique d'antiéblouissement n'est active que lorsque le contacteur d'allumage est en position ON.
Le témoin ① s'allume lorsque la fonction automatique d'antiéblouissement est activée.
Pour désactiver la fonction antiéblouissement, appuyez sur la touche . Le témoin s'éteint.
Pour activer la fonction antiéblouissement, appuyez de nouveau sur la touche .Le témoin s'allume.
Pour connaître les détails sur le fonctionnement de la télécommande universelle HomeLink ^MD , consultez la section « Telecommande universelle HomeLink ^MD » dans le chapitre « Commandes et instruments » duprésent manuel.
Pour obtenir de plus amples renseignements sur l'affichage de la direction indiquée par la boussole et sur l'affichage de la température extérieure, consultez la section « Affichage de la direction indiquée par la boussole et affichage de la température extérieure » du réseau manuel.
NOTA :
Ne suspendez pas d'objets sur les capteurs ② et ne les nettoyez pas avec un nettoie-vitres. Cela réduit la sensibilité des cap-teurs et nuit à leur fonctionnement.
RÉTROVISEURS EXTERIEURS
AVERAGEMENT
- Les objets refléchis par le rétroviseur extérieur du côte passager sont plus pres qu'ils nesemblant l'être. Soyez prudent lorsque vous vous déplacez vers la droite. L'utilisation exclusive de ce rétroviseur pourrait cause un accident. Servez-vous du rétroviseur interieur ou jetez un coup d'eel par-dessus votre épaulafin d'évaluer correctement la distance qui vous sépare des objets.
- Ne règlez pas la position des miroirs pendant que vous conduisez. Vous pourriez perdre la maitrise de votre vehicule et causeur un accident.

Commande électric (selon l'équipement du vehicule)
La commande à distance des rétroviseurs extérieurs fonctionné seulement lorsque le contacteur d'allumage se trouve à la position ACC ou ON.
Déplacez le petit commutateur ① pour sélectionner le rétroviseur de gauche ou de droite. Reglez la position du rétroviseur sélectionné à l'aide du grand bouton ②.

tre « Commandes et instruments » du present manuel pour obtenir de plus amples renseignements.

Rétroviseurs extérieurs rabattables
Pour rabattre le rétroviseur extérieur, poussez-le vers la portière.
Réglage manuel
Vou puez orienter les retroviseurs extérieurs de votre vehicule dans la direction voulue pour bénéficier d'une meilleure visibilité arrêté.
Rétroviseurs chauffants (selon l'équipement du vehicule)
Certains rétroviseurs extérieurs sont munis d'un dispositif de chauffage qui permet de supprimer la buée, le giver ou la glace qui s'y trouve et ainsi d'améliorer la visibilité du conducteur. Consultez la section « Interrupteur de dégivreur de lunette arrrière et des rétroviseurs chauffants » du chapi

HAYON
Ouverture du hayon
Tirez la poignée du hayon vers le haut, puis abaissez le hayon. Les câbles de soutien maintainent le hayon en position ouverte.
À la fermetre du hayon, assurez-vous que les loquets sont bien verrouillés.
Ne conduisez pas le vehicule avec le hayon abaisse, à moins que votre vehicule ne soit muni de la rallonge de caisse NISSAN (accessoire), ou l'équivalent, et que celle-ci soit en position déployée.
Pour obtenir de plus amples renseignements sur le chargement de la caisse du camion, reportez-vous à la section « Information relative au charge-ment du vehicule » du chapitre « Données techniques et information au consommateur » du present manuel.

AVERTISSEMENT
- Il est extrémement dangereux de prendre place dans l'aire de chargement d'un vehicule lorsque le vehicule est en marche. Les personnes s'y trouvant sont beaucoup plus susceptibles de subir des blessures graves, voire mortelles, en cas de collision.
- Ne permette jamais à un passager de s'asseoir ailleurs que dans un siège muni d'une ceinture de sécurité.
Assurez-vous que tous les passagers de votre vehicule ont pris place sur un siège et qu'ils ont bien boucé leur ceinture de sécurité.

Retrait du hayon
- Dégagez les câbles de soutien du hayon.

MISE EN GARDE
- Le hayon est lourd. Il faut deux personnes pour le-retirer ou l'installer. Faites attention de ne pas l'échapper au moment du retrait.
-
Àprouv avoir dégagé les câbles de soutien, ne laïsez pas le hayon reposer sur le pare-chocs.
-
Maintenez le hayon à un angle de 45 degrès.
- Tirez le hayon hors de la charnière du côté droit.
- Tirez le hayon hors de la charnière du côte gauche.
Installation du hayon
- Insérez le hayon dans la charnière du côte gauche.
- Maintenez le hayon à un angle de 45 degrès et insérez-le dans la charnière du côte droit.
- Continuez de tener le hayon à un angle de 45 degrés et attachez les cables de soutien du hayon.
- Refermez le hayon solidement.

Verrouillage du hayon
Pour verrouiller le hayon, tournez la clé vers le côté passager du vehicule ①. Pour le déverrouiller, tournez la clé vers le côté conducteur ②.
La clé principale et la clé de suturetepeuvent toutes deux estreutilisées pourverrouiller et déverrouiller le hayon.

CROCHETS D'ARRIMAGE (selon l'équipement du vehicule)
Des crochets d'arrimage pratiques sont situés à chaque coin de la caisse du camion. Ils peuvent être utilisés pour fixer toute charge dans la caisse du camion.
- Le poids de la charge doit être réparti également sur les essieux avant et arrêté.
- Toute charge doit être solidement arrimée à l'aide de cordes ou de sangles afin d'éviter qu'elle ne se déplace ou ne glisse dans la caisse.

AVENTISSEMENT
Fixez solidement tous les bagages à l'aide de cordes ou de sangles afin d'eviter qu'ils ne glissent ou se déplacent. En cas d'arrêt brusque ou de collision, les bagages non retenus pourraient entrainer des blessures.
4 Appareil de chauffage et climatisationur et chaine stéréophonique
Aérateurs. 4-2
Chauffage et climatiseur (à commande manuelle) 4-2
Commandes 4-3
Fonctionnement du chauffage. 4-4
Fonctionnement du climatiseur (selon l'équipement du vehicule) 4-6
Tableaux de direction de l'air 4-7
Entretien du climatiseur 4-10
Chaine audio. 4-11
Radio 4-11
Réception radio FM. 4-11
Réception radio AM 4-11
Réception radio satellite (selon l'équipement du vehicule). 4-12
Précautions concernant l'utilisation de la chaine audio 4-12
Radio AM-FM avec lecteur de CD (selon l'équipement du vehicule) 4-18
Radio AM/FM/SAT avec chargeur de CD. 4-23
Entretien et nettoyage des CD 4-29
Interrupteur de commande audio sur le volant (selon l'équipement du vehicule). 4-29
Antenne 4-30
Telephone de voiture ou radio BP 4-31
CHAUFFAGE ET CLIMATISEUR (à commande manuelle)



LHA0534
Réglez la direction du débit d'air en fonction des glaces latérales du conducteur et du passager ①, du conducteur et du passager ② ou des bouches d'air centrales ③ en déplaçant les grilles orientables et les ailettes des bouches d'air.

AVERTISSEMENT
- La fonction de refroidissement du climatiseur ne peut etre activee que lorsque le moteur tourne.
- Ne laïsez pas seuls dans votre vehicule des enfants ou des personnes qui ont habituèlement besoin de l'aide d'autres personnes. Ne laïsez pas non plus les animaux de compagnie sans surveillance. Ils pourrait se blesser ou blesser quelqu'un accidentellement en mettant le vehicule en marche par inadventure. De plus, par temps chaud et ensoleillé, la température de l'habitacle peut rapidement s'élever au point de provoquer des lésions graves, voire mortelles, à une personne ou à un animal enfermé dans le vehicule.
- N'utilisez pas le mode de recirculation d'air pendant de longues périodes puisque l'air de l'habitacle pourraitvenir vicié et les glaces pourraient s'embauer.

LHA0489
- Commande de vitesse du ventilateur
- Commande de température
- Commande de direction de l'air
- Bouton du climatiseur (selon l'équipement du vehicule)
- Bouton du dégivre de lunette arrête (selon l'équipement du vehicule)
- Interrupteur de recirculation d'air
COMMANDES
Commande de vitesse du ventilateur
La commande de vitesse du ventilateur sert àmettre le ventilateur en fonction et à l'arrête, ainsiqu'à en régler la vitesse.
Commande de direction de l'air
La commande de direction de l'air vous permet de désir les bouches d'air par lesquelles l'air circulera dans l'habitacle.
Max - L'air circule par les bouches d'air
A/C centrales et extérieures de la planche de bord pour un refroidissement maximal (climatisationur).
- L'air circule par les bouches d'air centrales et laterales de la planche de bord.
L'air circule par les bouches d'air centrales et laterales de même que par les bouches d'air avant et arrriere du plancher.
L'air circule principalement par les bouches d'air avant et arrêté du plancher.
L'air circule par les bouches d'air du dégivreur et les bouches d'air avant et arrêté du plancher.
- L'air circule principalement par les bouches d'air du dégivreur.
La commande de direction de l'air peut être également placée à des positions intermédiaires entre les positions illustrées.
Commande de température
La commande de température vous permet de régler la température de l'air qui circule par les bouches d'air. Pour diminuer la température,
tournez la commande vers la gauche. Pour augmenter la température, tournez la commande vers la droite.

Interrupteur de recirculation d'air
Marche :
Pour faire recirculer l'air dans l'habitacle, enfontez l'interrupteur de recirculation. Le moyen present sur l'interrupteur s'allume.
Enforcez l'interrupteur en position de fonctionnement :
- lorsque vous conduisez sur une route pous-sièreuse;
- pour empêcher l'infiltration de gaz d'échéppement (lorsque vous conduisez dans la circulation dense) dans l'habitacle;
- pour obtenir un refroidissement maximal de l'habitacle lorsque le climatiseur fonctionne.
Arret:
Enoncez l'interrupteur de recirculation de nouveau pour arreter la recirculation de l'air. Le témoin présente sur l'interrupteur s'éteint. L'air extérieur entre dans l'habitacle et il est dirigé vers les bouches d'air sélectionnées.
Désactivez la recirculation d'air lorsque vous utilisez le chauffage ou la climatisation en conditions normales.

Bouton du climatiseur (selon l'équipement du vehicule)
Ce bouton n'existe que sur les vehicules équipés d'un climatiseur.
Démarrez le moteur, réglez la commande du ventilateur à la vitesse désirée (1 à 4), puis appuyez sur le bouton A/C pourmettreleclimatiseur en fonction. Le témoin s'allume pour indiquer que le climatiseur fonctionne. Pour éteindre le climatiseur, appuyez de nouveau sur l'interrupteur A/C
La fonction de refroidissement du climatiseur ne peut etre activee que lorsque le moteur tourne.
Interrupteur du dégivre de lunette arrête
Pour obtenir de plus amples renseignements au sujeet de l'interrupteur de dégivreur de lunette arrière, consultez la section « Interrupteur de dégivreur de lunette arrriere et des rétroviseurs externiers (selon l'équipement du vehicule) » du chapitre « Commandes et instruments » du pré-sent manuel.
FONCTIONNEMENT DU CHAUFFAGE
Chauffage
Dans ce mode, l'air rechauffe sort par les bouches d'air du plancher. Une petite quantite d'air sort également par les bouches de dégivrage.
- Appuyez sur l'interrupteur pour dé-sactiver la recirculation d'air et passer en mode de chauffage normal. Le témoinprésent sur l'interrupteur s'éteint.
- Reglez la commande de direction de l'air à
- Tournez la commande de vitesse du ventilateur à la vitesse désirée.
- Tournez la commande de température à la position désirée entre les positions de chauffage modéré et maximal.
Ventilation
Dans ce mode, l'air extérieur circule par les bouches d'air extérieures et centrales de la planche de bord.
-
Appuyez sur l'interrupteur pour dé-sactiver la recirculation d'air. Le témoinprésent sur l'interrupteur s'éteint.
-
Reglez la commande de direction de l'air à
- Tournez la commande de vitesse du ventilateur à la vitesse désirée.
- Tournez la commande de température à la position désirée.
Dégivrage ou désembuage
Dans ce mode, l'air sort par les bouches de dégivrage afin de dégivrer ou de désembuer les glaces.
- Reglez la commande de direction de l'air à
- Tournez la commande de vitesse du ventilateur à la vitesse désirée.
- Tournez la commande de température à la position désirée entre les positions de chauffage modéré et maximal.
- Pour dégivrer ou désembuer rapidement les glaces, réglez la commande du ventilateur sur 4 et la commande de température à la position de chauffage maximal.
Lorsque la commande est reglee sur le climatiseur se met en marche automatiquement (bien que le témoin ne s'allume pas) si la température extérieure est supérieure à 2^ ( 36^ ). Le climatiseur continue
de fonctionner jusqu'à ce que la commande soit tournée à la position OFF ou que le contact soit coupé, même si la commande de la direction de l'air est à une position autre que L'air est alors déshumidifié pour empêcher la formation de buée sur le pare-brise. La recirculation de l'air (C) est automatiquement désactivée, ce qui permet à l'air extérieur de pénétrer dans l'habitacle pour accélérer le désembUAGE.
Chauffage à deux niveaux
Dans ce mode, l'air frais circule par les bouches d'air extérieures et centrales de la planche de bord alors que l'air chaud circule par les bouches d'air du plancher. Lorsque la commande de tempérapure est tournée à la position de chauffage maximal ou de refroidissement maximal, la tempérapure de l'air qui circule par les bouches d'air extérieures et centrales de la planche de bord est identique à celle de l'air qui sort par les bouches d'air du plancher.
- Appuyez sur l'interrupteur pourmettre la recirculation de I'air hors fonction.
- Reglez la commande de direction de l'air à
-
Tournez la commande de vitesse du ventilateur à la vitesse désirée.
-
Tournez la commande de température à la position désirée.
Chauffage et désembuage
Ce mode est utilisé pour rechauffer l'habitacle et désembuer le pare-brise.
- Reglez la commande de direction de l'air à
- Tournez la commande de vitesse du ventilateur à la vitesse désirée.
- Tournez la commande de température à la position désirée entre les positions de chauffage modéré et maximal.
Lorsque la commande est reglee sur, le climatiseur se met en marche automatiquement (bien que le témoin A/C ne s'allume pas) si la température extérieure est supérieure à 2 °C (36 °F). Si le système est en mode dégivreur pendant plus d'une minute, le climatiseur continue de fonctionner jusqu'à ce que la commande de vitesse soit tournée à la position OFF ou que le contact soit coupé, même si la commande de direction de l'air est à une position autre que L'air est alors déshumidifié pour empêcher la formation de buée sur le pare-brise. La recirculation de l'air (C) est automatiquement désactivée, ce qui permet à l'air extérieur de pénétrer dans l'habitacle pour accélérer le désembUAGE.
Conseils d'utilisation
Retirez la neige et la glace des balais d'essuie-glace et des entrées d'air situées à l'avant du pare-brise. Le fonctionnement du chauffage s'en trouvera amélioré.
FONCTIONNEMENT DU CLIMATISEUR (salon l'equipement du vehicule)
Démarrez le moteur, réglez la commande du ventilateur à la vitesse désirée (1 à 4), puis appuyez sur A/C pourmettreleclimatiseurenfonction. Lorsqueleclimatiseureestactivé,lesdispositifde chauffage dispose également des fonctions de refroidissement et de déshumidification.
La fonction de refroidissement du climatiseur ne peut etre activee que lorsque le moteur tourne.
Refroidissement
Dans ce mode, l'air est refroidi et déshumidifié.
- Appuyez sur l'interrupteur pourmettre la recirculation de I'air hors fonction.
- Reglez la commande de direction de l'air à
-
Tournez la commande de vitesse du ventilateur à la vitesse désirée.
-
Appuyez sur le bouton A/C . Le témoin s'allume.
- Tournez la commande de température à la position désirée.
- Par temps très chaud, vous pouvez refroidir l'habitacle rapidement en appuyant sur pourmettre la recirculation de l'air en fonction (son témoin s'allume). Appuyez de nouveau sur l'interrupteur pour re-tourner au mode de refroidissement normal.
Chauffage déshumidifié
Dans ce mode, l'air est rechauffé et déshumidifié.
- Appuyez sur l'interrupteur pourmettre la recirculation de I'air hors fonction.
- Reglez la commande de direction de l'air à
- Tournez la commande de vitesse du ventilateur à la vitesse désirée.
- Appuyez sur le bouton A/C . Le témoin s'allume.
- Tournez la commande de température à la position désirée.
Désembuage déshumidifié
Ce mode est utilisé pour désembuer les glaces et déshumidifier l'air.
- Reglez la commande de direction de l'air à
- Tournez la commande de vitesse du ventilateur à la vitesse désirée.
- Appuyez sur le bouton A/C . Le témoin s'allume.
Lorsque ou toute autre position intermédiaire est selectionnée, le climatiseur se met automatiquement en marche (bien que le témoin ne s'allume pas), si la température extérieure est supérieure à 2^ ( 36^ ). Le climatiseur continue de fonctionner jusqu'à ce que la commande soit tournée à la position OFF ou que le contact soit coupé, même si la commande de la direction de l'air est à une position autre que . L'air est alors déshumidifié pour empêcher la formation de buee sur le pare-brise. La recirculation de l'air ( ) est automatiquement désactivée, ce qui permet a l'air extérieur de penetrer dans l'habitacle pour accelerer le dé-sembuage.
- Tournez la commande de température à la position désirée.
Conseils d'utilisation
- Lorsque le climatiseur est en fonction, gardez les glaces et le toit ouvrant (selon l'équipement du vehicule) fermés.
4-6 Appareil de chauffage et climatisationur et chaine stéréophonique
- Si le vehicule a eté stationné au soleil, roulez pendant deux ou trois minutes avec toutes les glaces ouvertes pour évacuer l'air chaud de l'habitacle. Remontez ensuite les glaces. Le climatiseur pourrait alors refroidir l'habitacle plus rapidement.
- Le climatiseur doit fonctionner pendant environ 10 minutes consécutives au moins une fois par mois. Le dispositif reste ainsi lubrifié pour prévenir une éventuelle défaillance du climatiseur.
- Une brume visible peut s'échapper des bouches d'air par temps chaud et humide car l'air est très rapidement refroidi. Cette brume ne revèle pas une anomalie.
- Si l'indicateur de température du liquide de refroidissement se trouve audressus de la plage de température normale, éteignez le climatiseur. Consultez la section « Si le moteur surchauffe » du chapitre « En cas d'urgence »
TABLEAUX DE DIRECTION DE L'AIR
Les tableaux suivants indiquent les positions des boutons et des commandes pour réchauffer ou pour refroidir l'habitacle, ou encore pour dégivrer les glaces de façon OPTIMALE ET RAPIDE. Pour obtenir de plus amples renseignements sur les fonctions de chauffage et de climatisation, consultez la section « Chauffage et climatisation » duprésent chapitre. La recirculation de l'air ( ) doit toujours être mise hors fonction si vous désisissez les positions de chauffage et de dégivrage.

DEGIVRAGE/ DESEMBUAGE
: Air circulant dans le radiateur:

Commandedu ventilateur
Commandedetemperature
Commande de la direction de l'air
| Bouton du climatiseur | Commande de la direction de l'air | Commande de température | Commande du ventilateur | Bouton de recirculation d'air |
| ARRÊT | CHAUD (DROIT) | 4 | ARRÊT |
WHA0775

CHAUFFAGE A DEUX NIVEAUX

: Air circulant dans le radiateur

Commandeduventilateu
Commandedetemperature
Commande de la direction de l'air
Bouton du climatiseur
Bouton de recirculation d'air
| Bouton du climatiseur | Commande de la direction de l'air | Commande de température | Commande du ventilateur | Bouton de recirculation d'air |
| ARRÊT | CHAUD (DROIT) | 4 | ARRÊT |
WHA0776

CHAUFFAGE

Air circulant dans le radiateur
Commande
du ventilaturer
Commande
de température
Commande de la
direction de l'air



Bouton du
climatisationur
Bouton de
recirculation d'air
| Bouton du climatiseur | Commande de la direction de l'air | Commande de température | Commande du ventilateur | Bouton de recirculation d'air |
| ARRÊT | CHAUD (DROIT) | 4 | ARRÊT |
WHA0777
CHAUFFAGE ET DÉGIVRAGE/ DESEMBUAGE

Air circulant dans le radiateur
Commande
du ventilateur
Commande
de température
Commande de la
direction de l'air

Bouton du
Bouton de
climatiseur
recirculation d'air
| Bouton du climatiseur | Commande de la direction de l'air | Commande de température | Commande du ventilateur | Bouton de recirculation d'air |
| ARRÊT | CHAUD (DROIT) | 4 | ARRÊT |
WHA0778
REFROIDISSEMENT

Air circulant dans le radiateur


Commandedu ventilate
Commandede tempera
Commande de la direction de l'air
Bouton du climatiseur
Bouton de recirculation d'air
| Bouton du climatiseur | Commande de la direction de l'air | Commande de température | Commande du ventilateur | Bouton de recirculation d'air |
| MARCHE (s'allume automatiquement) | MAX A/C | FROID (GAUCHE) | 4 | MARCHE (Max.) |
WHA0779
ENTRETIEN DU CLIMATISEUR
Le climatiseur de votre vehicule NISSAN est rempli d'un frigorigène ecologique.
Ce type de frigorigène n'est pas nocif pour la couche d' ozone.
L'entretien du climatiseur de votre vehicule NIS-SAN nécessite l'utilisation d'équipment de remplication et de lubrifiants spéciaux. L'utilisation de frigorigénes ou de lubrifiants non adquats endommagera gravement libre climatiseur. Consultez la section « Recommendations relatives au frigorigène et à la lubrication du climatiseur » du chapitre « Données techniques et information au consommateur »
Votre concessionnaire NISSAN possede les connaissances requises pour effectuer l'entretien du climatiseur « ecologique » de votre vehicule.

AVERTISSEMENT
Le climatiseur contient du frigorigène haute pression. Afin d'eviter les blessures, il est essentiel que toute intervention faite sur le climatiseur soit effectuee par un technicien qualifie qui dispose de I'equipement adequat.
CHAINE AUDIO
RADIO
Tournez la clé de contact à la position ACC ou ON et appuyez sur le bouton PWR/VOL (marche-arrêt, volume) pour allumer la radio. Tournez la clé de contact à la position ACC si vous souhaitez écouter la radio lorsque le moteur est arrêté.
La qualité de la réception radio varie selon la puissance du signal émis, la distance de l'émetteur radio, la présence d'immeubles, de points, de montagnes ou de tout autre facteur externe. Les variations occasionnelles de la qualité de réception sont en général causées par de tels facteurs.
L'utilisation d'un téléphone cellulaire dans ou à proximé d'un vehicule peut compromètre la qualité de la réception radio.
Réception radio
La radio de votre vehicule NISSAN compte de circuits électroniques d'avant-garde qui améliorent la qualité de la réception radio. Ces circuits sont conçus pour accroître la plage de réception de même que la qualité de cette-ci.
Cependant, certaines caractéristiques générales propres aux fréquences radio AM et FM peuvent compromètre la qualité de la réception radio dans un vehicule qui roule, et ce, peu importe la
qualité de l'équipement utilisé. Ces caractéristiques sont normales dans une zone de réception donnée et n'indiquent pas un problème de fonctionnement de la radio de votre vehicule NISSAN.
Les conditions de réception radio changent constamment du fait que votre vehicule se déplace. Les immeubles, les montagnes, la distance de la source du signal et l'interfERENCE causée par les autres vehicules peuvent compromètre la qualité de la réception. Vous trouvez ci-après une description des facteurs qui peuvent compromètre la réception radio dans votre vehicule.
RéCEPTION RADIO FM
Portée: En mode FM mono (un seul canal), la portée de la bande FM se situe généralement entre 40 et 48 kilométres (25 et 30 milles) et est légèrement supérieure à la portée offerte par le mode FM stéreo. Des facteurs externes peuvent parfois nuiré à la réception du signal émis par une station FM, et ce, même si celle-ci se trouve à moins de 40 kilométres (25 milles). La puissance du signal FM est inversement proportionnelle à la distance entre l'émetteur et le récepteur. Les signaux FM voyagent en ligne droite etprésent des caractéristiquessemblables à celles de la lumière. Par exemple, ils sont reflèchis par les objets.
Affaiblissement et dérive : Lorsque la distance qui sépare votre vehicule de l'émetteur de la station s'accroît, les signaux ont tendance à s'affa bilir ou à dériver.
Parasites and battement: Lorsqu'il y a interfERENCE du signal causée par des immeubles, des montagnes ou par la position de l'antenne (cette situation se produit généralement à une plus grande distance de l'émetteur de la station), des parasites ou des battements peuvent être perçus. Vous pouvez atténuer ces bruits en réduisant l'intensité des tonalités aigués.
Réception par trajets multiples : En raison des caractéristiques de réflexion des signaux FM, des signaux directs et reflèchisatteignent le récep-teur en même temps. Les signaux peuvent se neutraliser mutuelles et cause un battement ou une perte momentanée du son.
RéCEPTION RADIO AM
Les signaux AM, du fait de leur BASSE fréquence, peuvent contourer des objets et rebondir sur le sol. De plus, les signaux rebondissent sur l'ionosphere et reviennent vers la terre. Ces caractéristiques font que les signaux AM sont aussi sujets à des interférences au cours de leur trajet de l'émetteur au récepteur.
Baisse d'intensité : Ce phénomène se produit lorsque le vehicule passée sous un viaduc ou dans des zones comportant beaucoup d'immeubles élevés. Il peut également se produit pendant plusieurs secondes en cas de turbulences ionosphériques, et ce, même dans des endroits dépourvus d'obstacles.
Parasites : IlIs sont causés par les orages, les lignes d'alimentation électrique, les enseignes électriques et même les feu des circulation.
RéCEPTION RADIO SATELLITE (selon l'équipement du vehicule)
La radio satellite peut ne pas fonctionner ajustement lorsqu'elle est installée pour la première fois ou si la batterie a ete remplacee. Cette condition est normale. Assurez-vous que voite vehicule est a I'ecart de tout edifice metallique ou de grande taille et attendez au moins 10 minutes, avec la radio satellite activee, pour receivevoir toutes les données nécessaires.
Si la radio satellite en option et son antennae n'ont pas ete installes ou si l'abonnement au service par radio satellite XM^MD ou SIRIUSMC n'est pas en vigueur, aucune reception radio satellite ne sera possible et la mention « NO SAT » (pas de reception satellite) s'affichera. La radio satellite ne peut etre installee que dans un vehicule pre
câblé en usine pour la radio satellite. La radio satellite n'est pas offerte en Alaska, à Hawaié et à Guam.
Le rendement de la radio satellite peut être compromis si vous transportez des bagages quiBloquent le signal de la radio sur le porte-bagages de toit.
Évitez autant que possible de déposer des bagages sur l'antenne de réception satellite.

PRECAUTIONS CONCERNANT L'UTILISATION DE LA CHAINE AUDIO
Lecteur de CD
AMISE EN GARDE
- N'insérez pas de force un CD dans la fente du lecteur ou du chargeur de CD. Vous pourriez endommager le CD, le chargeur ou le lecteur.
- Net tentez pas d'insérer un CD lorsque le volet de chargement est fermé, car vous pourriez endommager le disque ou le chargeur de CD.
-
Vous ne pouvez charger qu'un seul CD à la fois dans le lecteur.
-
N'utilise que des CD ronds de haute qualité, d'un diamètre de 12 cm (4,7 po) et identifiés par le logo « COMPACT disc DIGITAL AUDIO » (sur le disque ou l'emballage).
- Par temps froid ou pluvieux, le lecteur peut mal fonctionner en raison de l'humidité ambiente. Si tel est le cas, retirez le CD du lecteur et déshumidifiéz ou aéréz ce dernier.
- Le lecteur peut sauter des pistes lorsque vous conduisez sur une route cahoteuse.
Le lecteur de CD peut ne pas fonctionner lorsque la tempéature de l'habitacle est très élevé ou très BASSE. Laissez l'habitacle se refroidir ou se réchauffer avant d'utiliser le lecteur.
- N'exposez pas le CD directement aux rayons du soleil.
- Les CD en mauvais état, sales, rayés ou couverts de traces de doigts peuvent ne pas fonctionner correctement.
- Les CD suivants peuvent ne pas fonctionner ajustement :
- CD de contrôle par duplication (CCCD);
- CD inscriptibles (CD-R);
-
CD réinscriptibles (CD-RW).
-
N'utilise pas les CD suivants, car ils peuvent provoquer un mauvais fonctionnement du lecteur de CD :
-
les CD de 8 cm (3,1 po) avec un adaptateur;
les CD qui ne sont pas ronds; -
les CD portant une étiquette en papier;
-
les CD déformés, rayés ou dont les rebords ne sont pas réguliers.
-
Cette chaine audio est concise uniquement pour la lecture de CD préenregistrés. Elle n'est pas concise pour graver des CD.
- Si le CD ne peut être lu, un des messages suivants s'affiche.
CHECK DISC (verifier le disque):
Assurez-vous que le CD est correctement inséré (l'étiquette est orientée vers le haut, etc.).
Assurez-vous que le CD n'est pas plie, déformé ou rayé.
PRESS EJECT (éjecter le disque):
Il s'agit d'une erreur qui relève d'une température excessive dans le lecteur. Retirez le CD en appuyant sur la touche déjection. Réinsérez le CD après un bref moment. Le CD peut être lu lorsque la température revient à la normale.
UNPLAYABLE (lecture impossible) :
La chaine audio ne peut dire ce fichier (uniquement des CD MP3 ou WMA).
Disques compacts avec MP3 ou WMA
Termes :
- MP3 - MP3 est la forme abrégée de Moving Pictures Experts Group Audio Layer 3. MP3 est le format de fichier audionumérique compré le plus connu. Ce format offre une qualité pres de celle du CD, mais à une fraction du volume des fichiers audio normaux. La conversion MP3 d'une piste audio à partir d'un CD-ROM peut réduire le volume du fichier d'un rapport d'environ 10:1 sans perte perceptible de la qualité. La compression MP3 supprime les segments redundants et inutiles d'un signal sonore que l'humain ne peut entendre.
WMA - Windows Media Audio (WMA)* est un format audio compré créé par Microsoft comme solution de rechange au format MP3. Le codec WMA offre une meilleure compression de fichiers que le codec MP3, permettant de stocker plus de pistes audio-numériques dans un volume identique aux MP3 à la même qualité. - Débit binaire - Le débit binaire dénote le nombre de bits par seconde utilisé par un fichier musical numérique. Le volume et la qualité d'un fichier audionumericique com
primé sont déterminés par le débit binaire de codage du fichier.
- Fréquence d'échantillonnage - La fréquence d'échantillonnage est la fréquence de conversion des échantillons d'un signal de l'analogue au numérique (conversion A-N) par seconde.
- Multisession - Ceci est l'une des méthodes utilisées pour enregistrer des données sur un support. Un disque simple session est écrit en une seule fois, tandis qu'un disque multisession est écrit en plusieurs fois.
- Étiquette ID3 ou WMA - L'étiquette ID3 ou WMA fait partie du fichier MP3 ou WMA code qui contient des données au sujet du fichier musical numérique, comme le titre de la piece musicale, le nom de l'artiste, le débit binaire de codage, la durée des pistes, etc. Les données de l'étiquette ID3 sont affichées dans la ligne Nom de l'artiste et titre de la piece musicale de l'écran.
*Windows MD et Windows Media MD sont des marques déposées ou des marques de commerce de Microsoft Corporation aux États-Unis et dans d'autres pays.

Tableau de l'ordre de lecture
Ordre de lecture :
L'ordre de lecture d'un CD comportant des fi-chiers MP3 ou WMA est tel qu'illustré.
- Le nom des dossiers qui ne contiennent pas de fichiers MP3 ou WMA n'apparait pas à l'écran.
- S'il y a un fichier au niveau supérieur du disque, « Root Folder » (dossier racine) s'affiche.
L'ordre de lecture est l'ordre d'ecriture des fichiers par le logiciel de lecture. De ce fait, les fichiers peuvent ne pas etre lus dans l'ordre youlu.
Tableau des caractéristiques :
| Disques acceptés | CD, CD-R, CD-RW | ||
| Systèmes de fichiers acceptés | ISO 9660 NIVEAU 1, ISO 9660 NIVEAU 2, Apple ISO, Romeo, Joliet * ISO 9660 niveau 3 (écriture par paquets) n'est pas accepté. | ||
| Versions prises en charge*1 | MP3 | Version | MPEG1, MPEG2, MPEG2.5 |
| Fréquence d'échantillonnage | 8 kHz à 48 kHz | ||
| Débit binaire | 8 kbps à 320 kbps, variable | ||
| WMA | Version | WMA7, WMA8, WMA9 | |
| Fréquence d'échantillonnage | 32 kHz à 48 kHz | ||
| Débit binaire | 48 kbps à 192 kbps, variable | ||
| Données d'étiquette | Étiquette ID3 VER1.0, VER1.1, VER2.2, VER2.3 (MP3 seulement) | ||
| Niveaux de dossiers | Niveaux de dossiers : 8, nombre maximal de dossiers : 255 (y compris le dossier racine), fichiers : 512 (maximum de 255 fichiers par dossier) | ||
| Limits du nombre de caractères de texte | 128 caractères | ||
| Codes de caractères affichables*2 | 01 : ASCII, 02 : ISO-8859-1, 03 : UNICODE (UTF-16 BOM Big Endian), 04 : UNICODE (UTF-16 Non-BOM Big Endian), 05 : UNICODE (UTF-8), 06 : UNICODE (Non-UTF-16 BOM Little Endian) | ||
1 Les fichiers créés avec une combinaison de fréquence d'échantillonnage de 48 kHz et un débit binaire de 64 kbps ne peuvent être lus.
2 Les codes disponibles dépendent du média, des versions et de l'information qui doit s'afficher.
Guide de dépannage :
| Symptôme | Cause et mesure corrective |
| Lecture impossibly | Vérifiez si le disque a été correctement inséré. |
| Vérifiez si le disque est rayé ou sale. | |
| Vérifiez s'il y a de la condensation dans le lecteur. Le cas échéant, attendez que la condensation soit éliminée (environ 1 heures) avant d'utiliser le lecteur. | |
| S'il y a une erreur causée par l'augmentation de température, le lecteur de CD fonctionnera correctement dès le retour à la température normale. | |
| Les fichiers avec des extensions autres que « .MP3», « .mp3 » ou « .wma » ne peuvent pas être lus. De plus, les codes de caractère et le nombre de caractères par nom de dossier et nom de fichier doivent être conformes aux normes. | |
| Vérifiez si l'étape de finalisation du disque ou la session de fermeture a bien été effectuee. | |
| Vérifiez si le disque est protégé par des droits d'auteur. | |
| Mauvaise qualité sonore | Vérifiez si le disque est rayé ou sale. |
| Le débit binaire peut être trop faible. | |
| Le temps est relativement long avant que la musique commence. | S'il y a de nombreux dossiers ou niveaux de fichiers sur le disque MP3/WMA, ou s'il s'agit d'un disque multisession, la lecture peut demander un certain temps avant de commencer. |
| La musique est interrompue ou des passages sont ignorés | La combinaison logiciel et matériel d'écriture ne correspond pas ou la vitesse d'écriture, la profondeur d'écriture, la durée d'écriture, etc. peu-vent ne pas correspondre aux caractéristiques. Tentez d'utiliser la vitesse d'écriture la plus BASSE. |
| Des passages sont ignorés lorsque le débit binaire est élevé | Des passages peuvent êtreIgnorés en présence de grandes quantités de données, comme dans le case de données à débit binaire élevé. |
| Passage immédiat à la piste sui-vante au moment de la lecture | Lorsqu'un fichier autre que MP3 ou WMA reçoit une extension autre que « .MP3», « .WMA», « .mp3 » ou « .wma», ou lorsque la lecture est in-terdite en vertu des droits d'auteur, il s'écoule cinq secondes sans son et, ensuite, le lecteur passé à la piste suivante. |
| Les pistes ne sont pas lues dans l'ordre voulu | L'ordre de lecture est l'ordre d'écriture des fichiers par le logiciel de lecture. De ce fait, les fichiers peuvent ne pas être lus dans l'ordre voulu. |

WHA0586
- Touche PRESET A-B-C (préselections)
- Écran d'affichage
- Touche CD
- Touche d'éjection de CD
- Fente de chargement de CD
-
Touche MENU
-
Touche AUDIO
- Touches de seLECTION des stations (1 à 6)
-
Touche SEEK/TRACK - FF/REV (recherche-piste, avance rapide-retour rapide)
-
Bouton PWR/VOL (marche-arrêt, volume)
- Touche BAND (bande de fréquences)
RADIO AM-FM AVEC LECTEUR DE CD (selon l'équipment du vehicule)
Consultez la section « Précautions concernant l'utilisation de la chaine audio » ci-dessus dans ce chapitre pour connaître toutes les précautions au sujet de l'utilisation.
Bouton PWR/VOL (marche-arrêt, volume)
Tournez la clé de contact à la position ACC ou ON, puis appuyez sur le bouton PWR/VOL. Tournez la clé de contact à la position ACC si vous écoutez la radio lorsque le moteur est arrêté. La chaîne audio se remet en fonction dans le mode qui avait été sélectionnéAAParavant.
Sieldom CD ne se trouve dans le lecteur, la radio s'allume. Pour eteindre la chaine audio, appuyez de nouveau sur le bouton PWR/VOL.
Tournez le bouton de marche-arrêt, volume vers la droite pour augmenter le volume et vers la gauche pour le diminuer.
Touche AUDIO (Bass [graves], Treble [aigués], Fade [équilibre avant-arrête], Balance [équilibre gauche-droit]):
Appuyez sur la touche AUDIO pour changer le mode comme suit :
BASS (graves) TREB (aiguës) FAD (équilibre avant-arrête) BAL (équilibre gauche-droit) Audio or OFF (audio ou hors fonction) BASS (graves)
Appuyez sur la touche AUDIO jusqu'à ce que le mode désiré s'affiche à l'écran pour régler les graves, les aigués, l'équilibre avant-àrrière et l'équilibre gauche-droit. Appuyez sur la touche SEEK/TRACK (recherche-piste) pour régler les graves et les aigués au niveau désiré. Vous pouvez également utiliser la touche SEEK/TRACK (recherche-piste) pour régler les modes d'équilibre avant-àrrière et d'équilibre gauche-droit. L'équilibreur avant-àrrière règle le niveau sonore entre les haut-parleurs avant et arrière alors que l'équilibreur gauche-droit règle le niveau du son entre les haut-parleurs droit et.gauche.
Une fois la qualité sonore régée au niveau désiré, appuyez plusieurs fois sur la touche AUDIO jusqu'à ce que l'affichage de la radio ou du lecteur de CD apparaisse de nouveau. Sinon,
l'écran de la radio ou du lecteur de CD réapparait automatiquement après un début d'environ sept secondes.
Réglage de la montre
- Maintenez la touche MENU enforcée jusqu'à ce qu'un bip retentisse (pendant plus de deux secondes) pour acceder au mode de réglage de la montre.
- Le chiffre des heures clignote. Appuyez sur la touche SEEK/TRACK (recherche-piste) ou pour régler les heures.
- Appuyez de nouveau sur la touche MENU jusqu'à ce que la radio émette un bip pour passer au réglage des minutes.
- Le chiffre des minutes clignote. Appuyez sur la touche SEEK/TRACK (recherche-piste) ou pour régler les minutes.
- Appuyez de nouveau sur la touche MENU pour quitter le mode de réglage de la montre.
L'écran revient automatiquement en mode d'affichage normal de la montre après un début de sept secondes, ou enforcez de nouveau la touche MENU pour revenir immédiatement à cet affichage.
Fonctionnement de la radio AM/FM
Sélection des bandes de fréquences AM ou FM :
La touche BAND (bande de fréquences) permet d'alterner entre les bandes de fréquences comme suit :
AM FM
Lorsque la touche BAND (bande de fréquences) est enforcée alors que le contacteur d'allumage est à la position ACC ou ON, la radio s'allume et symponise la dernier station écoutee.
Si la touche BAND (bande de fréquences) est enforcée pendant la lecture d'un CD, la lecture est automatiquement interrompue et la radio s'allume et syntonise la dernière station écoutee.
L'indicateur de bande FM stéreo (ST) est allumé pendant la réception FM stéreo. Lorsque le signal d'émission stéreo faiblit, la radio passa automatique d'une réception stéreo à une réception monophonique.
Touche MENU :
Appuyez sur la touche MENU pendant que la radio est allumée pour changer le mode de synonymisation comme suit :
Mode de symtonisation par recherche mode de syntonisation manuelle mode de symtonisation par balayage
« TUNE » (syntonisation) et « SCAN » (balayage) s'affichent à l'écran pour chaque mode. Aucune icône ne s'affiche pour le mode de syntonisation par recherche.

Syntonisation par recherche
En mode de syntonisation par recherche, appuyez sur la touche SEEK/TRACK (recherche-piste) ou pendant moins d'une seconde et demie. La syntonisation par recherche s'effectue dans un ordre croissant ou decroissant de fréquences, selon le bouton qui a été enforcé, et s'arrête sur la station suivante. Appuyez sur la touche et, lorsque la station ayant la fréquence la plus élevé est atteinte, le mode de syntonisation par recherche se poursuit à partir de la station ayant la fréquence la plus BASSE. Lorsque la station ayant la fréquence la plus BASSE est atteinte avec la touche ,le
mode de syntonisation par recherche se poursuit à partir de la station ayant la fréquence la plus élevé.

Syntonisation manuelle
En mode de syntonisation manuelle, appuyez sur la touche SEEK/TRACK(recherche-piste) ou pour symponiser manuelles le stations. Maintenez la touche SEEK/TRACK (recherche-piste) ou enforcée pour parcourir rapidement les stations de radio.

Syntonisation par balayage
En mode de syntonisation par balayage, appuyez sur la touche SEEK/TRACK (recherche-piste) ou pendant plus d'une seconde et demie.
La syntonisation par balayage s'effectue dans un ordre croissant ou decroissant des fréquences, selon la touche SEEK/TRACK (recherche-piste) ou enconcée. La syntonisation par balayage s'arrête sur chaque station de radio pendant cinq secondes. Pendant le balayage, l'écran affiche SCAN (balayage) et l'indicatif de la station de radio clignote. Lorsque le balayage s'arrête temporairement sur une station de radio, l'écran affiche l'indicatif de la station de radio et SCAN (balayage) clignote. Appuyez de nouveau sur la touche SEEK/TRACK
(recherche-piste) ou pendant cette période de cinq secondes pour cesser la syntonisation par balayage. La radio restera syntonisée sur la station en cours.
Opérations de mise en mémoire des stations
Vous pouvezmettre en mémoire jusqu'à 18 stations des bandes AM et FM à l'aide des touches de mise en mémoire des présélections A, B et C, en combinant les stations AM et FM au besoin.
- Appuyez sur la touche PRESET A-B-C (mise en mémoire des préseLECTIONs) pour passer d'un groupe de stations à un autre. La radio affiche la lecture A, B ou C pour indiquer le groupe de préseLECTIONs actif.
- Sélectionnez la station désirée en utilisant les touches de syntonisation manuelle ou de syntonisation par recherche. Maintenez une des touches de mise en mémoire des stations (1 à 6) enforcée jusqu'à ce qu'un bip retentisse. (La radio est mise en sourdine lorsque vous appuyez sur la touche de seLECTION.)
-
L'indicateur de bande s'allume ensuite et le son est rétabli. La programmation est terminée.
-
D'autres stations peuvent être mises en mémoire (étre assignées à d'autres touches de préselection) en procédant de la même manière.
Si la batterie est débranchée ou si le fusible de la radio grille, la mémoire de la radio est désactivée. Si tel est le cas, repêze les étapes de mise en mémoire des stations désirées.
Fonctionnement du lecteur de CD
Tournez la clé de contact à la position ACC ou ON, puis insérez le CD avec soin dans la fente. L'étiquette doit être orientée vers le haut. Le CD est charge automatiquement et la lecture commence.
Si la radio est déjà allumée, elle s'est automatiquement pour permettre la lecture du CD.
Touche CD :
Lorsque la touche du lecteur de CD est enforcée alors qu'un CD est chargé et que la radio est allumée, la radio s'eteint et la lecture du CD débute.


Touche SEEK/TRACK (recherche-piste):
Pendant la lecture d'un CD, lorsque la touche SEEK/TRACK 工 est enforcée, la lecture du CD salle au début de la piste suivante de celle en cours de lecture. Appuyez plusieurs fois sur la
touche SEEK/TRACK pour ignoreer plusieurs pistes suivantes. La lecture du CD passes a la piste suivante chaque fois que la touche est enforcée. Le numero de la piste s'affiche. (Lorsque la derniere piste du CD estigneee, la lecture reprend a la premiere piste.)
Lorsque la touche SEEK/TRACK 一 est en Foncée, la lecture reprend au début de la piste en cours de lecture. Appuyez plusieurs fois sur la touche SEEK/TRACK 一 pour ignorer plusieurs pistes precedentes. Chaque fois que la touche est enfoncée, la lecture du CD passé à la piste precedente.


Touche SEEK/TRACK -FF/REV (recherche-piste, avance rapideretour rapide):
En maintainant la touche SEEK/TRACK ou enfincée pendant la lecture d'un CD, vous faites passer le lecteur en vitesse accelerée vers l'avant ou vers l'arrière. Lorsque la touche est relachée, la lecture du CD reprend à la vitesse normale.
Touche MENU :
Une pression sur la touche MENU pendant la lecture du CD modifie le mode de lecture de la façon suivante :
RPT (répétition) MIX (lecture aléatoire) Normal
RPT (répétition): La piste en cours de lecture est répétée.
MIX (lecture aléatoire) : Les pistes du disque seront lues dans un ordre aléatoire, en ignorant l'ordre normal du disque. Une même piste peut être répetée deux fois. Appuyez sur la touche en mode de lecture MIX (lecture aléatoire) pour que les pistes soient lues dans un ordre aléatoire.
Lorsqu'un nouveau CD est inséré dans le lecteur, la lecture reprend automatiquement en mode normal.

Touched'éjection de CD :
Lorsque la touche est enforcée et qu'un CD est chargé, le CD est éjecté.
Lorsque la touche est enforcée pendant la lecture d'un CD, le CD est ejecté et la chaine audio s'eteint.
Témoin CD IN (CD inséré) :
Le témoin s'affiche à l'écran lorsqu'un CD est charge alors que la chaine audio est allumée.

WHA0735
- Touche PRESET A-B-C (préselections)
- Écran d'affichage
- Touche DISP/CLOCK (affichagemontre)
-
Touche SEEK/TRACK (recherche, piste)
-
Touche CD
- Touche RADIO*
- Touche AUX (auxiliaire)
- Touche SCAN RPT (balayage répétitif)
- Touche CAT FOLDER (dossier-catalogie)
4-22 Appareil de chauffage et climatiseur et chaine stéréophonique
- G Touche LOAD (chargement)
- Fente de chargement de CD
- Touche d'éjection de CD
- Bouton PWR/VOL (marche-arrêt, volume)
- Touches de seLECTION des stations et des CD (1 à 6)
-
Touche AUDIO/TUNE (sélection audio-syntonisation)
-
Aucune réception radio satellite n'est disponible lorsque la touche RADIOL est enforcée pour acceder aux stations de radio satellite si la radio satellite en option et son antennne n'ont pas été installées ou s'il n'y a pas d'abonnement au service de radio satellite XMMD ou SI-RIUSMC en vigueur. La radio satellite ne peut être installée que dans un vehicule précâblé en usine pour la radio satellite. La radio satellite n'est pas offerte en Alaska, à Hawaï et à Guam.
RADIO AM/FM/SAT AVEC CHARGEUR DE CD
Aucune réception radio satellite n'est disponible et la mention « NO SAT » (pas de réception satellite) s'affiche lorsque la touche RADIO est enforcée pour acceder aux stations de radio satellite si la radio satellite en option et son antenne n'ont pas été installées ou s'il n'y a pas d'abonnement au service de radio satellite XM MD ou SIRIUSMC en vigueur. La radio satellite ne peut être installée que dans un vehicule précâblé en usine pour la radio satellite. La radio satellite n'est pas offerte en Alaska, à Hawaï et à Guam.
Fonctionnement principal de la chaine audio
Bouton PWR/VOL (marche-arrêt, volume) :
Tournez la clé de contact à la position ACC ou ON et appuyez sur le bouton PWR/VOL lorsque la châne est éteinte pour revenir au dernier mode audio utilisé (radio ou lecteur de CD) avant que la châne ne soit éteinte.
Appuyez sur le bouton PWR/VOL pour éteindre la châne audio.
Tournez le bouton PWR/VOL pour régler le volume.
Votre vehicule peut etre doted'une chaine audio a commande de volume asservie à la vitesse.
Cette commande change le volume de la chaine audio selon la vitesse à laquelle vous conducisez.
Bouton AUDIO (BASS [graves], MID [moyennes], TREBLE [aigués], FADE [équilibre avant-arrête], BALANCE [équilibre gauche-droit] et SSV [volume asservi à la vitesse, selon l'équipement du vehicule]):
Appuyez sur le bouton AUDIO pour modifier le mode sélectionné comme suit :
BASS (graves) MID (moyennes) TREBLE (aigués) FADE (équilibre avant-arrête) BALANCE (équilibre gauche-droit) SSV (selon l'équipement du vehicule)
Appuyez sur le bouton AUDIO jusqu'à ce que le mode désiré s'affiche à l'écran (BASS, MID, TREBLE, FADE ou BALANCE) pour régler les graves, les tonalités moyennes, les aigués, l'équilibre avant-arrête et l'équilibre gauche-droit. Tournez le bouton de syntonisation pour régler le niveau des graves et des aigués. Vous pouze également utiliser le bouton de syntonisation pour régler les modes d'équilibre avant-arrrière et d'équilibre gauche-droit. L'équilibreur avant-arrrière règle le niveau sonore entre les haut-parleurs avant et arrrière alors que l'équilibreur gauche-droit règle le niveau du son entre les haut-parleurs droit et gauche.
Tournez le bouton de syntonisation vers la croite ou vers la gauche pour faire passer le mode de volume asservi à la vitesse à OFF (hors fonction), LOW (bas), MID (moyen) ou HIGH (elevé).
Une fois la qualité sonore établie au niveau dé-siré, appuyez sur le bouton AUDIO de façon répetée jusqu'à ce que l'affichage du mode radio ou lecteur de CD apparaisse de nouveau. Autrement, l'affichage du mode radio ou lecteur de CD se rétablit après environ 10 secondes.
Réglage de la montre
- Maintenez la touche DISP/CLOCK (affichage-montre) enforcée jusqu'à ce qu'un bip retentisse (>1,5 seconde).
- Le chiffre des heures clignote. Appuyez sur la touche CAT FOLDER (catégorie-dossier) ou ou SEEK TRACK (recherche-piste) ou pour régler les heures.
- Appuyez de nouveau sur la touche DISP/CLOCK (affichage-montre) pour passer au réglage des minutes.
-
Appuyez sur la touche CAT FOLDER (catégorie-dossier) ou ou SEEK TRACK (recherche-piste) ou pour régler les minutes.
-
Appuyez de nouveau sur la touche DISP/CLOCK (affichage-montre) pour quitter le mode de réglage de la montre.
L'affichage normal de la montre se rétablit après sept secondes, ou vous pouvez enforcer la touche DISP/CLOCK (affichage-montre) de nouveau pour y revenir immédiatement.
Touche DISP (affichage) :
La touche DISP permet d'afficher à l'écran de la radio l'information textuelle relative aux modes MP3, SAT ou CD.
Mode d'affichage CD
Pour changer l'information textuelle pendant la lecture d'un CD, appuyez sur la touche DISP. La touche DISP vous propose les可以选择 suivants dans le mode CD: Disc title (titre du disque) Track title (titre de la piste).
Pour changer le mode d'affichage par défaut, appuyez plusieurs fois sur le bouton AUDIO jusqu'à ce que DISPLAY MODE (mode d'affichage) s'affiche, puis tournez le bouton pour selectionner les modes suivants : Disc number (numéro du disque) ←→ Folder number (numéro du dossier).
Une fois votrechoixeffectué,appuyezde nouveau sur le bouton AUDIO pour le sauvegarder. Si vous n'appuyez pas sur le bouton AUDIO dans
les huit secondes, l'écran reprend automatique-ment le dernier mode d'affichage sélectionné.
- Le mode de titre de la piste affiche le titre de la piste sélectionnée sur le CD.
- Le mode de titre du disque affiche le titre du CD en cours de lecture.
- Le mode de numéro de la piste affiche le número du disque et le número de la piste en cours de lecture sur le disque.
- Le mode de numéro du disque affiche le numéro du disque en cours de lecture dans le chargeur.
Mode d'affichage MP3
Pour changer l'information textuelle pendant la lecture d'un disque MP3 ou WMA avec texte MP3 ou WMA (lorsqu'un CD avec texte est utilisé), appuyez sur la touche DISP (affichage). La touche DISP (affichage) permet de parcouir le texte du CD comme suit : Track title (titre de la piste) Folder title (titre du dossier) Artist title (nom de l'artiste) Disc number (numéro du disque) Folder number (numéro du dossier).
Pour changer le mode d'affichage par défaut, appuyez plusieurs fois sur le bouton AUDIO jusqu'à ce que DISPLAY MODE (mode d'affichage) s'affiche, puis tournez le bouton pour
sLECTIONNER les modes suivants : Disc number (numéro du disque) Folder number (numéro du dossier).
Une fois votrechoixeffectué,appuyezde nouveau sur le bouton AUDIO pour le sauvegarder.
- Le mode de numéro du dossier affiche le numéro du dossier sélectionné et le numéro de la piste en cours de lecture.
- Le mode de numéro du disque affiche le número du disque sélection et le número de la piste en cours de lecture.
- Le mode de nom de l'artiste affiche le nom de l'artiste du fichier MP3 ou WMA.
- Le mode de titre de la piste affiche le titre de la piste du fichier MP3 ou WMA.
- Le mode de titre du dossier affiche le nom donné au dossier MP3.
Mode d'affichage de la radio satellite (se- lon l'equipement du vehicule)
Pour changer l'information textuelle pendant l'écoute de la radio satellite (selon l'équipement du vehicule), appuyez sur la touche DISP. La touche DISP (affichage) permet de parcourir l'information diffusée comme suit: Name (nom) Title (titre) Current display mode (mode d'affichage actuel).
Pour changer le mode d'affichage par défaut, appuyez sur la touche AUDIO afin d'afficher le mode et appuyez sur la touche TUNE (syntonisation) pour sélectionner les modes d'affichage suivants : Channel number (numéro de la chaine) Channel name (nom de la chaine) Name (nom) Title (titre). Appuyez de nouveau sur la touche AUDIO pour enregistrer votrechioix de mode d'affichage. Si vous n'appuyez pas sur la touche AUDIO dans les huit secondes, l'écran revient automatiquement au dernier mode d'affichage sélectionné.
- Le mode de numéro de la chaine affiche le número de la chaine de la station de radio satellite sélectionnée.
- Le mode de nom de la chaîne affiche le nom de la chaîne de la station de radio satellite sélectionnée.
- Le mode de nom affiche le nom de l'artiste, de l'animateur, ou les conditions météorologiques de la station de radio satellite sélectionnée.
- Le mode de titre affiche le nom de la sélection musicale, de l'émission, ou la température de la station de radio satellite sélectionnée.
Fonctionnement de la radio AM-FMSAT
Sélection des bandes de fréquences AMFM-SAT:
La bande de fréquences est modifiée comme suit lorsque vous enforcez la touche RADIO :
AM FM ou SAT (satellite, selon l'équipement du vehicule)
Lorsque la touche RADIO est enforcée alors que la clé de contact est tournée à la position ACC ou ON, la radio s'allume à la première station synthonisée.
La dernière station est également syntonisée lorsque vous enforcez le bouton PWR/VOL en position de marche.
Aucune réception radio satellite n'est disponible et la mention « NO SAT » (pas de réception satellite) s'affiche lorsque la touche RADIO est enforcée pour acceder aux stations de radio satellite si la radio satellite en option et son antenne n'ont pas été installées ou s'il n'y a pas d'abonnement au service de radio satellite XMMD ou SIRIUSMC en vigueur. La radio satellite ne peut être installée que dans un vehicule précâblé en usine pour la radio satellite. La radio satellite n'est pas offerte en Alaska, à Hawaï et à Guam. Si
la radio satellite n'est pas fonctionnelle, la touche RADIO est utilisée pour basculer entre les bandes AM et FM.
Si la touche RADIO est enforcée pendant la lecture d'un CD, la lecture est automatiquement interrompue et la dernière station de radio écoute est syntonisée.
L'indicateur de bande FM stéreo (ST) est allumé pendant la réception FM stéreo. Lorsque le signal d'émission stéreo faiblit, la radio passa automatique d'une réception stéreo à une réception monophonique.

Touche CAT FOLDER (catégie-dossier [synthonisation]):
Pour symponiser manuellement la radio, enforcez la touche CAT FOLDER « ou « ou tournez le bouton de syntonisation vers la droite ou vers la gauche.
Pour faire defiler les stations rapidement, enoncez l'une ou l'autre des touches « ou « pendant plus d'une seconde et demie.
![NISSAN FRONTIER - Touche CAT FOLDER (catégie-dossier [synthonisation]): - 1](/content/2025/12/7921/images/1e162db89af30d15dbb1f65fe101d9748d96fe3ba98fef7dcdddf392b4d1c5e5.jpg)
![NISSAN FRONTIER - Touche CAT FOLDER (catégie-dossier [synthonisation]): - 2](/content/2025/12/7921/images/a1f9bd6aee92e3a61d9a6b197012b671a16b8f56069cc3977bf9b0602da684a2.jpg)
Touche SEEK/TRACK (recherche-piste [syntonisation]):
Appuyez sur la touche SEEK/TRACK (recherche-piste) ou pendant moins d'une seconde et demie pour symoniser les fréquences, des plus élevées aux plus basses ou vice versa, et arrêté à la station de radio suivante.
Pour rechercher les stations rapidement, enforcez la touche SEEK/TRACK pendant plus d'une seconde et demie. Lorsque la touche est reliacquee, la radio recherche la prochaine station de radio.
Touche SCAN RPT (syntonisation par ballayage répétitif) (types A, B et D seulment):
Enforcez la touche SCAN RPT (balayage répétitif) pendant plus d'une seconde et demie pour arréter à chacune des stations de radio (AM, FM ou SAT, selon l'équipement du vehicule) pendant cinq secondes. Si vous appuyez de nouveau sur la touche pendant cette période de cinq secondes, le balayage est interrompu et la radio demeure symtonisée à cette station. Si la touche SCAN RPT (balayage répétitif) n'est pas enforcée dans les cinq secondes, la fonction de balayage passée à la station suivante.
Touche PRESET A-B-C (mise en mémoire des préselections):
Voussoupiezmettre en mémoire jusqu'à 18 stations des bandes AM,FM et SAT (satellite, selon l'équipement du vehicule) au moyen des touches de mise en mémoire des préselections A,B et C, en combinant les stations AM et FM ou SAT comme vous le souhaitez.
- Choisissez la bande de présélections A, B ou C à l'aide de la touche PRESET A-B-C (mise en mémoire des présélections).
- Sélectionnez la bande de fréquences FM, AM ou SAT voulue.
- Sélectionnez la station désirée à l'aide de la syntonisation manuelle, par recherche ou par balayage. Maintenez une des touches de mise en mémoire des stations (1 à 6) enforcée jusqu'à ce qu'un bip retentisse.
- L'indicateur de bande s'allume ensuite et le son est rétabli. La programmation est terminée.
- D'autres stations peuvent être mises en mémoire (été assignées à d'autres touches de préselection) en procédant de la même manière.
Si la batterie est débranchée ou si le fusible de la radio grille, la mémoire de la radio est désactivée.
Si tel est le cas, repétez les étapes de mise en mémoire des stations désirées.
Système RDS (système de radiocommunication de données):
Le système RDS est un service de données encodées à l'intérieur d'une programmation radiophonique et qui est offert par certaines stations de la bande FM (non disponible sur la bande AM). Actuellement, la plupart des stations RDS se trouvent dans les grandes villes, mais plusieurs stations envisagent maintainant de diffuser des données RDS.
Le système RDS peut afficher :
- l'indicatif d'appel de la station, par exemple, « WHFR 98,3 »;
- le nom de la station, par exemple, « The Groove »;
- le type de musique ou de programmation, par exemple, « Classique», « Country » ou « Rock »;
- le nom de l'artiste et le titre de la pièce musicale.
Si une station diffuse de l'information RDS, I'icone RDS s'affiche.
Fonctionnement du chargeur de CD
Tournez la clé de contact à la position ACC ou ON, puis insérez le CD dans la fente. L'étiquette doit être orientée vers le haut. Le CD entre automatiquement dans le lecteur et la lecture commence. Pour insérer un CD, appuyez d'abord sur la touche LOAD (chargement).
Si la radio est déjà en fonction, elle s'interrompt automatiquement pour permettre la lecture du CD.
Si la chaine est eteinte pendant la lecture d'un CD, la lecture reprend lorsque la touche PWR/VOL (marche-arrêt, volume) est enfoncée.
N'utilisez pas de CD d'un diamètre de 8 cm (3,1 po) dans votre chargeur de CD.

Touché de chargement de CD :
Appuyez sur la touche de chargement pendant moins d'une seconde et demie pour insérer un CD dans le chargeur. Sélectionnez la fente de chargement en appuyant sur la touche de selection de chargement de CD appropriée (1 à 6), puis insérez le CD.
Enforcez la touche de chargement pendant plus d'une seconde et demie pour insérer six CD dans le chargeur de CD.
Les numérores correspondant aux fentes (1 à 6) s'allument à l'écran lorsque les CD sont charges.
Touche CD :
Si la touche CD est enforcée lorsqu'un CD est chargé et que la chaine audio est eteinte, la chaine audio s'allume pour permettre la lecture du CD.
Si la touche CD est enforcée lorsqu'un CD est charge et que la radio est allumée, la radio s'eteint automatiquement pour permettre la lecture du CD.

TouchesEEK/TRACK (recherche-piste) :
Si la touche est enforcée pendant moins d'une seconde et demie durant la lecture d'un CD, la lecture de la piste en cours recommence au début. Appuyez plusieurs fois sur la touche pour parcourir les pistes en ordre descendant. Le lecteur de CD recule les pistes selon le nombre de fois que la touche est enforcée.
Si la touche est enforcée pendant moins d'une seconde et demie pendant la lecture d'un CD, la lecture de la piste suivante commence au début. Appuyez plusieurs fois sur la touche pour parcourir les pistes en ordre descendant. Le lecteur de CD avance les pistes selon le nombre de
fois que la touche est enforcée. (Apuès avoir atteint la dernière piste du CD, la lecture reprend à la première piste.)

Touche CAT FOLDER (catégorie-dossier) :
Pendant la lecture d'un CD, appuyez sur la touche CAT FOLDER « ou « pour avancer ou reculer rapidement dans une piste du CD.

Touche MP3 CAT FOLDER (catégiedossier):
Pendant la lecture d'un CD MP3, appuyez sur la touche CAT FOLDER « ou « pour balayer les dossiers precedents ou suivants disponibles.
Maintenez la touche CAT FOLDER ou enfoncée pour avancer ou reculer rapidement dans un fichier du CD MP3.
Touches de seLECTION des CD :
Appuyez sur une touche de selection de CD (1 à 6) pour selectionner un autre CD charge.
Touche SCAN/RPT (balayage-repétition) :
Lorsque la touche SCAN/RPT est enforcée pendant la lecture d'un CD, le modele de lecture peut etre modifie comme suit :
ALL DISC RPT (répétition de tous les disques) 1 DISC RPT (répétition d'un disque) 1 TRACK RPT (répétition d'une piste) ALL DISC RDM (lecture aléatoire de tous les disques) 1 DISC RDM (lecture aléatoire d'un disque) ALL DISC RPT (répétition de tous les disques).
ALL DISC RPT : répétition de tous les disques charges.
1 DISC RPT: répétition d'un disque en cours de lecture.
1 TRACK RPT : répétition de la piste en cours de lecture.
ALL DISC RDM : lecture aléatoire des pistes de tous les disques.
1 DISC RDM : lecture aléatoire des pistes du disque en cours de lecture.

Touched'éjection de CD :
Disque en cours de lecture-sélectionné :
- Enforcez la touche puis celle portant le numero correspondant à la fente du disque souhaite (1 à 6). Le CD est ejecté. Si aucune touche de seLECTION de CD (1 à 6) n'est enforcée, le CD en cours de lecture
sera ejecté. Aussi, le disque est de nouveau charge s'il n'est pas retire du lecteur dans les 15 secondes.
Tous les disques :
- Enforcez la touche pendant plus d'une seconde et demie. Les CD sont éjectés un à la fois. La séquence complète d'éjection sera annulée si un disque n'est pas retireé dans un-delai de 15 secondes ou si la touche est enforcée de nouveaupendant la séquence.
Si cette touche est enfoncée pendant la lecture du CD, ce dernier est ejecté et la lecture reprend selon la dernière source audio utilisée.
Témoin CD IN (CD inséré) :
Les nombres de fente (1 à 6) s'allument si des CD ont été charges dans le chargeur en mode lecteur de CD seulement.

Prise AUX (selon l'équipement du vehicule)
La prise AUX (auxiliaire) ① se trouve au-dessus de la prise d'alimentation. La prise d'entrée audio AUX accepte n'importe qu'elle entrée audio analogique normale comme celle d'un lecteur de cassettes portatif, d'un lecteur MP3 ou d'un ordinateur portatif.
Appuyez sur la touche AUX pour faire la lecture d'un dispositif compatible branché à la prise AUX.

ENTRETIEN ET NETTOYAGE DESC CD
- Tenez un CD par ses rebords. Ne pliez pas le disque. Ne touchez jamais la surface du disque.
Lorsqu'ils ne sont pas utilisés, gardez toujours les CD dans leur boitier de rangement. -
Pour nettoyer un CD, essuyez sa surface avec un chiffon propre et doux, en allant du centre vers le rebord extérieur du disque. N'essuyez pas le CD avec un mouvement circulaire.
-
N'utilise pas de nettoyeur à disque conventionnel ou d'alcool destiné à une utilisation industrielle.
- Un CD neuf peut partager des rebords interieur et extérieur irréguliers. Attenuez ces irrégularités en passant le bord d'un stylo ou d'un crayon sur les rebords interieur et extérieur du CD, comme illustré.

- Touche VOL (commande du volume)
- Touche MODE
- Touche POWER (marche-arrêt)
- Touche de syntonisation
INTERRUPTEUR DE COMMANDE AUDIO SUR LE VOLANT (selon l'équipement du vehicule)
La chaine audio peut etre activee a l'aide des commandes sur le volant.
Touche POWER (marche-arrêt)
Tournez la clé de contact à la position ACC ou ON, puis appuyez sur la touche POWER (marche-arrêt) pour allumer ou éteindre la chaine audio.
Touch mode (selecteur de mode)
Poussez le sélecteur de mode pour désir un mode parmi les suivants :
Modes de présélection PRESET A PRESET B PRESET C CD PRESET A
Touche VOL (commande du volume)
Poussez la commande vers le haut ou vers le bas pour augmenter ou pour réduire le volume.


Touches de syntonisation
Changement de station mémorisée (radio)
Enforcez la touche de syntonisation ( ou ) pendant moins d'une seconde et demie pour modifier la station méorisée.
Syntonisation par recherche (radio)
Enforcez la touche de syntonisation ou pendant plus d'une seconde et demie pour rechercher la station precedente ou suivante.
Piste suivante ou precedente (CD):
Enforcez la touche de symponisation ou pendant moins de 1,5 seconde pour revenir au début de la piste en cours de lecture ou pour passer à la piste suivante. Enforcez la touche plusieurs fois pour revenir en arrêté ou avancer de plusieurs pistes.
Changement de disque (selon l'équipement du vehicule):
Enforcez la touche de synonymisation par recherche ou pendant plus d'une seconde et demie pour passer au CD précédent ou suivant.
ANTENNE
L'antenne ne peut pas etre escamotee, mais elle peut etre retiree. Si vous nevez retirer l'antenne, tournez la tige de I'antenne dans le sens contraire des aiguilles d'une montre.
Pour installer la tige de l'antenne, tournez-la dans le sens des aiguilles d'une montre. Serrez la tige au couple spécifique au moyen d'un outil approprié, comme une clé à fourche. Le couple de serrage spécifique pour l'antenne est de 3,4 à 3,6 N·m (30 livres-pouce). N'utilise pas de pinces pour serrer la tige de l'antenne en place, car elles risquent d'y laisser des marques. Il n'est pas possible de serrer manuellement la tige de l'antenne au couple préconisé.

MISE EN GARDE
Serrez toujours fermement la tige de l'antenne au moment de son installation, sinon elle risque de se casser pendant que vous conduisez le vehicule.
TELEPHONE DE VOITURE OU RADIO BP
Si vous installez un poste de bande publique, un radio-amateur ou un téléphone pour VOiture dans voiture du vehicule NISSAN, respectez les precautions suivantes pour prévenir toute interfeERENCE avec le circuit de commande du moteur et les autres composants électroniques.

AVERTISSEMENT
- La conduite d'un vehicule exige toute l'attention du conducteur. Ce dernier ne devrait donc pas utiliser son téléphone cellulaire lorsqu'il est au volant. Les lois de certaines régions interdisent l'utilisation d'un téléphone cellulaire en conduisant.
- Si vous devez téléphoner en conduitsant, il est vivement recommanced'uniliser le mode « mains libres » de leur téléphone cellulaire (selon l'equipement du vehicule).Faites preuve d'une grande prudence en tout temps et concentrez-vous sur la conduite du vehicule.
- Si vous tenez une conversation pendant que vous conduisez et si vous avez besoin de prendre des notes, quitterze la route et arrêtez votre vehicule dans un lieu sur avant de le faire.
AMISE EN GARDE
- L'antenne doit être placée aussi loin que possible des modules de commande du moteur.
Assurez-vous qu'il y a au moins 20 cm (8 po) entre le fil de l'antenne et les faisceaux du dispositif de commande électronique. Faites passer le fil de l'antenne loin de tout faisceau. - Procedez au réglage du rapport d'onde stationnaire de l'antenne conformément aux directives du fabricant.
- Branchez le fil de masse du chassin de radio BP à la carrosserie.
-
Pour obtenir de plus amples renseignements à ce sujet, consultez un concessionaire NISSAN.
-
Ne mettez pas à la masse les accessoires en les branchant directement à la cosse de la batterie. Vous court-circuiteriez ainsi le dispositif de commande à variation de tension et la batterie pourrait ne pas se charger complètement. Consultez la section « Dispositif de commande à variation de tension » du chapitre « Entretien et interventions du propriétaire » plus loin dans ce manuel.
- Pour ne pas décharger la batterie, utilisez les accessoires lorsque le moteur tourne.
5 Demarrage et conduite
Précautions pour le démarrage et la conduite. 5-2
Gaz d'échéppement (monoxyde de carbone) 5-2
Catalyseur trifonctionnel. 5-3
Système de surveillance de la pression des pneus 5-3
Précautions de conduite sur route et hors route. 5-6
Pour éviter les collisions et les renversements 5-6
Conduite et consommation d'alcool ou de drogues 5-6
Consignes de sécurité pour la conduite 5-7
Contacteur d'allumage 5-10
Boite de vitesses automatique 5-10
Boite de vitesses manuelle 5-11
Positions de la clé de contact. 5-11
Système antidémarrage du vehicule Nissan. 5-12
Avant de démarrer le moteur 5-12
Demarrage du moteur. 5-12
Conduite du vehicule 5-13
Boite de vitesses automatique 5-13
Boite de vitesses manuelle
(selon l'équipment du vehicule) 5-18
Frein de stationnement. 5-20
Régulateur de vitesse
(selon l'equipement du vehicule) 5-21
Précautions relatives à l'utilisation du
regulateur de vitesse. 5-22
Fonctionnement du régulateur de vitesse. 5-22
Période de rorage. 5-24
Réduction de la consommation de carburant 5-24

Utilisation du mode 4 roues motrices.5-25
Proédures de changement de position de
la boite de transfert 5-25
Dispositif E-Lock (verrouillage électronique du
différentiel arrêté) (selon l'équipement du vehicule)..5-31
Techniques de stationnement 5-33
Direction assistée 5-34
Circuit de freinage 5-34
Précautions relatives au freinage 5-34
Système de freinage antiblocage. 5-35
Dispositif antipatinage (selon l'equipement du
vehicule) 5-37
Dispositif de contrôle dynamique du vehicule (selon l'équipement du vehicule) 5-37
Dispositif d'assistance en descente (HDC) (selon l'équipement du vehicule) 5-39
Dispositif d'assistance au démarrage en côte (HSA) (son l'équipement du vehicule) 5-40
Conduite par temps froid. 5-41
Déblocage d'une serrure de portière gelée. 5-41
Antigel 5-41
Batterie 5-41
Vidange du circuit de refroidissement 5-41
Pneus. 5-41
Équipement hivernal 5-42
Conduite sur la neige ou sur la glace 5-42
Chauffe-moteur (selon l'equipement du vehicule) 5-43
PRECAUTIONS POUR LE DEMARRAGE ET LA CONDUITE
A VERTISSEMENT
- Ne laïsez pas seuls dans votre vehicule des enfants ou des personnes qui ont habituellement besoin de l'aide d'autres personnes. Ne laïsez pas non plus les animaux deompagnie sans surveillance. Ils pourraient se blesser ou blesser quelqu'un accidentellement en mettant le vehicule en marche par inadvertance. De plus, par temps chaud et ensoleillé, la température de l'habitacle peut rapidement s'élever au point de provoquer des lésions graves, voire mortelles, à une personne ou à un animal enfermé dans le vehicule.
Fixez solidement tous les bagages à l'aide de cordes ou de sangles afin d'eviter qu'ils ne glissent ou se déplacent. N'empilez pas les bagages plus haut que les dossiers de sièges. En cas d'arrêt brusque ou de collision, les bagages non retenus pourraient entraîner des blessures.
GAZ D'ÉCHAPPEMENT (monoxyde de carbone)
AVERAGEMENT
- Évitez d'inhaler les gaz d'échéppement, car ils contiennent du monoxyde de carbone, une substance incolore et inodore. Le monoxyde de carbone est un produit dangereux qui peut cause des évanouissements, voire entrainer la mort.
- Si vous pensez que des gaz d'échéppement pénétrent dans le vehicule, conduisez avec toutes les glaces complètement ouvertes et faites vérifier le vehicule dans les plus brefs déliés.
- Ne faites pas tourner le moteur dans un endroit fermé tel qu'un garage.
-
Ne stationnez jamais votre vehicule en laissant le moteur en marche, et ce, peu importe la durée de votre absence.
-
Pour prévenir l'infiltration des gaz d'échéppement dans l'habitacle, n'ouvre pas le hayon ni la glace de hayon lorsque le vehicule roule. Prenez les précautions suivantes si vous devez absolument rouler avec la glace de hayon ou le hayon ouvert :
-
Ouvrez toutes les glaces.
-
Pour faire circuler l'air, tournez la commande de recirculation de l'air (selon l'équipement du vehicule) à la position d'arrêt et celle du ventilateur à la position 4 (vitesse élevée).
-
Si vous devez acheminer des cables électriques ou d'autres connexions de la remorque par le joint du hayon ou par la carrosserie, suivez les commandations du fabricant pour prévenir la pénétration de monoxyde de carbone dans le vehicule.
- Une vérification du système d'échévement et de la carrosserie doit être effectuee par un mecanicien qualifié lorsque :
a. le vehicule est soulevé pour l'entretien;
b. vous croyez que des gaz d'échépement s'infiltrent dans l'habitacle;
c. you've noted un changement au niveau du bruit émis par le système d'échéppement;
d. à la suite d'un accident, le système d'échévement, le soubassement ou l'arrière du vehicule ont subi des dommages.
CATALYSEUR TRIFONCTIONNEL
Le système d'échévement de votre vehicule contient un dispositif antipollution appelé catalyseur trifonctionnel. Afin de favoriser la réduction des émissions polluantes, les gaz d'échévement sont brûlés à des températures très élevées dans le catalyseur trifonctionnel.

AVENTISSEMENT
-
Les gaz d'échéppement et le système d'échéppement sont très chauds. Éloiignez les personnes, les animaux et les matières inflammables des composants du système d'échéppement.
-
N'immobilisez pas et ne stationnez pas votre vehicule sur une surface recouverte de matieres inflammables comme du gazon sec, de vaispapiers ou des chiffons. Ces matieres pourraient s'enflammer et provoquer un incendie.

MISE EN GARDE
- N'utilisez pas d'essence au plomb. Les dépôts généres par l'essence au plomb promonttent considérablement la capacité du catalyseur trifonctionnel à réduire les émissions polluantes.
-
Faites régulièrement effectuer des mises au point de votre moteur. Des défectuosités au niveau de l'allumage, de l'injection de carburant ou des circuits électriques peuvent laisser pénétrometer du carburant trop riches dans le catalyseur trifonctionnel et faire surchauffer celui ci. Il ne faut pas continuer à conduire votre vehicule si le moteur a des ratés ou si vous remarque une nette perte de rendement ou d'autres anomalies de fonctionnement. Rendez-vous le plus tout possible chez un concessionnaire NISSAN pour faire inspectorer toute vehicule.
-
Évitez de conduire le vehicule lorsque le niveau de carburant est très bas. Une panne sèche peut provoquer des ratios du moteur et endommager le catalyseur trifonctionnel.
- Ne faites pas tournier le moteur de votre vehicule à un régime trop élevé pendant qu'il se rechauffe.
- Ne tentez pas de faire demarrer le moteur de votre vehicule en poussant ce dernier ou en le remorquant.
SYSTÉME DE SURVEILLANCE DE LA PRESSION DES PNEUS
Vérifiez la pression de tous les pneus, y compris le pneu de secours (selon l'équipement du vehicule) une fois par mois, à froid, puis gonflez-les à la pression recommandée par le constructeur du vehicule sur l'étiquette du vehicule ou l'étiquette de pression de gonflage des pneus. (Si vous vehicule est doté de pneus de taille différente que celle indiquée sur l'étiquette du vehicule ou l'étiquette de pression de gonflage des pneus, vous devriez déterminer la pression de gonflage appropriée pour ces pneus.)
Par mesure de sécurité additionnelle, votre vehicule est doté d'un système de surveillance de la pression des pneus qui allume un témoin de basse pression des pneus lorsqu'un ou plusieurs
pneus sont considérablement sous-gonflés. Pour cette raison, si le témoin de basse pression des pneus s'allume, vous devriez immobiliser le vehicule et vérifier vos pneus dés que possible, puis les gonfler à la pression appropriée. La conduite sur un pneu considérablement dégonflé fait surchauffer le pneu, ce qui peut entraîner une défaillance du pneu. De plus, un pneu sous-gonflé augmente la consommation de carburant, réduit la durée de vie utile de la bande de roulement et peut compromètre le comportement routier et la capacité de freinage du vehicule.
Veuillez noter que le système de surveillance de la pression des pneus ne remplace pas l'entretien adequat des pneus, et qu'il incombe toujours au conducteur de maintainir les pneus correctement gonflés, même si l'état de sous-gonflage n'allume pas le témoin de basse pression du système de surveillance de la pression des pneus.
Votre vehicule est aussi doté d'un témoin d'anomalie du système de surveillance de la pression des pneus pour indiquer que le système ne fonctionne pas normalement. Le témoin d'anomalie du système de surveillance de la pression des pneus est combiné au témoin de basse pression des pneus. Lorsque le système détecte une anomalie, le témoin clignote pendant environ une minute, puis il demeure allumé. Cette séquence se poursuit lors des démarrages subsèquents du vehicule tant que l'anomalie per
siste. Lorsque le témoin d'anomalie est allumé, le système peut ne pas détecter ni signaler de basses pressions. Les anomalies du système de surveillance de la pression des pneus survient pour diverses raisons, y compris l'installation de pneus ou de roues de replACEMENT ou de rechange qui empêchent le système de surveillance de la pression des pneus de fonctionner correctement. Vérifiez toujours le témoin d'anomalie du système de surveillance de la pression des pneus après avoir remplaced un pneu ou une roue pour vous assurer que les pneus de replACEMENT ou de rechange permettent au système de surveillance de la pression des pneus de fonctionner correctement.
Renseignements additionnels :
Le système de surveillance de la pression des pneus ne surveille pas la pression du pneu de secours.
Le système de surveillance de la pression des pneus n'est actif que lorsque le vehicule roule a plus de 25km / h (16 mi/h). De plus, ce dispositif peut ne pas détecter la chute soudaine de la pression d'un pneu (par exemple, la crevaison d'un pneu pendant la conduite).
- Mème si vous avez régle la pression de gonflage des pneus, le témoin de basse pression des pneus ne s'éteint pas automa
tiquement. Une fois la pression des pneus reglee à la pression de gonflage recommandede, il faudra rouler à plus de 25~km / h (16mi / h) pour activer le système de surveillance de la pression des pneus et désactiver le témoin de basse pression des pneus. Utilisez un manometre pour pneus pour vérifier la pression des pneus.
- La pression des pneus augmente et diminue en fonction de la chaleur engendree par les conditions de fonctionnement du vehicule et la temperture exterieure. Une temperture exterieureassepeut refroidir l'air à l'intérieur du pneu,ce qui peut causer une diminution de la pression de gonflage du pneu.Cela peut causer I'activation du temoin d'advertissement de basse pression des pneus.Si le temoin s'allume lorsque la temperture ambiente est basse,verifiez la pression des quatre pneus.
- Vous pouvez aussi vérifier la pression de tous les pneus (sauf le pneu de secours) à l'écran d'affichage. L'ordre d'affichage de pression des pneus ne correspond pas à l'ordre réel de position des pneus. Consultez la section « Information sur la pression de gonflage des pneus » du chapitre « Appareil de chauffage et climatiseur et chaîne stérodophonique »
5-4 Demarrage et conduite
Pour obtenir de plus amples renseignements, consultez les sections « Témoin de basse pression des pneus » du chapitre « Instruments et commandes » et « Système de surveillance de la pression des pneus » du chapitre « En cas d'urgence »

AVERTISSEMENT
-
Si le témoin d'advertisement de basse pression des pneus s'allume pendant la conduite, évitez tout braquage ou freinage brusque, ralentissez, dirigez-vous vers un endroit sécuritaire et immobilisez le vehiculeès que possible. Your vehicule pourrait subir des dommages importants et vous pourriez avoir un accident entrainant des blessures graves. Vérifiez la pression de tous les pneus. Effectuez un réglage de pression À FROID, tel que spécifique sur l'étiquette des pneus et d'information sur la charge, pour ainsi désactiver le témoin d'advertisement de basse pression. Si vous avez fait une crevaison, montez la roue de secoursès que possible. (Pour obtenir de plus amples renseignements sur le remplacement d'une roue, consultez la section « Pneu à plat», du chapitre « En cas d'urgence ».)
-
Lorsqu'une roue de secours est montée ou lorsqu'une roue est remplacée, la pression des pneus n'est pas indiquée, le système de surveillance de la pression des pneus ne fonctionne pas et le témoin deasse pression des pneus clignote. Communique avec votre concessionnaire NISSAN des que possible pour procéder au remplacement des pneus ou à la réinitialisation du système.
- L'utilisation de pneus de remplacement autres que ceux précisés par NiSSAN peut nuir au fonctionnement du système de surveillance de la pression des pneus.
- N'injectezaucun produit d'etanchete pour pneu,liquide ou en aerosol,dans les pneus.Le fonctionnement des capteurs de pression des pneus pourrait s'en trouver compromis.

MISE EN GARDE
N'installez pas de pellicule métallisée ou d'autre piece en métal (antenne, etc.) sur les glaces. Cela peut nuire à la réception des signaux des capteurs de pression des pneus, et le système de surveillance de la pression des pneus ne fonctionnera pas correctement.
Avis de la FCC :
Toute modification non approuvée par la partie responsable de la conformité peut annuler le droit d'utiliser ce dispositif.
Ce dispositif est conforme à l'article 15 des règlements de la FCC et au règlement RSS-210 d'Industrie Canada.
Son utilisation est soumise aux deux conditions suivantes : (1) Ce dispositif ne doit causer aucune interference nuisible, et (2) ce dispositif doit pouvoir accepter toutes les interférences, y compris celles qui pouraient l'activer de façon inopinée.
PRECAUTIONS DE CONDUITE SUR ROUTE ET HORS ROUTE
Le taux de renversement des vehicules utilaitaires est beaucoup plus élevé que celui des autres vehicules.
Les vehicules utilisaires ont une garde au sol plus élevée que les voitures de tourisme, ce qui les rend aptes à diverses applications sur route et hors route. Mais leur centre de gravité est, de ce fait, plus élevé que celui des vehicules ordinaires. Un des avantages que procure une garde au sol plus élevée est une meilleure visibilité de la route, ce qui permet d'anticiper les problèmes. Par contre, les vehicules utilisaires ne sont pas concus pour prendre les virages aussi rapidement que les vehicules à deux roues motrices classiques, pas plus d'ailleurs que les voitures sport surbaissées ne sont concues pour faire face avec succès aux conditions hors route. Dans la mesure du possible, évitez les virages brusques à grande vitesse. Comme dans le cas de tout autre vehicule de ce type, une conduite inappropriée peut mener à une perte de maîtrise et à un renversement. En cas de renversement, les risques de blessures mortelles sont accrus pour les personnes qui n'ont pas bouclé leur ceinture.
Assurez-vous de dire toutes les consignes de sécurité stipulées plus loin dans le present chapitre.
POUR ÉVITER LES COLLISIONS ET LES RENVERSEMENTS
AVERAGEMENT
Si ce vehicule n'est pas conduit de façon prudente et sécurité, une perte de maitrise du vehicule ou un accident peut survenir.
Faites preuve de vigilance et conduisez prudement en tout temps. Respectez le code de la sécurité routière. Évitez la vitesse excessive, les virages à haute vitesse et les coups de volant parce que ces comportements peuvent vous faire perdre la maitrise du vehicule. Comme c'est le cas pour tout autre vehicule, une perte de maitrise peut vous faire entrer en collision avec d'autres vehicules ou des objets. Le vehicule peut également se renverser, particulièrement si la perte de maitrise entraine un dérapage létral. Évitez de conduire lorsque vous étés fatigué et restez attention en tout temps. Ne conduisez jamais si vous étés sous l'influence de l'alcool ou de la drogue (y compris les médicaments avec ou sans ordnance qui causent de la somnolence). Bouclez toujours votre ceinture de sécurité, conformément aux instructions du chapitre « Sécurité - Sièges, ceintures de sécurité et dispositif de
protection complémentaire » du present manuel, et exigez que les autres passagers de leur vehicule faisent de même.
Les ceintures de sécurité contribuent à réduire les risques de blessures en cas de collision ou de renversement. En cas de renversement, les risques de blessures ou de mort sont accrus pour les personnes n'ayant pas bouclé leur ceinture ou l'avant bouclée incorrectement.
CONDUITE ET CONSOMMATION D'ALCOOL OU DE DROGUES
AVERAGEMENT
Ne conduisez jamais lorsque vous étés sous l'influence de l'alcool ou de la drogue. La présence d'alcool dans le sang réduit la coordination des mouvements, augmente le temps de reaction et fausse le jugement. Si vous conduisez après avoir consommé de l'alcool, vous augmentez vos risques d'être impliqué dans un accident avec blessures. De plus, l'alcool pourrait accroître la gravité de vos blessures en cas d'accident.
NISSAN s'engage à construire des vehicules sécuritaires. Toutefois, même le vehicule le plus sécuritaire peut représenter un danger si son
conducteur a consommé de l'alcool avant de prendre la route. Chaque année, des milliers de personnes sont blessées ou tuées dans des accidents impliquant des conducteurs qui ont consommé de l'alcool. Meme si les lois relatives aux quantités d'alcool pouvant être consommées différènt selon les territorioires, il est évident que l'alcool a des effets différents d'une personne à l'autre, effets sous-estimés par la plupart desgens.
N'oubliez pas que l'alcool et la conduite ne font pas bon menage. Cela s'applique également aux drogues (médicaments avec ou sans ordnance et drogues illégales). Ne prenez jamais le volant si vos capacités de conduite sont compromises par l'alcool, les drogues ou par toute condition physique susceptible de modifier votre comportement au volant.
CONSIGNES DE SECURITE POUR LA CONDUITE
La conception de votre vehicule NISSAN vous permet de l'utiliser sur la route ou hors route. Cependant, contrairement aux vehicules hors route classiques, votre vehicule NISSAN est unconqu principalement pour une utilisation dans le cadre des loisirs. Évitez donc de traverser des nappes profondes d'eau ou de boue.
N'oubliez pas qu'il est plus difficile de rouler sur de mauvaises routes ou de se dégager de la neige ou de la boue profonde avec un vehicule à deux roues motrices qu'avac un vehicule à quatre roues motrices.
Veuillez suivre les consignes suivantes :
AVERAGEMENT
- Lorsque vous roulez hors route, conduisez prudemment et évitez les zones dangereuses. Chaque occupant du vehicule doit être correctement assist et porter sa ceinture de sécurité. De cette façon, vos passagers et vous-même serez bien retenus lorsque le vehicule roulera en terrain accidenté.
-
Ne conduisez pas perpendicular à une pente raide. Montez ou descendez-la ploutôt de front. Les vehicules tout-terrain peuvent se renverser plus facilement sur les côts que vers l'avant ou vers l'arrière.
-
Certaines pentes peuvent se révêler trop raides pour votre vehicule. Si vous tentez de les monter, le moteur de votre vehicule risque de caler. Si vous tentez de les descendre, il peut que vous ne soyez pas en mesure de maïtriser votre vitesse. Si vous tentez de les traverser/perpendicularitément, leur vehicule risque de se renverser.
- Ne passes pas d'un rapport à un autre lorsque vous descendez une pente, car vous pourriez perdre la maitrise de votre vehicule.
- Faites preuve de vigilance lorsque vous conduisiez jusqu'au sommet d'une pente. L'autre versant peut être très abrupt ouprésenter d'autres dangers qui risquent de causeur un accident.
-
Si le moteur cale dans une côte abrupte ou si vous ne pouvez pas vous rendre jusqu'en haut, n'essayez jamais de faire demi-tour. Voitre vehicule risque de se renverser. Reculez en ligne droite, en position N ou avec la pédale d'embrayage enforcée (dans le cas d'un vehicule avec boîte de vitesses manuelle) en n'utilisant que le frein. Vous pourriez perdre la maitrise du vehicule.
-
Si vous freinez de façon intensive en descente, les freins peuvent finir par s'échauffer et s'évanouir, ce qui peut contributor à vous faire perdre la maitrise du vehicule et provoquer un accident. Servez-vous des freins avec modération et utilisez plutôt un rapport de vitesse inférieur pour ralentir le vehicule. Utilisation du dispositif d'assistance en descente (selon l'équipement du vehicule).
-
Des bagages mal fixés peuvent être projétés pendant la conduite en terrain accidenté. Fixez fermement tous les bagages charges afin d'éviter qu'ils ne soient projétés vers l'avant et que vos passagers et vous ne subissiez des blessures.
-
Afin d'eviter de rehausser excessively le centre de gravité du vehicule, ne dépassez pas la capacité de charge prévue du porte-bagages (selon l'équipment du vehicule) et répartissez la charge uniformément. Installee les bagages lourds dans l'aire de chargement en les poussant vers l'avant du vehicule et en évitant le plus possible de les empiler. N'équipez pas votre vehicule de pneus plus larges que ceux recommendés dans ce manuel, car des pneus trop larges pourraient provoquer un capotage de votre vehicule.
- Ne tenez pas votre volant par son rebord interieur ou par ses branches lorsque vous conduisez hors route. Le volant pourrait bouger soudainement et vous blesser les mains. Tenez-le只想 par son rebord extérieur.
- Avant de démarrer le vehicule, assurez-vous que le conducteur et tous les passagers ont bouclé leur ceinture de sécurité.
-
Laissez toujours les carpettes en place lorsque vous conduisez, car le plancher peut devenir chaud.
-
Réduisez votre vitesse en présence de forts vents lateraux. Étant donné que votre vehicule NISSAN a un centre de gravité plus élevé, il est plus susceptible de réagir à de tels vents. En conduitant moins vite, vous conservez une meilleure maïtrise de votre vehicule.
- Ne conduisez pas dans des conditions qui exigent de dépasser la capacité nominale des pneus, même lorsque le mode 4 roues motrices est engagé.
-
Pour les vehicules à quatre roues motrices, ne tentez pas de soulever deux des roues du sol et de passer une gamme de marche avant ou la marche arrrière lorsque le moteur tourne. Vous pourriez ainsi endommager les organes de transmission du vehicule, ou ce dernier pourrait se déplacer soudainement et entrainer des dommages ou des blessures graves.
-
Ne contrôle jamais un vehicule à quatre roues motrices sur un dynamomètre concu pour un vehicule à deux roues motrices (tel qu'utilisé dans certaines provinces ou dans certains États pour les contrôles antipollution) ou autre équipementsemblable,meme si les deux autres roues sont soulevées du sol. Avant de soumettre votre vehicule au dynamomètre, assurez-vous d'informer le personnel du centre de contrôle qu'il s'agit d'un modele à quatre roues motrices.L'utilisation d'un équipement de contrôle inadapté pourrait endommager les organes de transmission du vehicule, ou ce dernier poursrait se déplacer soudainement et entrainer des dommages ou des blessures graves.
L'accelération rapide, les virages serrés ou les freinages brusques peuvent vous faire perdre la maitrise de votre vehicule. -
Autant que possible, évitez les virages brusques, surtout à grande vitesse. Voitre vignicule à quatre roues motrices NISSAN possède un centre de gravité plus élevé qu'un autre vignicule à deux roues motrices. Il n'est donc pas conçu pour prendre des virages à la même vitesse qu'un vignicule classique à deux roues motrices. Si vous ne tenez pas compte de cette différence, vous pourriez perdre la maitrise du vignicule qui pourrait alors se returner.
Utilisez toujours des pneus des mêmes type, dimensions, marque, construction (à carasse diagonale, à carasse diagonale ceinturée ou à carasse radiale) et dessin de bande de roulement sur les quatre roues. Installez des chaînes antidérapantes sur les roues arrêté lorsque vous roulez sur des routes glissantes et conduisez prudemment.
Assurez-vous de vérifier les freins juste après avoir conduit dans la boue ou dans l'eau. Pour en savoir davantage sur les freins mouillés, consultez la section « Circuit de freinage » plus loin dans ce chapitre. -
Évitez de stationner votre vehicule sur des côtes abruptes. Si vous sortez du vehicule et si celui-ci roule vers l'avant, vers l'arrière ou de côté, vous pourriez être blessé.
- Des entretiens plus féuents seront nécessaires si, en conduite hors route, du sable, de la boue ou de l'eau atteint la hauteur des moyex des roues de votre vehicule. Consultez la section « Entretien périodique » du « Guide d'entretien et de réparation NISSAN »
CONTACTEUR D'ALLUMAGE

AVENTISSEMENT
Il ne faut jamais-retirer la clé ni la tournier à la position LOCK lorsque le vehicule est en mouvement,car cela aurait pour effet de bloquer la colonne de direction. Vous risqueriez alors de perdre la maitrise de votre vehicule et de vous inflige des blessures graves, en plus de causeur des dommages au vehicule.

WSD0041
BOITE DE VITESSES AUTOMATIQUE
Le verrouillage du contacteur d'allumage des vehicules munis d'une boite de vitesses automatique est concu pour éviter que la clé de contact ne soit tournée à la position LOCK et retiree avant que le levier selecteur ne soit place en position P.
Assurez-vous que le levier sélecteur de votre vehicule est à la position P avant de retirer votre clé du contacteur d'allumage.
Si le levier selecteur n'est pas remis à la position P, la clé de contact ne peut pas être placée à la position LOCK.
Pour-retirer la clé du contacteur d'allumage :
- Déplacez le levier sélecteur en position P, alors que la clé est en position ON.
- Placez-la ensuite à la position LOCK.
- Retirez la clé du contacteur d'allumage.
Si le levier selecteur a eté place en position P une fois la clé sur OFF ou s'il est impossible de tourner la clé en position LOCK, procedez comme suit pour-retirer la clé.
- Déplacez le levier sélecteur à la position P.
- Tournez la clé de contact légèrement vers la position ON.
- Placez-la ensuite à la position LOCK.
- Retirez la clé.
Vous ne pouvez pas déplacer le levier sélecteur de la position P vers une autre position lorsque la clé de contact est à la position OFF ou lorsqu'elle est retiree du contacteur.
Voussouspoucez deplacer le levier selecteur si la pedale de frein est enfoncée alors que le contacteur d'allumage se trouve a la position ON.
Entre les positions LOCK et ACC se trouve une position OFF. La position OFF est indiquée par le chiffre 1 sur le barillet du con
tacteur. Le volant n'est pas verrouillé lorsque le contacteur est à la position OFF.
Le volant doit être tourné d'un huitieme de tour dans le sens des aiguilles d'une montre à partir de la position verticale pour être verrouillé.
Tournez la clé à la position LOCK pour verrouiller le volant. Retirez la clé. Pour le déverrouiller, insérez la clé et tournez-la doucement tout en déplacant légèrement le volant.
S'il est impossible de tournier la clé à partir de la position LOCK, manœuvrez le volant vers la gauche ou vers la droite tout en tournant la clé afin de déverrouiller le contacteur.

WSD0052
BOITE DE VOTESSES MANUELLE
Le contacteur d'allumage incorpore un dispositif de sécurité qui empêche la clé de contact d'être retiree lorsque le vehicule roule.
Vou ne pouvez-retirer la clé du contacteur que lorsque ce dernier se trouve à la position LOCK.
Pour tourner la clé de contact à la position LOCK à partir de la position ACC ou ON dans un vehicule muni d'une boite de vitesses manuelle, tournez la clé à la position OFF, enforcez-la dans le barillet, puis tournez-la à la position LOCK.
Le volant doit être tourné d'un huitieme de tour dans le sens des aiguilles d'une montre à partir de la position verticale pour être verrouillé.
Tournez la clé à la position LOCK pour verrouiller le volant. Retirez la clé. Pour le déverrouiller, insérez la clé et tournez-la doucement tout en déplacant légèrement le volant.
POSITIONS DE LA CLÉ DE CONTACT
LOCK:position de stationnementnormale (0)
OFF: (arrêt) (inutilisée) (1)
ACC:(accessoires) (2)
Dans cette position, les accessoires, comme la radio, peuvent etre actives meme si le moteur ne tourne pas.
ON: position de fonctionnement normale (3)
Dans cette position, le système d'allumage et les accessoires electriques sont mis en fonction.
START: (démarrage) (4)
Cette position lance le moteur. Relâchez la clé dés que le moteur démarre. La clé de contact revient automatiquement à la position ON.
AVANT DE DÉMARRER LE MOTEUR
DÉMARRAGE DU MOTEUR
SYSTÉME ANTIDÉMARRAGE DU VÉHICULE NISSAN
Le système antidémarrage du vehicule Nissan (NVIS) empêche le démarriage du moteur si une clé non programmée dans ce dispositif est utilisée.
Si on se sert d'une clé NVIS programmée et que le moteur refuse quand même de démarrer (par exemple, en présence d'interférences causées par une autre clé programmée, par un dispositif pour poste de péage automatisé ou par un dispositif de paiement automatique se trouvant sur votre porte-clés), procédez comme suit :
- Laissez le contacteur d'allumage à la position ON pendant environ cinq secondes.
- Tournez-le ensuite à la position OFF ou LOCK et attendez environ 10 secondes.
- Recommencez les étapes 1 et 2.
- Tentez de nouveau de faire demarrer le moteur au moyen de votre clé programmee NVIS tout en tenant le dispositif (ayant causé des interférences) à l'écart.
Si le moteur refuse toujours de démarrer, NISAN vous recommende de placer votre clé NVIS programmée sur un autre porte-clés afin d'éviter les interférences causées par les autres dispositifs.
Assurez-vous que rien ni personne ne se trouve a proximite de votre vehicule.
- Vérifiez les niveaux de l'huile moteur, du liquide de refroidissement, du liquide de frein ainsi que du liquide lave-glace aussi frequentlyment que possible ou, au minimum, à chaque ravitationnement.
- Vérifiez la propriété de toutes les glaces et de tous les phares.
- Vérifiez l'aspect et la condition des pneus en procédant à une inspection visuelle. Assurez-vous également que la pression de gonflage est ajustée.
- Verrouillez toutes les portières.
- Placez les sièges et réglez les appuie-tête.
- Réglez les rétroviseurs interieur et extérieurs.
- Bouclez votre ceinture de sécurité et demandez à tous les autres occupants du vehicule de faire de même.
- En tournant la clé de contact à la position ON (3), vérifie le fonctionnement des témoins. Reportez-vous à la section « Témoins et carillons de rappel sonore » du chapitre « Commandes et instruments » duprésent manuel.
- Serrez le frein de stationnement.
2. Boîte de vitesses automatique :
Déplacez le levier sélecteur à la position P (stationnement) ou N (point mort). La position de stationnement est recommende.
Vou ne pouvez pas déplacer le levier sélecteur de votre vehicule de la position P vers une autre position lorsque la clé de contact est à la position OFF ou lorsqu'elle est retiree du contacteur d'allumage.
Le démarre peut être actionné seulement si le levier de vitesse est au point mort ou à la position de stationnement.
Boite de vitesses manuelle :
Déplacez le levier de vitesse au point mort (neutre). Appuyez à fond sur la pedale d'embrayage tout en langant le moteur.
Le démarreur est concu pour fonctionner seulement lorsque la pedale d'embrayage est complètement enforcée.
5-12 Demarrage et conduite
CONDUITE DU VEHICULE
-
Pour démarrer le moteur, tournez la clé de contact à la position START, sans appuyer sur la pédale d'accéléateur. Relâchez la clé lorsqu'le moteur démarre. Si le moteur tourne, mais refuse de démarrer, repêzez la procédure décrite ci-dessus.
-
Lorsque le démarrage de votre moteur est très difficile, par temps très froid ou au redémarrage, enoncez légèrement la pédale d'accéléateur (environ au tiers de sa course) et maintenez-la dans cette position, puis lancez le moteur. Relâchez la clé et la pédale d'accéléateurès que le moteur démarre.
- S'il est très difficile de démarrer le moteur parce que vous l'avez noyé, appuyez sur la pedale d'accéléateur à fond et maintenez-la enforcée. Lancez le moteur pendant cinq ou six secondes. Relâchez la pedale d'accéléateur. Pour démarrer le moteur, tournez la clé de contact à la position START, sans appuyer sur la pedale d'accéléateur. Relâchez la clé lorsque le moteur démarre. Si le moteur tourne, mais refuse de démarrer, repêze la procédure décrite ci-dessus.
AMISE EN GARDE
N'actionnez pas le démarreur pendant plus de 15 secondes à la fois. Si le moteur ne démarre pas, foupez le contact et attendez 10 secondes avant de tenter un nouveau démarriage. Sinon, vous pourriez endommager le démarreur.
- ÀpRES le démarrage, laissez le moteur tourner au ralenti pendant au moins 30 secondes. Ne faites pas tourner le moteur de votre vehicule à un régime trop élevé pendant qu'il se réchauffe. Conduisez d'abord à vitesse moderation sur une courte distance, plus particulièrement s'il fait froid.
BOITE DE VITESSES AUTOMATIQUE
AVERAGEMENT
- N'enforcez pas l'accelérer lorsque vous passez des positions P ou N aux positions R, D, 3, 2 ou 1. Ne relâchez la pedale de frein qu'une fois le levier sélecteur en position. Le fait de ne pas respecter ces directives peut entraîner une perte de maïtrise du vehicule et causer un accident.
- Le régime de ralenti d'un moteur froid est élevé. Faites preuve de prudence lorsque vous engagez une vitesse en marche avant ou en marche arrière avant que le moteur ne se soit rechauffé.
- Ne déplacez jamais le levier en position P (stationnement) ou R (marche arrrière) lorsque le vehicule est en mouvement. Ceci pourrait cause un accident.

MISE EN GARDE
- Lorsque vous arrêtez le vehicule dans une côte, ne retènEZ pas le vehicule en position en enforcant la pédale d'accéléateur. Utilisez只不过 la pédale de frein.
- Ne rétrogradez pas brusquement sur une chaussée glissante. Vous pourriez alors perdre la maitrise de votre vehicule.
La boite de vitesses automatique du vehicule est commandee electroniquement, ce qui garantit son bon fonctionnement et un rendement maximal.
Voutrouverezauxpageesuivanteslesproceduresdefonctionnementrecommendees pour ce type deboite de vitesses.Pourobtenirunrendement maximaldevotrevehiculeet profiter au maximumde saconduite,suivezcesprocedures.
Démarrage du vehicule
- Enoncez complètement la pédale de frein avant de tenter de déplacer le levier sélecteur de la position P après le démarrage du moteur.
-
En gardant la pédale de frein enforcée, déplacez le levier sélecteur dans une position de conduite.
-
Relâchez la pédale de frein, puis laïssez le vehicule entamer graduèlement son déplacement.
La conception de la boite de vitesses automatique de votre vehicule exige que la pédale de frein SOIT enforcée avant de permettre le déplacement du levier de la position P vers un rapport de conduite lorsque le contacteur d'allumage se trouve à la position ON.
Vou ne pouvez pas déplacer le levier sélecteur de la position P vers un autre rapport lorsqu'la clé de contact est à la position LOCK, OFF ou ACC ou lorsque la clé est retiree du contacteur.

Pour déplacer le levier sélecteur :
: Appuyez sur le bouton tout en enfontant la pédale de frein.
: Appuyez sur le bouton et deplacez le levier selecteur.
: Changez de vitesse sans enforcer la pédale de frein.
Changement des vitesses
Après avoir démarre le moteur, enoncez à fond la pédale de frein et déplacez le levier sélecteur de la position P.
A VERTISSEMENT
Serrez le frein de stationnement si le levier sélecteur est en prise alors que le moteur ne tourne pas. Sinon, le vehicule risque de se déplacer ou de rouler inopinément et d'entrainer de graves blessures ou des dommages matériels importants.
Si la clé est tournée à la position OFF ou ACC pour quelles raison que ce soit lorsque le vehicule est au point mort ou dans toute position de marche avant, la clé de contact ne peut pas être tournée à la position LOCK et retiree du contacteur. Déplacez le levier selecteur à la position P, puis tournez la clé à la position LOCK.
Position P (stationnement)
Cette position du levier selecteur est utilisée au moment du stationnement ou du démarrage du vehicule. Assurez-vous que le vehicule est complètement immobilisé. La pédale de frein doit être enforcée pour permettre le déplacement du levier selecteur du point mort ou de toute position de marche avant vers la position P (stationnement). Serrez le frein de stationnement. Lorsque vous vous stationnez dans une pente, serrez le frein de stationnement avant de déplacer le levier selecteur à la position P (stationnement).
Position R (marche arrête)
AMISE EN GARDE
N'utilise cette position que lorsque le vehicule est à l'arrêt complet.
Cette position est utilisée pour reculer. Assurez-vous que votre vehicule est totalement immobilisé avant de déplacer le levier sélecteur en position R (marche arrière). La pédale de frein doit être enforcée avant de déplacer le levier sélecteur de la position P (stationnement), du point mort ou de toute position de marche avant vers la position R (marche arrière).
Il ne s'agit pas d'une position de marche avant ou de marche arrière. Vous pouvez toute fois démarrer le moteur de votre vehicule dans cette position. Si le moteur de votre vehicule cale pendant que vous roulez, vous pouvez déplacer le levier sélecteur de ce dernier à la position N, puis redémarrer.
Position D (marche avant)
Cette position est utilisé pour la conduite normale en marche avant.
Troisieme vitesse (3)
Engagez le levier dans cette position lorsque l'utilisation du frein moteur peut constituer un avantage dans la montée ou la descente de longues pentes.
Ne rétrogradez pas à la position 3 si vous roulez à une vitesse supérieure à celle indiquée ci-après et ne dépassez pas les vittesses indiquées ci-après lorsque le levier sélecteur se trouve à la position 3.
Deux roues motrices et AUTO :
100 km/h (62 mi/h)
Quatre roues motrices, gamme haute :
100 km/h (62 mi/h)
Quatre roues motrices, gamme basse :
50km / h (31 mi/h)
Deuxieme vitesse (2)
Cette position est utilisé pour gravir une pente ou pour augmenter le frein moteur en descente.
Ne rétrogradez pas à la position 2 si vous roulez à une vitesse supérieure à celle indiquée ci-après et ne dépassez pas les vittesses indiquées ci-après lorsqué le levier sélecteur de votre vehicule se trouve à la position 2.
Deux roues motrices et AUTO :
115 km/h (71 mi/h)
Quatre roues motrices, gamme haute : 100 km/h (62 mi/h)
Quatre roues motrices, gamme basse :
50 km/h (31 mi/h)
Première vitesse (1)
Cette position est utilisé pour la conduite à basse vitesse dans des pentes très raides, dans la neige, le sable ou la boue, ou pour obtenir un frein moteur maximal dans des descentes abruptes.
Ne rétrogradez pas à la position 1 si vous roulez à une vitesse supérieure à celle indiquée ci-après et ne dépassez pas les vittesses indiquées ci-après lorsque le levier sélecteur de votre vehicule se trouve à la position 1.
Deux roues motrices et AUTO :
70km / h (43 mi/h)
Quatre roues motrices, gamme haute :
70km / h (43 mi/h)
Quatre roues motrices, gamme basse :
50 km/h (31 mi/h)

LSD0141
Déverrouillage du levier de vitesse
Vou ne pouvez pas déplacer le levier sélecteur de la position P si la batterie de votre vehicule est déchargée, et ce, même si la pédale de frein est enforcée.
Pour déplacer le levier sélecteur, déverrouillez le levier de vitesse. Vous pouvez déplacer le levier sélecteur en position N. Toutefois, le volant demeure verrouillé jusqu'à ce que le contacteur d'allumage soit déplaced à la position ON. Ceci vous permet de déplacer le vehicule en cas de décharge de la batterie.
Pour déverrouiller le levier de vitesse, suivez les procédures décrites ci-après :
- Tournez la clé de contact à la position LOCK et retirez-la.
- Serrez le frein de stationnement.
- Retirez le couvercle de déverrouillage du levier de vitesse, tel qu'illustré.
- Insérez un petit tournevis dans la fente de déverrouillage du levier et poussez-le vers le bas.
- Déplacez le levier sélecteur à la position N, tout en maintainant la commande de déverrouillage du levier vers le bas.
- Tournez la clé de contact à la position ON pour déverrouiller le volant. Le vehicule peut maintainer être conduit normalement.
S'il vous est impossible de dégager le levier sélecteur de la position P, faites inspector la boîte de vitesses automatique par un concessionnaire NISSAN dés que possible.

AVERTISSEMENT
Si le levier sélecteur ne peut être déplace hors de la position P (stationnement) lorsque le moteur tourne et si la pédale de frein est enforcée, il est possible que les feuels d'arrêt ne fonctionnent pas. Des feuels d'arrêt défectueux peuvent cause un accident avec blessures à vous-même et à autres personnes.
Retrogradation de l'accelerateur en position D -
Enoncez la pédale d'accélérateur au plancher si vous doivent effectuer un dépassement ou gravir une pente raide. La boîte de vitesses rétrograda dans un rapport inférieur correspondant à la vitesse du vehicule.

LSD0142
Interrupteur de surmultipliee
À chaque démarrage, la boite de vitesses est réinitialisée et la surmultiplée est automatique-ment remise en fonction.
ON: Lorsque le moteur est en marche et que la vitesse de votre vehicule augmente, la boite de vitesse passée en mode de surmultiplie si le levier sélecteur se trouve à la position D.
Le moteur du vehicule doit atteindre sa température normale de fonctionnement avant que la surmultiplée puisse entra en fonction.
OFF: Lorsque vous roulez, en montée ou en descente, dans une pente prolongée nécessitant plus de frein moteur, appuyez sur l'interrupteur de surmultiplée pourmettre cette-ci hors fonction. Le témoin d'annulation de la surmulti-plée (O/D OFF) de la planche de bord s'allume alors.
Si vous conduissez a faible vitesse ou montez une pente douce, des passages de vitesse repétés entre la troisième vitesse et la surmultipliee peuvent provoquer des a-coups désagreables. Si une telle situation survient, enforcez l'interrupteur de la surmultipliee pour la metre hors fonction. Le tímoin d'annulation de la surmultipliee (O/D OFF) de la planche de bord s'allume alors.
Lorsque les conditions de conduite changent, enforcez de nouveau l'interrupteur de surmultipliee pour la remetre en fonction.
N'oubliez pas que vous ne devez pas conduire à des vitesses élevées pendant de longues périodes si la fonction de surmultipliee de votre vehicule n'est pas activee. La mise en fonction de la surmultipliee reduit la consommation de carburant lorsque vous condusez a des vitesses elevées.
BOITE DE VITesses MANUELLE (selon l'équipement du vehicule)

AVERTISSEMENT
- Ne rétrogradez pas brusquement sur une chaussée glissante. Vous pourriez alors perdre la maitrise de votre vehicule.
- Ne faites pas tournier le moteur en survivesse lorsque vous rétrogradez. Vous pourriez perdre la maitrise de votre vehicule ou endommager le moteur.

MISE EN GARDE
- Ne laïsez pas votre pied reposer sur la pédale d'embrayage pendant que vous conduisez, car vous pourriez endom-mager l'embrayage.
- Enforcez complètement la pédale d'embrayage avant de changer de vitesses pour éviter d'endommager la boîte de vitesses.
- Immobilisiez complètement votre vehicule avant de passer en marche arrêté (R).
- Lorsque le vehicule est immobilisé et que le moteur tourne (par exemple, à un feu de circulation), déplacez le levier de vitesse au point mort et relâchez la pédale d'embrayage en vous assurant d'appuyer sur la pédale de frein.

5 vitesses
Changement des vitesses
Pour changer de rapport, au moment d'un passage en vitesse supérieure ou d'une retrogradation, enoncez complètement la pedale d'embrayage, engagez le rapport ajustat et relâchez la pedale d'embrayage lentement et en douceur.
Pour changer les rapportes en douceur, assurez-vous de bien enforcer la pédale d'embrayage avant de déplacer le levier de vitesse. Si vous n'avez pas bien enforcé la pédale d'embrayage avant de passer les rapport, vous risquez

6 vitesses
d'entendre un bruit provenant des pignons. Vous pourriez endommager la boite de vitesses.
Demarrez le vehicule au 1^er rapport, puis passes en 2^e, 3^e, 4^e, 5^e et 6^e dans l'ordre en fonction de la vitesse du vehicule.
Pour recycler, enforcez le levier de vitesse et déplacez-le en position R après avoir immobilisé le vehicule.
Sur le modele Equipé de la boite de vitesses manuelle à 5 vitesses, il est impossible de passer directement de la 5^e vitesse à la position R. Vous
devez d'abord passer au point mort, puis enclencher la marche arrriere après l'arrêt complet du vehicule.
Si le passage à la position R ou à la position 1 (première) est difficile, passez au point mort, puis relâchez la pédale d'embrayage. Enforcez à fond la pédale d'embrayage de nouveau et passez à la position R ou à la position 1 (première).
Si vous possédez un vehicule à quatre roues motrices, consultez la section « Procedures de changement de position de la boîte de transfert » plus loin dans ce chapitre.
Vitesses suggérées pour le passage des rapportes supérieurs
Voutrouvezez ci-après des suggestions de vitesses pour les passages vers des rapportes supérieur. Ces suggestions sont établies en fonction de la consommation de carburant et du rendement de votre vehicule. Les vitesses de passage vers des rapportes supérieur varient selon l'etat de la route, la température et les habititudes de conduite individuelles.
- Pour les modèles QR25DE à deux roues motrices :
| CHANGEMENT DE RAP-PORT | km/h (mi/h) |
| 1e à 2e | 17 (11) |
| 2e à 3e | 24 (15) |
| 3e à 4e | 38 (24) |
| 4e à 5e | 56 (35) |
- Modèles VQ40DE à deux roues motrices et modèles à quatre roues motrices (positions 2H et 4H [2 et 4 roues motrices gamme haute]):
| CHANGEMENT DE RAP-PORT | km/h (mi/h) |
| 1e à 2e | 17 (11) |
| 2e à 3e | 27 (17) |
| 3e à 4e | 40 (25) |
| 4e à 5e | 51 (32) |
| 5e à 6e | 72 (45) |
Vitesse maximale sugérée pour chaque rapport
Si le moteur ne tourne pas en douceur ou si une acceleration est requise, passez à un rapport inférieur.
N'excedez pas la vitesse maximale suggérée (mentionnée ci-après) dans quelles rapport que ce soit. Utilisez le rapport le plus élevé suggéré pour cette vitesse si vous conduissez sur une route plane. Afin d'assurer votre sécurité, respectez les panneaux de limitation de vitesse et tenez compte de l'état de la route lorsque vous conduissez. Au passage à un rapport inférieur, ne faites pas tourner libre moteur en survitesse au risque d'endommager libre moteur et de perdre la maitrise de toutevehicule.
Vitesse maximale permise pour chaque rapport :
Modèles à deux roues motrices (moteur QR25DE)
Modèles à deux roues motrices (moteur VQ40DE)
Modèles à quatre roues motrices (moteur VQ40DE)
Position 2H/4H
Assurez-vous que le frein de stationnement est complètement desserré avant demettre le vehicule en mouvement. Sinon, cela risque de causeur une défaillance des freins et d'entrainer un accident.
- Ne desserrez pas le frein de stationnement de l'extérieur du vehicule.
- N'utilisez pas le levier de vitesse comme frein de stationnement pour garder le vehicule immobile. Lorsque vous stationnez votre vehicule, assurez-vous que le frein de stationnement est bien serré.
- Ne laisses pas d'enfants sans surveillance dans un vehicule. Ils pourraient desserrer le frein de stationnement et provoquer un accident.

Pour le serrer : Tirez le levier vers le haut A.
Pour le relacher :
- Appuyez fermement sur la pédale de frein.
- Vehicules équipés d'une boite de vites-ses manuelle :
Déplacez le levier de vitesse au point mort (neutre).
Véhicules équipés d'une boîte de vitesses automatique :
Déplacez le levier sélecteur à la position P (stationnement).
RÉGULATEUR DE VITESSE (selon l'équipement du vehicule)
- Tout en tirant légèrement le levier du frein de stationnement vers le haut, poussez le bouton du levier, avant d'abaisser celui-ci complètement (B).
- Assurez-vous que le témoin des freins est étéint avant de prendre la route.

- Interrupteur ACCEL/RES (acceleration-reprise)
- Interrupteur COAST/SET (vitesse de croisière, réglage)
- Interrupteur ON/OFF (en fonction-hors fonction)
- Interrupteur CANCEL (annulation)
PRECAUTIONS RELATIVES À L'UTILISATION DU RÉGULATEUR DE VITESSE
Le régulateur de vitesse cesse de fonctionner automatiquement s'il est defectueux. Le témoin de réglage (SET) du tableau de bord clignote pour signaler l'anomalie au conducteur.
- Si le témoin de réglage (SET) clignote, dé-sactivez l'interrupteur principal du régulateur de vitesse et faites vérifier le dispositif chez un concessionnaire NISSAN.
- Si l'interrupteur principal du régulateur de vitesse est activé et si vous enforcez l'un des interrupteurs ACCEL/RES (accelération-reprise), COAST/SET (vitesse de croisière, réglage) ou CANCEL (annulation) (ces interrupteurs sont situés sur le volant), il est possible que le témoin SET (réglage) se mette à clignoter. Suivez les procédures décrites ci-après pour régler le régulateur de vitesse ajustement.
AVERAGEMENT
N'utilisez pas le régulateur de vitesse dans les conditions suivantes :
- Lorsqu'il est impossible de maintainir la vitesse programmée.
- Lorsque la circulation est dense ou que la vitesse varie.
- Sur les routes montagneuses ou sinueuses.
- Sur les routes glissantes (pluie, neige, glace, etc.)
- Dans des endroits très ventieux.
Vous pourriez ainsi perdre la maitrise de suaive vehicule et avoir un accident.
AMISE EN GARDE
Sur un vehicule équipé d'une boite de vitesses manuelle, lorsque le régulateur de vitesse est en fonction, ne déplacez pas le levier de vitesse au point mort (N) sans enforcer la pédale d'embrayage. Si une telle situation se produit, enforcez la pédale d'embrayage et tournez immidiatement le commutateur principal à la position d'arrêt. Ceci visse à empêcher que le moteur ne subisse des dommages.
FONCTIONNEMENT DU RÉGULATEUR DE VITESSE
Le régulateur de vitesse vous permet de rouler à des vitesse situées entre 40 km/h et 144 km/h (25 mi/h et 89 mi/h) sans avoir à garder votre pied sur l'accéléateur.
Pour activer le régulateur de vitesse, appuyez sur l'interrupteur principal. Le témoin du régulateur (CRUISE) du tableau de bord s'allume.
Pour étabrir une vitesse de croisière, accélèrez à la vitesse désirée, puis appuyez brievement sur l'interrupteur COAST/SET (vitesse de croisière, réglage). Le témoin de réglage (SET) du tableau de bord s'allume. Relâchez la pedale d'accélérateur. Le vehicule continue à rouler à la vitesse可以选择.
- Si vous devez dépasser un autre vehicule, appuyez sur l'accéléateur. Le vehicule revient à la vitesse prérégée des que vous relâchez la pedale.
- Lorsque vous montez ou descendez une pente raide, il est possible que le vehicule ne puisse pas maintainir la vitesse régée. Ne mettez pas le régulateur en fonction si vous doivent conduire dans une telle situation.
Pour annuler le réglage d'une vitesse, utilise l'une des trois méthodes suivantes :
- Enforcez le bouton CANCEL (annulation) - Le témoin de réglage (SET) du tableau de bord s'éteint.
- Appuyez sur la pédale de frein - Le témoin de réglage (SET) du tableau de bord s'eteint.
- Mettez l'interrupteur principal du régulateur de vitesse hors fonction. Les témoinds du régulateur (CRUISE) et de réglage (SET) du tableau de bord s'éteignent.
Le régulateur de vitesse cesse de fonctionner automatiquement et le témoin SET du tableau de bord s'éteint si :
- vous enforcez la pédale de frein ou d'embrayage tout en appuyant sur l'interrupteur ACCEL/RES (acceleration-reprise) ou COAST/SET (vitesse de croisière, réglage). La vitesse pré régée est supprimée de la mémoire;
- la vitesse du vehicule est réduite de plus de 13 km/h (8 mi/h) par rapport à la vitesse régée;
- vous enforcez la pédale d'embrayage (boîte manuelle) ou déplacez le levier sélecteur à la position N (boîte automatique).
Pour étabrir une vitesse de croisière plus rapide, utilisez l'une des trois méthodes suivantes:
- Appuyez sur l'accélérateur. Enforcez l'interrupteur COAST/SET (vitesse de croisière, réglage) et relâchez-le une fois que le vehicule a atteint la vitesse désirée.
- Maintenez enforcé l'interrupteur ACCEL/RES (accelération-reprise). Relâchez-le lorsque le vehicule atteint la vitesse désirée.
- Appuyez brievement sur l'interrupteur ACCEL/RES (acceleration-reprise). La vitesse de votre vehicule augmente d'environ 1,6km / h (1 mi/h) chaque fois que vous appuyez sur ce bouton.
Pour étabrir une vitesse de croisière plus lente, utilisez une des trois méthodes suivantes :
- Appuyez légèrement sur la pédale de frein. Enforcez l'interrupteur COAST/SET (vitesse de croisière, réglage) et relâchez-le une fois que le vehicule a atteint la vitesse désirée.
-
Enforcez l'interrupteur COAST/SET (vitesse de croisière, réglage) et maintenez-le enforcé. Relâchez l'interrupteur une fois que le vehicule a ralenti jusqu'à la vitesse désïrée.
-
Appuyez brievement sur l'interrupteur COAST/SET (vitesse de croisière, réglage). La vitesse de votre vehicule diminue d'environ 1,6 km/h (1 mi/h) chaque fois que vous appuyez sur ce bouton.
Pour programmer une vitesse régée anterieurement, appuyez brièvement sur l'interrupteur ACCEL/RES (accelération-reprise). Dès que la vitesse du vehicule dépasse 40 km/h (25 mi/h), la dernière vitesse de croisière régée est rétable.
PERIODDE RODAGE

MISE EN GARDE
Afin d'obtenir un rendement maximal de votre moteur, d'en assurer la fiabilité et de lui permettre la(Meilleure consommation d essence possible, suivez les recommendations ci-apres pendant les 2000 premiers kilometres (1200 milles).Si vous ne suivez pas ces recommandations, vous risquez de diminuier la durée de vie utile de votre moteur ainsi que ses performances.
- Évitez de conduire à des vitesses constantes (rapides ou lentes) sur une période prolongée et ne faites pas tourner le moteur de votre vehicule à plus de 4 000 tr/min.
- N'effectuez pas d'accélération à plein régime dans chaque rapport que ce soit.
- Évitez les démarrages rapides.
- Evitez les freinages brusques dans la mesure du possible.
- Ne tractez pas de remorque pendant les 800 premiers kilomètres (500 milles) de conduite de votre vehicule. Vous pourriez endommager le moteur, les essieux ou d'autres pièces de votre vehicule.
RéDUCTION DE LA CONSOMMATION DE CARBURANT
- Accélérez progressivement et sans à-coup. Maintenez votre vitesse de croisière en conservant une position de pédaule d'accéléateur constante.
Conduisez à des vitesses modérées sur l'autoroute. La conduite à haute vitesse augmente la consommation de carburant. - Évitez les arrêts et les freinages inutiles.
Conserve une distance sécuritaire entre vous et les autres vehicules.
Assurez-vous que la gamme de vitesses可以选择 correspond bien aux conditions de la route. Sur les routes planes, passez aux rapportes supérieurs aussi rapidement que possible. - Évitez de laisser le moteur de votre vehicule tournier inutillement au ralenti.
- Faites régulièrement effectuer des mises au point de votre moteur.
- Suivez le programme d'entretien périodique recommandé.
Assurez-vous que les pneus sont gonflés à la pression appropriée. Des pneus dont la pression de gonflage est insuffisante s'usent plus rapidement et augmentant la consommation de carburant.
Assurez-vous que le réglage de la géométrie des roues avant est ajustat. Un mauvais réglage de la géométrie des roues entraîne une réduction de la durée de vie des pneus et une augmentation de la consommation de carburant.
- L'utilisation du climatiseur entraine une augmentation de la consommation de carburant. Utilisez le climatiseur seulement lorsque cela se révèle nécessaire.
- Il est plus économique demettreleclimaitseur en fonction et de laisser les glaces fermées pour diminuer la résistance lorsquecouven conduitez à des vitesses élevées.
- Utilisez la position 4H ou 4L seulement lorsque cela se révèle nécessaire. Le fonctionnement en mode 4 roues motrices augmente la consommation de carburant.
4x4 UTILISATION DU MODE 4 ROUES MOTRICES
A VERTISSEMENT
- Pour les vehicules à quatre roues motrices, ne tentez pas de soulever deux des roues du sol et de passer une gamme de marche avant ou la marche arrrière lorsque le moteur tourne. Vous pourriez ainsi endommager les organes de transmission du vehicule, ou ce dernier pourrait se déplacer soudainement et entraîner des dommages ou des blessures graves.
- Ne contrôle jamais un vehicule à quatre roues motrices sur un dynamomètre concu pour un vehicule à deux roues motrices (tel qu'utilisé dans certaines provinces ou dans certains États pour les contrôles antipollution) ou autre équipementsemblable, même si les deux autres roues sont soulevées du sol. Avant de soumettre votre vehicule au dynamomètre, assurez-vous d'informer le personnel du centre de contrôle qu'il s'agit d'un modele à quatre roues motrices. L'utilisation d'un équipement de contrôle inadapté pourrait endommager les organes de transmission du vehicule, ou ce dernier pourrait se déplacer soudainement et entrainer des dommages ou des blessures graves.
MISE EN GARDE
- Ne conduisez pas sur des chaussées sèches en position 4H ou 4LO. La conduite du vehicule sur des surfaces sèches dans les modes 4H ou 4LO est plus bruyante et peut entrainer une usure prématurée des pneus en plus d'accroître la consommation de carburant.
Si le témoin des quatre roues motrices s'allume alors que vous conduisez sur des chaussées sèches :
- En position 4H, déplacez le sélecteur de la boite de transfert de 4WD à 2WD.
-
En position 4LO (4 roues motrices, gamme basse), pour les vehicules à boîte automatique, immobilisez le vehicule et placez la boîte de vitesses au point mort en,enfantant la pédale de frein, puis déplacez la commande de mode 4 roues motrices en position 2WD (2 roues motrices).
-
En position 4LO (4 roues motrices, gamme basse), pour les vehicules à boîte manuelle, immobilisez le vehicule et placez la boîte de vitesses au point mort en enforcant la pédale d'embrayage, puis déplacez la commande de mode 4 roues motrices en position 2WD (2 roues motrices).
- Faites vérifier votre vehicule par un concessionnaire NiSSAN dés que possible si le témoin demeure allumé à la suite des manoeuvres décrites précédemment.
PROCÉDURES DE CHANGEMENT DE POSITION DE LA BOITE DE TRANSFERT
Le système à quatre roues motrices sur commande à trois positions (2WD [2 roues motrices], 4H [4 roues motrices, gamme haute] et 4LO [4 roues motrices, gamme basse]) vous permet de selectionner le mode désiré selon les conditions de conduite.
Méthode de passage en mode 2 roues motrices (2WD) ou 4 roues motrices (4WD):
| Position d'interruption de passage en mode 4WD | Roues entrainées | Témoin | Conditions d'utilisation | Méthode de passage en mode 4WD | |
| Passage en mode 4WD | Position 4LO du transfert | ||||
| 2 roues motrices | Roues arrrière | Pour la conduite sur des routes sèches et pavées (mode économique) ou au cours de contrôlés d'inspection et d'entretien à l'aide d'un dynamomètre | Déplacez l'interruption 4WD2WD←>4HLe témoin 4WD s'allume lorsque la position est engagée. | ||
| 4H | Quatre roues | Pour la conduite sur des routes caillou-teuses, sablonneuses ou enneigées | |||
| Point mort | *1Peut clignoter | Le point mort désecencerché le ver-rouillage mécanique de stationnement de la boite de vitesses automatique, ce qui permettra au vehicule de rouler librement. Ne laissez pas la position du transfert au point mort.*2 | 1. Arrêtez le vehicule.2. Pour les vehicules à boite automatique: place la boite de vitesses au point mort en en-fonçant la pédale de frein. Pour les vehicules à boite manuelle: place la boite de vitesses au point mort en enfon-cant la pédale d'embrayage.3. Pour les vehicules à boite automatique: enforcez et tourmez le sélecteur de passage en mode 4 roues motrices à 4LO (4 roues motrices, gamme bassse) ou 4H (4 roues motrices, gamme haute) en enforcant la pédale de frein. Vehicules à boite de vitesses manuelle: enforcez et tourmez la commande de traction in-égrale (4WD) en position 4LO ou 4H tout en maintainant la pédale d'embrayage enfon-cée.LA BOITE DE TRANSFERT NE PASSE PAS DE LA POSITION 4H (4 ROUES MOTRICES, GAMME HAUTE) À 4LO (4 ROUES MOTRICES, GAMME BASSE) (ET VICE VERSA) À MOINS D'IMMOBILISER D'ABORD LE VEHICULE, D'ENFONDER LA PÉDALE DE FREIN ET DE METTRÉ LA BOITE DE VITSES AU POINT MORT DANS LE CAS DES VEHICULES À BOITE AUTOMATIQUE. DANS LE CAS DES VEHICULES À BOITE MANUELLE, DEPLACEZ LA BOITE DE VITSES AU POINT MORT.*3 | ||
| 4LO | Quatre roues | Allumé | À utiliser lorsqu'une puissance et une mottricité maximales sont nécessaires (par exemple, dans des côtes abruptes ou sur des chaussées cailloutues, sablonneuses ou boueuses). | ||
1: Attendez que le témoin 4LO (4 roues motrices, gamme basse) s allume de façon continue avant demettre la boite de vittesses au point mort. Ceci indicate que le passage au mode 4WD est complètement que le engrenage de transfert est bel et bien engagé en mode 4 roues motrices, gamme basse. Si un rapport de la boite de vittesses est engagé avant que le témoin ne s allume de façon continue, l'engrenage de transfert peut ne pas s'engager ou demeurer au point mort.
- Si le témoin d'ajretissement 4WD s'allume, effectuez la procédure suivant pour rétablier le fonctionnement ajustat du boitier de transfert.
1. Arretez le moteur en tournant le contacteur d'allumage à la position OFF.
2. Demarrez le moteur.
- Assurez-vous que le témoin d'advertisement 4WD est étant. Si le témoin 4WD (mode 4 roues motrices) s'allume, confiez votre vehicule à un concessionnaire NISSAN.
3. Sre t i t t t t t t t t t t t t t t t t t t t t t t t t t t t t t t t t t t t t t t t t t t t t t t t t t t 0
4. Tourez la commande de traction integrale (4WD) sur le mode désiré tout en maintainant enforcée la pédale de frein (vehicules à boite de vittesses automatique) ou la pédale d'embrayage (vehicules à boite de vittesses manuelle).
- Attendez le passage complet du rapport avant de déplacer le levier sélecteur de la boîte de vitesses à partir du point mort.
*2: Au moment du passage en mode 4LO (ou en le quittant), the contact doit être étaté et le moteur du vehiclte doit tourner pour que le changement de gamme ait lieu et que les témoin (témoin de passage en mode 4 roues motrices et témoin de position de gamme 4LO) fonctionnel. Sinon, le changement de gamme n'aura pas lieu et aucuns des témoin ne s/allumera, ni ne clignotnera. VDC
*3: Assurez-vous que le témoin de position de gamme 4LO du transfert s'allume lorsque vous régéc le interrupteur de passage en mode 4 roues motrices à 4LO. Le témoin (eff) (selon l'équipment du vehiclue) s'allume aussi lorsque le mode 4LO est sélectionné. Consultez la section « Système de contrôle dynamique du vehiclue » ci-dessous dans ce chapitre.
L'interrupteur de passage en mode 4 roues motrices de la boîte de transfert est utilisé pour sélectionner le mode 2 roues motrices ou 4 roues motrices selon les conditions de conduite. Trois types de modes d'entrainment sont disponibles : 2WD (2 roues motrices), 4H (4 roues motrices, gamme haute) et 4LO (4 roues motrices, gamme basse).
L'interrupteur de passage en mode 4 roues motrices commande électroniquement l'opération de la boîte de transfert. Tournez l'interrupteur pour alterner entre les modes 2WD (2 roues motrices), 4H (4 roues motrices, gamme haute) et 4LO (4 roues motrices, gamme basse).
Pour pouvoir activer ou désactiver le mode 4LO, vous DEVEZmettrelevehiculea l'arrêt, placer le selecteur de vitesse sur la position N et enforcer la pedale de frein (vehicules a boite de vitesse automatique) ou la pedale d'embrayage (vehicules a boite de vesses manuelle).Vousdezpusser et tournar la commande de mode pour engager ou quitter la position 4LO.
AVERAGEMENT
- Au moment de stationner votre vehicule, serrez le frein de stationnement avant de couper le contact, assurez-vous que le témoin de passage en mode 4 roues motrices est allumé et que le témoin de fonctionnement de stationnement est éteint. Sinon le vehicule pourrait bouger de façon imprévue même si le levier de boite de vitesses automatique est en position P.
- Le témoin 4LO doit arrerter de clignoter et demeurer allumé ou s'éteindre avant le passage d'un rapport de la boîte de vitesses. Si le levier sélecteur de la boîte de vitesses est déplace du point mort lorsque le témoin 4LO (4 roues motrices, gamme basse) clignote, le vehicule pourrait se déplacer inopinément.
AMISE EN GARDE
-
Ne faites jamais passer l'interrupteur de seLECTION 4WD de la position 4LO à la position 4H pendant que vous conduisez.
-
La position 4H procure une motricité optimale. Évitez de rouler trop vite, car cela accroit la consommation de carburant et la température de l'huile en plus de risquer d'endommager les composants de la boite de vitesses. Il est recommandé de ne pas dépasser une vitesse de 100km / h (62,5 mi/h) en mode 4H.
- La position 4L procure le maximum de puissance et de traction. Évitez de conduire trop vite puisque la vitesse maxima à cette position est d'environ 50km / h (31 mi/h).
- Placez l'interrupteur de seLECTION 4WD à la position 2WD ou 4H lorsque vous conduisiez en ligne droite. Ne déplacez pas l'interrupteur de selection 4WD lorsque vous tournez ou reculez.
-
Ne déplacez pas l'interrupteur de selection 4WD (de la position 2WD à 4H) lorsque vous conduisez dans une pente très raide. Utilisez le frein moteur et les rapportes de vitesse inférieurs de la boîte automatique (D1 ou D2) ou la boîte manuelle ( 1^er rapport ou 2^e rapport) comme freinage moteur.
-
Ne déplacez pas l'interrupteur de selection 4WD (entre la position 2WD et 4H) si les roues arrirèe patinent.
- N'utilisez pas les modes 4H et 4LO lorsque vous conduisez sur des chaussées pavées et sèches. En mode 4H ou 4LO, la conduite sur des chaussées pavées et sèches est plus bruyante et peut entraîner une usure prématurée des pneus. NISSAN recommende d'utiliser le mode 2WD dans de telles conditions.
- Le boitier de transfert 4WD ne peut être commuté entre les positions 4H et 4LO lorsque la température ambiente est BASSE et le témoin de transfert de la position 4LO peut clignoter même lorsque l'interrupteur de seLECTION 4WD est actionné. Àpres avoir parcouru une certaine distance, vous pourrez commuter la boite de transfert 4WD entre les positions 4H et 4LO.
Pour la conduite sur des routes cahoteuses :
- Reglez l'interrupteur de passage en mode 4 roues motrices à la position 4H ou 4LO.
Conduisez prudemment selon les conditions de la route.
Lorsque le vehicule est enlised :
- Réglez l'interrupteur de passage en mode 4 roues motrices à la position 4H ou 4LO.
- Utilisez l'interrupteur du dispositif E-Lock (verrouillagelectronique du différentiel arrêté) (selon l'équipement du vehicule). Placez cet interrupteur sur ON lorsque le vehicule est immobilisé, puis essayez de dégager le vehicule en accélérant doucement.
- S'il est difficile de dégager le vehicule, passes alternatively la marche avant et la marche arrrière pour le balancer d'avant en arrrière.
- Si le vehicule est enlisé dans la boue profonde, essayez de placer des pierres ou des morceaux de bois sous les pneus. Essayez à nouveau de dégager le vehicule. Vous pouvez également utiliser des chaînes antidérapantes.

MISE EN GARDE
- Ne faites pas patiner les pneus inutillement. Les pneus s'enforceront dans la boue, compliquant ainsi le dégagement du vehicule.
- Évitez de passer les rapportes lorsqu'le moteur tourne à haute vitesse, car cette pourrait en cause des défaillances.

LSD0145
Fonctionnement de l'interrupteur de passage en mode 4 roues motrices
- Mettez l'interrupteur de passage en mode 4 roues motrices à la position 2WD (2 roues motrices), 4H (4 roues motrices, gamme haute) ou 4LO (4 roues motrices, gamme BASSE), selon les conditions de conduite.
-
Un secousse peut se faire dessentir si la commande de mode 4 roues motrices est reglee en virage, en acceleration ou en deceleration, ou si le contact est coupé en position 4H (4 roues motrices, gamme haute) ou 4LO (4 roues motrices, gamme basse). Cette condition est normale.
-
Lorsque le vehicule est arrêté après un virage, vous pouvez dessentir une légère secousse après le passage du levier/selecteur en position N ou P. Ceci se produit parce que l'embrayage du transfert est reliché. Ce n'est pas une anomalie.
AMISE EN GARDE
- Placez l'interrupteur de seLECTION 4WD à la position 2WD ou 4H lorsque vous conduisez en ligne droite. Ne déplacez pas l'interrupteur de selection 4WD lorsque vous tournez ou reculez.
- N'actionnez pas l'interrupteur de selection 4WD lorsque vous estes engagédans une pente très raide. Utilisez lefrein moteur et les rapport de vitesseinférieurs de la boite automatique (D1 ou D2) ou la boite manuelle (1^er rapport ou 2^e rapport) comme freinage moteur.
-
N'actionnez pas l'interrupteur de selection 4WD lorsque les roues arrirè patinent.
-
Avant de déplacer l'interrupteur de seLECTION 4WD de la position 2WD à la position 4H, assurez-vous que la vitesse du vehicule est inférieure à 100km / h (62,5 mi/h). Autrement, vous risque d'endommager le système 4WD.
- Ne faites jamais passer l'interrupteur de seLECTION 4WD de la position 4LO à la position 4H pendant que vous conduisez.
Témoin de passage en mode 4 roues motrices

LSD0147
Le témoin de passage en mode 4 roues motrices est situé dans l'affichage du compteur kilométrique.
Le témoin devrait s'eteindre après une seconde lorsque le contacteur d'allumage est tourné à la position ON.
Pendant que le moteur tourne, le témoin de passage en mode 4 roues motrices indiquera la position du sélecteur de passage en mode 4 roues motrices.
- Le témoin de passage en mode 4 roues motrices peut clignoter au moment du changement d'un mode d'entrainment à un autre. Une fois le changement de mode complété, le témoin de passage en mode 4 roues motrices s'allume.
- Si le témoin des quatre roues motrices s'allume, le témoin de passage en mode 4 roues motrices s'éteint.

MISE EN GARDE
Si le témoin d'interrupteur 4WD indique le mode 2WD lorsque la commutation se fait vers la position 4H en présence de basse température, le mode 2WD est peut-être activé en raison d'une défaillance du système d'entrainment. Si le témoin ne revient pas à la normale et si le témoin d'avertissement 4WD s'allume, faites inspector le système par le concessionnaire Nissan le plus pres.
Témoin des quatre roues motrices
| Témoin | S'allume ou cli-gnote quand : |
| -4WD - S'allume | Il y a une anomalie du système à quatre roues motrices. |
| -4WD - Clignote len-tement | La différence de rotation des roues est élevé. |
Le témoin des quatre roues motrices est situé dans les instruments de bord.
Le témoin des quatre roues motrices s'allume lorsque le contacteur d'allumage est tourné à la position ON. Il s'éteint peu après que le moteur ait été démarré.
Si une anomalie se produit dans le système à quatre roues motrices lorsque le contacteur d'allumage est à la position ON, le témoin reste allumé ou clignote.
Si le témoin des quatre roues motrices s'allume, le témoin de passage en mode 4 roues motrices s'eteint.
Une grande différence entre les diamètres des roues avant et arrière fera clignoter le témoin lentement (environ une fois toutes les deux secondes). Réglez l'interrupteur de passage en mode 4 roues motrices à la position 2WD et conduisez lentement.

MISE EN GARDE
- Si le témoin s'allume ou clignote lentement pendant la conduite, faites inspectorer votre vehicule des que possible par un concessionnaire NISSAN.
- Évitez de commuter entre les positions 4H et 4LO lorsque le témoin d'advertissement 4WD s'allume.
-
Lorsque le témoin s'allume, le mode 2WD peut être activé même si l'interrupteur de sélection 4WD est en position 4H. Soyez particulièrement prudent pendant la conduite. En cas de défaillance des pieces correspondantes, le mode 4WD ne sera pas activé même si l'interrupteur de sélection 4WD est activé.
-
Ne conduisez pas sur des chaussées sèches en position 4H ou 4LO. La conduite du vehicule sur des surfaces sèches dans les modes 4H ou 4LO est plus bruyante et peut entraîner une usure prématurée des pneus en plus d'accroître la consommation de carburant.
Si le témoin des quatre roues motrices s'allume alors que vous conduisez sur des chaussées sèches :
- En position 4H, déplacez le/selecteur de la boite de transfert de 4WD à 2WD.
-
En position 4LO (4 roues motrices, gamme basse), pour les vehicules à boite automatique, immobilisez le vehicule et place la boite de vitesse au point mort en enforcant la pédale de frein, puis déplacez la commande de mode 4 roues motrices en position 2WD (2 roues motrices).
-
En position 4LO (4 roues motrices, gamme basse), pour les vehicules à boîte manuelle, immobilisez le vehicule et placez la boîte de vitesses au point mort en enforcant la pédale d'embrayage, puis déplacez la commande de mode 4 roues motrices en position 2WD (2 roues motrices).
- Faites vérifier votre vehicule par un concessionnaire NISSAN dés que possible si le témoin demeure allumé à la suite des manoeuvres décrites précédemment.
DISPOSITIF E-LOCK (verrouillage électronique du différentiel arrêté) (selon l'équipement du vehicule)
Le dispositif E-Lock, qui permet de gagner de la motricité, ne doit être utilisé que lorsque le vehicule est sur le point de s'enliser ou est déjà enlisé. Ce dispositif agit en verrouillantlectroniquement de manière solidaire les deux roues motrices arrière, ce qui les oblige à tourner à la même vitesse. Le dispositif est utile lorsqu'il n'est plus possible de dégager un vehicule enlisé, même en selectionnant la position 4LO (vehicules à quatre roues motrices).
Lorsque vous avez besoin d'un surcroft de motricité, placez l'interrupteur du dispositif E-Lock en position ON pour activer le dispositif. Voir la section « Dispositif de verrouillage électronique du différentiel arrêté (E-Lock)», du chapitre « Instruments et commandes ». Lorsque le dispositif est complètement engagé, le témoin sur la planche de bord s'allume et reste fixe. Quand le dispositif est activé, les deux roues arrrière se verrouillent, de manière à procurer une motricité supplémentaire.
Les roues arrirée pourrait patiner ou glisser momentanément avant que le verrouillagelectronique du differentiel arrirée puisse s'engager, et ce, jusqu'à la vitesse limite de 7km / h 4 mi/h) environ. Une fois le vehicule dégagé, vous devez désactiver le dispositif et reprendre votre conduite normale.
L'antiblocage est mis hors fonction et le témoin ABS s'allume lorsque le dispositif E-Lock est activé. En outre, le dispositif de contrôle dynamique du vehicule est désactivé et le témoin VDC s'allume lorsque le dispositif E-Lock est activé.

AVERTISSEMENT
- Ne laïsez jamais le dispositif E-Lock activé lorsque vous circuez sur des chaussées normales ou pavées. Les roues arrêtère poursaient déraper dans les virages et causeur un accident entrainant des blessures. Àpès avoir dégagé le vehicule grâce au dispositif E-Lock, mettez ce dernier hors fonction.
Utilisez le dispositif E-Lock uniquement pour tenter de dégager le vehicule s'il est enlisé. Essayez d'abord la position de gamme 4LO avant de recourir au dispositif E-Lock. Ne vous en servez jamais sur une chaussée glissante telle qu'une route enneigée ou verglacée. L'activation du dispositif E-Lock dans de telles conditions routières peut engendrer un comportement inattendu du vehicule en cas d'utilisation du frein moteur, pendant les accelerations ou dans les virages, ce qui peut entraîner un accident et des blessures graves.

MISE EN GARDE
- Àprous avoir eu recours au dispositif E-Lock, placez l'interrupteur à la position OFF pour prévenir tout dommage potentiel aux éléments de boite de vittesses à la suite de leur sollicitation excessive.
- Ne conduisez pas le vehicule à plus de 20 km/h (12 mi/h) quand le système est activé. Cela pourrait endommager les composants de la boîte de vitesses.
- N'activez pas le dispositif E-Lock pendant que les roues patinent. Cela pourrait endommager les composants de la boîte de vitesses.

A VERTISSEMENT
-
N'immobilisez pas et ne stationnez pas votre vehicule sur une surface recouverte de matieres inflammables comme du gazon sec, deieux papiers ou des chiffons. Ces matieres pourraient s'enflammer et provoquer un incendie.
-
Les procédures de stationnement sécuritaire exigent que le frein de stationnement soit serrer et que le levier sélection soit place en position P (dans le cas des modèles équipés d'une boîte de vittesses automatique) ou que le levier de vittesse soit place à la position adéquate (dans le cas des modèles équipés d'une boîte de vittesses manuelle). Le fait de ne pas respecter ces directives peut causeur un déplacement inopiné du vehicule et entrainer un accident. Assurez-vous que le levier de vittesse a
été poussé aussi loin que possible vers l'avant et qu'il ne peut pas être déplaced, à moins d'enforcer la pédale de frein.
- Ne laïsez jamais votre vehicule sans surveillance lorsqu'le moteur tourne.
-
Ne laisses pas d'enfants sans surveillance dans le vehicule. Ils pourraient actionner les commutateurs ou les commandes par megarde. Des enfants laissés sans surveillance dans un vehicule poursaient etre victimes d'accidents graves.
-
Serrez fermement le frein de stationnement.
- Véhicules équipés d'une boîte de vitesses manuelle :
Déplacez le levier de vitesse à la position R.
Placez le levier de vitesse à la position 1 (première vitesse) si vous stationnez dans une pente.
Vehicules équipés d'une boîte de vitesses automatique :
Déplacez le levier sélecteur à la position P (stationnement).
DIRECTION ASSISTÉE
- En cas de stationnement en pente, les suggestions de positionnement des roues illustrées ci contre peuvent se révérer très utiles pour éviter que votre vehicule ne se déplace dans une voie de circulation.
PENTE DESCENDANTE AVEC TROTTOIR:
Tournez les roues vers le trottoir et déplacez le vehicule vers l'avant jusqu'à ce que la roue se trouvant du côté du trottoir effleure celui ci.
- PENTE ASCENDANTE AVEC TROTTOIR : (B)
Tournez les roues dans le sens contraire du trottoir et déplacez le vehicule vers l'arrière jusqu'à ce que la roue se trouvant du côte du trottoir effleure celui-ci.
- PENTE ASCENDANTE OU DESCENDANTE SANS TROTTOIR : (C)
Tournez les roues vers le bord de la route de maniere à ce que le vehicule s'éloigne du centre de la route s'il se déplace.
- Tournez la clé de contact à la position LOCK et retirez-la.
La direction assistée utilise une pompe hydraulique, entrainée par le moteur, pour procurer une assistance à la direction.
Elle yous permit de conserver la maitrise de votrec vehicule advenant l'arrêt du moteur ou le bris de la courroie d'entrainement. Toutefois, la direction assistee exige des efforts plus importants dans les virages serrés et a basse vitesse.
AVERAGEMENT
Si le moteur ne tourne pas ou s'il est coupé pendant la conduite, l'assistance à la direction ne fonctionnera pas. Le volant est donc beaucoup plus difficile à manœuvrer.
CIRCUIT DE FREINAGE
Le circuit de freinage de votre vehicule compte des deux circuits hydrauliques distincts. En cas de défaillance d'un des circuits, deux des roues conservent leur capacité de freinage.
Freins assistés par dépression
La dépression du moteur est utilisé par le servôfrein pour faciliter le freinage. Vous pouvez immobiliser le vehicule à l'aide de la pédale de frein en cas d'arrêt du moteur. Toutefois, la distance de freinage sera plus longue et vous devrez appliquer une pression plus importante sur la pédale de frein.
Utilisation des freins
Ne laisses pas votre pied reposer sur la pédale de frein en conduisant. Cette situation pourrait entraîner la surchauffe des freins, l'usure prématisation des garnitures et des plaquettes de frein ainsi qu'une réduction de l'autonomie du vehicule.
Réduisez votre vitesse et rétrogradez avant de descendre une pente raide ou longue pour éviter l'usure prématurée et la surchauffe des freins. Le rendement des freins pourrait être compromis s'ils surchauffent et vous pourriez ainsi perdre la maitrise de votre vehicule.
A VERTISSEMENT
- Soyez prudent en freinant, en accélérant ou en rétrogradant sur chaussenée glissante. Les freinages ou accélérations brusques pourraient faire patiner les roues et entraîner un accident.
- Si le moteur ne tourne pas ou s'il est coupé pendant la conduite, l'assistance au freinage ne fonctionnera pas. Il sera donc plus difficile de freiner.
Freins mouillés
Les freins peuvent etre mouillés lorsque le vehicule est nettoyé ou lorsque vous roulez dans l'eau. La distance de freinage sera plus longue et il est possible que votre vehicule tire d'un cote de la route au moment du serrage des freins.
Conduisez votre vehicule à une vitesse sécuritaire tout en,enfantant légèrement la pedale de frein pour faire secher les freins. Continuez jusqu'à ce que les freins fonctionnent normalement.Evitez de conduire votre vehicule à des vitesses élevées si le fonctionnement des freins n'est pas satisfaisant.
Rodage du frein de stationnement
Les segments du frein de stationnement doivent être « rodes » lorsque l'efficacité du freinage diminue ou lors de leur remplacement ou de celui du tambour ou des disques, et ce, afin d'assurer une performance de freinage optimale.
Cette intervention est désrite dans le Manuel de réparation du vehicule et peut être effectue chez un concessionnaire NISSAN.
- Le système de freinage antiblocage est un dispositif perfectionné, mais il ne peut pas prévenir les accidents decoulant d'une conduite imprudente ou dangereuse. Il peut vous aider à conserver la maitrise du vehicule lors d'un freinage sur une chaussée glissante. Vous ne doivent pas outlier que la distance de freinage est plus longue sur une chaussée glissante que sur une chaussée normale, même avec un système de freinage antiblocage. Les distances de freinage peuvent également être plus longues sur des routes cahoteuses, recouvertes de gravier ou enneigées, ou encore, lorsque vous utilisez des chaînes antidérapantes. Conservez toutes une distance sécuritaire entre votre vehicule et celui qui leprecede. Avec ou sans système de freinage antiblocage, le conducteur demeure responsable de la sécurité de conduite de son vehicule.
Le type et l'etat des pneus de votre vehicule peuvent également nuire à l'efficacité du freinage.
- Lorsque vous remplacez vos pneus, installez des pneus de la taille spécifiée aux quatre roues.
Assurez-vous d'installer une roue de secours qui correspond aux spécifications de taille et de type figurant sur l'étiquette d'information sur les pneus et la charge. Consultez la section « Étiquette d'information sur les pneus et la charge » du chapitre « Données techniques et information au consommateur » du réseau manuel.
- Pour plus de détails, consultez la section « Roues et pneus » du chapitre « Entretien et interventions du propriétaire » du现行 manuel.
Le système de freinage antiblocage commande les freins pour prévenir le blocage des roues en cas de freinage brusque ou sur une chaussée glissante. Le dispositif fait varier la pression du liquide de frein selon la vitesse de rotation de chaque roue décelée afin d'eviter leur blocage et leur patinage. En empêchant chaque roue de se bloquer, le dispositif aide le conducteur à保守er la maitrise de son vehicule et contribue à
réduire au minimum les risques de dérapage et de patinage sur chaussée glissante.
Utilisation du dispositif
Enoncez la pédale de frein et maintenance-la enoncee. Appuyez fermement sur la pédale de frein en gardant une pression constante, sans pomper les freins. Le dispositif antiblocage enterra en action pour éviter le blocage des roues. Dirigez le vehicule de manière à éviter les obstacles.
AVERAGEMENT
Ne pompez pas la pédale de frein. Cette manoeuvre pourrait avoir pour résultat d'accroître les distances de freinage.
Fonction d'autodiagnostic
Le système de freinage antiblocage comaporte des capteurs electroniques, des pompes electriques, des electrovannes hydrauliques et un ordinateur. Une fonction de diagnostic integree a cet ordinateur met le dispositif a l'essay chaque fois que vous demarrez le moteur et que vous roulez a basse vitesse en marche avant ou en marche arriere. Lorsque I'autodiagnostic est en cours d'execution, un bruit sourd peut etre entendu ou une pulsation peut etre dessentie dans la pedale de frein. Il s'agit d'une situation normale qui ne revele pas une defaillance. L'ordinateur met le système antiblocage hors fonction et allume le
témoin des freins antiblocage au tableau de bord lorsqu'il détecte une défaillance. Le fonctionnement du dispositif antiblocage est alors neutralisé et votre vehicule utilise le circuit de freinage standard. Rendez-vous chez un concessionnaire NISSAN pour faire réparer le dispositif antiblocage de votre vehicule si ce témoin s'allumependant l'autodiagnostic ou la conduite.
Fonctionnement normal
Le dispositif antiblocage fonctionne lorsque vous roulez à plus de 5 à 10 km km/h (3 à 6 mi/h).
Lorsque le dispositif antiblocage detecte que le blocage d'une ou de plusieurs roues est imminent, l'actionneur applique et relâche la pression hydraulique.
Cette action s'apparente à un pompage très rapipe des freins. Lorsque le dispositif antiblocage entre en action, une pulsation peut être dessentie dans la pédale de frein et le fonctionnement de l'actionneur peut être perché comme une vibration ou un bruit provenant du compartment moteur. Tout ici est normal et indique que le dispositif antiblocage travaillée comme il se doit. Toutefois, une sensation de pulsation peut indiquer que les conditions routières sont dangereuses et que la conduite requiert une attention particulière.
DISPOSITIF ANTIPATINAGE (selon l'équipement du vehicule)
- Le dispositif antipatinage est un type de dispositif qui utilise les capteurs du dispositif antiblocage des freins (ABS) pour transférer la puissance d'une roue motrice qui patine à une roue disposant d'une meilleure motricité. Ce dispositif actionne le frein de la roue qui patine, ce qui permet de rediriger la puissance vers une autre roue.
- Sur les modeles à quatre roues motrices, le dispositif antipatinage agit à la fois dans les modes 4H et 4LO. Si le mode 4 roues motrices est engagé, le dispositif antipatinage par freinage agit à la fois sur les deux essieux moteurs. Sur les vehicules à deux roues motrices, ce dispositif n'agit que sur l'essieu moteur.
- Le dispositif antipatinage reste toujours en fonction, sauf s'il détecte une surchauffe des plaquettes de frein. Bien que le dispositif se désactive lorsqu'il détecte une surchauffe des plaquettes de frein, il demeure possible de freiner normalement. Il fonctionne même lorsque le dispositif de contrôle dynamique du vehicule (salon l'équipement du vehicule) est hors fonction.
AVERAGEMENT
Le dispositif antipatinage contribue à améliorer la motricité, mais n'empêche pas les accidents causés par les manoeuvres de virage brutes ou par une conduite imprudente ou dangereuse. Réduisez votre vitesse et soyez particulièrement prudent lorsque vous conduisez ou tournez sur chaussée glissante. Conduisez prudemment en tout temps.
DISPOSITIF DE CONTROLLE DYNAMIQUE DU VEHICULE (selon l'équipement du vehicule)
Lorsque vous accélérez ou lorsque vous conduissez sur des surfaces glissantes, les pneus peuvent patiner ou glisser. Les capteurs du dispositif de contrôle dynamique du vehicule détectent ces mouvements et reglent la force de freinage de même que le couple du moteur pour améliorer la stabilité du vehicule.
- Le témoin SLIP (dérapage) du tableau de bord clignote lorsqu'le dispositif de contrôle dynamique du vehicule est activé.
- Si le levier de la boîte de transfert 4WD est positionné sur la gamme 4LO, le témoin VDC s'allume et le dispositif de contrôle dynamique du vehicule est désactivé. Consultez la section « Proédures de changement de position de la boîte de transfert » plus haut dans ce chapitre.
- Si ce témoin clignote, la route est glissante. Assurez-vous d'adapter votre vitesse et la conduite à ces conditions. Consultez les sections « Témoin SLIP » et « Témoin de neutralisation du dispositif de contrôle dynamique du vehicule » du chapitre « Instruments et commandes »
Si la batterie est retiree ou dechargee, le dispos- itif antipatinage peut etre invalide. Les temoins SLIP (derapage) et VDC ne s'eteignent pas apres deux secondes lorsque le contact est etabli.Procedez comme suit pour reinitialiser le dispositif:
- Démarrez le moteur et placez les roues directement vers l'avant.
- Roulez à plus de 15km / h (10 mi/h) pendant au moins 10 minutes.
- Le témoin VDC OFF (neutralisation du dispositif de contrôle dynamique du vehicule) devrait s'eteindre et donc indiquer que le dispositif est fonctionnel.
- Si vous interrompez la procédure de réinitialisation en coupant le contact, vous devrez la recommencer.
Si, après avoir conduit le vehicule pendant plus de 10 minutes, les temoins SLIP (dérapage) et [OFF] demeurent allumés au tableau de bord, faites vérifier le dispositif de contrôle dynamique du vehicule par un concessionnaire NISSAN.
La neutralisation du dispositif de contrôle dynamique du vehicule au moyen de l'interrupteur VDC OFF (mise hors fonction du dispositif de contrôle dynamique du vehicule) invalidate la plupart des fonctions du dispositif de contrôle dynamique du vehicule. Le dispositif
continuera d'essayer de transférer la puissance d'une roue qui patine à une roue disposant d'uneffective motricité, même lorsque l'interrupteur est en position OFF. Le témoin SLIP de dérapage se met à clignoter s'il détecte le patinage d'une roue. Le dispositif antiblocage continue de fonctionner même si le dispositif de contrôle dynamique du vehicule est désactivé.
Pendant le fonctionnement du dispositif de contrôle dynamique du vehicule, une pulsation peut etre ressentie dans la pedale de frein tandis qu'une vibration ou un bruit peut se faire entendre dans le compartment moteur. Ceci est normal et indique que le dispositif de contrôle dynamique du vehicule fonctionne correctement.
Une fonction de diagnostic intégrée à l'ordinateur met le dispositif à l'essayir chaque fois que vous démarrez le moteur et que vous roulez à basse vitesse en marche avant ou en marche arrière. Lorsque l'autodiagnostic est en cours d'exécution, un bruit sourd peut être entendu ou une pulsation peut être dessentie dans la pédale de frein. Ceci est normal et n'est pas un signe de défectuosité.

AVERTISSEMENT
Le dispositif de contrôle dynamique du vehicule a ete concu pour amelierer la tenue de route du vehicule, mais il ne peut empeder les accidents causés par des manoeuvres brusques de la direction a vitesse elevée ou par une conduite imprudente et dangereuse. Reduisz Your vtesse et soyez particulierement prudent lorsque yous conduisz ou virez sur chaussee glissante. Conduisz prudemment en tout temps.
- Si les pièces associées aux freins, telles que les plaquettes de frein, les disques et les étriers, ne sont pas des modèles de série ou si elles sont extrémement déteriorées, le dispositif de contrôle dynamique du vehicule ne fonctionnera pas de façon ajustée et le témoin de désactivation du dispositif s'allumera.
- Ne modifies pas la suspension du vehicule. Si des éléments de la suspension tels que les amortisseurs, les jambes de force, les ressorts, les barres stabilisatrices ou les coussinets ne sont pas approvés par Nissan aux fins d'utilisation sur votre vehicule, ou sils sont extrémement détiériorés, le dispositif de contrôle dynamique du vehicule peut ne pas fonctionner ajustement. La tenue de route du vehicule risque de s'en trouver affectée et le témoin du système de contrôle dynamique du vehicule pourrait s'allumer.
Le système de contrôle dynamique du vehicule peut ne pas fonctionner ajustement ou son tepoin peut s'allumer lorsque vous conduisez sur une surface très inclinee, comme dans un virage relevé. Ne conduisez pas sur ce type de route. -
Sur une surface instable, telle qu'une plaque tournante, le pont d'un traversier, un monte-charge ou une rampe, le témoin de neutralisation du dispositif de contrôle dynamique du vehicule peut s'allumer. Cette condition est normale. Redémarrez le moteur après être passé sur une surface stable.
-
Si vous montez des roues ou des pneus autres que ceux recommendés, le dispositif de contrôle dynamique du vehicule ne fonctionnera pas correctement et le témoin de désactivation du dispositif s'allumera.
- Sur des routes enneigées, le dispositif de contrôle dynamique du vehicule ne remplace pas l'utilisation de pneus d'hiver ni de chaînes antidérapantes.
DISPOSITIF D'ASSISTANCE EN DESCENTE (HDC) (selon l'équipement du vehicule)

AVERTISSEMENT
- Ne vous fiez jamais uniquement au dispositif d'assistance en descente pour maïrriser la vitesse du vehicule sur des pentes raides. Roulez toujours doucement et avec prudence lorsque vous utilisez le dispositif d'assistance en descente et, s'il y a lieu, utilisez les freins pour ralentir le vehicule. Soyez particulièrement vigilant lorsque le terrain est gelé ou boueux, ou si vous nevez franchir une pente très raide. Si vous ne pouvez plus maïrriser la vitesse du vehicule, vous pourriez en perdre les commandes et risquer des blessures sérieues, voire mortelles.
- Le dispositif d'assistance en descente pourrait être impuissant devant certaines conditions de charge ou d'état du terrain. Gardez toujours le pied pres de la pédale de frein en cas de besoin. Sinon, vous risqueriez une collision ou de graves blessures.
Le dispositif d'assistance en descente permet de mañtriser la vitesse du vehicule entre 25 et 35km / h (15 et 21mi / h ) sur de fortes pentes descendantes. Le dispositif d'assistance en descente est utile uniquement lorsque le frein moteur est insuffisant en position 4H ou 4LO pour limiter la vitesse du vehicule. Le dispositif d'assistance en descente utilise les freins pour contröler la vitesse du vehicule et libre ainsi le conducteur de certaines contraintes (freinage ou accélération) afin qu'il puisse更好地 maintainir le cap de son vehicule.
- Si vous avez besoin d'une puissance de freinage additionnelle sur de fortes pentes descendantes, appuyez sur l'interrupteur du dispositif d'assistance en descente, consultez la section « Interrupteur du dispositif d'assistance en descente » du chapitre « Instruments et commandes »
- Une fois le dispositif activé, le témoin s'allume au tableau de bord. Consultez la section « Témoin de fonctionnement du dispositif d'assistance en descente » du chapitre « Instruments et commandes »
Si vous appuyez sur l'accelerateur ou sur la pedale de frein lorsque le dispositif d'assistance en descente est en fonction, ce dernier se désactive momentanément. Dés que vous relâchez l'accelerateur ou la pedale de frein, le dispositif d'assistance en descente entre de nouveau en fonction si les conditions l'exigent.
Pour une maitrisse optimale du vehicule lorsqu'vous franchissez une force pente descendante, l'interrupteur du dispositif d'assistance en descente doit etre en position ON et le levier selecteur de la boite de vitesses sur 2 (deuxieme) ou 1 (premiere) afin d'exploiter au moins le frein moteur.
DISPOSITIF D'ASSISTANCE AU DEMARRAGE EN COTE (HSA) (selon l'équipement du vehicule)

AVERTISSEMENT
- Ne vous fiez jamais uniquement au dispositif d'assistance au démarrage en côte pour empêcher le vehicule de recycler en côte. Conduisez toujours prudiment et avec toute l'attention possible. Appuyez sur la pédale de frein lorsque vous immobilisez le vehicule sur une forte pente. Soyez particulièrement vigilant lorsque le terrain en pente est gelé et boueux. Si vous ne pouvez plus empêcher votre vehicule de recycler, vous pourriez en perdre la maitrise et risquer des blessures sérieues, voir mortelles.
- Le dispositif d'assistance au démarrage en côte n'est pas conscience pour immobiliser le vehicule dans une pente. Appuyez sur la pédale de frein lorsque vous immobilisez le vehicule sur une forte pente. Sinon, le vehicule pourrait recycler et vous risqueriez une collision ou de graves blessures.
- Le dispositif d'assistance au démarrage en côte pourrait ne pas empêcher le vehicule de reculer dans certaines conditions de charge ou d'état du terrain. Gardez toujours le pied pres de la pédale de frein pour éviter de recycler. Si non, vous risqueriez une collision ou de graves blessures.
Le dispositif d'assistance au démarrage en côte utilise automatiquement les freins pour éviter que le vehicule ne se mette à reculer dans une pente au moment où le conducteur relâche la pédale de frein et appuie sur l'accéléateur.
Le dispositif d'assistance au démarrage en côte entre automatiquement en fonction dans les conditions suivantes :
Le levier sélecteur de la boîte de vitesses est placé dans une position de gamme de marche avant ou de marche arrêté.
Le vehicule est immobilisé dans une pente en appliquant les freins.
Le temps de fonctionnement maximal du dispositif est de deux secondes. Passé ce décai, le vehicule se mettra à reculer et le dispositif se désactivera complètement.
Le dispositif d'assistance au demarrage en cote ne fonctionnera pas si le levier selecteur est en position N ou P, ou si le terrain n'est pas en pente.
DEBLOCAGE D'UNE SERRURE DE PORTIQUE GELEE
Applique un produit dégivrant dans les trou des serrure des portières pour éviter le gel des serrures. Si la serrure devient gelée, chauffez la clé avant de l'insérer dans le trou de la serrure ou utilisez la télécommande d'entrée sans clé (selon l'équipement du vehicule).
ANTIGEL
En hiver,procededezaune Verificationde l'antigeldevoirevehiculorsque destempératures inférieuresa 0^ (32^) sontprevues,etce,afindassurer une protection adequate.Pour plus dedétails,consultezla section «Circuit de refroidissement du moteur »du chapitre «Entretien etinterventions du propriétaire »du present manuel.
BATTERIE
Si la batterie n'est pas complètement chargée, le liquide qu'elle contient peut geler par temps extrémement froid et endommager la batterie. La batterie doit faire l'objet de vérifications régulières pour que son rendement soit maintainu au niveau maximal. Pour plus de détails, consultez la section « Batterie » du chapitre « Entretien et interventions du propriétaire » du present manuel.
VIDANGE DU CIRCUIT DE REFROIDISSEMENT
Si vous véchicule est demeure à l'extérieur sans antigel, le circuit de refroidissement, incluant le bloc-moteur, doit être vidange. Remplissez le vase d'expansion avant de reprendre la route. Pour plus de détails, consultez la section « Vidange du liquide de refroidissement » du chapitre « Entretien et interventions du propriétaire » du present manuel.
PNEUS
-
Les bandes de roulement des pneus d'ETÉ sont conçues pour offrir un rendement supérieur sur les chaussées sèches. La neige et la glace nuisent donc considérablement à leur rendement. Si vous possédez un vehicule à quatre roues motrices, NISSAN vous recommende d'utiliser des pneus BOUE - NEIGE ou des pneus TOUTES SAISONS si vous doivent conduire sur des chaussées enneigées ou glacées. Vous pouvez obtenir des renseignements relatifs aux types, aux tailles, aux cotes de vitesse et à la disponibilité des pneus auprès d'un concessionnaire NISSAN.
-
Des pneus à clous peuvent être utilisés pour bénéficier d'une adherence accrue sur chaussée glacée. Toutefois, l'utilisation de tels pneus est prohibée dans certains États américain de même que dans certaines provinces du Canada. Consultez les règlements en vigueur dans votre localité, dans l'État ou la province où vous résiduez avant d'installer ce type de pneu sur toute vehicule.
Sur chaussée sèche ou mouillée, les capacities de patinage et d'adhérence d'un pau d'hiver à clous peuvent être inférieures à celles d'un pau d'hiver sans clous.
- Vous pouvez également utiliser des chaînes antidérapantes. Pour obtenir de plus amples renseignements, consultez la section « Châines antidérapantes » du chapitre « Entretien et interventions du propriétaire » dans le présent manuel.
ÉQUIPEMENT HIVERNAL
Nous vous recommendons de placer les articles suivants dans votre vehicule en hiver.
-
Un gratoir et une Brosse à poils raides pour retarder la glace et la neige se trouvant sur les glaces et les essuie-glaces de votre vehicule.
-
Un panneau plat et robuste que vous pouvez déposer sous le cric de votre vehicule pour lui donner un soutien ferme.
- Une pelle pour dégager votre vehicule d'un banc de neige.
- Un contenant de liquide lave-glace supplémentaire.
CONDUITE SUR LA NEIGE OU SUR LA GLACE
AVERAGEMENT
- La glace mouillée (0 °C [32 °F] et pluie verglaçante), la neige très froide ou la glace peuvent rendre la route glissante et la conduite difficile. Dans ces conditions, l'adhérence des pneus du vehicule est considérablement réduite. Évitez de rouler sur une route verglacée avant que du sable ou du sel d'épandage n'aït été repandu.
-
Peu imports the conditions, condusiez prudemment. Accélérez et ralentissez en douceur. Les accélérations et décalérations brusques n'auront pour effet que de réduire davantage l'adhérence des roues motrices.
-
Dans ces conditions, prévoyez une distance d'arrêt plus longue et commencer à freiner plus tout que sur une chaussee sèche.
- Sur des chaussées glissantes, maintenance une plus grande distance entre voûtre vehicule et celui qui le précède.
- Faites preuve de vigilance lorsque vous conduisiez sur une route couverte de plaques de glace. Meme les routes quisemblant dégagées peuvent être parsemées de plaques de glace aux endroits ombragés. Si tel est le cas, freinez avant de rouler sur la plaque. Ne freinez pas sur la glace et évitez les coupes de volant.
- N'utilisez pas le régulateur de vitesse lorsque le vehicule roule sur une chaussee glissante.
- La neige peut emprisonner des gaz d'échéppement nocifs sous votre vehicule. Dégagez la neige accumulée autour du tuyau d'échéppement et autour du vehicule.
CHAUFFE-MOTEUR (selon
l'équipement du vehicule)
Vous pouvez vous procurer un chauffe-moteur, concu pour faciliter le demarrage par temps froid, auprès d'un concessionnaire NISSAN.
L'utilisation d'un chauffe-moteur est recommandée lorsque la température extérieure est égale ou inférieure à -7 °C (20 °F).
Utilisation du chauffe-moteur :
- Coupe le contact.
- Ouvrez le capot moteur et déliez le cordon du chauffe-moteur.
- Branchez la prise du cordon d'alimentation du chauffe-moteur à une rallonge tripolaire à trois fils (avec mise à la terre).
- Branchez la rallonge electrique a une prise a circuit de terre contrôle du secteur (110 V c.a.).
-
En fonction de la température extérieure, il convient de brancher le chauffe-moteur pendant deux à quatre heures au moins afin d'assurer un réchauffement ajustat du liquide de refroidissement du moteur. Vous pouvez utiliser unprogrammateur pour activer le chauffe-moteur à l'heure appropriée.
-
Avant le démarrage du moteur, débranchez le cordon d'alimentation et rangez-le correctement, à l'ecart des pieces mobiles du moteur.
AVERAGEMENT
- Ne branchez jamais votre chauffemoteur à un circuit electrique qui n'est pas mis à la terre ou à l'aide d'un adaptateur bipolaire. Vous pourriez subir un choc electrique et être blessé gravement si vous utilisez une connexion qui n'est pas mise à la terre.
- Débranchez le cordon d'alimentation du chauffe-moteur et rangez-le correctement avant de faire demarrer le moteur. Vous risquez un choc électrique et de graves blessures si vous utilisez un cordon d'alimentation endommagé.
Utilisez une rallonge tripolaire à trois fils de type robuste conçue pour une charge d'au moins 10 A. Branchez la rallonge à une prise à circuit de terre contrôle du secteur (110 V c.a.). Vous risquez un chic électrique et de graves blessures si vous utilisez une rallonge électrique inappropriée ou une prise non munie d'un circuit de terre contrôle.
MÉMENTO
6 En cas d'urgence
Trousse de premiers soins (selon l'équipement du vehicule) 6-2
Pneu à plat 6-2
Système de surveillance de la pression des pneus. 6-2
Remplacement d'un pneu a plat. 6-3
Demarrage-secours. 6-10
Demarrage en poussant. 6-12
Si le moteur surchauffe. 6-12
Remorquage de votre vehicule 6-14
Méthodes de remorquage recommendées par NiSSAN 6-14
Dégagement d'un vehicule enlisé. 6-17
TROUSSE DE PREMIERS SOINS (selon l'équipement du vehicule)

Modèle King Cab
La trousse de premiers soins se trouve dans les bacs de rangement sous les sièges.
Pour acceder à la trousse de premiers soins :
Dans le cas des modèles King Cab, levez le strapontin arrrière et retirez le filt pour acceder à la trousse de premiers soins. Consultez la section « Strapontins » du chapitre « Sécurité — Sièges, ceintures de sécurité et dispositifs de protection complémentaires » vu précédemment dans ce manuel.

Modèle à cabine double
Dans le cas des modèles à cabine double, levez la banquette arrrière et retirez le filt pour acceder à la trousse de premiers soins. Consultez la section « Rabat de la banquette arrrière » du chapitre « Sécurité - Sièges, ceintures de sécurité et disposifits de protection complémentaires » vu précédemment dans ce manuel.
PNEU A PLAT
SYSTÉME DE SURVEILLANCE DE LA PRESSION DES PNEUS
Ce vehicule est équipé d'un système de surveillance de la pression des pneus. Il surveille la pression de tous les pneus, à l'exception du pneu de la roue de secours. Lorsque le témoin de basse pression des pneus est allumé, au moins un de vos pneus est insuffisamment gonfle. Si la pression d'un pneu est basse lorsque le vehicule roule, le système de surveillance de la pression des pneus entre en fonction et vous signale cet état au moyen du témoin de basse pression des pneus. Ce système ne s'active que si la vitesse du vehicule dépasse 25 km/h (16 mi/h). Pour obtenir de plus amples renseignements, consul-tes la section « Temoins et rappels sonores » du chapitre « Commandes et instruments » et la section « Système de surveillance de la pression des pneus » du chapitre « Démarrage et conduite »
AVERAGEMENT
- Si le témoin d'advertissement de basse pression des pneus s'allume pendant la conduite, évitez tout braquage ou freinage brusque, ralentissez, dirigez-vous vers un endroit sécuritaire et immobilisez le vehiculeès que possible. Your vehicule pourrait subir des dommages importants et vous pourriez avoir un accident entrainant des blessures graves. Vérifiez la pression de tous les pneus. Effectuez un réglage de pression À FROID, tel que spécifique sur l'étiquette des pneus et d'information sur la charge, pour ainsi désactiver le témoin d'advertissement de basse pression. Si vous avez fait une crevaison, montez la roue de secoursès que possible.
-
Àprouvávoir monté une roue de secours ou remplace une des roues, le système de surveillance de la pression des pneus ne sera plus fonctionnel et le témoin de basse pression des pneus clignotera. Communiquez avec votre concessionnaire NiSSANès que possible pour proceder au remplacement des pneus ou à la réinitialisation du système.
-
L'utilisation de pneus de remplacement autres que ceux précisés par NiSSAN peut nuir au fonctionnement du système de surveillance de la pression des pneus.
- N'injectezaucunproduittétanchéité pourpneu,liquideouenáerosol,dans lespneus.Lefonctionnementdes capteurs de pression despneus poursirt s'entrouvercompromis.
REEMPLACEMENT D'UN PNEU À PLAT
Si l'un de vos pneus est à plat, procédez aux étapes décrites ci-après :
Immobilisation du vehicule
- Déplacez votre vehicule en cordure de la route lorsqu'il est prudent de le faire et immobilisez-le aussi loin que possible de la circulation.
-
Allumez les yeux de détresse de votre vehicule.
-
Stationnez votre vehicule sur une surface plane et serrez le frein de stationnement. Placez le levier selecteur de votre vehicule en position R si ce dernier est muni d'une boite de vitesses manuelle ou en position P s'il est muni d'une boite de vitesses automatique.
- Coupe le contact.
- Ouvrez le capot pour signaler votre présence aux autres conducteurs et indiquer au service de dépannage que vous avez besoin d'aide.
- Demandez à tous les occupants de descendre du vehicule et de se tener dans un endroit sur, à l'écart de la circulation et du vehicule.
A VERTISSEMENT
Assurez-vous que le frein de stationnement est correctement serré et que la boîte de vitesses manuelle est à la position R ou que la boîte de vitesses automatique est à la position P.
- Ne tentez jamais de changer un pneu si votre vehicule est stationné dans une pente ou sur une surface glacée ou glissante. Ceci est dangereux.
- Ne tentez jamais de changer un pneu si votre vehicule se trouve à proximé de la circulation. Attendez qu'on vienne vous dépanner.

Blocage des roues
Placez des cales de taille appropriée ① à l'avant et à l'arrière de la roue diagonalement opposée à la roue dont le pneu est à plat ② pour empêcher le vehicule de se déplacer lorsqu'il est levé au cric.

AVENTISSEMENT
Assurez-vous de bloquer la roue, car le vehicule peut se déplacer et cause des blessures.

Retrait de la roue de secours et des outils du coffre
Pour les modèles King Cab :
Le compartment de rangement des outils se trouve entre les deux strapontins arrêté.
- Tournez le bouton de la position de verrouillage à la position de déverrouillage et retirez le couvercle du compartment de rangement des outils.
- Retirez le cric et les outils de levage.

LCE0110

LCE0111
Pour les modèles à cabine double :
Les outils et la boîte à outils se trouvent derrière la banquette arrêté.
Rabattez la banquette. Consultez la section « Rabat de la banquette arriere » du chapitre « Sécurité – Sièges, ceintures de sécurité et dispositifs de protection complémentaires »
- Retirez le cric ① et les outils de levage ②.
Tous les modèles :
-
Insérez l'extrémité carree de la tige du cric dans le trou carré du démonte-roue afin de former une poignée.
-
Repérez l'ouverture ovale dans la partie centrale inférieure du hayon. Passez l'extrémité en T de la tige du cric par l'ouverture et dirigez-la vers le treuil de la roue de secours situé directement au-dessus de cette-ci.

-
Insérez l'extrémité en T de la tige du cric dans l'ouverture en T du treuil de la roue de secours. Appliquez une pression afin de dévelopir la tige du cric dans le treuil de la roue de secours et tournez-la dans le sens contraire des aiguilles d'une montre pour abaiser la roue de secours.
-
Une fois la roue de secours totalement abaissée, retirez la chaine de retenue du dessous du vehicule et glissez la roue de secours sous l'arrière du vehicule.

MISE EN GARDE
Assurez-vous de center la plaque de suspension de la roue de secours sur la jante avant de soulever la roue de secours.
Mise sur cric du vehicule et retrait du pneu endommagé

AVENTISSEMENT
- Ne vous glissez jamais sous un vehicule si ce dernier n'est soutenu que par un cric. Si une intervention sous le vehicule est nécessaire, utilisez des trêaux pour le soutenir.
Utilisez seulement le cric fourni avec votre vehicule pour soulever ce dernier. Ne l'utilisez pas pour soulever un autre vehicule. Ce cric a ete concu exclusivement pour soulever votre vehicule lorsque vous nevez remplacer une roue. -
N'utilisez que les points de levage identifiés. N'utilisez aucune autre partie de votre vehicule comme point de levage.
-
Ne soulevez jamais le vehicule plus que nécessaire.
- N'installez jamais de bloc sur ou sous le cric.
- Ne faites pas démarrer ou tournier le moteur alors que le vehicule est sur le cric. Le vehicule pourrait se déplacer. Cette consigne s'applique particulièrement aux vehicules équipés d'un différentiel à glissement limité.
- Ne soulevez jamais un vehicule avec le cric si des passagers se trouvent encore à l'intérieur.
- Ne démarrez jamais le moteur d'un vehicule dont une ou plusieurs roues ne touchent pas le sol. Le vehicule pourrait se déplacer.
Prenoz soit de tousjours vous referrer aux illustrations pour les points de mise en place et de levage correspondant à votre modele de vehicule et au type de cric utilisé.
Lisez attentivement l'étiquette d'avertissement fixée au cric et les directives suivantes :
- Au moyen du démonte-roue, desserrez chaque écrou de roue d'un tour ou deux dans le sens contraire des aiguilles d'une montre. Attendeze que le pneu ne touche plus le sol pour-retirer les écrous de roue.

- Placez le cric directement sous le point de levage, tel qu'illustré, de manière à ce que le contact entre le dessus du cric et le vehicule se fasse au point de levage. Les points de levage sont indiqués par des flèches estampées sur le côté du cadre.
Le cric devrait reposer sur une surface ferme et plane.

- Installez la tige du cric assemblée sur le cric, tel qu'illustré.
-
Tenez fermement le levier et la tige du cric pour soulever le vehicule. Soulevez prudiment le vehicule jusqu'à ce que le pneu endommagé ne touche plus le sol.
-
Retirez les écrous de roue, puis la roue.

Installation de la roue de secours
La roue de secours ne doit être utilisée qu'en cas d'urgence. Consultez les directives spécifiques de la section « Roues et pneus » du chapitre « Entretien et interventions du propriétaire » duprésent manuel.
- Nettoyez toute trace de boue ou de saleté de la surface se trouvant entre la roue et le moyeu.
-
Installez soigneusement la roue de secours et serrez les écrous de la roue à la main.
-
Au moyen du démonde-roue, serrez les écrous de la roue en alternance et uniformément, tel qu'illustré, jusqu'à ce qu'ils soient solidement fixés en place.
- Abaissez lentement le vehicule jusqu'à ce que le pneu touche le sol. Serrez ensuite les écrous de roue fermement au moyen du démonthe-roue, selon la séquence illustrée. Abaissez le vehicule complètement.
A VERTISSEMENT
- Si des écrous de roue inappropriés sont utilisés ou si les écrous sont mal serrés, la roue pourrait se desserrer ou se détacher. Ceci pourrait cause un accident.
- N'applique pas d'huile ni deGRAISSESUR les goujons ou les écrous de roues, car ils pourraient se desserrer.
- Resserrez les écrous des roues du vehicule après avoir parcours une distance de 1 000 km (600 mi), après une crevaison, etc.
Au moyen d'une clé dynamométrique, serrez les écrous de roue au couple spécifique des que possible.
Couple de serrage des écrous de roues :
133 N.m (98 Ib-pi)
Les écrous de roue doivent être serrés au couple spécifique en tout temps. Il est conseilé de serrer les écrous de roue au couple spécifique chaque fois qu'une lubrification est requise.
Réglez la pression de gonflage de vos pneus À FROID.
À FROID : si votre vehicule est stationné depuis trois heures ou plus ou s'il a parcouru une distance de moins de 1,6 km (1 mi).
Les pressions de gonflage à FROID des pneus sont indiquées sur l'étiquette des pneus et d'information sur la charge apposée sur le pied milieu du côte conducteur.
- Rangez la roue dont le pneu est creve et l'équipement de levage dans votre vehicule de façon sécuritaire.
A VERTISSEMENT
Assurez-vous que la roue de secours et le cric sont toujours correctementrangés après leur utilisation. Ces articles peuvent se transformer en projectiles dangereux en cas d'accident ou au moment d'un freinage brusque.
- La roue de secours ne doit être utilisée qu'en cas d'urgence. Consultez les directives spécifiques de la section « Roues et pneus » du chapitre « Entretien et interventions du propriétaire » duprésent manuel.
DÉMARRAGE-SECOURS
Les directives et précautions ci-après doivent être lues attentionivement lorsque vous utilisez une batterie d'appoint pour faire demarrer le moteur de votre vehicule.

AVERTISSEMENT
- Un démarrage-secours mal effectué peut faire explodeer la batterie et cause des blessures graves ou la mort. Voitre vehicule pourrait également être endommagé.
- La batterie dégage en permanence de l'hydrogène, qui est un gaz explosif. N'approche pas d'étincelles ni de flamme de la batterie.
- Évitez tout contact d'électrolyte avec les yeux, la peau, les vêtements ou les surfaces peintes. L'électrolyte est une solution d'acide sulfurique corrosive qui peut cause de graves brûlures. Si de l'électrolyte entre en contact avec un des éléments mentionnés précédemment, rincez immidiatement à l'eau la zone affectée.
-
Gardez la batterie hors de la portée des enfants.
-
La batterie d'appoint doit être de 12 volts. L'utilisation d'une batterie de voltage différent peut endommager votre vehicule.
-
Portez toujours des lunettes de sécurité (par exemple, des lunettes de travail à coques ou des lunettes de protection industrielles) et enlevez vos bagues, bracelets métalliques et tout autre bijou lorsque vous effectuez une intervention sur la batterie ou à proximité de celle-ci. Ne vous penchez pas audressus de la batterie au moment d'un démarrage-secours.
-
Ne tentez pas d'effectuer un démarrage-secours lorsque votre batterie est gelée. Celle-ci pourrait exploser et causer de graves blessures.
- Voiture vehicule est équipé d'un ventilateur de refroidissement du moteur automatique qui peut s'activer à n'importe quel moment. Eloignez-en vos mains ainsi que tout autre object.


AVERTISSEMENT
Suivez toujours les instructions suivantes.
Sinon, vous risque d'endommager le circuit de charge et de vous blesser gravement.
- Si la batterie d'appoint se trouve dans un autre vehicule, placez les deux vehicules de maniere à ce que leurs batteries respectives soient à proximé l'une de l'autre.
Veillez toutefois à ce que les vehicules ne se touchent pas.
- Serrez le frein de stationnement. Déplacez le levier sélecteur au point mort (N) (boîte de vitesses manuelle) ou à la position P (boîte de vitesses automatique). Éteignez tous les dispositifs électriques non essentiels (éclairage, chauffage, climatisation, etc.)
- Retirez les bouchons d'aération de la batterie (selon l'équipement du vehicule). Couvrez les orifices ainsi exposés d'un nouveaux chiffon pour réduire les risques d'explosion.
- Connectez les cables volants dans l'ordre indiqué sur l'illustration (A, B, C, puis D).

MISE EN GARDE
Assurez-vous de tousjours brancher la borne positive (+) à la borne positive (+) et la borne négative (-) à un point de masse de la carrosserie (par exemple, à un boulon de fixation de montant ou à un support de levage du moteur) et non pas à la borne négative de la batterie.
Assurez-vous que les câbles volants n'entrent pas en contact avec des pièces mobiles du compartment moteur et que les cosses des câbles ne touchent aucune autre pièce métallique.
- Faites démarrer le moteur du vehicule d'appoint et laïsez-le tourner pendant quelques minutes.
- Maintenez le régime moteur du vehicule d'appoint à environ 2000 tr/min et faites demarrer le moteur du vehicule en panne.

MISE EN GARDE
N'actionnez pas le démarreur pendant plus de 10 secondes. Si le moteur ne démarre pas au premier essai, coupez le contact et attendez de trois à quatre secondes avant de réessayer.
DÉMARRAGE EN POUSSANT
SI LE MOTEUR SURCHAUFFE
- Une fois le moteur en marche, débranchez prudemment le cable négatif, puis le cable positif de la batterie.
- Remettez les bouchons d'aération en place (selon l'équipement du vehicule). Jetez le因为他们 chiffon utilisé pour couvir la batterie puisqu'il peut avoir été contaminé par de l'électrolyte corrosif.
AMISE EN GARDE
- Ne tentez pas de démarrer en poussant un vehicule équipé d'un catalyeur trifonctionnel en le poussant. Vous risquez d'endommager ce dernier.
- Les vehicules équipés d'une boîte de vitesses automatique ne peuvent pas être démarrés en les poussant ou en les tirant. Cela pourrait endommager la boîte de vitesses.
- Ne tentez jamais de démarrer un vehicule à boîte de vitesses manuelle en le remorquant. Le déplacement vers l'avant causé par le démarrage du moteur pourrait provoquer une collision entre votre vehicule et le vehicule de remorquage.
A VERTISSEMENT
- Arrêtez votre vehicule si le moteur surchauffe. En effet, une surchauffe prolongée pourrait endommager le moteur ou y provoquer un incendie.
- Ne retirez jamais le bouchon du radiateur ou du réservoir de liquide de refroidissement de votre vehicule lorsque le moteur est chaud, car vous pourriez vous brûler. En effet, dans une telle situation, du liquide de refroidissement bouillant sous pression peut jaillir et causer de graves blessures.
- N'ouvre pas le capot si de la vapeur s'en échappe.
En cas de surchauffe de votre vehicule (la lecture de l'indicateur de température sera extrémement élevé et le témoin de pression d'huile moteur et de température élevé du liquide de refroidissement s'allumera) ou si vous décelez une perte de puissance du moteur de votre vehicule, des bruits inhabituels, etc., procédez aux étapes suivantes.
- Déplacez votre vehicule en cordure de la route dans un endroit sur, serrez le frein de stationnement et placez le levier sélecteur à la position P.
Ne coupez pas le contact.
- Éteignez le climatiseur. Ouvrez toutes les glaces, déplacez la commande du chauffage ou du climatiseur à la chaleur maximale et la commande du ventilateur à la vitesse maxi-male.
-
Sortez du vehicule. Avant d'ouvrir le capot, vérifie, visuellement et en cherchant à déceler des bruits, si de la vapeur ou du liquide de refroidissement s'échappe du radiateur. (Si de la vapeur ou du liquide de refroidissement s'échappe du radiateur, coupez le moteur.) N'ouvrez pas le capot davantage tant que de la vapeur ou du liquide de refroidissement est visible.
-
Ouvrez le capot.

AVERTISSEMENT
Si de la vapeur ou de l'eau s'échappe du moteur, tenez-vous à l'écart pour éviter tout risque de brûture.
- Procedez à une inspection visuelle des courroies d'entrainment pour vérifier si elles sont endommagées ou desserrées. Assurez-vous également que le ventilateur de refroidissement fonctionne. Il ne doit y avoir aucune fuite d'eau provenant des durites de radiateur et du radiateur. Coupez le contact si vous remarquez une fuite de liquide de refroidissement, l'absence ou le relachement de la courroie de la pompe à eau ou si le ventilateur de refroidissement n'est pas en marche.

AVERTISSEMENT
Faites preuve de prudence lorsque vous vous penchez sur un moteur en marche pour éviter que vos mains, cheveux, bijoux ou vêtements ne soient happés par les courroies ou les pales du ventilateur de refroidissement du moteur. Le ventilateur de refroidissement du moteur peut semettre en marche à n'importe quel moment lorsque la température du liquide de refroidissement est élevé.
- Une fois le moteur refroidi, mais toujours en marche, vérifie le niveau de liquide de refroidissement du réservoir. Au besoin, ajoutez du liquide de refroidissement dans le réservoir. Rendez-vous chez un concessionnaire NiSSAN pour y faire réparer votre vehicule.
REMORQUAGE DE VOTRE VEHICULE
Lors du remorquage de votre vehicule, veillez à ce que toutes les reglementations en vigueur dans la province (ou l'état, aux États-Unis) soient respectées. L'utilisation d'équipement de remorquage inadéquat pourrait endommager votre vehicule. Vous pouvez obtenir des directives relatives au remorquage auprès de votre concessionnaire NISSAN. Généralement, le personnel des services de remorquage locaux connait bien les lois et les procédures relatives au remorquage. NISSAN vous recommende donc de faire appel à un service de remorquage pour vous assurer que le remorquage est effectué adéquatement et pour éviter d'endommager votre vehicule. Il peut se révêler utile de demander au responsable du service de remorquage de dire attentivement les précautions suivantes:

AVENTISSEMENT
- Ne voyagez jamais dans un vehicule qui est remorqué.
- Ne vous glissez jamais sous un vehicule soulevé par une dépanneuse.

MISE EN GARDE
- Au moment du remorquage, assurez-vous que la boite de vitesses, les essieux, la direction et le groupe motopropulseur fonctionnent bien. Si une de ces unités est endommagée, vousdezvez utiliser des chariots de remorquage.
- Installez toujours des chaînes de sécurité avant le remorquage.
Pour obtenir de plus amples renseignements concernant le remorquage de votre vehicule derrière un vehicule récréatif, consultez la section « Remorquage à plat » du chapitre « Données techniques et information au consommateur » du现行 manuel.



ACE1019
MÉTHODES DE REMORQUAGE RECOMMANDÉES PAR NISSAN
Modèles à deux roues motrices
NISSAN recommende de faire remorquer votre vehicule avec les roues motrices arriere soulevées ou sur un camion à plateforme (remorquage intégral), tel qu'illustré.

MISE EN GARDE
- Ne remorquez jamais un vehicule equipope d'une boite de vitesses automatique avec les roues arrirée ou les quatre roues au sol (que le vehicule soit remorqué par l'avant ou par l'arrière), car les dommages à la boite de vitesses qui pouraient en résultat nécessiteraient des réparations courteuses. Si le remorquage du vehicule avec les roues avant soulevées est nécessaire, prenez toujours soin d'installer des chariots de remorquage sous les roues arrirée.
-
Pendant le remorquage d'un vehicule équipé d'une boîte de vitesses automatique ou manuelle dont les roues avant sont au sol ou sur des chariots de remorquage :
-
Tournez la clé de contact à la position OFF et redresse le volant au moyen d'une corde ou d'un accessoire similaire. Ne bloquez jamais le volant en tournant la clé de contact à la position LOCK. Vous risqueriez d'endommager le mecanisme de blocage de la direction.
-
Si vous devez remorquer un vehicule équipé d'une boite de vitesses manuelle avec les roues arrêté au sol (si vous n'utilise pas de chariot de remorquage) ou avec les quatre roues au sol :
-
Desserrez toujours le frein de stationnement.
- Déplacez le levier de la boite de vitesses à la position N.
- Respectez les vitesses et distances de remorquage suivantes (ces consignes s'appliquent aux vehicules équipés d'une boite de vitesses manuelle seulement):
Vitesse : inférieure à 97 km/h (60 mi/h)
Distance : inférieure à 805 km (500 mi)
Si la vitesse ou la distance à parcourir doivent absolument dépasser ces limites, retirez l'arbre de boîte de vittesses avant le remorquage pour ne pas endommager la boîte de vittesses.





WCE0091
Modèles à quatre roues motrices
NISSAN recommende de faire remorquer votre vehicule à l'aide de chariots porte-roues ou sur un camion à plateforme (remorquage intégral), tel qu'illustré.
AMISE EN GARDE
-
Ne remorquez jamais un vehicule equipoé d'une boîte de vitesses automatique avec les roues arrêté ou les quatre roues au sol, car les dommages à la boîte de vitesses qui pourrait en résultat nécessiteraient des réparations couteuses. Si le remorquage du vehicule avec les roues avant soulevées est nécessaire, prenez toujours soin dinstaller des chariots de remorquage sous les roues arrêté.
-
Pendant le remorquage d'un vehicule équipé d'une boîte de vitesses automatique ou manuelle dont les roues avant sont au sol ou sur des chariots de remorquage :
- Tournez le bouton de seLECTION 4WD sur la position 2H.
- Tournez la clé de contact à la position OFF et redresse le volant au moyen d'une corde ou d'un accessoire similaire. Ne bloquez jamais le volant en tournant la clé de contact à la position LOCK. Vous risqueriez d'endommager le mecanisme de blocage de la direction.
- Si vous devez remorquer un vehicule équipé d'une boite de vitesses manuelle avec les roues arrêté au sol (si vous n'utilise pas de chariot de remorquage) ou avec les quatre roues au sol :
- Tournez le bouton de seLECTION 4WD sur la position 2H.
- Déplacez le levier de la boite de vitesse à la position N.
-
Desserrez toujours le frein de stationnement.
-
Respectez les vitesses et distances de remorquage suivantes (ces consignes s'appliquent aux vehicules équipés d'une boîte de vitesses manuelle seulement):
Vitesse : inférieure à 97 km/h (60 mi/h)
Distance : inférieure à 805 km (500 mi)
Si la vitesse ou la distance à parcourir doivent absolument dépasser ces limites, retirez l'arbre de boîte de vitesse avant le remorquage pour ne pas endommager la boîte de vitesse.

DEGAGEMENT D'UN VEHICULE ENLISE
AVERAGEMENT
Lorsque you degagez un vehicule enlise, tenez-vous a I'ecart de ce dernier.
- Ne faites pas patiner vos pneus à vitesse élevée. Ils pourraient exploser et causer de graves blessures. Des pièces de votre vehicule poursraient également surchauffer et être endommagées.
AMISE EN GARDE
- Vous ne pouvez installer des chaînes ou des cables de remorquage que sur les éléments de la structure principale de votre vehicule ou sur les crochets de remorquage (selon l'équipement du vehicule). Sinon, vous risquez d'endommager la carrosserie de votre vehicule.
- Le crochet de remorquage (selon l'équipement du vehicule) doit être utilisé seulement aux fins de dégagement d'un vehicule enlisé dans le sable, la neige, la boue, etc. Il ne doit pas être utilisé seul pour remorquer un vehicule sur une longue distance.
- Une force considérable s'exercice sur le crochet de remorquage lorsque celui-ci est utilisé pour libérer un vehicule en-lisé. Tirez toujours en ligne droite sur le crochet.
-
Tirez toujours les cables de remorquage à partir de l'avant ou de l'arrête du vehicule.
-
Les dispositifs de remorquage doivent être installés de manière à ce qu'ils ne touchent aucune piece de la suspension, de la direction, du circuit de freinage ou du circuit de refroidissement.
L'utilisation de dispositifs de remorquage tels que des cordes ou des sangles en toile est deconseillée pour remorquer ou dégager un vehicule enlise.
Si vous vécicule est enlisé dans le sable, la boue, la neige ou la glace, utiliser la procédure suivante:
- Désactivez le dispositif de contrôle dynamique du vehicule (selon l'équipement du vehicule).
- Assurez-vous que rien ni personne ne se trouve devant ou derrière votre vehicule.
- Tournez le volant de gauche à droite pour dégager la zone entourant les roues avant.
-
Procedez à une manoeuvre de va-et-vient avec votre vehicule.
-
Alternrez entre la position R (marche arrière) et la position D (marche avant).
-
Appuyez sur l'accelerateur juste assez pour maintainir le mouvement de va-et-vient.
-
Relâchéz l'accélérateur avant de passer de la position R à la position D.
-
Ne faites pas patiner les roues à plus de 55 km/h (35 mi/h).
-
Si, après quelques tentatives, vous n'arrivez pas à dégager votre vehicule, faites appel à un service de dépannage professionnel.
7 Aspect et entretien
Nettoyage des surfaces extérieures du vehicule. 7-2
Lavage 7-2
Cirage 7-3
Pour faire disparaitre les taches 7-3
Soubassement 7-3
Vitres 7-3
Roues en alliage d'aluminium 7-3
Pièces chromées 7-3
Lubrifants pour pneus 7-4
Nettoyage des surfaces interieures du vehicule . 7-4
Tapis. 7-5
Ceintures de sécurité 7-5
Protection anticorrosion 7-6
Facteurs les plus courants contribuant à la corrosion d'un vehicule. 7-6
Facteurs environnementaux influencant la corrosion 7-6
Pour protégger votre vehicule contre la corrosion 7-6
NETTOYAGE DES SURFACESEXTÉRIÉURES DU VÉHICULE
Pour conserver l'aspect neuf de votre vehicule, vous doivent en assurer l'entretien de façon appropriée.
Pour protégger les surfaces peintes, veuillez laver.
votre vehicule ds que possible :
- après une averse, pour éviter des dommages potentiels causés par les pluies acides;
- après avoir conduit le long de la mer;
- lorsque des substances comme de la suie, des fuentes d'oiseau, de la sève d'arbre, des particules métalliques ou des insectes se déposent sur les surfaces peintes;
- lorsque de la poussière ou de la boue s'accumulent sur la carrosserie.
Dans la mesure du possible, stationnez votre vehicule dans un garage ou un endroit couvert.
Si le vehicule doit etre stationné à l'extérieur, laissiez-le à l'ombre ou recouvre-les d'une housse pour le protégger.
Prenez soit de ne pas rayer les surfaces peintes en installerant ou en retardant la housse.
LAVAGE
Lavez le vehicule à grande eau avec une éponge humide. Lavez le vehicule soigneusement avec une solution d'eau propre et tiège (ja mais chaude) et de savon doux, de savon spécial pour automobile ou de détergent liquide pour la vaisse à usage domestique.
AMISE EN GARDE
- Ne désisissez pas un lave-auto qui utilise un détergent contenant de l'acide. Certains lave-autos, surtout ceux qui sont dépourvus de brosses (sans contact), utilisent un détergent contenant de l'acide. Les acides peuvent réagir au contact de certains composants en plastique du vehicule et provoquer des fissures. Ces fissures peuvent alterer l'aspect des composants et entraver leur fonctionnement. Demandez plusieurs au responsable du lave-auto si un détergent contenant de l'acide est utilisé.
-
Ne lavez pas votre vehicule avec des produits d'entretien menager puisants, des détergents chimiques forts, de l'essence ou des solvants.
-
Ne lavez pas votre vehicule en plein soleil ou lorsque la carrosserie est chaude, car en sechant, l'eau pourrait en tacher la surface.
- Évitez d'utiliser des chiffons doux ou rugueux, tels que les gants de lavage. Enlevez avec soin les plaques de boue ou autres corps étrangers pour éviter de rayer ou d'abimer les surfaces peintes du vehicule.
Rincez abondament le vehicule avec de l'eau propre.
Le sel d'épandage affecte particulièrement les rebords interieurs, les joints et les replis des portières, les charnières et le capot. Par conséquent, ces endroits doivent être lavés régulierèment. Assurez-vous que les orifices d'écoulement du bord inférieur des portières ne sont pas obstrués. Lavez au jet d'eau le dessous de la carrosserie et les passages de roue pour détacher les accumulations de boue et éliminer toute trace de sel d'épandage.
Une peu de chamois humide peut etre utilise pour essuyer la carrosserie et eviter la formation de taches d'eau.
CIRAGE
Un cirage régulier protège les surfaces peintes et conserve l'aspect neuf du vehicule. Avant de réappliquer une cire, il est recommendé de polir les surfaces afin d'éliminer toute accumulation résiduelle de cire et pour donner un aspect lustré à la carrosserie.
Un concessionnaire NISSAN peut vous aider à désirer le produit approprié.
- Ne cirez votre vehicule qu'après l'avoir bien lavé. Suivez les directives fournies sur le contenant de dire.
- N'utilise pas de cire contenant des substances et composés abrasifs ou des agents nettoyants qui risquent d'endommager le fini de votre vehicule.
Un polissage à la machine ou un polissage trop prolongé sur un fini de peinture transparent peut ternir le fini ou y laisser des marques spiralées.
POUR FAIRE DISPARAÎTRE LES TACHES
Les taches de goudron et d'huile, la poussière industrielle, les insectes et la sève d'arbre peuvent provoquer des dommages irréversibles sur les surfaces peintes ou y laisser des traces indélébiles. Veiliez à les nettoyerès que possible. Des produits de nettoyage spéciaux sont dispos
nibles chez votre concessionnaire NISSAN ou dans tout magasin d'accessoires automobiles.
SOUBASSEMENT
Dans les régions où du sel d'épandage est utilisé pendant l'hiver, il est nécessaire de laver le sou-bassement régulierement. Les accumulations de saletés et de sel qui s'y forment peuvent cause sa corrosion ainsi que celle de la suspension. Avant le début de l'hiver et au printemps, vérifie la couche de protection inférieure et, s'il y a lieu, appliquez-en de nouveau.
VITRES
Utilisez du nettoie-vitres pour enlever la pellicule de saleté et de poussière qui s'est formée sur les vitres. Il est normal qu'une pellicule se forme lorsque le vehicule est stationné directement au soleil. L'utilisation de nettoie-vitres avec un chiffon doux éliminera rapidement cette pellicule.

MISE EN GARDE
N'utilisze jamais d'outils acérés, de nettoyants abrasifs ou de désinfectants à base de chlore pour nettoyer la paroi interieure des glaces. Ils pourraient endomager les conducteurs électriques, les éléments de l'antenne radio ou ceux du dégivreur de lunette arrière.
ROUES EN ALLIAGE D'ALUMINIUM
Lavez les roues régulierement à l'aide d'une éponge humectée dans une solution de savon doux, particulièrement en hiver, si vous habitez dans une région où du sel d'epandage est utilisé. Les dépôts de sel d'épandage peuvent décolérer les roues si vous ne les enlevez pas.

MISE EN GARDE
Respectez les consignes suivantes pour éviter de tacher ou de décolorer les roues :
- Ne nettoyez pas les roues avec un produit de nettoyage à base d'acide fort ou d'alcali.
- N'appliquez pas de produit nettoyant sur les roues lorsqu'elles sont chaudes. Les roues doivent etre à la température ambiente.
- Rincez les roues à fond pour éliminer le produit nettoyant dans les 15 minutes suivant son application.
PIÉCES CHROMÉES
Nettoyez régulierement toutes les pieces chromées avec un produit à polir pour chrome non abrasif pour préserver leur fini lustré.
NETTOYAGE DES SURFACES INTÉRIÉURES DU VÉHICULE
LUBRIFIANTS POUR PNEUS
NISSAN ne vous recommende pas d'utiliser des lubrifiants pour pneus. Les fabricants de pneus appliquent un enduit sur les pneus qui permet de réduire la décoloration du caoutchouc. Au cas où les pneus sont lubriés, le lubrifant pourrait réagir avec l'enduit et former un composé chimique. Ce composé pourrait se décoller des pneus en cours de route et tacher le vehicule.
Si vous decide de lubrifier les pneus, prenez les précautions suivantes :
- Utilisez un lubrifiant pour pneus à base d'eau. L'endetuit des pneus se dissout plus facilement au contact d'un lubrifiant pour pneus à base d'eau.
- Appliquez une légere couche de lubrifiant pour pneus de façon à l'empêcher de pénétr dans la bande de roulement et les rainures des pneus (ou il serait difficile à enlever).
- Essuyez l'excess de lubrifiant à l'aide d'une serviette sèche. Assurez-vous d'enlever complètement le lubrifant de la bande de roulement et des rainures des pneus.
- Laissez le lubrifiant sécher tel qu'indiqué par son fabricant.
Utilisez occasionnellement un aspirateur ou une brosse à soies douces pour dépoussierer les garnitures interieures, les pieces en plastique et les sièges. Essuyez les surfaces en vinyle et en cuir avec un chiffon propre et préalablement humecté dans une solution de savon doux, puis essuyez-les avec un linge sec.
Un entretien et un nettoyage réguliers préservent l'apparence du cuir.
Avant d'utiliser unquelconque produit protecteur pour tissus, lisez les recommendations du fabricant. Certains protecteurs pour tissus contiennent des produits chimiques qui peuvent tacher ou decolorer le tissu des sièges.
Utilisez un chiffon humecté uniquement d'eau pour nettoyer le verre de protection de la jauge et des indicateurs de bord.

MISE EN GARDE
-
N'utilisez jamais de benzène, de solvant ni aucun produit semblable.
-
Les petites particules de saleté peuvent être abrasives et endommager les surfaces en cuir. Elles doivent donc être retireesrapidement.N'utilisez pas de savon pour le cuir, de dire pour automobile, de produit à polir, d'huile, de nettoyant liquide, de solvant, de détergent ou de nettoyant à base d'ammoniaque, car ils peuvent endommager le fini naturel du cuir.
- N'utilisez jamais de produits destinés à protégger les tissus, à moins que leur utilisation ne soit recommandée par le fabricant.
- N'utilisez pas de produits nettoyants pour le verre ou le plastique sur le verre protecteur des indicateurs et instruments de bord. Ces produits pouraient endommager le verre protecteur.
TAPIS
L'utilisation de tapis d'origine NISSAN peut contributor à dévelopir la moquette de votre vehicule en bon état et à facilititer le nettoyage de l'habitacle. Quel que soit le type de tapis utilisé, assurez-vous que ceux-ci sont adaptés à votre vehicule et qu'ils sont correctement placés pour éviter qu'ils ne génent le fonctionnement des pédales. Les tapis doivent être nettoyés régulièrement et remplacés en cas d'utilité excessive.

WA10006
Crocket de positionnement de tapis (côté conducteur uniquement)
Ce vehicule est equipoé d'un crochet de fixation avant qui sert à placer le tapis. Les tapis NISSAN ont été spécialement conçus pour votre modèle de vehicule. Le tapis du côte conducteur est muni d'un trou d'eellet. Installez le tapis en insérant le crochet de fixation dans le trou de l'eellet correspondant et en le centrant dans l'espace pour les jambes, sur le plancher du vehicule.
Vérifiéz régulièrement les tapis pour vous assurer qu'ils sont bien placés.
CEINTURES DE SÉCURITÉ
Les ceintures de sécurité peuvent être nettoyées en les essuyant avec une éponge préalablement humectée dans une solution de savon doux. Laissez les ceintures de sécurité secher complètement à l'objet avant de les utiliser. Consultez la section « Entretien des ceintures de sécurité » du chapitre « Sécurité - Sièges, ceintures de sécurité et dispositifs de protection complémentaires » duprésent manuel.

AVERTISSEMENT
Ne laïsez pas les ceintures de sécurité se rétractor dans l'enrouleur si elles sont mouillées. N'applique JAMAIS d'agent de blanchiment, de teinture ou de solvant chimique en guise de nettoyant sur les ceintures de sécurité puisque ces produits pouraient affaibir considérablement les sangles.
PROTECTION ANTICORROSION
FACTEURS LES PLUS COURANTS CONTRIBUANTÀ LA CORROSION D'UN VEHICULE
- Accumulation de boue et de débris humides sur des sections des panneaux de la carrosserie, dans des cavités ainsi qu'à d'autres endroits du vehicule.
- Dommages à la peinture et aux autres enduits protecteurs causés par du gravier et des éclats de caillou ou des dommages consécutifs à des accrochages mineurs.
FACTEURS ENVIRONNEMENTAUX INFLUENÇANT LA CORROSION
Humidité
L'accumulation de sable, de boue et d'eau sur le soubassement du vehicule peut accelerer le processus de corrosion. Les revêtements de plancher humides ne secheront pas complètement s'ils sont laissés dans le vehicule. Ils doivent donc être retirés pour facilitier leur séchage et éviter la formation de corrosion sur le plancher.
Humidité relative
La corrosion est accélérée dans les régions ou l'humidité relative est élevée, surtout lorsque la température demeure au-dessus du point de
congélation, en présence de pollution atmosphérique et où du sel d'épandage est utilisé.
Température
Les températures élevées accélèrent la corrosion des pieces qui ne sont pas bien aérées.
Pollution atmosphérique
La pollution industrielle, la presence de sel dans l'air dans des régions côtières et l'utilisation massive de sel d'épandage accéléré le processus de corrosion. Le sel d'épandage accélère aussi la désagrogation des surfaces peintes.
POUR PROTEGER VOTRE VÉHICULE CONTRE LA CORROSION
- Lavez et cirez fréquement votre vehicule pour le garder propre.
- Examine tous le vehicule pour déceler tout dommage mineur à la peinture et effectuez les réparations nécessaires des que possible.
-
Évitez toute accumulation d'eau dans les portières en vous assurant que les trous d'écoulement du bord inférieur des portières ne sont pas obstrués.
-
Vérifiez le soubassement du vehicule pour y déceler toute accumulation de sable, de boue ou de sel. Le cas échéant, lavez-le à l'eau dés que possible.
AMISE EN GARDE
- Ne vous servez JAMAIS d'un boyau d'arrosage pour enlever la poussière, le sable ou d'autres résidus de l'habitacle. Utilisez plutôt un aspirateur ou un balai.
- Ne laïsez pas les composants électroniques situés à l'intérieur du vehicule entre en contact avec de l'eau ou autres liquides risquant de les endommager.
Les produits chimiques utilisés pour déglacer les routes sont extrémement corrosifs. Ils accélèrent la corrosion et la détérioration des composants du soubassement, comme le système d'échévement, les canalisations de carburant et de frein, les cables de frein, le plancher et les ailes.
En hiver, le soubassement doit etre laveregulierement.
Dans certaines régions, une protection additionnelle contre la rouille et la corrosion peut se révêler nécessaire. Consultez un concessionnaire NiSSAN pour obtenir plus d'information à ce sujet.
8 Entretien et interventions du propriétaire
Exigences d'entretien 8-2
Entretien general 8-3
Explication des points d'intervention relatifs à l'entretien général 8-3
Précautions d'entretien. 8-5
Points de vérification dans le compartmentement moteur . . . 8-7
Circuit de refroidissement du moteur 8-9
Vérification du niveau de liquide de refroidissement. 8-9
Vidange du liquide de refroidissement 8-10
Huile moteur 8-11
Vérification du niveau d'huile moteur 8-11
Vidange d'huile moteur 8-12
Remplacement du filtré à huile 8-13
Huile pour boite de vitesses automatique à cinq rapport. 8-14
Liquide de direction assistee. 8-14
Liquide de frein et d'embrayage. 8-15
Liquide de frein. 8-15
Liquide d'embrayage. 8-16
Liquide lave-glace 8-16
Réservoir de liquide lave-glace 8-16
Batterie 8-17
Demarrage-secours. 8-18
Dispositif de commande à variation de tension 8-19
Courroies d'entrainment 8-19
Bougies d'allumage 8-20
Remplacement des bouygues d'allumage 8-20
Filtre a air. 8-21 Microfiltre de l'habitacle. 8-22
Balais d'essuie-glace 8-23
Nettoyage 8-23
Remplacement 8-24
Freins 8-25
Fusibles 8-25
Compartment moteur 8-26
Habitacle 8-27
Remplacement de la pile de la télécommande 8-29
Éclairage 8-30
Phares 8-30
Éclairage extérieur et interieur 8-32
Roues et pneus 8-35
Pression des pneus. 8-35
Marquage des pneus 8-39
Types de pneus 8-42
Chaines antidérapantes 8-43
Remplacement des roues et des pneus 8-44
EXIGENCES D'ENTRETIEN
Gráce à sa conception, votre nouveau vehicule NISSAN ne requiert qu'un entretien minimal à des intervalles éloignés, ce qui vous permet de gagner du temps et d'économiser de l'argent. Toutefois, certaines vérifications au jour le jour et régulières sont nécessaires pourmaintenir vosere vehicule NISSAN en bon état mécanique et assurer un rendement optimal du dispositif antipollution.
Vouaves la responsabilité,à titre de propriete du vehicule,de youss assurer que I'entretien genereal et I'entretien periodique de voirc vehicule sont effectués.
En tant que propriétaire, vous étés la seule personne en mesure de vous assurer qu'un entretien approprié de votre vehicule est effectué. Vous jouez donc un role crucial dans le processus d'entretien.
Entretien periodique
Vous trouvrez une liste pratique des points d'intervention facultatifs et obligatoires ainsi qu'une description de l'opération d'entretien correspondante dans votre exemplaire du « Guide d'entretien et de réparation NISSAN ». Vous doivent consulter ce guide pour vous assurer que les vérifications nécessaires au bon fonctionnement de votre vehicule NISSAN sont effectuees à intervenles réguliers.
Entretiengénéral
L'entretien général comprend les points d'intervention relatifs à l'entretien quotidien. Il sont essentiels au bon fonctionnement du vehicule. Vous doivent effectuer ces opérations d'entretien régulierement, tel que prescrit.
Des connaissances sommaires en mécanique et l'utilisation de quelques outils de mécanique automobile suffisent pour effectuer les vérifications d'entretien général.
Vouss pouvez effectuer ces vérifications ou inspections vous-même, consulter un technician qualifié ou vous rendre chez un concessionnaire NISSAN.
Où aller lorsque des réparations sont nécessaires
Si vous vécuile requiert un entretien ou s'il fonctionne mal, rendez-vous chez un concessionnaire NiSSAN qui procédera à une vérification et à une mise au point des systèmes et dispositifs de votre vehicule.
Les techniciens NISSAN sont des spécialistes qui recoivent une formation solide. Ils bénéficient en outre d'une formation continue au moyen de bulletins techniques, de conseils et de programmes de perfectionnement offerts par les concessionnaires. Ils sont pleinement formés pour pro
céder à des interventions sur les vehicules NISSAN avant d'effectuer ces interventions et non après.
Le service après-vente des concessionnaires NISSAN accomplit le meilleur travail possible pour satisfaire aux exigences d'entretien de votre vehicule - economiement et en toute fiabilité.
8-2 Entretien et interventions du propriétaire
ENTRETIERGENÉRAL
Tel que prescrit dans ce chapitre, un entretien général de votre vehicule doit etre effectue reguIerlement lorsque vous l'utilise normalement. Si vous decelez des odeurs, des vibrations ou des bruits inhabituels, recherchez la source du probleme ou rendez-vous chez un concessionnaire NISSAN pour y faire vérifier yours vehicule dans les plus brefs delais.De plus, si vous croyez que suaive vehicule doit faire I'objet d'une réparation, assurez-vous d'en aviser le personnel d'un concessionnaire NISSAN.
Conformez-vous aux « Précautions d'entretien » dans ce chapitre lorsque vous doivent effectuer des vérifications ou des interventions sur votre vehicule.
EXPLICATION DES POINTS D'INTERVENTION RELATIFS À L'ENTRETIEN GÉNÉRAL
Des détails supplémentaires sur les points d'intervention marqués d'un astérisque sont fournis plus loin dans ce chapitre.
À l'extérieur du vehicule
Les points d'intervention numérés ici doivent être vérifiés de temps à autre, à moins d'indication contraire.
Portières et capot Assurez-vous qu'ils fonctionnent bien. Assurez-vous également que tou
tes les serrures se verrouillent correctement. Lubrifiez les channières, les verrous, les goupilles de verrouillage, les rouleaux et les biellettes au besoin. Assurez-vous que le loquet secondaire maintain le capot fermé lorsque le loquet principal est dégagé.
Vérifiez féquèmment la lubrification de ces éléments si vous conduisez sur des routes sur lesquelles du sel et d'autres matières corrosives ont été repandus.
Phares* Nettoyez les phares régulierement. Assurez-vous que les phares, deux d'arrêt, deux arrrière, clignotants et autres deux feu fonctionnent correctement et qu'ils sont fixés solidement. Verifiéz également le réglage des phares.
Écrous de roue* Assurez-vous que tous les écrous sont en place et qu'ils sont bien serrés au moment de la verification des pneus. Serrez-les au besoin.
Permutation des pneus* Une permutation des pneus doit être effectue tous les 12 000 km (7 500 mi).
Pneus* Vérifiez souvent la pression de gonflage des pneus de votre vehicule au moyen d'un manometre et vérifiez-la toujours avant tout long trajet. Au besoin, reglez la pression des pneus, y compris celle de la roue de secours, au niveau
spécífie. Vérifiez les pneus avec soin pour y dé-celer toute trace de dommages, de coupures ou d'usure excessive.
Réglage de la géométrie et équilibrage des roues Si vous avez l'impression que votre vehicule tire d'un côté lorsque vous conduisez sur une route droite et sans relief, ou si vous notez une usure inégale ou excessive des pneus de votre vehicule, un réglage de la géométrie des roues peut se révêler nécessaire. Si vous sentez des vibrations au niveau du volant ou du siège de votre vehicule lorsque vous conduisez à vitesse normale sur l'autoroute, un équilibrage des roues peut se révêler nécessaire.
- Consultez la section « Renseignements importants concernant la sécurité des pneus (É.-U.) » ou « Renseignements concernant la sécurité des pneus (Canada) » du Livret de renseignements sur la garantie pour plus d'information.
Pare-brise Le pare-brise doit être nettoyé régulierement. Vérifiez au moins tous les six mois s'il y a des fissures ou d'autres dommages. Si le pare-brise est endommagé, faites-le réparer dans un atelier de réparation qualifié.
Balais d'essuie-glace de pare-brise* Si vous constatiez que les balais d'essuie-glace fonctionnement mal, vérifie s'ils sont fissures ou usés.
A l'intérieur du vehicule
Les points d'intervention enumerated ci-après doivent faire l'objet de vérifications régulières, par exemple, au moment des opérations d'entretien périodique, du nettoyage du vehicule, etc.
Des détails supplémentaires sur les points d'intervention marqués d'un astérisque sont fournis plus loin dans ce chapitre.
Pédale d'accélérateur Assurez-vous que la pedale d'accélérateur s'enforce en douceur, librement et sans effort. Gardez le tapis loin de la pedale.
Position P de la boîte de vitesses automatique Dans une pente assez prononçée, assurez-vous que le vehicule reste immobilisé, sans que vous ayez besoin de serrer les freins, lorsque le levier sélecteur est à la position P.
Pédale de frein* Vérifiez si le fonctionnement de la pedale est régulier et maintenez le tapis à l'écart de la pedale.
Freins Assurez-vous que le vehicule ne derives pas lorsque les freins sont serrés.
Frein de stationnement Assurez-vous que vous vechicule est solidement maintenu en place sur une pente assez abrupte en ne serrant que le frein de stationnement.
Sièges Vérifiez les commandes de position des sièges, comme les dispositifs de réglage des sièges et d'inclinaison des dossiers, etc., pour vous assurer qu'ils fonctionnent bien et qu'ils se verrouillent correctement dans toutes les positions. Assurez-vous que les appuie-tête se déplacent librement vers le haut et vers le bas et qu'ils sebloquentcorrectement (selon l'équipment du vehicule) dans toutes les positions de verrouillage.
Ceintures de sécurité Assurez-vous que toutes les pieces des ceintures de sécurité (p. ex., les boucles, les ancrages, les regleurs et les enrouleurs) fonctionnement correctement et librement et qu'elles sont bien installées. Verifiez les sangles des ceintures de sécurité pour vous assurer qu'elles ne sont pas coupées, effiloches, usées ou endommagées.
Volant Prenez note de tout changement dans le fonctionnement de la direction, par exemple, une course libre excessive du volant, une direction rigide ou des bruits inusités.
Témoins et carillons Assurez-vous que tous les témoins et carillons fonctionnent bien.
Essuie-glaces et lave-glace de pare-brise* Assurez-vous que les essuie-glaces et le laveglace fonctionnent bien et que les essuie-glaces ne laissent pas de traces sur le pare-brise.
Dégivreur de pare-brise Assurez-vous que l'air circule librement par les bouches de dégiavage et que le débit d'air est ajustat lorsque le chauffage ou la climatisation est en fonction.
Sous le capot et sous le vehicule
Les points d'intervention enumerated ci-après doivent être vérifiés régulierement (p. ex., chaque fois que vous vérifie l'huile moteur ou que vous faites le plein de carburant).
Batterie* Vérifiez le niveau d'électrolyte dans chacun des éléments de la batterie. Il doit serouver entre les repères MAX et MIN.Vérifiez fréquement le niveau d'électrolyte de la batterie si vous conduisez votre vehicule par temps trèschaud ou dans des conditions difficiles.
Niveau de liquide de frein* Assurez-vous que le niveau de liquide de frein se trouve entre les repères MIN et MAX du réservoir.
Niveau de liquide de refroidissement* Attendez que le moteur soit froid pour vérifier le niveau de liquide de refroidissement.
Courroies d'entrainment du moteur* Assurez-vous que les courroies d'entrainment du moteur ne sont pas éraillées, usées, fendillées ou huileuses.
Niveau d'huile moteur* Vérifiez le niveau d'huile moteur lorsque votre vehicule est immo
8-4 Entretien et interventions du propriétaire
PRECAUTIONS D'ENTRETIEN
bilisé sur une surface plane et que le moteur est à l'arrêt. Attendez que l'huile se dépose dans le carter d'huile (plus de 10 minutes).
Système d'échéappement Assurez-vous que les supports du système d'échéappement ne sont pas desserrés et que le système n'est pas fissured ou perforé. Si le système d'échéappement de votre vehicule émet un son inhabituel ou dégage une odeur de gaz d'échéappement, rendez-vous immédiatement chez un concessionnaire NISSAN pour le faire vérifier. Consultez l'ajretissement relatif au monoxyde de carbone dans le chapitre « Démarrage et conduite » duprésent manuel.
Fuites de liquide Immobilisez votre vehicule et, après un certain temps, vérifie la présence de fuites de carburant, d'huile, d'eau ou d'autres liquides. Il est normal que de l'eau s'égoutte du climatiseur après son utilisation. Si vous décelez des fuites ou des vapeurs d'essence, recherche la source du problème et faites réparer votre vehicule immédiatement.
Niveau de liquide de direction assistée* et canalisations Coupez le contact et attendez que le liquide de direction assistée refroidisse avant d'en vérifier le niveau. Assurez-vous que les canalisations sont bien raccordées et qu'elles sont exemples de fuites, de fissures, etc.
Radiateur et durites Verifiez l'avant du radiateur et retirez-en la saleté, les insectes, les feuilles, etc., qui s'y sont accumulés. Assurez-vous que les durites du radiateur ne sont pas fissureres, déformées, pourries ou desserrées.
Soubasement Le soubasement de votre vehicule entre fréquemment en contact avec des substances corrosives comme celles qui sont répandues sur une chaussée glacée ou utilisées pour contrôler la poussière. Il est très important de-retirer ces substances du soubasement. Si non, le plancher, le chassis, les canalisations de carburant et le système d'échéappement pourraient rouiller. À la fin de l'hiver, rincez le soubasement soigneusement avec de l'eau pour décoller les plaques de boue et de saleté accumulées. Consultez le chapitre « Aspect et entretien » du present manuel.
Liquide lave-glace de pare-brise* Assurez-vous qu'il y a suffisamment de liquide lave-glace dans le réservoir.
Faites toujours preuve de prudence lorsque vous procédez à une inspection ou à un entretien de votre vehicule afin d'éviter de subir de graves blessures ou d'endommager votre vehicule. Les précautions générales suivantes doivent être respectées à la lecture.
AVERAGEMENT
- Stationnez le vehicule sur une surface plane, serrez le frein de stationnement et bloquez les roues pour empêcher le vehicule de se déplacer. Déplacez le levier sélecteur à la position P.
Assurez-vous que la clé de contact est à la position OFF ou LOCK avant de procédé à tout remplacement ou à toute réparation de pieces. - Ne laïsez jamais le moteur ou les faisceaux des composants associés à la boîte de vitesses automatique débranchés lorsque le contacteur d'allumage est tourné à la position ON.
-
Ne branchez ou ne débranchez jamais la batterie ni aucun autre composant transistorisé lorsque le contacteur d'allumage est à la position ON.
-
Voiture vehicule est équipé d'un ventilateur automatique de refroidissement du moteur qui peut s'activer à n'importe quel moment sans averissement, même si la clé de contact est à la position d'arrêt et si le moteur ne tourne pas. Pour éviter des blessures, débranchez toujours le cable négatif de la batterie avant d'effectuer une intervention pres du ventilateur.
- Si vous nevez travailler sur un moteur en marche, n'approche pas vos mains, vos vêtements, vos cheveux ni vos outils des ventilateursurs, courroies et autres pièces mobiles.
- Il est recommendé d'enlever ou de fixer en place tout vêtement ample avant de travailler sur votre vehicule. Retirez aussi votre montre, vos bagues et vos autres bijoux.
- Lorsque vous travailliez sur votre vehicule, portez toujours des lunettes de protection.
-
Si vous doivent fournir le moteur dans un espace clos, comme un garage, assurez-vous que l'endetroit est correctement aéré et que les gaz d'échéppement peuvent s'évacuer.
-
Ne vous glissez jamais sous un vehicule si ce dernier n'est soutenu que par un cric. Si une intervention sous le vehicule est nécessaire, utilisez des trêaux pour le soutenir.
- Tenez loin du réservoir de carburant et de la batterie les cigarettes ou cigares allumés, de même que toute flamme ou source d'étincelles.
- Sur les modèles munis d'un moteur à essence à système d'injectionlectronique multipoint, l'entretien du filtré et des canalisations de carburant doit être effectué par un concessionnaire NIS-SAN,car la pression dans ces canalisations est très élevée,meme lorsque le moteur est à l'arrêt.
AMISE EN GARDE
-
Ne procédez à aucune intervention sous le capot lorsque le moteur est chaud. Arrêtez le moteur et attendez qu'il refroidisse.
-
Evitez tout contact avec de l'huile moteur ou du liquide de refroidissement usés. La mise au rebut inadéquate d'huile moteur, de liquide de refroidissement du moteur ou de tout autre liquide utilisé dans un vehicule peut nuire à l'environnement. Respectez toujours la réglementation locale en ce qui concerne la mise au rebut de liquides utilisés dans un vehicule.
Le present chapitre fournit des directives relatives aux interventions qui peuvent etre aisement effectuees par le propriete.
Voupeuz également vous procurer un Manuel de réparation NiSSAN. Consultez la section « Pour commander le Manuel du conducteur ou le Manuel de réparation » du chapitre « Données techniques et information au consommateur » de ce manuel.
N'oubliez pas que des interventions incomplètes ou inadéquates peuvent engendrer des problèmes de fonctionnement ou des émissions d'échéancement excessives et comprometter la couverture de garantie de votre vehicule. Dans le doute, rendez-vous chez un concessionnaire NISSAN pour y faire réparer votre vehicule.
POINTS DE VÉRIFICATION DANS LE COMPARTIMENT MOTEUR

WDI0506
Moteur QR25DE
- Réservoir de liquide lave-glace de pare-brise
- Boite de fusibles et fils-fusibles
- Filtre à air
- Bouchon de replissage d'huile moteur
- Jauge d'huile moteur
- Réservoir de liquide de frein et réservoir de liquide d'embrayage (modèle à boite de vitesses manuelle)
- Emplacement de la courroie d'entrainment
- Bouchon du radiateur
- Réservoir de liquide de direction assistée
- Batterie
- Réservoir du liquide de refroidissement
NOTA :
Le capot a eté soulevé pour permettre uneDMAEUEIDNIE identification visuelle des pièces.

Moteur VQ40DE
- Réservoir de liquide lave-glace de pare-brise
- Batterie
- Boitier de fusibles, fils-fusibles
- Bouchon de replissage d'huile moteur
- Jauge d'huile moteur
- Réservoir de liquide de frein
- Filtre à air
- Emplacement de la courroie d'entrainment
- Bouchon du radiateur
- Réservoir de liquide de direction assistée
- Réservoir du liquide de refroidissement
NOTA :
Le capot a eté soulevé pour permettre une miseilleure identificaiton visuelle des pièces.
CIRCUIT DE REFROIDISSEMENT DU MOTEUR
Le circuit de refroidissement du moteur a eté rempli à l'usine d'antigel longue durée toutes saisons NISSAN d'origine assurant la protection du circuit de refroidissement. La solution d'antigel contient des inhibiteurs de rouille et de corrosion. Il n'est pas nécessaire d'ajouter d'additifs dans le circuit de refroidissement.

AVERTISSEMENT
- Ne retirez jamais le bouchon du radiateur ou du réservoir de liquide de refroidissement lorsque le moteur est chaud. Attendez que le moteur et le radiateur refroid issent. Du liquide de refroidissement bouillant à haute pression pourrait s'échapper du radiateur et provoquer des brûlures graves. Prenez connaissance des précautions à prendre dans la section « En cas de surchauffe » du chapitre « En cas d'urgence » duprésent manuel.
- Le radiateur est muni d'un bouchon taré. Pour éviter d'endommager le moteur, utilisez uniquement un bouchon de radiateur d'origine NiSSAN.

MISE EN GARDE
Lorsque you remplacez l'antigel ou que vous en ajoutez, assurez-vous d'utiliser l'antigel d'origine NiSSAN longue durée (de couleur verte) ou un antigel équivalent à 50% d'antigel et 50% d'eau déminéralise ou distilled. L'utilisation de solutions antigel d'autres types ou couleurs, comme l'antigel orange, peut endommager le circuit de refroidissement du moteur de voitre vehicule.
| Température extérieure jusqu'à | Antigel longue durée NISSAN d'origine ou l'équivalent | Eau démi-néralisée ou distillée | |
| °C | °F | ||
| -35 | -30 | 50 % | 50 % |

Type A
VÉRIFICATION DU NIVEAU DE LIQUIDE DE REFROIDISSEMENT
Attendez que le moteur soit froid pour vérifier le niveau de liquide de refroidissement dans le réservoir. Si le niveau est inférieur au repère MIN, ajoutez du liquide jusqu'à ce qu'il attaigne le repère MAX. Si le réservoir est vide, attendez que le moteur soit froid et vérifie le niveau de liquide de refroidissement dans le radiateur. Si la quantité de liquide de refroidissement dans le radiateur est insuffisante, replisssez ce dernier jusqu'à l'orifice de replissage et ajoutez également du liquide dans le réservoir jusqu'à repère MAX.

Type B
Le réservoir de liquide de refroidissement est sous pression. Lors de l'installation du bouchon, serrez-le jusqu'à ce qu'un déclic se fasse entendre.
Faites vérifier le circuit de refroidissement de votre vehicule chez un concessionnaire NISSAN si vous nevez y ajouter fréquement du liquide de refroidissement.
VIDANGE DU LIQUIDE DE REFROIDISSEMENT
Vous pouvez faire appel à un concessionnaire NISSAN pour procéder à la vidange du liquide de refroidissement du moteur de votre vehicule. Cette procédure d'entretien est décrite dans le Manuel de réparation NISSAN.
Des procédures d'entretien inadéquates peuvent compromètre le rendissement du dispositif de chauffage et entrainer une surchauffe du moteur.

AVERTISSEMENT
- Ne remplacez jamais le liquide de refroidissement de votre vehicule lorsque le moteur est chaud, car vous pourriez vous brûler.
-
Ne retirez jamais le bouchon du radiateur ou du réservoir de liquide de refroidissement lorsque le moteur est chaud. Du liquide de refroidissement bouillant à haute pression pourrait s'échapper du radiateur et provoquer des brûlures graves.
-
Évitez tout contact direct du liquide de refroidissement usé sur la peau. Le cas échéant, lavez soigneusement la zone affectée avec du savon ou avec un détextent pour les mains aussitôt que possible.
- Gardez le liquide de refroidissement hors de la portée des enfants et des animaux.
Le liquide de refroidissement doit être mis au rebut de façon ajusté. Consultez les règlements en vigueur dans votre localité.

Type A
VERIFICATION DU NIVEAU D'HUILMOTEUR
- Stationnez votre vehicule sur une surface plane et serrez le frein de stationnement.
- Demarrez le moteur et laissez-le tournier au ralenti jusqu'à ce qu'ilatteigne sa température de fonctionnement.
- Coupe le contact. Attendez que l'huile se dépose dans le carter d'huile (plus de 10 minutes).
- Retirez la jauge et essuyez-la. Insérez-la ensuite dans son tube jusqu'au fond.

Type B
- Retirez-la de nouveau et vérifie le niveau d'huile. Celui-ci doit se couver entre les repères H (elevé) et L (bas) B. Il s'agit du niveau d'huile normal. Si le niveau d'huile est sous le repère L (bas), retirez le bouchon de replissage d'huile et versez de l'huile dans l'orifice A. Ne replissez pas le réservoir au-delà de sa capacité C.
- Vérifiez de nouveau le niveau d'huile au moyen de la jauge.

L'ajout d'huile entre les opérations d'entretien périodique ou pendant la période de rodage est normal si vous conduissez votre vehicule dans des conditions difficiles.

MISE EN GARDE
Le niveau d'huile doit être vérifié périodiquement. Le fait de laisser le moteur tourner lorsque la quantité d'huile est insuffisante peut entrainer des dommages au moteur qui ne seraient pas couverts par la garantie.

VQ40DE
VIDANGE D'HUILMEOTEUR
- Stationnez votre vehicule sur une surface plane et serrez le frein de stationnement.
- Demarrez le moteur et laissez-le tournier au ralenti jusqu'à ce qu'ilatteigne sa tempéra-ture de fonctionnement, puis foupez le contact.
- Tournez le bouchon de replissage d'huile A dans le sens contraire des aiguilles d'une montre pour le retarder.
- Déposez un grand bac de vidange sous le bouchon de vidange.

QR25DE
- Retirez le bouchon de vidange (B) à l'aide d'une clé en le tournant dans le sens contraire des aiguilles d'une montre et vidangez complètement l'huile.
Si le filtré à huile doit être changé, retirez-le et remplacez-le maintainant. Consultez la section « Remplacement du filtré à huile » plus loin dans ce chapitre.

AVENTISSEMENT
-
Des contacts prolongés et répétés avec de l'huile moteur usagée peuvent entraîner le cancer de laipeau.
-
Évitez tout contact direct de la peau avec de l'huile usageé. Le cas échéant, lavez soigneusement la zone affectée avec du savon ou avec un détergent pour les mains aussitôt que possible.
- Gardez l'huile moteur usagée hors de la portée des enfants.

MISE EN GARDE
Prenoz soit de ne pas vous brûler, car l'huile moteur peut être très chaude.
L'huile usagée doit être mise au rebut de façon ajuste.
- Consultez les règlements en vigueur dans votre localité.
6. Nettoyez et réinstallé le bouchon de vidange ainsi qu'une nouvelle rondelle. Au moyen d'une clé, vissez fermement le bouchon de vidange. N'utilise pas une force excessive.
Couple de serrage du bouchon de vidange: de 22 à 29 lb-pi (de 29 à 39 N·m)
- Ajoutez l'huile moteur recommendée dans l'orifice de replissage d'huile, puis replaces le bouchon de replissage d'huile en le serrant fermement.
8-12 Entretien et interventions du propriété
Reportez-vous à la section « Contenances, carburants et lubrifiants recommandés » du chapitre « Données techniques et information au consommateur » de ce manuel pour connaître les contenances de vidange et de replissage.
Ces contenances varient selon la tempéra-ture de l'huile et la durée de vidange. Utilisez ces specifications à titre de référence seulement. Utilisez toujours la jauge pour déterminer le bon niveau d'huile dans le réservoir.
- Demarrez le moteur. Vérifiez qu'il n'y a aucune fuite autour du bouchon de vidange et du filtré à huile. Dans le cas contraire, réparez la fuite.
- Coupe le contact et attendez plus de 10 minutes. Vérifiez de nouveau le niveau d'huile au moyen de la jauge. Ajoutez de l'huile moteur au besoin.

VQ40DE
REEMPLACEMENT DU FILTRE À HUILE
- Stationnez votre vehicule sur une surface plane et serrez le frein de stationnement.
- Coupez le contact.
- Déposez un grand bac de vidange sous le filtré à huile.
- Dévissez la plaque recouvrant le filtre à huile pour acceder à ce dernier. (Pour le moteur VQ40DE seulement.)

QR25DE
- Desserrez le filtré à huile A au moyen d'une clé pour filtré à huile en la tournant dans le sens contraire des aiguilles d'une montre. Retirez ensuite le filtré en le tournant à la main.
AMISE EN GARDE
Prenoz soit de ne pas vous brûler, car l'huile moteur peut être très chaude.
- Essuyez la surface de montage du filtre à huile avec un chiffon propre.
HUILE POUR BOITE DE VITESSES AUTOMATIQUE À CINQ RAPPORTS
LIQUIDE DE DIRECTION ASSISTÉE
Assurez-vous d'enlever toute trace résiduelle de l'ancien joint d'étanchéité de la surface de montage du moteur.
- Enduisez d'huile moteur propre le joint du nouveau filtré.
- Serrez le filtré à huile jusqu'à ce qu'une faible résistance soit perché, puis serrez-le de deux tiers de tour.
- Démarrez le moteur et assurez-vous qu'il n'y a aucune fuite autour du filtré à huile. Dans le cas contraire, répAREZ la fuite.
- Coupe le contact et attendez plus de 10 minutes. Vérifiez le niveau d'huile. Ajoutez de l'huile moteur au besoin.
Consultez votre concessionnaire NISSAN pour obtenir de l'aide si une verification ou un remplacement doit être effectué.
AVERAGEMENT
Utilisez seulement de l'huile pour boite de vitesses automatique NiSSAN Ma-tic J d'origine. N'y melangez pas d'autres huiles.
- L'utilisation d'une huile pour boite de vitesses automatique autre que l'huile NISSAN Matic J d'origine affecte le fonctionnement et la durée utile de la boite de vitesses automatique; en outre, la boite de vitesses automatique peut subir des dommages non couverts par la garantie limite de vehicule neuf NISSAN.
Le type d'huile pour boite de vitesses automatique préconise pour votre vehicule se trouve également sur l'étiquette d'avertissement apposée dans le compartmentement moteur.

Type A
Le niveau de liquide doit être vérifié à l'aide de la gamme HOT MAX du réservoir de liquide de direction assistée à des températures de liquide de 50^ à 80^ (122°F à 176°F) ou à l'aide de la gamme COLD MAX du réservoir de liquide de direction assistée à des températures de liquide de 0^ à 30^ (32°F à 86°F).
Si le niveau de liquide est inférieur au repère MIN, ajoutez du liquide de direction assistée d'origine NISSAN. Pour ce faire, retirez le bouchon et versez le liquide dans l'orifice.
LIQUIDE DE FREIN ET D'EMBRAYAGE

Type B

MISE EN GARDE
- NE REMPLISSEZ PAS LE RÉSERVOIR AU-DELÀ DE SA CAPACITÉ.
Utilisez l'huile recommandaee NiSSAN PSF d'origine ou I'equivalent.
Pour obtenir de plus amples renseignements concernant les specifications de liquides de frein et d'embrayage, consultez la section « Contenances, carburants et lubrifiants recommandés » du chapitre « Données techniques et information au consommateur » du present manuel.

AVERTISSEMENT
N'utilisez que du liquide frais provenant d'un contenant scelled. L'utilisation de liquide usage, de qualite inférieure ou contaminé pourrait endommager le circuit de freinage et le système d'embrayage. L'utilisation de liquides inadquats peut endommager le circuit de freinage et comprometter la capacité de freinage du vehicule.

MISE EN GARDE
Ne renversez pas ce liquide sur les surfaces peintes. Il endommagera la peinture. Si du liquide est renversé, nettoyez immidiatement la surface avec de l'eau.

LIQUIDE DE FREIN
Vérifiez le niveau de liquide de frein dans le réservoir. Si le niveau de liquide est inférieur au repère MIN ou si le témoin des freins s'allume, ajoutez du liquide de frein de très haute tenue d'origine NISSAN ou du liquide DOT 3 équivalent jusqu'à repère MAX. Faites vérifier le circuit d'embrayage de votre vehicule chez un concessionnaire NISSAN si vous nevez y ajouter féquèment du liquide de frein.

LIQUIDE D'EMBRAYAGE
Vérifiéz le niveau de liquide d'embrayage dans le réservoir (boîte de vitesses manuelle seulement). Si le niveau de liquide est inférieur au repère MIN, ajoutez du liquide de frein d'origine NISSAN de très haute tenue ou du liquide DOT 3 équivalent jusqu'àruprepere MAX.Faites vérifier le circuit d'embrayage de votre vehicule chez un concessionnaire NISSAN si vous nevez y ajouter féquèment du liquide de frein.
Pour obtenir de plus amples renseignements concernant les specifications de liquides de frein et d'embrayage, consultez la section « Contenances, carburants et lubrifiants recommends » du chapitre « Données techniques et information au consommateur » du present manuel.
LIQUIDE LAVE-GLACE

RÉSERVOIR DE LIQUIDE LAVE-GLACE
Remplissez le réservoir de liquide lave-glace periodiquement. Ajoutez du liquide lave-glace lorsque le témoin de bas niveau s'allume.
Pour replir le réservoir de liquide lave-glace, retirez le bouchon du réservoir et versez le liquide lave-glace dans l'orifice du réservoir.
Ajoutez un solvant pour lave-glace pour obtenir de plusieurs résultats de nettoyage. En hiver, ajoutez un antigel pour lave-glace. Suivez les directives du fabricant concernant les proportions du mélange.
BATTERIE
Remplissez le réserve plus souvent lorsque les conditions de conduite exigent d'utiliser une grande quantité de liquide lave-glace.
Du liquide lave-glace concentré nettoyant NIS-SAN d'origine avec antigel ou l'équivalent est recommandé.

MISE EN GARDE
- N'utilisez pas d'antigel pour moteur comme liquide lave-glace. Ceci pourrait endommager les surfaces peintes du vehicule.
- Ne remplissez pas le réservoir de liquide lave-glace avec des concentrates non dilués. Les éclaboussures de certains concentrates de liquide lave-glace au methanol peuvent tacher la calandre de façon permanente pendant le remplissage du réservoir de liquide lave-glace.
- Mélangez le concentré de liquide lave-glace avec de l'eau conformément aux recommendations du fabricant avant de verser le mélange dans le réservoir de liquide lave-glace de votre vehicule. N'effectuez pas ce mélange dans le réservoir même.
Assurez-vous que la surface de la batterie est propre et sèche en tout temps. Nettoyez toute trace de corrosion au moyen d'une solution de bicarbonate de soude et d'eau.
Assurez-vous que les raccordements des bornes sont propres et bien serrés.
- Si vous prévoyez ne pas utiliser votre vehicule pendant une période de 30 jours ou plus, débranchez le cable négatif de la borne de la batterie pour empêcher cette dernière de se décharger.

AVERTISSEMENT
-
N'exposez pas la batterie à une flamme ou à des étincelles. L'hydrogène qui se dégage de la batterie est un gaz explosif. Evitez tout contact de l'électrolyte avec vos yeux, votre peau, vos vêtements ou les surfaces peintes du vehicule. Evitez de vous frotter les yeux si vous avez manipulé une batterie ou un bouchon de batterie. Lavez-vous soignement les mains. En cas de contact de l'électrolyte avec vos yeux, votre peu ou vos vêtements, rincez immédiatement à l'eau la zone affectée pendant au moins 15 minutes et consultez un médecin.
-
Ne conduisez pas votre vehicule si le niveau d'électrolyte est bas. Un bas niveau d'électrolyte peut augmenter la charge exercée sur la batterie et ainsi générer de la chaleur, réduire la durée de vie utile de la batterie et, dans certains cas, provoquer une Explosion.
- Portez toujours des lunettes de sécurité et enlevez tous vos bijoux lorsqu'elles you effectuez une intervention sur la batterie ou à proximé de cette-ci.
- Les cosses et bornes de la batterie ainsi que les accessoires connexes contiennent du plomb et des composés de plomb. Lavez-vous les mains après les avoir manipulés.
- Gardez la batterie hors de la portée des enfants.

1. Retirez les bouchons de la batterie au moyen d'un tournevis, tel qu'illustré. Servez-vous d'un chiffon pour protégger le boitier de la batterie.

2. Vérifiez le niveau de liquide dans chacun des éléments de la batterie. Si vous doivent ajouter du liquide, ne versez que de l'eau distillée pour rétablier le niveau jusqu'àu bas de l'orifice de replissage. Ne dépassez pas ce niveau.
Vérifiez fréquèment le niveau d'électrolyte de la batterie si vous conduisez votre vehicule partemps très chaud ou dans des conditions difficilles.
DÉMARRAGE-SECOURS
Si un démarrage-secours est requis, consultez la section « Demarrage-secours » du chapitre « En cas d'urgence » de ce manuel. Si le moteur refuse de démarrer après avoir utilisé cette méthode, il est peut-être nécessaire de replacer la batterie. Communique avec un concessionnaire NISSAN.
DISPOSITION DE COMMANDE À VARIATION DE TENSION


MISE EN GARDE
- Ne mettez pas les accessoires à la masse en les branchant directement à la cosse de la batterie. Vous court-circuiteriez ainsi le dispositif de commande à variation de tension et la batterie pourrait ne pas se charger complètement.
- Pour ne pas décharger la batterie, utilisez les accessoires lorsque le moteur tourne.
Votre vehicule est muni d'un dispositif de commande à variation de tension. Ce dispositif régule la tension généree par l'alternateur à partir de la décharge électrique produit par la batterie.
Si vous montez des accessoires electriques de rechange, mettez-les à la masse du cadre A du vehicule située à proximé de la batterie, le long du cable négatif.
COURROIES D'ENTRAJINEMENT

LDI0449
VQ40DE
- Pompe de direction assistée
- Motoventilateur
- Compresseur de climatisationur
- Vilebreguin
- Alternatneur

AVERTISSEMENT
Assurez-vous que la clé de contact est à la position OFF ou LOCK. Sinon, le moteur peut semettre inopinément en marche.
BOUGIES D'ALLUMAGE
- Inspectez visuèlement les courroies pour vous assurer qu'elles ne sont pas usées, coupées, effilochées ou desserrées. Si les courroies sont en mauvais état ou si elles sont lâches, faites-les replacer ou régler chez un concessionnaire NISSAN.
- Faites vérifier l'etat et la tension des courroies de votre vehicule aux intervalles pres-crits dans le « Guide d'entretien et de réparation NISSAN »

QR25DE
1 Pompe de direction assistée
2 Pompe a eau
3 Compresseur de climatisationur
4 Vilebrequin
5 Alternatneur

Bougies à electrodes au platine
Comme les bougies à électrodes au platine (A) durent plus longtemps que les bougies conventionnelles, elles n'ont pas besoin d'être replacées aussi fréquemment. Suivez le programme d'entretien du « Guide d'entretien et de réparation NiSSAN ». Ne réutilise jamais des bougies à électrodes au platine usées en les nettoyant ou en les réglant à nouveau.
FILTRE A AIR
- Remplacez toujours les bougies de votre vehicule par des bougies recommandées ou équivalentes.

AVERTISSEMENT
Assurez-vous que le moteur est arrêté, que le contact est coupé et que le frein de stationnement est bien serré.

MISE EN GARDE
Assurez-vous d'utiliser la bonne douille pour retarder les bougies d'allumage. Une douille inadéquate peut endommager les bougies d'allumage.
Consultez your concessionnaire NiSSAN si vous avez besoin d'aide pour replacer les bougies.

Type A
Le filtré à air ne doit pas être nettoyé et réutilisé. Vous doivent le replacer conformément au programme d'entretien du « Guide d'entretien et de réparation NISSAN ». Au moment du replacement, essuyez l'intérieur du boîtier et le couvercle du filtré à air avec un chiffon humide.
Pour-retirerlefiltràairde typeA:
① Desserrez la vis.
② Débranche le connecteur électrique.
③ Poussez sur les attaches et retirez le couvercle du filtré à air. Retirez le filtré à air.

Type B
Pour-retirerlefiltratairde typeB:
- Degrafez les attaches A , B , C .
- Poussez la partie inférieure du filtre à air pour dégager les deux/dispositifs de retenue inférieurs.
- Levez la moitié du filtré pour-retirer le filtré à air.

AVENTISSEMENT
- En faisant fonctionner le moteur lorsque le filtrte à air est retire, vous risquez de vous brûler ou de brûler d'autres personnes. Le filtrte à air ne nettoie pas seulement l'air, il permet également d'arrêter les flammes en cas de ratés du moteur. Si le filtrte à air est retire et si le moteur a des ratés, vous risquez des brûlures. Ne conduisez pas votre vehicule lorsque le filtrte à air est retire et soyez prudent lorsque vous devez effector des interventions sur le moteur dépourvu de filtré à air.
- Il ne faut jamais verser de carburant dans le corps du papillon d'accelérateur ni tenter de faire démarrer le moteur lorsque le filtré à air est retire, car vous pourriez vous infliger des blessures graves.

Pour remplacer le filtré,procédez comme suit :
- Ouvrez la boîte à gants et appuyez sur ses deux côtes de telle façon qu'elle s'ouvre complètement et pende par le cordon.

2. Retirez le boulon du couvercle de filtré et retirez le couvercle de filtré.
MICROFILTRE DE L'HABITACLE
Le microfiltr de l'habitacle retient la poussière en suspension et les particules de pollen et il réduit également l'infiltration de certaines odeurs indéssirables dans l'habitacle. Le filtré est situé derrière la boîte à gants. Consultez le « Guide d'entretien et de réparation Nissan » pour connaître les intervalles de remplacement de ce filtré.
8-22 Entretien et interventions du propriétaire

NOTA :
Les filtres sont identifiés par des flèches de passage d'air. L'extrémité du filtré où se trouve la flèche doit être orientée vers l'arrière du vehicule. Les flèches devraient être dirigeées vers le bas.
- Insérez le premier filtré dans le boîtier, puis faites-le glisser vers la droite. Insérez le second filtré dans le boîtier.
- Installez le couvercle de filtré.
- Installez le volet de la boite a gants.
BALAIS D'ESSUIE-GLACE
- Notez la date du remplacement et replissez la petite etiquette de remplacement avant de l'apposer sur le volet de la boite a gants.
NETTOYAGE
Si le lave-glace ne réussit pas à nettoyer le pare-brise de votre vehicule ou si un des balais d'essuie-glace fonctionne mal, des dépôts de cire ou d'autres matières se sont peut-être accumulés sur le balai d'essuie-glace ou sur le pare-brise.
Nettoyez l'extérieur du pare-brise avec une solution de lave-glace ou du détergent doux. Le pare-brise est propre si l'eau n'y-perle pas lorsque vous le rincez à l'eau claire.
Nettoyez chaque balai d'essuie-glace avec un chiffon trempe dans une solution de lave-glace ou dans du détergent doux. Rincez ensuite les balais d'essuie-glace avec de l'eau propre. Si la propriété de votre pare-brise n'est toujours pas satisfaisante après avoir nettoyé les balais et utilisé les essuie-glaces, remplacez les balais.

MISE EN GARDE
Des balais d'essuie-glace usés peuvent endommager le pare-brise et nuire à la visibilité du conducteur.

REEMPLACEMENT
Remplacez les balais d'essuie-glace lorsqu'ils sont usés.
- Écartez du pare-brise le bras d'un des essuie-glaces.
② Poussez la languette de déblocage, puis ti-rez le balai vers le bas, parallèlement au bras d'essuie-glace, pour l'enlever.
③ Retirez le balai d'essuie-glace. -
Insérez le nouveau balai d'essuie-glace sur le bras jusqu'à ce qu'il s'enclenche.
-
Tournez le balai d'essuie-glace de sorte que le petit creux soit dans la cannelure.
AMISE EN GARDE
- Àprouv avoir remplace les balais, remet- tez les bras d'essuie-glace à leur posit i on d'origine. Sinon, vous pourriez les endommager en ouvrant le capot.
Assurez-vous que les balais d'essuie-glace sont en contact avec la glace. Si ce n'était pas le cas, les bras des essuie-glaces risqueraient d'être endommégés par la pression du vent.

Si vous cirez la surface du capot, assurez-vous que la cire ne penètre pas dans les gicleurs de lave-glace ①. Un colmatage ou un mauvais fonctionnement du lave-glace de pare-brise pourrait en résultat. Si de la cire penètre dans le giclaur, retirez-la à l'aide d'une aiguille ou d'une petite broche ②.
8-24 Entretien et interventions du propriétaire
FREINS
Si les freins de votre vehicule ne fonctionnent pas correctement, rendez-vous chez un concessionnaire NISSAN pour les faire vérifier.
Freins auto-reglables
Votre vehicule est muni de freins auto-reglables.
Les freins à disque avant et arrrière se reglent automatiquement chaque fois que vous enforcez la pédale de frein.

AVERTISSEMENT
Faites vérifier le circuit de freinage de votre vehicule chez un concessionnaire NISSAN si la pédale de frein ne revient pas à sa hauteur normale.
Indicateurs d'usure de plaquettes de frein
Les plaquettes de frein à disque de votre vehicule sont munies d'indicateurs d'usure sonores. Si une plaquette de frein doit être remplacée, l'indicateur d'usure émet un bruit de raclage ou un crissement aigu lorsque le vehicule roule. Le bruit se fait entendre, que la pédale de frein soit enforcée ou non. Si les indicateurs d'usure des freins émettent un son, faites vérifier les freins de leur vehicule le plus tout possible.
Des crissements, des sifflements ou d'autres bruits occasionnels provenant des freins peuvent se faire entendre dans certaines conditions de conduite ou climatiques. Il est normal d'entendre à l'occasion des bruits de frein au cours de freinages légers ou modérés et cette condition ne compromet en rien le fonctionnement ou le rendement du circuit de freinage de votre vehicule.
Une inspection adequate des freins doit etre effectuee aux intervalles prescrits.
Pour obtenir de plus amples renseignements sur les intervalles d'inspection des freins, consultez l'information qui s'y rapporte dans le « Guide d'entretien et de réparation NISSAN »
FUSIBLES


LDI0455
Votre vehicule utilise deux types de fusibles. Les boites à fusibles du compartmentement moteur utilisent des fusibles de type A. La boite à fusibles de l'habitacle utilise des fusibles de type B.
Des fusibles de rechange de type A sont fournis d'origine. Il se trouvent dans la boite à fusibles de l'habitacle.
Les fusibles de type A peuvent etre utilisés dans les boites à fusibles du compartment moteur et de l'habitacle.

LDI0457

LDI0444
Lorsqu'un fusible de type A est utilisé en remplacement d'un fusible de type B, il ne sera pas logé aussi profondement que ceux de type B (voir l'illustration). Ce fusible assurera la protection du circuit de même manière. Vérifie que le fusible est bien enforcé dans la boite à fusibles.
Les fusibles de type B ne conviennent pas pour les boîtes à fusibles du compartment moteur. Utilisez exclusivement des fusibles de type A dans les boîtes à fusibles du compartment moteur.
COMPARTIMENT MOTEUR

MISE EN GARDE
N'utilisez jamais un fusible d'une intensité nominale supérieure ou inférieure à cette spécifiée sur le couvercle de la boite à fusibles. Ceci pourrait endommager le circuit électrique ou causer un incendie.
Lorsqu'un des accessoires électriques de votre vehicule ne fonctionne pas, vérifie si le fusible correspondant est grillé.
-
Assurez-vous que le contacteur d'allumage et l'interrupteur des phares sont à la position OFF.
-
Ouvrez le capot.
- Retirez le couvercle de la boite à fusibles en poussant la languette, puis en le soulevant.
- Au moyen de l'extracteur de fusible, retirez le fusible. L'extracteur de fusible est situé dans le centre du bloc de fusibles dans l'habitacle.


WDI0452
- Si le fusible est grillé A , remplacez-le par un fusible neuf B .
- Si le fusible neuf grille aussi, rendez-vous chez un concessionnaire NISSAN pour faire vérifier et réparer le circuit électrique de votre vehicule.
Fils-fusibles
Si des accessoires electriques de votre vehicule ne fonctionnent pas alors que les fusibles correspondants sont en bon etat, vérifie les fil-fusibles. Si un des fil-fusibles a fondu, remplacez-le par un fil-fusible d'origine NISSAN.

HABITACLE

MISE EN GARDE
N'utilisez jamais un fusible d'une intensité nominale supérieure ou inférieure à cette spécifiée sur le couvercle de la boite à fusibles. Ceci pourrait endommager le circuit électrique ou cause un incendie.
Lorsqu'un des accessoires électriques de votre vehicule ne fonctionne pas, vérifie si le fusible correspondant est grillé.
-
Assurez-vous que le contacteur d'allumage et l'interrupteur des phares sont à la position OFF.
-
Tirez le couvercle de la boite à fusibles pour le retarder.
- Au moyen de l'extracteur deFuseible,retirez le fuseble.


WDI0452


LDI0456
Type A
- Si le fusible est grillé (A), remplacez-le par un fusible neuf (B).
- Appuyez sur le couvercle de la boite à fusibles pour le réinstaller.
- Si le fusible neuf grille aussi, rendez-vous chez un concessionnaire NISSAN pour faire vérifier et réparer le circuit électrique de votre vehicule.
Type B
REEMPLACEMENT DE LA PILE DE LA TÉLECOMMANDE



LDI0484
Pour remplacer la pile de la télécommande, pro-cedez comme suit :
① Ouvrez le couvercle de la télécommande à l'aide d'une piece de monnaie A.
② Retirez la pile (B).
③ Installez la pile neue © en plaçant le côte marquéd'un « + » vers le bas.
Pile recommende: CR2025 ou équivalent.
Refermez solidement le couvercle de la télécommande.
- Appuyez sur la touche 1 , puis sur la touche 2 deux ou trois fois pour vous assurer que la télécommande fonctionne.
Si la pile est retiree de la telecommande pour toute autre raison que pour la replacer, repetez l'etape 5.
- Les piles mises au rebut de façon inadéquate peuvent avoir des effets néfastes sur l'environnement. Consultez toujours les règlements en vigueur dans votre localité concernant l'élimination des piles.
- La télécommande est conscience pour résister à l'eau. Toutefois, si elle entre en contact avec de l'eau, sechez-la immédiatement en l'essayant.
- La portée opérationnelle de la télécommande est d'environ 10 m (33 pi) à partir du vehicule. La portée de la télécommande peut varier en fonction des conditions environnantes du vehicule.
Avis de la FCC :
Toute modification non conforme aux normes de la partie responsable peut annuler le droit de l'utilisateur d'exploiter un tel équipement.
ÉCLAIRAGE
Ce dispositif est conforme à l'article 15 des règlements de la FCC et au règlement RSS-210 d'Industrie Canada.
Son utilisation est soumise aux deux conditions suivantes : (1) Ce dispositif ne doit causer aucune interference nuisible, et (2) ce dispositif doit pouvoir accepter toutes les interférences, y compris celles qui pourrait l'activer de façon inopinée.
PHARES
Le phare est de type partiellement scelled et utilise une ampoule de phare remplaçable (à halogène). Il est possible de replacer une ampoule à partir du compartment moteur sans avoir à retarder le phare.
AMISE EN GARDE
L'ampoule à halogène contient un gaz halogène sous haute pression. L'ampoule risque de se briser si vous la laissez tomber par terre ou si vous rayez son enveloppe de verre.
- Ne touchez pas l'enveloppe de verre de l'ampoule lorsque vous la manipULE.
- NE TOUCHEZ PAS L'AMPOULE
- L'ampoule de rechange doit porter le même numéro et avoir la même puissance que l'ampoule d'origine.
Puisance 65/55 N° de l'ampoule HB5/9007*
*: Consultez toujours le service des pieces d'un concessionnaire NiSSAN pour obtenir l'information la plus récente concernant les pieces de rechange.
- Ne laïsez pas un reflecteur de phare sans ampoule pendant une longue période puisque la poussière, l'humidité et la fumée pourraient pénétrer dans le bloc optique et ALTERER le rendement du phare.
- Il n'est pas nécessaire de régler la convergence des phares après avoir remplatz l'ampoule. Si le réglage de la convergence des phares est nécessaire, adressez-vous à un concessionnaire NISSAN.

Retrait de l'ampoule du phare
- Ouvrez le capot.
-
Debranchez le cable négatif (-) de la batterie.
-
Debranchez le connecteur électrique de l'extrémite arrêté de l'ampoule.
- Tournez la bague de retenue de l'ampoule dans le sens contraire des aiguilles d'une montre jusqu'à ce qu'elle se dégage du réflecteur de phare, puis retirez-la (A).
- Retirez delicatement l'ampoule du phare. Ne secouez pas et ne tournez pas l'ampoule en la retardant (B).
Installation de l'ampoule du phare
- Insérez l'ampoule.
NE TOUCHEZ PAS L'AMPOULE.
- Installez le dispositif de retenue de l'ampoule et serrez-le.
Assurez-vous que le bec de la douille d'ampoule entre en contact avec le boitier du phare. - Poussez le connecteur électrique dans la base de plastique de l'ampoule jusqu'à ce qu'il s'enclenche et se bloque.
- Branchez le cable négatif (-) de la batterie.
- Fermez le capot.
ÉCLAIRAGE EXTERIEUR ET INTÉRIEUR
| Élément | Wattage (W) | N° d'ampoule*1 |
| Phare | 65 (55) | 9007 (HB5) |
| Clignant, feu de stationnement | 28/8 | 3457K |
| Feu de position latéral | 3,8 | 194 |
| Feu combiné arrêté | ||
| Clignotants | 27 | 3156AK |
| Feu d'accrit, feu arrêté | 27 (8) | 3157K |
| Phare de recul | 18 | 921 |
| Éclairage de la plaque d'immatriculation | 5 | 2J6 |
| Phares antibrouillard*2 (selon l'équipement du vêhicle) | 55 | H11 |
| Lampes de lecture, lampes individuelles | 8 | AL38 |
| Éclairage ambient | 8 | AL41 |
| Feu d'accrit surélevé, éclairage d'espace de charge-ment*2 | - | - |
1Consultez toujours le service des pieces d'un concessionnaire NISSAN pour obtaining l'information la plus récente concernant les pieces de rechange.
2ll est impossible de réparer l'ampoule sur le vehicule. Consultez un concessionnaire NISSAN pour obtenir de l'aide.

- Lampes de lecture, lampes individuelles
- Éclairage ambient
- Feu d'arrêt surélevé, éclairage d'espace de chargement
- Éclairage de la plaque d'immatriculation
- Feu combiné arrêté
- Phares antibrouillard (selon l'équipement du vehicule)
- Phare

Procedures de remplacement
Tous les autres feu, phares ou lampes sont de type A, B, C ou D. Lorsque vous devez remplacer une ampoule, retirez d'abord la vitre de protection ou le couvercle.


: Indique le retrait de l'ampoule
: Indique l'installation de I'ampoule

Lampes de lecture, lampes individuelles

Éclairage ambient
Utilisé un chiffon ① pour protéger l'intérieur du boîtier.

Feu combiné arrête

Éclairage de la plaque d'immatriculation
ROUES ET PNEUS
En cas de crevaison, consultez le chapitre « En cas d'urgence » du present manuel.
PRESSION DES PNEUS
Système de surveillance de la pression des pneus
Ce vehicule est doté d'un système de surveillance de la pression des pneus. Il surveille la pression de tous les pneus, à l'exception du pneu de la roue de secours. Lorsque le témoin de basse pression des pneus est allumé, au moins un de vos pneus est insuffisamment gonflé.
Le système de surveillance de la pression des pneus n'est actif que lorsque le vehicule roule à plus de 25km / h (16 mi/h). De plus, ce dispositif peut ne pas détecter la chute soudaine de la pression d'un pneu (par exemple, la crevaison d'un pneu pendant la conduite).
Pour obtenir de plus amples renseignements, consultez les sections « Témoin de basse pression des pneus » du chapitre « Commandes et instruments », « Système de surveillance de la pression des
pneus » du chapitre « Démarrage et conduite » et « Pneu à plat » du chapitre « En cas d'urgence »
Pression de gonflage des pneus
Vérifiez souvent la pression des pneus de votre vehicule (sans oublier le pneu de secours) et vérifie-la toujours avant un long trajet. La pression de gonflage des pneus recommendée est indiquée sur l'étiquette FMVSS/NSVAC ou sur l'étiquette des pneus et d'information sur la charge de la section « Pression de gonflage à froid » L'étiquette des pneus et d'information sur la charge est appossee sur le pied milieu du côte conducteur. Les pressions de gonflage des pneus doivent être vérifiées régulièrement, car :
- la plupart des pneus perdent naturellement un peu d'air avec le temps;
- les pneus peuvent perdre de l'air soudainement s'ils passent sur des nids-de-poule ou d'autres objets, ou si le vehicule heurte une cordure de trottoir pendant le stationnement.
Les pressions de gonflage des pneus doivent être vérifiées quand les pneus sont froids. Les pneus sont considérés FROIDS si votre vehicule est stationné depuis trois heures ou plus ou s'il a parcouru moins de 1,6 kilomètre (1 mille) à vitesse modérée.
Une pression inadéquate des pneus, incluant un sous-gonflage, peut réduire leur durée de vie et nuire à la tenue de route de votre vehicule.
A VERTISSEMENT
- Des pneus mal gonflés peuvent éclater et cause un accident.
Le poids nominal brut du vehicule (PNBV) est indiqued sur l'etiquette FMVSS/NSVAC. L'indice de charge du vehicule est indiqued sur l'etiquette des pneus et d'information sur la charge. Ne chargez pas votre vehicule audela de sa capacité. La surcharge de votre vehicule peut réduire la durée de vie des pneus, compromètre le fonctionnement sur du vehicule par une défaillance prématurée des pneus ou par un comportement routier défavorable et provoquer des accidents graves. Une charge dépassant la capacité spécifiée peut également entraîner la défaillance d'autres composants du vehicule.
- Avant d'entrepreneure un long trajet ou chaque fois que le vehicule est lourdement chargé, vérifie la pression de gonflage des pneus au moyen d'un manomètre pour vous assurer qu'elle correspond à la pression préconisée.
- Ne conduisiez pas votre vehicule à des vitesses supérieures à 137 km/h (85 mi/h) s'il n'est pas muni de pneus hautes performances. En effet, une défaillance des pneus pourrait se produit, ce qui entraînerait une perte de maîtrise du vehicule et des blessures.
- Pour obtenir de plus amples renseignements au sujet des pneus, consultez la section « Renseignements importants concernant la sécurité des pneus (É.-U.) » ou « Renseignements concernant la sécurité des pneus (Canada) » du Livret de renseignements sur la garantie.

Étiquette des pneus et d'information sur la charge
1 Nombre de places : Nombre maximal d'occupants qui peuvent prendre place dans le vehicule.
② Limité de capacité de charge du vehicule : Consultez la section « Information sur la charge » du chapitre « Données techniques et information au consommateur »
③ Taille des pneus d'origine : La taille des pneus installés à l'origine sur le vehicule, à l'usine.
4 Pression de gonflage à froid : Gonflez les pneus à cette pression lorsqu'ils sont froids. Les pneus sont considérés FROIDS si votre vehicule est stationné depuis trois heures ou plus ou s'il a parcouru moins de 1,6 kilomètre (1 mille) à vitesse moderée. La pression de gonflage à froid recommendée est déterminée par le fabricant pour offrir le meilleur équilibre en matière d'usure des pneus, de tenue de route, de maniability, de bruit des pneus, etc. en fonction du PNBV.
⑤ Taille des pneus : Consultez la section « Marquage des pneus » plus loin dans ce chapitre.
⑥ Taille de la roue de secours ou taille de la roue compacte de secours (se-lon l'équipement du vehicule).

Vérification de la pression des pneus
- Retirez le capuchon de la tige de soupape du pneu.
-
Appuyez le manomètre directement sur la tige de soupape. N'appuyez pas trop fort et ne poussez pas la tige de soupape vers le côte, sinon de l'air s'échappera. Si vous entendez un sifflement d'air qui s'échappe lorsque vous vérifie la pression, replacez le manomètre de façon à éliminer la fuite.
-
Retirez le manomètre.
- Lisez la pression du pneau sur la tige du manometre et compare-la a la Specification indiquee sur l'etiquette FMVSS/NSVAC ou sur l'etiquette d'information sur les pneus et la charge (selon l'équipement du vehicule).
- Gonflez le pneu s'il y a lieu. Si le pneu est trop gonflé, appuyez brièvement sur le pointeau de la tige de soupape à l'aide de l'extrémité de la tige du manomètre pour relâcher la pression. Vérifiéz de nouveau la pression et ajoutez ou relâchez de l'air au besoin.
- Installez le capuchon de la tige de soupape.
- Vérifiez la pression de tous les autres pneus, incluant celle de la roue de secours.
| Taille | Pression de gonflage à froid |
| Pneus avant d'origine : P235/75R15 105S P265/70R16 111S P265/75R16 114T P265/65R17 110S | 240 kPa, 35 lb/ po2 |
| Pneus arrêté d'origine : P235/75R15 109S P265/70R16 111S P265/75R16 114T P265/65R17 110S | 240 kPa, 35 lb/ po2 |
| Pneu de la roue de secours : P235/75R15 109S P265/70R16 111S P265/75R16 114T P265/65R17 110S | 240 kPa, 35 lb/ po2 |

Example
MARQUAGE DES PNEUS
La loi federale aux États-Unis requiert que les fabricants de pneus affichent des renseignements normalisés sur le flanc de tous les pneus. Ces renseignements identifient et décrivent les caractéristiques principales du pneu et fournissant également le numéro d'identification du pneu (TIN) pour l'homologation des normes de sécurité. Le numéro d'identification du pneu peut être utilisé pour identifier le pneu en cas de rappel.
P215/65R15 95H
P 1
215 个 2
65 3
R 4
15 5
95 6
H 7
WDI0395
Example
(1) Dimensions du pneu (exemple : P215/65R15 95H)
- P: Le « P » indique que le pneu est concu pour les vehicules de tourisme (ces renseignements ne figurent pas sur tous les pneus).
-
Numéro à trois chiffres (215): Ce numéro indique la largeur du pneu en millimétres à partir du bord des flancs.
-
Numéro à deux chiffres (65): Ce nombre, connu sous le nom de rapport d'aspect, indique le rapport entre la hauteur et la largeur du pneu.
- R: Le « R » identifie un pneu radial.
-
Numéro à deux chiffres (15): Ce numéro est le diamètre de la roue ou de la jante en pôues.
-
Numéro à deux ou à trois chiffres (95): Ce numéro représenté l'indice de charge du pau. Ceci est une indication du poids que chaque pau peut supporter. Cette information peut ne pas être présente sur tous les pauces, car elle n'est pas requise par la loi.
- H: Cote de vitesse nominale du pneu. Vous ne devriez pas conduire le vehicule à une vitesse supérieure à la vitesse nominale du pneu.
DOT XX XX XXX XXXX
DOT

1
XX

2
XX

3
XXX

4
XXX

5
XXXX

6
WDI0396
Example
② Numéro d'identification du pau (TIN) pour un pau neuf (exemple : DOT XX XX XXX XXXX)
1. DOT : Acronyme désignant le « Département Of Transportation » des États-Unis. Ce symbole peut être placé au-dessus, au-dessous, à gauche ou à droite du numéro d'identification du pineu.
2. Code à deux chiffres : Identification du fabricant.
- Code à deux chiffres : Taille du pneu
- Code à trois chiffres : Code du type de pneu (optionnel)
-
Code à trois chiffres : Date de fabrication
-
Quatre chiffres représentant la se-maine et l'année de fabrication du pneu. Par exemple, les chiffres 3103 représentent la 31^e semaine de l'année 2003. Si vous n'apercevez pas ces nombres, recherche-les sur l'autre flanc du pneu.
③ Composition et matériel de la carcasse du pineu
Le nombre de pris ou de couches de tissu enduit de caoutchouc dans le pneu. Les fabricants de pneus doivent aussi indiquer les matieres du pneu, incluant l'acier, le nylon, le polyester et autres.
(4) Pression maximale admissible
Ce chiffre indique la pression d'air maxi-male pouvant etre appliquee au pneu. Ne dépassez jamais la pression de gonflage maximale permise.
⑤ Charge maximale
Ce chiffre indique la charge maximale en kilogrammes et en livres pouvant etre transportee par le pneu. Lorsque vous remplacez les pneus du vehicule, utilisez
toujours un pneu ayant la meme charge nominale maximale que les pneus installés à l'usine.
⑥ Le terme « tubeless » (sans(chambre à air) ou «tube type» (avec chambre à air)
Indique si le pneu requiert une chambre à air (« Tube type ») ou non (« Tubeless »).
⑦ Let terme « radial »
Le terme « radial » est créé si la structure du pneu est radiale.
⑧ Le nom du fabricant ou de la marque
Le nom de fabricant ou la marque est indiqué(e).
Autre terminologie concernant les pneus
En plus des nombreux termes définis dans ce chapitre, le « flanc extérieur prévu » est (1) le flanc blanc, celui quiporte un lettrage blanc ou qui indique le fabricant, la marque ou le nom du modulo moulé en relief par rapport à la même indication sur l'autre flanc du pneu, ou (2) le flanc extérieur d'un pneu asymétrique
dont un côté en particulier doit toujours faire face vers l'extérieur lorsque monté sur un vehicule.
TYPES DE PNEUS
AVERAGEMENT
- Lorsque vous remplacez ou changez les pneus de votre vehicule, assurez-vous que les quatre pneus sont du même type (par exemple, pneus d'été, pneus quatre saisons ou pneus d'hiver) et de la même construction. Un concessionnaire NiSSAN pourra vous donner des renseignements relatifs au type, à la taille, à l'indice de vitesse et à la disponibilité des différents pneus.
-
Les pneus de rechange peuvent avoir un indice de vitesse inférieur à celui des pneus installés en usine et, par conséquent, ne pas pouvoir s'adapter à la vitesse maximale de votre vehicule. Ne dépassez jamais la vitesse de l'indice de vitesse maximale d'un pneu.
-
Pour obtenir de plus amples renseignements au sujet des pneus, consultez la section « Renseignements importants concernant la sécurité des pneus (É.-U.) » ou « Renseignements concernant la sécurité des pneus (Canada) » du Livret de renseignements sur la garantie.
Pneus toutes saisons
Certains modèles de vehicules NISSAN sont munis de pneus toutes saisons. Ces pneus offrent un bon rendement tout au long de l'année, même sur une chaussée enneigée ou glacée. Les mots ALL SEASON ou les lettres « MS » que l'on trouve sur le flanc des pneus identifient ce type de pneu. Les pneus d'hiver offrent une(Meilleure)adhérence dans la neige que les pneus toutes saisons et ils peuvent être moins adaptés au climat de certaines régions.
Pneus d'été
Certains modèles de vehicules NISSAN sont munis de pneus d'été. Ceux-ci offrent un rendement supérieur sur chaussée sèche. La neige et la glace nuisent considérablement au rendement des pneus d'été. L'indice d'adhérence identifié par les lettres « MS » n'apparait pas sur le flanc des pneus d'été.
Si vous possédez un vehicule à quatre roues motrices, NISSAN vous recommende d'utiliser des pneus d'HIVER ou des pneus TOUTES SALONS si vous doivent conduire sur une chaussée enneigée ou glacée.
Pneus d'hiver
Si vous installez des pneus d'hiver sur votre vehicule, assurez-vous que leur dimension et la charge maximale qu'ils peuvent porter sont les mêmes que celles des pneus d'origine. Sinon, les caractéristiques de sécurité et la tenue de route de votre vehicule pourrait être compromises.
Les pneus d'hiver ont généralement une cote de vitesse inférieure à celle des pneus installés en usine et ils risquent de ne pas s'adapter à la vitesse maximale que peut atteindre votre vehicule. Ne dépassez jamais la vitesse de l'indice de vitesse maximale d'un pneu.
Si vous installez des pneus d'hiver sur votre vehicule, la dimension, la marque, la construction et la sculpture de la bande de roulement doivent être identiques sur les quatre pneus.
Des pneus à clous peuvent être utilisés pour bénéficier d'une adherence accrue sur chaussée glacée. Toutefois, l'utilisation de tels pneus est prohibée dans certains États américain de même que dans certaines provinces du Canada. Consultez les règlements en vigueur dans votre
localité, dans l'Etat ou la province où vous résiduez avant d'installer ce type de pneau sur votre vehicule. Sur chaussée seche ou mouillée, les capacités de patinage et d'adherence d'un pau d'hiver à clous peuvent être inférieures à celles d'un pau d'hiver sans clous.
CHÂINES ANTIDÉRAPANTES
L'utilisation de chaînes antidérapantes peut être prohibée dans certaines localités. Consultez les règlements en vigueur dans votre localité avant d'installer des chaînes antidérapantes sur les pneus de votre vehicule. Si vous installez des chaînes antidérapantes, assurez-vous qu'elles sont de la bonne dimension pour vos pneus et suivez les directives d'installation fournies par le fabricant des chaîns. N'utilise que des chaînes SAE de catégorie « S ». Les chaînes de catégorie « S » sont destinées aux vehicules dont l'espace des passages de roue est limité. Les vehicules sur lesquels les chaînes de type « S » peuvent être installées repondent au débutment minimal requis (entre le pneu et l'élement de suspension ou de caisse du vehicule le plus proche) pour permettre l'installation d'un dispositif antidérapant pour l'hiver (chaînes antidérapantes ou cables). Le débutment minimal requis est déterminé en fonction des pneus d'origine posés à l'usine. L'utilisation de chaînes d'une autre catégorie peut endomager votre vehicule. Lorsque recommendé par le fabricant,
utilisez des tendeurs de chaînes pour vous assurer que les chaînes tiennent bien en place. Les maillons inutilisés de la chaîne doivent être solidement fixés ou retires afin d'éviter qu'ils ne heures les ailes ou le soubassement et les endommagent. Si possible, évitez de charger votre vehicule à sa capacité maximale lorsque vous utilisez des chaînes antidérapantes et conduisez plus lentement. Sinon, les chaînes peuvent endommager leur vehicule et promuttre sa tenue de route et son rendement.
N'installez les chaînes antidérapantes que sur les roues arrirè. De telles chaînes ne doivent jamais être installées sur les roues avant.
Les chaînes antidérapantes ne doivent pas être utilisées sur chaussée sèche. Les contraintes excessives engendrées par la conduite d'un vehicule dans de telles conditions peuvent cause des dommages aux divers mécanismes du vehicule.
Seul le mode 2 roues motrices doit être utilisé sur des routes pavées sèches.

WDI0258
REEMPLACEMENT DES ROUES ET DES PNEUS
Permutation des pneus
NISSAN recommende de permuter les pneus tous les 12 000 km (7 500 mi).
Consultez la section « Pneu à plat » du chapitre « En cas d'urgence » duprésent manuel pour connaître les procédures de remplacement des pneus.
Au moyen d'une clé dynamométrique, serrez les écrous de roue au couple spécifiqueèsque possible.
Couple de serrage des écrous de roues :
133 N·m (98 lb·pi)
Les écrous de roue doivent toujours être serrés au couple précisé. Il est recommandé de serrer les écrous de roue au couple spécifique à chaque permutation des pneus.
A VERTISSEMENT
- Àprous avoir procédé à la permutation des pneus, vérifiez et réglez la pression de gonflage des pneus.
- Resserrez les écrous des roues du vehicule après avoir parcouru une distance de 1 000 km (600 mi), après une crevaison, etc.
-
La roue de secours ne fait pas partie des roues à permuter.
-
Pour obtenir de plus amples renseignements au sujet des pneus, consultez la section « Renseignements importants concernant la sécurité des pneus (E.-U.) » ou « Renseignements concernant la sécurité des pneus (Canada) » du Livret de renseignements sur la garantie.

- Indicateur d'usure
- Repère
Usure et endommagement des pneus
A VERTISSEMENT
- Les pneus de votre vehicule doivent être vérifiés périodiquement pour y déceler la présence d'usure, de fissures, de gonflement ou d'objets coincés entre les sculptures. En présence d'une usure importante, de fissures, de gonflement ou de coupures profondes, le ou les pneus doivent être replacés.
-
Les pneus d'origine sont munis d'indicateurs d'usure incorpore dans les bandes de roulement. Lorsque ces indicateurs deviennent visibles, les pneus doivent être replacés.
-
Les pneus se détiertoient au fil du temps. Faites vérifier les pneus, y compris le pneu de secours, de plus de six ans par un technician qualifié car certains dommages peuvent ne pas être évidents. Remplacez les pneus au besoin pour prévenir les défaillances du pneu et les blessures qui peuvent en découvert.
- Une réparation incorrecte de la roue de secours peut entraîner des blessures graves. Si la roue de secours doit être réparée, adressez-vous à un concessionnaire NiSSAN.
Pour obtenir de plus amples renseignements au sujet des pneus, consultez la section « Renseignements importants concernant la sécurité des pneus (É.-U.) » ou « Renseignements concernant la sécurité des pneus (Canada) » du Livret de renseignements sur la garantie.
Remplacement des roues et des pneus
Lorsque you remplacez un pneu, utilisez un pneu dont la dimension, la sculpture de bande de roulement, la cote de vitesse et la capacité de charge sont similaires à ceux du pneu d'origine. Les types et les dimensions de pneus recommandes sont indiqués dans la section « Roues et pneus » du chapitre « Données techniques et information au consommateur » duprésent manuel.
A VERTISSEMENT
L'utilisation de pneus autres que ceux qui sont recommandés ou l'utilisation mixte de pneus de marque ou de construction (diagonale, ceinturée, radiale) diverses, ou dont les sculptures de bandes de roulement différent, peut nuir à la conduite, au freinage, au comportement routier, à la garde au sol, au jeu entre la carrosserie et les pneus, au jeu des chaînes antidérapantes, à l'étalonnage de l'indicateur de vitesse, à la convergence des phares ainsi qu'à la hauteur du pare-chocs. Certains de ces effets peuvent cause des accidents et entrainer des blessures graves.
- Si les roues doivent être changées pour chaque raison que ce soit, remplacez les toujours par des roues au déport identique. Des roues au déport différent peuvent entraîner une usure prématurée des pneus, compromètre les caractéristiques du comportement routier ou interférer avec les disques et tambours de frein. Cette interférence peut réduire l'efficacité du freinage ou entraîner une usure prématurée des plaquettes et segments de frein. Consultez la section « Roues et pneus » du chapitre « Données techniques et information au consommateur » duprésent manuel pour connaître les dimensions de déport des roues.
-
Lorsqu'une roue de secours est montée ou lorsqu'une roue est replacee, la pression des pneus n'est pas induquee, le systeme de surveillance de la pression des pneus ne fonctionne pas et le témoin de basse pression des pneus clignote. Communique avec votre concessionnaire NISSAN dés que possible pour procéder au remplacement des pneus ou à la réinitialisation du système.
-
L'utilisation de pneus de remplacement autres que ceux précisés par NiSSAN peut nuir au fonctionnement du système de surveillance de la pression des pneus.
- N'installez pas de roues ou de pneus déformés sur votre vehicule, même s'ils ont été réparés, car ceux-ci peuventprésenter des dommages structurels et entrainer une défaillance soudaine.
L'utilisation de pneus rechapés est déconseillée. - Pour obtenir de plus amples renseignements au sujet des pneus, consultez la section « Renseignements importants concernant la sécurité des pneus (É.-U.) » ou « Renseignements concernant la sécurité des pneus (Canada) » du Livret de renseignements sur la garantie.
4x4 Modèles à quatre roues motrices
AMISE EN GARDE
Utilisez toujours des pneus des mêmes type, taille, marque, construction (à carcasse diagonale, à carcasse diagonale ceinturée ou à carcasse radiale) et dessin de bande de roulement sur les quatre roues. Déroger à cette directive peut entrainer une différence de circonférence entre les pneus aux essieux avant et arriéré, ce qui causera une usure excessive des pneus et pourra endomager la boîte de vitesses, la boîte de transfert et les pignons du différentiel.
Si une usure excessive des pneus est décelée, il est recommandé de replacer les pneus des quatre roues par des pneus des mêmes taille, marque et construction, et ayant le même dessin de bande de roulement. La pression des pneus et le réglage de la géométrie des roues doivent être également vérifiés et corriges, le cas échéant. Communiquez avec un concessionnaire NISSAN.
Équilibrage des roues
Des roues mal équilibrées peuvent nuire à la tenue de route du vehicule et réduire la durée de vie des pneus. même si le vehicule est utilisé régulièrement, les roues peuvent devenir déséquilibrées. C'est pourquoit les roues doivent être équilibrées tel que recommends.
Les roues doivent etre retirees du vehicule pour effectuer I'equilibrage. Sinon, le vehicule pourrait subir des dommages mecaniques.
- Consultez la section « Renseignements importants concernant la sécurité des pneus (É.-U.) » ou « Renseignements concernant la sécurité des pneus (Canada) » du Livret de renseignements sur la garantie pour plus d'information.
Soin des pneus
Pour que les roues conservent un bel aspect, lavez-les lorsque vous lavez votre vehicule.
- Nettoyez la face interieure des roues lorsqu'elles sont retirees ou lorsque vous nettoyez le soubassement du vehicule.
- Ne lavez pas les roues avec des nettoyants abrasifs.
- Inspectez régulièrement les jantes des roues à la recherche de bosses ou de traces de corrosion. De telles conditions pourrait entraîner une perte de pression ou une mauvaise étanchéité au niveau des talons de pneu.
- Si vous conduisiez dans des régions où du sel est repandu sur les routes durant l'hiver, NISSAN vous recommende de cirer les roues de votre vehicule.
9 Données techniques et information au consommateur
Contenances, carburants et lubrifiants
recommendés. 9-2
Recommendations concerning le carburant. 9-3
Recommendations relatives à l'huile moteur et au filtré à huile 9-5
Recommandations concernant le fluide frigorigène et le lubrifiant du climatiseur 9-6
Specifications. 9-7
Moteur. 9-7
Roues et pneus 9-8
Dimensions et poids 9-8
Voyages ou immatriculation du vehicule à l'étranger 9-9 Identification du vehicule 9-9
Plaque du numero d'identification du vehicule (NIV) 9-9
Numero d'identification du vehicule (Numero du chassis) 9-9
Numéro de série du moteur 9-10
Étiquette d'homologation FMVSS/NSVAC. 9-10
Étiquette de contrôle des émissions 9-11
Étiquette des pneus et d'information sur la charge 9-11
Étiquette des caractéristiques du climatiseur.......9-11
Installation de la plaque d'immatriculation avant . . .9-12
Information concerning le chargement du vehicule....9-12
Expressions. 9-12
Capacité de charge du vehicule. 9-13
Arrimage de la charge. 9-15
Dispositif de profilés Util-trackMC (selon l'équipement du vehicule) 9-16
Conseils pour le chargement 9-21
Information concernant le chargement de l'autocaravane séparable 9-22
Modèles à cabine double. 9-22
Modles King Cab. 9-22
Véhicules à carrosserie spéciale. 9-22
Emplacement du centre de gravite. 9-22
Capacité de charge utile du vehicule. 9-23
Mesure des poids 9-24
Traction d'une remorque. 9-24
Limits maxima de charge. 9-24
a r c t a r i s t i q u e s e t c h a r g e s d e r m o r q u a g e . . . . 9 - 29
Sécurité du remorquage. 9-29
Remorquage à plat 9-36
Classification uniforme de qualite de pneus. 9-37
Garantie relative au dispositif antipollution. 9-38
Défauts compromettant la sécurité (É.-U. seulement) 9-39
Préparation aux contrôles d'inspection et d'entretien 9-40
Enregistreurs de données d'evénement 9-41
Pour commander le manuel du conducteur ou le manuel de réparation. 9-41
En cas de collision. 9-42
CONTENANCES, CARBURANTS ET LUBRIFIANTS RECOMMANDÉS
Les contenances indiquées ci-après sont approximatives. Les contenances de replissage réelles peuvent varier légèrement. Au moment du replissage, suivez la méthode décrite dans le chapitre « Entretien et interventions du propriétaire » afin de déterminer les contenances déquates.
| Contenance (approximative) | Liquides, huiles et lubrifants recommends | ||||
| Mesures américaines | Mesures impériées | Litres | |||
| Carburant | 21 1/8 gallons US | 17 5/8 gallons | 80 | Essence sans plomb avec un indice d'octane de 87 (IOR 91) ou plus*1 | |
| Huile moteur*7Vidange et replissageAvec changement de filtré à huile | QR25DE | 5 1/8 pintes US | 4 3/8 pintes | 4,9 | • Huile moteur avec marque de certification API *2 |
| Sans changement de filtré à huile | 4 7/8 pintes US | 4 pintes | 4,6 | • Viscosité SAE 5W-30 | |
| Avec changement de filtré à huile | 5 3/8 pintes US | 4 1/2 pintes | 5,1 | • Huile moteur avec marque de certification API *2 | |
| Sans changement de filtré à huile | 5 1/8 pintes US | 4 1/4 pintes | 4,8 | • Viscosité SAE 5W-30 | |
| Circuit de refroidissementAvec un réservoir | QR25DE | 2 1/2 gallons US | 2 1/8 gallons | 9,4 | 50 % d'antigel d'origine NISSAN longue durée ou équivalent |
| VQ40DE | 2 3/4 gallons US | 2 1/4 gallons | 10,2 | 50 % d'eau déminéralisée ou distilée | |
| Huile pour boîte de vitesses manuelle | 5M/T | 3 pintes US | 2,5 pintes | 2,89 | Huile pour boîte de vitesses manuelle NISSAN d'origine HQ Multi 75W-85 ou API GL-4, viscosité SAE 75W-85 |
| 6 M/T 4X2 | 4 1/4 pintes US | 3 1/2 pintes | 3,98 | Huile pour boîte de vitesses manuelle NISSAN d'origine HQ Multi 75W-85 ou API GL-4, de viscosité SAE 75W-85 ou SAE 75W-90 | |
| 6 M/T 4X4 | 4 3/8 pintes US | 3 5/8 pintes | 4,18 | ||
| Huile pour boîte de vitesses automatique | Remplissez jusqu'à niveau adéquat selon les directives du chapitre « Entretien et interventions du propriétaire » | Huile pour boîte de vitesses automatique NISSAN Matic J d'origine *3 | |||
| Liquide de direction assistée (PSF) | Liquide de direction assistée NISSAN d'origine ou l'équivalent *4 | ||||
| Liquide de frein et d'embrayage | Liquide de frein de très haute tenue d'origine NISSAN *5 ou l'équivalent DOT 3 | ||||
| Graïse universelle | - | - | - | NLGI n° 2 (à base de savon de lithium) | |
| Frigorigène du système de climatisation | - | - | - | HFC-134a (R-134a) *6 | |
| Lubrissant de climatiseur | - | - | - | Lubrissant de climatiseur NISSAN de type R ou l'équivalent *6 | |
| Liquide de boîte de transfert | - | - | - | Huile pour boîte de vitesses automatique NISSAN Matic D d'origine (zone continentale des États-Unis et Alaska) ou hülle pour boîte de vitesses automatique NISSAN (Canada) *4, *9 | |
| Huile pour engrenages de commande finale avant | - | - | - | Huile à engrenage hypoïde pour différentiel NISSAN d'origine Super GL-5 80W-90 ou hülle pour engrenages API GL-5 SAE 80W-90, *8, *9 | |
| Huile pour engrenages de commande finale arrière (sauf les boîtes de vitesses manuelles à six rapports et les vehicules O/R) | - | - | - | Huile synthétique pour engrenages API GL-5 75W-90 ou l'équivalent, *9 | |
| Huile pour engrenages de commande finale arrière pour les boltes de vitesses manuelles à six rapports et les vehicules O/R seulement | - | - | - | Huile synthétique pour engrenages API GL-5 75W-140 ou l'équivalent, *9 | |
| Liquide lave-glace | 1 1/4 gallon US | 1 gallon | 4,5 | Liquide lave-glace concentré nettoyant NISSAN d'origine avec antigel ou l'équivalent | |
1 : Pour obtaining de plus amples renseignements à ce sujet, consultez la section « Recommendations relatives au carburant »
2 : Pour obtenir de plus amples renseignements à ce sujet, consultez la section « Recommandations relatives à l'huile moteur et au filtré à huile »
*3 : L'utilisation d'une hule pour boite de viseses automatique autre que l'huile NISSAN Matic J d'origine aura une incidence négative sur le fonctionnement et la durée de vie utile de la bolte de viseses et peut endommager la bolte de viseses; ces domages ne sont pas couverts par une garantie limitée de vehicule neuf NISSAN.
4: Au Canada, l'huile pour boite de vitesses automatique d'origine NISSAN, I'huile DEXRONMC III/MERCONMC, ou une huile pour boite de vitesses automatique équivalente peut également être utilisée.
5: Disponible chez les concessionnaires NISSAN de la zone continentale des États-Unis.
6 : Pour obtenir plus de détails à ce sujet, reportez-vous à la section « Étiquette des caractéristiques du climatiseur »
7 : Pour obtenir plus de détails à ce sujet, reportez-vous à la section « Vidange d'huile moteur »
8 : Dans les régions chaudes, utilisez une huile de viscosité SAE 90, conçue pour les températures ambantes supérieures à 0 °C (32 °F).
*9 : Consultez votre concessionnaire NISSAN pour l'entretien.
9-2 Données techniques et information au consommateur
RECOMMANDATIONS CONCERNANT LE CARBURANT
Pour les moteurs 2.5L
Utilisez une essence ordinaire sans plomb à indice d'octane de 87 ou plus (indice d'octane recherche de 91).
Pour les moteurs 4.0L
Pour obtenir un rendement optimal de votre vehicule, NISSAN recommende d'utiliser de l'essence super sans plomb avec un indice d'octane antidétonant de 91 ou plus (indice d'octane recherche de 96). Si de l'essence super sans plomb n'est pas disponible, vous pouvez utiliser de l'essence ordinaire sans plomb d'un indice d'octane antidétonant d'au moins 87 (indice d'octane recherche de 91), mais vous pourriez noter une baisse du rendement.
AMISE EN GARDE
-
L'utilisation de carburant autre que celui qui est prescrit pourrait nuir au fonctionnement du dispositif antipollution et avoir une incidence sur la couverture offerte par la garantie.
-
N'utilisez en aucune circunstance de l'essence au plomb dans votre vehicule, car vous pourriez endommager le catalyseur trifonctionnel.
- N'utilisez pas de carburant E-85 dans votre vehicule. Le carburant E-85 ne convient pas à votre vehicule. Le carburant E-85 peut endommager les composants du circuit d'alimentation en carburant et les frais encourus ne seraient pas couverts par la garantie limite de vehicule neuf NISSAN.
Spécifications pour l'essence
NISSAN recommende d'utiliser un carburant qui satisfait aux specifications de la charte mondiale des essences. Nombre de constructeurs de vehicules automobiles ont mis ces specifications au point pour améliorer le rendement du dispositif antipollution et du vehicule. Demandez au gérant de la station-service si le carburant satisfait aux specifications de la charte mondiale des essences.
Essence reformulée
Certains fournisseurs de carburant produit des essences reformulées. Celles-ci sont spécialement conçues pour réduire l'émission de gaz d'échéppement polluants par les vehicules. NISSAN encourage les initiatives visant à réduire la
pollution et vous recommende l'utilisation de ces essences, si celles-ci sont disponibles dans voitre région.
Essence contenant des substances oxygénées
Certaines stations-services vendent de l'essence contenant des substances oxygénées telles que l'éthanol, le MTBE (méthyl-tert-butyléther) et le methanol, bien que leur présence dans le carburant ne soit pas toujours clairément indiquée. NiSSAN déconseille l'utilisation de carburants dont la teneur en substances oxygénées et la compatibilité avec votre vehicule NiSSAN ne peuvent pas être facilement déterminées. En cas de doute, adressé-vous au gérant de la station-service.
Si vous utilisez une essence contenant des substances oxygénées, veuillez prendre les précautions énoncées ci-après, car l'utilisation de ce type de carburant peut compromètre le rendement du vehicule ou cause des dommages au circuit d'alimentation.
- L'essence doit être du carburant sans plomb avec un indice d'octane égal ou supérieur à celui recommendé pour l'essence sans plomb.
- Si une essence oxygénée est utilisée, sa teneur en substances oxygénées ne
doit pas dépasser 10% (sauf les mélanges de methanol). Le MTBE peut cependant atteindre une teneur de 15% .
- Si un mélange contenant du methanol est utilisé, sa teneur ne doit pas dépasser 5 % de methanol (alcool méthylique, alcohol de bois). Ce mélange doit aussi contenir une quantité suffisante de cosolvants et d'inhibiteurs de corrosion ajustés. Une mauvaise concentration de ces ingréductifs peut entraîner des dommages au circuit d'alimentation ou compromètre le rendement du vehicule. Pour l'instant, nous ne disposons pas de suffisamment de données pour nous assurer que tous les mélanges de methanol convenennent aux vehicules NISSAN.
Si des problèmes surgissant (calage du moteur ou démarrage difficile lorsque le moteur est chaud) après avoir utilisé des mélanges oxygénés, utilisez alors une essence ne contenant pas de substances oxygénées ou à faible teneur en MTBE.
Prenez soit de ne pas renverser d'essence lorsque vous faites le plein. L'essence contenant des substances oxygénées peut endommager la peinture.
Carburant E-85
Le carburant E-85 est un mélange d'environ 85 % d'éthanol et de 15 % d'essence sans plomb. Le carburant E-85 ne peut être utilisé que pour les vehicules à carburant mixte. N'utilise pas de carburant E-85 dans votre vehicule. La réglementation des É.-U. impose l'identification des pompes de carburant à base d'éthanol à l'aide d'une petite étiquette carrée orange et noire indiquant l'abréviation commune ou le pourcentage autorisé dans cette région.
Additifs de carburant
NISSAN déconseille l'utilisation de tout additif de carburant (p. ex., nettoyant d'injecteur de carburant, renforçateur d'octane, suppresseur de dépôt de soupape d'admission, etc.) vendu sur le marché. La majorité de ces additifs concus pour éliminer les dépôts degomme, de vernis ou autres peuvent containir des solvants actifs ou des ingrédients similaires qui peuvent nuire au circuit d'alimentation et au moteur.
A propos de l'indice d'octane
L'utilisation d'une essence à l'indice d'octane inférieur à l'indice préconisé peut entrainer des « cognements » forts et persistants (le « cognement » est un bruit de cliquetis métallique). S'il est de forte intense, ce cognement pourrait endommager
le moteur. Si un cognement persistant est audible, et ce, en dépit de l'utilisation d'essence à l'indice d'octane spécifique, ou si un cognement régulier est perçu à vitesse constante sur une route plane, faites corriger le problème par un concessionnaire NISSAN. Le fait de ne pas corriger cette condition constitue un usage abusif du vehicule pour lequel NISSAN se dégage de toute responsabilité.
Un calage incorrect de l'allumage peut causeur un cognement, l'auto-allumage ou une surchauffe du moteur qui, a leur tour, peuvent accroître la consommation de carburant ou endommager le moteur. Si vous notez la presence de l'un de ces symptômes, faites vérifier votre vehicule par un concessionnaire NISSAN.
Cependant, un léger cognement peut être brievement perçu à l'accelération ou dans les montées. Cette situation est normale, car sous condition de charge élevé du moteur, vous obtenez un meilleur rendissement du carburant lorsqu'il y a brievement un léger cognement.

MISE EN GARDE
- Le carburant E-85 ne convient pas à votre vehicule. L'utilisation du carburant E-85 peut endommager les composants du système d'alimentation en carburant, et ces dommages ne sont pas couverts par la Garantie limitée de vehicule neuf NISSAN.
Le carburant E-85 est un mélange d'environ 85 % d'ethanol et de 15 % d'essence sans plomb.
La réglementation des É.-U. impose l'identification des pompes de carburant à base d'éthanol à l'aide d'une petite étiquette carrée orange et noire indiquant l'abréviation commune ou le pourcentage autorisé dans cette région.

Marque de certification API

Symbole de service API
WTIO183
RECOMMANDATIONS RELATIVES À L'HUILÉ MOTEUR ET AU FILTRE À HUILÉ
Sélection de l'huile moteur appropriée
Le choix d'une huile moteur de catégorie, de qualité et de viscosité appropriées est essentiel pour préserver la durabilité et le rendement du moteur. Consultez la section « Contenances, carburants et lubrifiants recommendés » ci-dessus dans ce chapitre. NiSSAN recommends d'utiliser une huile à economie d'énergie pour améliorer la consommation de carburant.
Ne sélectionnez que des huiles moteur homologues par l'American Petroleum Institute (API) ou par l'International Lubricant Standardization and Approval Committee (ILSAC) et conformes à la norme de viscosité de la SAE. Ces huiles portent la marque d'homologation API à l'avant du contenant. N'utilise qu'une huile identifiée par le label de qualité spécifique. L'utilisation d'une huile non homologuée pourrait endommager le moteur.
Additifs d'huile
NISSAN déconseille l'utilisation d'additifs d'huile. L'utilisation d'un additif d'huile est super
flue lorsque le bon type d'huile est utilisé et que la périodicité d'entretien est respectée.
N'utilisez jamais une huile usagee ou susceptible deContainir des corps etrangers.
Viscosité de l'huile
La viscosité ou l'épaissur de l'huile moteur varie selon la température. Il est donc important de selectionner la viscosité de l'huile moteur en fonction des températures auxquelles le vehicule sera utilisé, et ce, jusqu'à la prochaine vidange d'huile. Le choix d'une huile moteur de viscosité autre que cette recommandée peut cause der graves dommages au moteur.
Choix du bon filtré à huile
Votre vehicule NISSAN neuf est muni d'un filtré à huile NISSAN d'origine de qualité supérieure. Remplacez-le par un filtré NISSAN d'origine ou l'équivalent pour les motifs stipulés dans « Intervalles de changement »
Intervalles de changement
Les intervalles de changement d'huile moteur et de filtrer à huile pour votre moteur sont déterminés en fonction de l'utilisation d'huiles et de filtres de la qualité spécifique. L'utilisation d'une huile moteur et d'un filtré de moindre qualité ou le dépassement des intervalles de changement peuvent réduire la vie utile du moteur. Tout dommage au
mateur causé par un entretien incorrect ou par l'utilisation d'une huile de viscosité inadéquate, ou d'un filtré de mauvaise qualité, n'est pas couvert par la garantie limitée de vehicule neuf NISSAN.
Votre moteur a ete rempli a l'usine d'une huiile moteur de qualite superieure. Il n'est pas necessaire de vidanger l'huile moteur avant le premier intervalle recommande. Les intervalles de vidange d'huile moteur et de remplacement du filtrer varient selon l'utilisation que vous faites du vehicule.
Si vous utilisez votre vehicule dans les conditions suivantes, vous devrez vidanger l'huile moteur et replacer le filtré plus fréquement:
- trajets repétés sur de courtes distances par temps froid;
- conduite sur des routes poussièresuses;
periodes de ralenti prolongées; - traction d'une remorque;
- conduite en ville.
Consultez le « Guide d'entretien et de réparation NiSSAN » pour obtenir le programme d'entretien périodique.
RECOMMANDATIONS CONCERNANT LE FLUIDE FRIGORIGÉNE ET LE LUBRIFIANT DU CLIMATISEUR
Le climatiseur de votre vehicule NISSAN utilise du frigorigène HFC-134a (R-134a) et du lubricifant pour climatiseur NISSAN de type S ou des produits strictement équivalents.
AMISE EN GARDE
L'utilisation de tout autre frigorigène ou lubricifant causera des dommages graves au système de climatisation. Tous les composants de ce dernier devront alors être replacés.
Le frigorigène HFC-134a (R-134a) ne nuit pas à la couche d' ozone. Bien que ce frigorigène n'ait pas d'impact sur l'atmosphère, la récapération et le recyclage du frigorigène au moment de l'entretien d'un climatiseur automobile sont obligatoires en vertu de certains règlements gouvernementsaux. Un concessionnaire NiSSAN dispose des techniciens qualifiés et de l'équipment nécessaire pour recupérer et recycler le frigorigène de votre climatiseur.
Pour proceder à l'entretien de votre climatisationur, adressez-vous a un concessionnaire NISSAN.
MOTEUR
| Modèle | QR25DE | VQ40DE | |
| Type | Essence, 4-temps, double arbre à cames en tête | Essence, 4-temps, double arbre à cames en tête | |
| Disposition des cylindres | 4 cylindres en ligne | 6 cylindres, bloc en V, incliné à 60° | |
| Alésage x course | mm (po) | 89 x 100 (3,5 x 3,9) | 95,5 x 92 (3,760 x 3,622) |
| Cylindrée | cm³ (po³)³ | 2 488 (151,82) | 3 954 (241,30) |
| Séquence d'allumage | 1-3-4-2 | 1-2-3-4-5-6 | |
| Régime de ralenti | |||
| Boîte de vitesses manuelle | |||
| Boîte de vitesses automatique (à la position « N ») | Consultez l'étiquette d'information du dispositif antipollution apposée sous le capot. | ||
| Calage de l'allumage (degré avant le PMH au régime de ralenti) | |||
| % de CO au ralenti | |||
| Normale | PLZKAR6A-11 | PLFR5A-11 | |
| Bougie d'allumage | Chaude | PLZKAR5A-11 | PLFR4A-11 |
| Froide | PLZKAR7A-11 | PLFR6A-11 | |
| Écartement des bougies d'allumage (nominal) | mm (po) | 1,1 (0,043) | 1,1 (0,043) |
| Commande de l'arbre à cames | Chaîne de distribution | Chaîne de distribution | |
L'allumage commande de ce vehicule est conforme aux exigences du Reglement sur le matériel brouilleur du Canada.
ROUES ET PNEUS
| Roues | 15 x 7,0J |
| 16 x 7,0J | |
| 17 x 7,5J | |
| Pneus | P235/75R15 |
| P265/70R16 | |
| P265/75R16 | |
| P265/65R17 | |
| Roue de secours | Classique |
DIMENSIONS ET POIDS
| Longueur hors tout | mm (po) | 5220(205,5) |
| Largeur hors tout | mm (po) | 1850 (72,8) |
| Hauteur hors tout | ||
| Avec porte-bagages | mm (po) | 1879 (74,0) |
| Sans porte-bagages | ||
| King cab | mm (po) | 1770 (69,6) |
| Cabine double | mm (po) | 1780 (70) |
| Voie avant | ||
| King cab | mm (po) | 1225 (48,2) |
| Cabine double | mm (po) | 1570 (61,8) |
| Voie arrrière | ||
| King cab | mm (po) | 1570 (61,8) |
| Cabine double | mm (po) | 1567 (61,7) |
| Empattement | mm (po) | 3200(125,9) |
| Poids nominal brut du vehicule | kg (lb) | Consultez l'étiquette d'homologation |
| Poids technique maximal sous essieu (PTME) | « FMVSS/NSVAC » ap- posée sur le pied milieu entre les portières avant et arrrière, du côte du conducteur. | |
| Avant | kg (lb) | |
| Arrière | kg (lb) |
VOYAGES OU IMMATICULATION DU VEHICULE À L'ÉTRANGER
IDENTIFICATION DU VÉHICULE
Si vous prévoyez conduire votre vehicule NISSAN dans un autre pays, assurez'-vous d'abord que vous y trouvrez du carburant convenant au moteur de votre vehicule.
L'utilisation d'un carburant à l'indice d'octane trop bas peut endommager le moteur. Tous les vehicules à essence doivent utiliser de l'essence sans plomb. Évitez donc de conduirer votre vehicule dans des régions ou des pays où le carburant ajustat n'est pas disponible.
Il peut être nécessaire de modifier votre vehicule afin de le rendre conforme aux lois et réglementations locales s'il doit être immatriculé dans un autre pays, province, État ou district.
Les lois et reglementations régissant le contrôle des émissions du vehicule et les normes de sécurité des vehicules varient selon le pays, la province, l'Etat ou le district. Par conséquent, les specifications requises pour un vehicule peuvent être différentes.
Lorsqu'un vehicule doit'être immatriculé dans un autre pays, province, État ou district, les frais de modification, de transport et d'immatriculation sont à la charge du propriétaire. NISSAN décline toute responsabilité à cet égard.

PLAQUE DU NUMERO D'IDENTIFICATION DU VEHICULE (NIV)
La plaque du numero d'identification du vehicule (NIV) est fixée à l'endetroit illustré. Ce numero identifie votre vehicule et il est requis au moment de l'immatriculation du vehicule.

NUMERO D'IDENTIFICATION DU VEHICULE (numéro du chassin)
Le numero d'identification du vehicule (NIV) est situé à l'endetroit illustré.

Moteur QR25DE
NUMERO DE SÉRIE DU MOTEUR
Le numero estgrave sur le moteur a l'endetroit illustré.

Moteur VQ40DE

ÉTIQUETTE D'HOMOLOGATION FMVSS/NSVAC
L'étiquette d'homologation des normes fédérales de sécurité des vehicules automobiles du Canada (FMVSS/NSVAC) est posée tel qu'indique. Cette étiquette présente des renseignements importants relatifs au vehicule, tels que: le poids nominal brut du vehicule (PNBV), le poids technique maximal sous essieu (PTME), le mois et l'année de fabrication, le nombre d'identification du vehicule (NIV), etc. Lisez attentivement cette étiquette.

ÉTIQUETTE DE CONTROLE DES ÉMISSIONS
L'étiquette d'information du dispositif antipollution est apposée sous le capot, à l'endetroit illustré.

ÉTIQUETTE DES PNEUS ET D'INFORMATION SUR LA CHARGE
La pression de gonflage à froid des pneus est indiquée sur l'étiquette des pneus et d'information sur la charge. L'étiquette est appossee à l'endroit illustré.

ÉTIQUETTE DES
CARACTERISTIQUES DU
CLIMATISEUR
L'étiquette des caractéristiques du climatiseur est apposée sous le capot, à l'endetroit illustré.
INSTALLATION DE LA PLAQUE D'IMMATICULATION AVANT

Pour installer la plaque d'immatriculation avant, suivez les étapes décrites ci-après :
- Percez des trou s dans le repere (petite depressiion) de la garniture en plastique au moyen d'une meche de 9,5 mm (0,37 po). N'applique qu'une legere pression sur la perceuse. Inserez les deux oeillets de plastique fournis. Installez le support de plaque d'immaticulation au moyen des deux boulons (et des rondelles) fournis.
- Fixez la plaque d'immatriculation au moyen de deux boulons M6-14 mm.
Couple de serrage des boulons de la plaque d'immatriculation : de 5,10 à 6,37 N·m (de 3,8 à 4,7 Ib-pi)
INFORMATION CONCERNANT LE CHARGEMENT DU VEHICULE

AVERTISSEMENT
- Il est extrémement dangereux de prendre place dans l'aire de chargement d'un vehicule lorsque le vehicule est en marche. Les personnes s'y trouvant sont beaucoup plus susceptibles de subir des blessures graves, voire mortelles, en cas de collision.
- Ne permettez jamais à un passagier de s'asseoir ailleurs que dans un siège muni d'une ceinture de sécurité.
Assurez-vous que tous les passagers de votre vehicule ont pris place sur un siège et qu'ils ont bien bouclé leur ceinture de sécurité.
EXPRESSIONS
Avant de charger votre vehicule, il est important de vous familiariser avec la terminologie suivante :
- Poids à vide (poids réel du vehicule) - poids du vehicule compensant l'équipement de série et celui offert
en option, les liquides, les outils de secours et la roue de secours. Ce poids ne comprend pas les passagers et les bagages.
- PTAC (poids total autorisé en charge) - poids à vide du vehicule plus le poids combiné des passagers et des bagages.
- PNBV (poids nominal brut du vehicule) - poids total maximal du vehicule non charge, des passagers, des bagages, de l'attelage, de la charge sur la languette de remorque et de tout autre équipement offert en option. Ces renseignements sont inscrits sur l'étiquette d'homologation FMVSS/NSVAC.
- PTME (poids technique maximal sous essieu) - poids maximal (vehicule charge) spécifique pour l'essieu avant ou arrière. Ces renseignements sont inscrits sur l'étiquette d'homologation FMVSS/NSVAC.
- PTMC (poids technique maximal combiné) - poids nominal total maxi
mal du vehicule, des passagers, de la charge et de la remorque.
- Capacité du vehicule, limite de charge, capacité de charge totale - poids total maximal spécifique pour la charge (passagers et charge) du vehicule. Il s'agit du poids total maximal des occupants et de la charge que le vehicule peut accueillir. Si le vehicule est utilisé pour tirer une remorque, la charge à la languette de remorque doit être comprise dans le calcul du poids de la charge. Ces renseignements se trouvent sur l'étiquette des pneus et d'information sur la charge (selon l'équipement du vehicule).
- Capacité de charge - poids admissible de la charge résultat de la soustraction du poids des occupants de la limite de charge.
CAPACITÉ DE CHARGE DU VEHICULE
Avant de démarrer avec un vehicule charge, assurez-vous que votre vehicule n'excède pas le poids nominal brut (PNBV) ou le poids technique maximal sous essieu (PTME) spécifiés. Les spécifications relatives au PNBV et au PTME sont indiquées sur l'étiquette FMVSS/NSVAC. Consultez la section « Mesure des poids » plus loin dans ce chapitre.
Ne dépassez pas la limite de charge de votre vehicule indiquée à « Poids combiné des passagers et des bagages » sur l'étiquette d'information sur les pneus et la charge. Ne dépassez pas le nombre d'occupants indiqué à « Nombre de places » sur l'étiquette d'information sur les pneus et la charge (selon l'équipement du vehicule).
Pour obtenir le « poids combiné des passagers et des bagages », additionnez le poids de tous les occupants, puis ajoutez le poids total des bagages. L'illustration suivante présente des exemples.

Étapes pour déterminer la limite de charge correcte
- Recherche la mention « Le poids combiné des occupants et de la charge ne doit jamais dépasser XXX kg ou XXX Ib » sur l'étiquette du vehicule.
- Determinez le poids combiné du conducteur et des passagers qui prendront place dans votre vehicule.
- Faites la soustraction du poids combiné du conducteur et des passagers de XXX kg ou XXX lb.
-
Le résultat est égal à la capacité de charge disponible pour la charge et les bagages. Par exemple, si XXX égale 640 kg et qu'il y aura cinq passagers de 68 kg dans notre vehicule, la capacité de charge de l'espace utilisé et du portebagages sera de 300 kg (640 - 340 [5 × 68] = 300 kg) ou (1 400 - 750 [5 × 150] = 650 lb).
-
Détérminez le poids combiné de la charge et des bagages charges dans le vehicule. Pour votre sécurité, ce poids ne peut pas dépasser la capacité de charge disponible pour la charge et les bagages calculée à l'étépe 4.
-
Si votre vehicule doit être utilisé pour tracter une remorque, une certaine charge de la remorque sera transférée à votre vehicule. Consultez ce manuel pour déterminer comment ceci réduit la capacité de charge disponible pour la charge et les bagages de votre vehicule.
Avant de démarrer avec un vehicule charge, assurez-vous que votre vehicule n'excède pas le poids nominal brut (PNBV) ou le poids technique maximal sous essieu (PTME) spécifiés. Reportez-vous à la section « Mesure des poids », plus loin dans ce chapitre.
Assurez-vous également que la pression de gonflage des pneus est adequate. Voir l'étiquette des pneus et d'information sur la charge.

ARRIMAGE DE LA CHARGE
Des crochets d'arrimage pratiques (selon l'équipement du vehicule) se trouvent dans chaque coin de la caisse du camion. Ils peuvent être utilisés pour fixer toute charge dans la caisse du camion.
A VERTISSEMENT
Fixez solidement tous les bagages à l'aide de cordes ou de sangles afin d'eviter qu'ils ne glissent ou se déplacent. N'empilez pas les bagages plus haut que les dossiers de sièges. En cas d'arrêt brusque ou de collision, les bagages non retenus pourraient entraîner des blessures.
Veillez à ne pas dépasser le PNBV (poids nominal brut du vehicule) ou le PTME (poids technique maximal sous essieu) avant et arrêté lorsque vous chargez cette vehicule. Si vous dépassez ces specifications, des pieces peuvent se briser, les pneus peuvent s'user prematurément et la tenue de route peut être compromise au point de vous faire perdre la maitrise de cette vehicule et de cause des blessures.

- Profilés lateraux
- Profilé de baie de lunette arrête
- Sections de profilé
- Profilés de plancher
DISPOSITIF DE PROFILES
UTILI-TRACKMC (selon l'equipement du vehicule)
A VERTISSEMENT
- Installez et serrez ajustement les attaches d'ancrage dans le dispositif de profilés Utili-trackMC. N'attache pas de cordes ou de sangles directement aux profilés. Le chargement ne sera pas correctement arrimé si les anneaux sont mal installés dans les profilés, ou si des cordes ou des sangles sont directement attachées aux profilés. En cas d'arrêt brusque ou de collision, les bagages non retenus pourrait entraîner des blessures.
Fixez solidement tous les bagages à l'aide de cordes ou de sangles afin d'eviter qu'ils ne glissent ou se déplacent. En cas d'arrêt brusque ou de collision, les bagages non retenus pourraient entraîner des blessures.
Les attaches d'ancrage du dispositif de profilés Utili-trackMC peuvent etre déplacées au meilleur endroit pour fixer solidement le chargement.
Les attaches d'ancrage doivent être installées de manière à ce qu'elles soient logées ajustement dans les encoches de longeron. Des attaches qui ne sont pas bien logées dans les encoches dépasseront du longeron et ne pourront pas été serrées ajustement. Le boulon situé
au centre de chaque attache doit être serré à la main (de 20 à 40 lb-po).
Pendant un déplacement, assurez-vous régulierment que les boulons centraux des attaches ne sont pas desserrés.
Pour installer une attache,procédez comme suit :
- Retirez les protecteurs des profilés en les glissant vers l'arrière du plateau du camion. Rangez correctement les protecteurs de profilés.
- Desserrez complètement le boulon central.

3. Insérez l'attache perpendicularément dans le profilé tel qu'illustré. Tournez ensuite l'attache de 90^ dans le sens des aiguilles d'une montre et glissez-la à la position désirable.

4. Placez l'attache de maniere à ce que les bourrelets se trouvant au bas de l'attache soient totalement logés dans les crans du profilé.

5. Il ne doit pas y avoir de jeu entre le bas de l'attache et le dessus du profilé. Serrez le boulon central à la main (de 20 à 40 lb-po).


MISE EN GARDE
- Installes seulement une attache par section de profilé.
- L'application de charges selon un angle supérieur à 45^ par rapport aux attaches, ou encore de charges supérieures à 70 kg (profilés de baie et de plancher) ou à 93 kg (profilés lateraux), peut endommager le profilé ou le plateau.
LTI0106

1 Installation correcte 2 Installation incorrecte
A VERTISSEMENT
N'installez aucun accessoire au-dessus de l'espace situé entre les rails latéraux avant et arrêté. Sinon, la structure arrière pouraient être affectée en cas de collision arrêté et cause des blessures graves.

AMISE EN GARDE
Fixez solidement tous les bagages à l'aide de cordes ou de sangles afin d'eviter qu'ils ne glissent ou se déplacent. Utilisez les arrêts d'extrémités de profilés pour fixer solidement les articles dans les profilés afin d'eviter qu'ils ne glissent à l'extérieur du plateau.
Arrêtoirs d'extrémité de profilés (selon l'équipement du vehicule)
Les arrêtoirs d'extrémité de profilés doivent être utilisés pour éviter que les accessoires installés dans les profilés ne glissent ou ne tombent à l'extrémité du plateau de camion.
Ils doivent être installés de manière à ce qu'ils soient ajustement logés dans les crans des profilés.
Pour installer un arrêtoir d'extrémité de profilé, procédez comme suit :
- Retirez les protecteurs des profilés en les glissant vers l'arrière du plateau du camion. Rangez correctement les protecteurs de profilés.
- Desserrez l'écrou situé au centre de l'arrêtoir d'extrémité au moyen de la clé fournie et insérez-le dans le profilé.
- Placez l'arretoir d'extrémité à la position dé-sirée sur le profilé de manière à ce que les bourrelets au bas de l'arretoir soient totallement logés dans les crans du profilé.
- Resserrez l'écrou situé au centre de l'arrêtoir d'extrémité au moyen de la clé fournie.
CONSEILS POUR LE CHARGEMENT
Le PTAC ne doit pas dépasser le PNBV ou le PTME précises sur l'etiquette d'homologation FMVSS/NSVAC.
- Ne chargez pas l'essieu avant et arrrière jusqu'à la limite du PTME. Le PNBV serait alors dépasse.
AVENTISSEMENT
Fixez solidement tous les bagages à l'aide de cordes ou de sangles afin d'eviter qu'ils ne glissent ou se déplacent. N'empirez pas les bagages plus haut que les dossiers de sièges. En cas d'arrêt brusque ou de collision, les bagages non retenus pourraient entraîner des blessures.
Veillez à ne pas dépasser le PNBV (poids nominal brut du vehicule) ou le PTME (poids technique maximal sous essieu) avant et arrrière lorsque vous chargez votre vehicule. Si vous dépasseces des specifications, des pieces peuvent se briser, les pneus peuvent s 用户 prématurément et la tenue de route peut être compromise au point de vous faire perdre la maïtrise de votre vehicule et de causeurs des blessures.
- La surcharge peut non seulement diminuer la durée de vie du vehicule et des pneus, mais elle peut aussi rendre le vehicule dangereux et demander de plus longues distances de freinage. Ceci peut occasionner une défaillance prematurée des pneus pouvant entraîner un accident grave et des blessures. Les défaillances causées par les surcharges ne sont pas couvertes par la garantie de votre vehicule.
INFORMATION CONCERNANT LE CHARGEMENT DE L'AUTOCARAVANE SÉPARABLE
MODELES A CABINE DOUBLE
Les modèles à cabine double ne doivent pas été utilisés pour y installer une campeuse amovible.
MODELES KING CAB
Les renseignements fournis ci-après indiquent comment installer correctement une campeuse amovible conformément aux réglementations de la National Highway Traffic Safety Administration des États-Unis. Avant d'installer l'autocaravane, nous vous recommandons de dire attentivement l'information suivante et de vous assurer que l'autocaravane est conforme aux spécifications.
Cette information peut ne pas s'appliquer à certains modèles de vehicules offerts au Canada.
VÉHICULES À CARROSSERIE SPÉCIALE
Certains vehicules sont équipés de carrosseries commerciales ou d'autocaravane. Cependant, ce manuel du conducteur ne couvre pas ces options. Pour obtenir d'information à ce sujet, consultez le manuel de directives du fabricant de carrosserie.

EMPLACEMENT DU CENTRE DE GRAVITÉ
L'illustration indique l'emplacement recommendé pour le centre de gravité du chargement.
Modèle King Cab :
$$ \mathrm {L} 1 = 1 0 5 4 \mathrm {m m} (4 1, 5 \mathrm {p o}) $$
A VERTISSEMENT
Une répartition incorrecte de la charge peut être dangereuse. Une charge concentrée vers l'arrière peut affecter le comportement du vehicule, tandis qu'une charge concentrée vers l'avant risque de trop peser sur l'essieu avant.

Lorsque le camion est utilisé pour transporter une campeuse amovible, la charge totale du camion correspond au poids indiqué par le fabricant de l'autocaravane, plus :
- le poids de tout équipement additionnel installé sur l'autocaravane et non inclus dans le poids indiqué par le fabricant de l'autocaravane;
- le poids de la charge de l'autocaravane;
- le poids des occupants de l'autocaravane.
La charge totale ne doit pas dépasser la charge utile nominale du camion et le centre de gravité de l'autocaravane doit se situer à l'emplacement
du centre de gravité recommendé du camion, une fois l'autocaravane installée.
AVERAGEMENT
Surcharger le vehicule ou le charger de façon inadéquate peut avoir des conséquences négatives sur le comportement routier, sur le freinage et sur le rendement de votre vehicule, et peut cause des accidents.
CAPACITÉ DE CHARGE UTILE DU VÉHICULE
La capacité de charge utile du vehicule indiquée sur l'étiquette d'information sur les pneus et la charge (reportez-vous à la section « Étiquette d'information sur les pneus et la charge » du present chapitre) correspond au poids total maximal des passagers, de l'équipement en option (climatiseur, attelage de remorque, etc.) et de la charge que votre vehicule peut transporter.
Avant de démarrer avec un vehicule charge, assurez-vous que votre vehicule n'excède pas le poids nominal brut (PNBV) ou le poids technique maximal sous essieu (PTME) spécifiés. Pour plus de renseignements, reportez-vous à la section « Information relative au chargement du vehicule » plus tout dans ce chapitre.
TRACTION D'UNE REMORQUE
Assurez-vous également que la pression de gonflage des pneus est adequate. Voir l'etiquette des pneus et d'information sur la charge.
MESURE DES POIDS
Fixez solidement les articles susceptibles de se déplacer afin d'éviter des changements de poids qui pouraient nuire à l'équilibre de votre vehicule. Arrêtez-vous dans un endroit qui possède une balance lorsque votre vehicule est charge et faites-y peser les roues avant et arrrière séparément afin de déterminer la charge sur les essieux. La charge sur les essieux avant ou arrière ne doit pas excéder le poids technique maximal sous essieu (PTME). La charge totale sur les essieux ne doit pas excéder le poids nominal brut du vehicule (PNBV). Ces mesures de poids sont indiquées sur l'étiquette d'homologation de votre vehicule. Si les charges de votre vehicule excédent ces mesures, déplacez ou retirez des bagages pour que leur poids se situe en début des limites de charge préconisées.
AVERAGEMENT
Surcharger la remorque ou la charger de façon inadéquate peut avoir des conséquences négatives sur le comportement routier, sur le freinage et sur le rendement de votre vehicule, et peut ainsi cause des accidents.
AMISE EN GARDE
- Ne tractez pas de remorque ni de charges lourdes pendant les 800 premiers kilometres (500 milles) parcours avec votre vehicule. Vous pourriez endommager le moteur, les essieux ou autres pieces de votre vehicule.
- Sur les 800 premiers kilomètres (500 milles) pendant lesquels vous tractez une remorque, ne dépassez pas 80km/h (50 mi/h) et ne démarrez pas à plein régime. Le moteur et les autres pieces du vehicule peuvent ainsi être nouveaux rods alors qu'ils sont en charge.
Votre vehicule a ete concu principalement pour le transport de passagers et de bagages. La traction d'une remorque impose des contraintes additionnelles au moteur, à la boite de vitesses, à la direction, au circuit de freinage ainsi qu'aux autres composants du vehicule.
Un guide de remorquage NISSAN (É.-U. seulement) est disponible à l'adresse www.nissanusa.com. Ce guide présente des renseignements sur la capacité de remorquage et sur l'équipment spécial de remorquage.
LIMITES MAXIMALES DE CHARGE
Charges maximales de remorque
Ne dépassez jamais les valeurs de charge totale de la remorque précisées dans le Tableau des caractéristiques et des charges de remorquage ci-dessous dans le present chapitre. La charge totale de la remorque est égale au poids de la remorque plus le poids de sa charge.
- Lorsque le vehicule tracte une remorque d'une charge de plus de 1587 kg (3500 lb), une remorque à circuit de freinage DOIT être utilisée.
Le poids technique maximal combiné (PTMC) ne doit pas dépasser la valeur précisé dans le Tableau des caractéristiques et des charges de remorquage qui suit.

Le poids technique maximal combiné (PTMC) correspond au poids combiné du vehicule qui tire la remorque (incluant les passagers et les bagages) et de la charge totale de la remorque. Une charge de remorquage supérieure à la limite spécifique ou l'utilisation d'un équipement de traction de remorque inadéquat peut comprometer le comportement routier, le freinage et le rendement du vehicule.
La capacité de remorquage n'est pas seulement liée aux charges maximales de la remorque. Elle dépend aussi des endroits où vous prévoyez tracter une remorque. Les charges de remorquage acceptables pour la conduite sur autoroute peuvent devoir être réduites lorsque
l'adherence est moindre (par exemple, sur des rampes de mise à l'eau glissantes).
Les conditions de température peuvent également affecter le remorquage. Par exemple, la traction d'une remorque lourde par temps chaud sur des montées peut affecter le rendement du moteur et causer une surchauffe. Le mode de protection du moteur, qui aide à réduire les risques de dommages au moteur, pourrait s'activer et réduire automatiquement la puissance du moteur. La vitesse du vehicule peut diminuer lorsque la charge est élevée. Planifiez votre voyage soignement, en tenant compte de la charge du vehicule et de la remorque, ainsi que les conditions de température et de la route.

AVENTISSEMENT
Une surchauffe peut entrainer une réduction de la puissance du moteur et de la vitesse du vehicule. Une vitesse inférieure à celle de la circulation fait augmenter les risques de collision. Soyez particulièrement prudent pendant la conduite. Dirigez votre vehicule vers un emplacement sécuritaire de l'accotement. Laissez le moteur revenir à sa température normale de fonctionnement. Consultez la section « Si le moteur surchauffe » du chapitre « En cas d'urgence »

MISE EN GARDE
Les dommages résultat d'un remorquage inadéquat ne sont pas couverts par les garanties NISSAN.

Charge sur le timon
Lorsque vous utilisez un attelage porteur ou a distribution de charge, le timon doit porter entre 10% et 15% de la charge totale de la remorque, tout en respectant les limites de charge maximales sur le timon indiquées dans le Tableau des caractéristiques et des charges de remorquage qui suit. Si la charge sur le timon est trop élevé, déplacez la charge dans la remorque.

Poids total autorisé en charge (PTAC) maximal/poids sous essieu (PSE) maximal
Le PTAC du vehicule tracteur ne doit pas dépasser le poids nominal brut du vehicule (PNBV) indiqué sur l'étiquette d'homologation FMVSS/NSVAC. Le PTAC équivaut au poids total du vehicule vide, des passagers, des bagages, de l'attelage, de la charge sur le timon et de tout autre équipement en option. De plus, le PSE avant ou arrière ne doit pas dépasser le poids technique maximal sous essieu (PTME) indiqué sur l'étiquette d'homologation FMVSS/NSVAC.
Les capacités de remorquage sont calculées en fonction d'un vehicule de base avec conducteur et toutes les options requises pour atteindre le poids nominal. Les passagers additionnels, la charge et l'équipement en option, comme l'attelage de remorque, ajoutent du poids au vehicule et réduisent la capacité de remorquage maximale et la charge sur le timon.
Le vehicule et la remorque doivent etre peses pour confirmer que le vehicule respecte le PNBV, le PTME avant,le PTME arriere,le poids technique maximal combiné (PTMC) et la capacité de remorquage.
Tous les poids du vehicule et de la remorque doivent être mesurés à l'aide d'une balance à bascule qui se trouve généralement aux reliais routiers, aux postes de pesée, aux centres d'approvisionnement ou aux dépôts de nouveaux vehicules.
Procedez comme suit pour déterminer la capacité de charge utile sur le timon.
- Repérez le PNBV sur l'étiquette d'homologation FMVSS/NSVAC.
-
Pesez Your vehicle sur la balance avec tous les passagers et la charge qui se trouvent normalement dans le vehicule lors de la traction d'une remorque.
-
Soustrayez le poids réel du vehicule du PNBV. Le résultat est la charge maximale sur le timon.
Procedez comme suit pour déterminer la capacité de remorquage disponible.
- Repérez le PTMC de votre vehicule dans le Tableau des caractéristiques et des charges de remorquage ci-dessous du present chapitre.
- Soustrayez le poids reel du vehicule du PTMC. Le résultat est la capacité de remorquage Tmaxale.
Pour déterminer le poids brut de la remorque, pesez votre remorque sur une balance avec l'équipment et la charge qui se trouvent normalement dans la remorque lorsqu'elle est remorquee. Assurez-vous que le poids brut de la remorque n'excède pas le poids nominal brut de la remorque ni la capacité maximale de remorquage calculée.
Pesez aussi les essieux avant et arrêtre sur la balance pour vous assurer que le poids technique maximal sous les essieux avant et arrêtre n'excède pas les valeurs précisées sur l'étiquette d'homologation FMVSS/NSVAC. Il faut parfois déplacer ou enlever la charge dans la remorque et le vehicule pour respecter les valeurs précises.
Example :
Le poids total autorisé en charge (PTAC) pesé sur une balance - y compris les passagers, la charge et l'attelage - est de 2 352 kg (5 185 lb).
Le poids nominal brut du vehicule (PNBV) sur l'etiquette d'homologation FMVSS/NSVAC est de 2638 kg (5 815 lb).
Le poids technique maximal combiné (PTMC) du tableau des caractéristiques et des charges de remorquage est de 5 050 kg (11 133 lb).
- La capacité maximale de remorquage du tableau des caractéristiques et des charges de remorquage est de 2767 kg (6100 lb).
| 2 638 kg (5 815 lb). | PNBV |
| - 2 352 kg (5 185 lb). | PTAC |
| = 286 kg (630 lb) | Disponible pour la charge sur le timon |
| 5 050 kg (11 133 lb) | PTMC |
| - 2 352 kg (5 185 lb). | PTAC |
| = 2 698 kg (5 948 lb) | Capacité disponible pour le remorquage |
| 286 kg (630 lb) | Charge sur le timon disponible |
| / 2 698 kg (5 948 lb) | Capacité disponible |
| = 10,6 % de la charge sur le timon | |
Dans ce cas, la capacité de remorquage disponible est de 69kg (152 lb) inférieure à la capacité de remorquage maximale à cause des passagers et de la charge dans le vehicule.
Surface frontale de la remorque

MISE EN GARDE
Dans certains cas, la capacité de remorquage de votre vehicule pourrait se réverler insuffisante si la surface frontale de la remorque dépasse les valeurs prévues. Cette situation pourrait nuire au rendement de votre vehicule en traction et même l'endommager.
La surface frontale d'une remorque affecte la charge imposée sur celle-ci. La valeur de la surface frontale représentée la somme des surfaces du vehicule et de la remorque qui sont soumises à la pression de l'air en traction. Ne dépassez pas la valeur de surface frontale maxime de la remorque telle que spécifiée dans le « Tableau des caractéristiques et des charges de remorquage ». La surface frontale se calcule en multipliant la largeur par la hauteur de la remorque. Par exemple, une remorque de 2,4 m (8 pi) de largeur par 1,8 m (6 pi) de hauteur donne une surface frontale de 4,46 metres carrés (48 pieds carrés).
CHARACTERISTIQUES ET CHARGES DE REMORQUAGE
| King Cab, 2 roues motrices (4 cylindres) | King Cab, 2 roues motrices (6 cylindres) | King Cab, 4 roues motrices (6 cylindres) | Cabine double, 2 roues motrices | Cabine double, 4 roues motrices | |
| Capacité de remorquage *1, *2 | 1 588 kg (3 500 lb) | 2 949 kg (6 500 lb) | 2 858 kg (6 300 lb) | 2 858 kg (6 300 lb) | 2 767 kg (6 100 lb) |
| Charge sur le timon*2 | 158 kg (350 lb) | 295 kg (650 lb) | 285 kg (630 lb) | 285 kg (630 lb) | 276 kg (610 lb) |
| Poids technique maximal combiné (PTMC) | 3 600 kg (7 936 lb) | 5 050 kg (11 133 lb) | 5 050 kg (11 133 lb) | 5 050 kg (11 133 lb) | 5 050 kg (11 133 lb) |
| Surface frontale maximale de la remorque | 5,52 mètres carrés (60 pieds carrés) | ||||
*1:
- Les valeurs de capacité de remorquage sont calculées en partant d'un vehicule de base avec conducteur ainsi que toutes les options requises pour atteindre la capacité. Les passagers, la charge et l'équipment fidactatif additionnels ajouteront du poids au vehicule et réduiront la capacité de remorquage maximal de votre vehicule.
- Toute charge supérieure à 454 kg (1 000 lb) requiert l'utilisation d'une remorque équipée d'un circuit de freinage. NISSAN commande l'utilisation d'une remorque à essieu tandem pour supporter des charges de plus de 1 361 kg (3 000 lb).
*2 : La capacité de remorquage maximale lorsque vous utilisez le pare-chocs à marchepied d'origine NISSAN comme support de boule est de 1 588 kg (3 500 lb) et de 158 kg (350 lb) de charge sur le timon.
SECURITE DU REMORQUAGE
Attelage de remorque
Votre vehicule peut etre equipe d'un ensemble de remorquage en option. L'ensemble de remorquage comprend un attelage de type recepteur monte sur le cadre. Cet attelage est prevu pour la capacité de remorquage maximale de ce vehicule
lorsque l'équipement de remorquage approprié est utilisé. Sélectionnez un attelage à boule et une boule d'attelage appropriés prévus pour votre vehicule et la remorque à tirer. Des attelages à boule NISSAN d'origine et des boules d'attelage sont disponibles chez votre concessionnaire NISSAN.
Si vous véchicule n'est pas équipé de l'ensemble de remorquage en option, vérifie la capacité de remorquage de l'attelage du pare-chocs de votre vehicule ou de l'attelage de type récepteur monté sur le cadre. Choisissez un attelage convenant aussi bien à votre vehicule qu'à la remorque. Les attelages de remorque NISSAN d'origine sont disponibles auprès de votre concessionnaire
NISSAN. Assurez-vous que l'attelage de remorque est solidement fixé au vehicule pour éviter qu'un balancement inopiné de la remorque, provoqué par des vents lateraux, des routes à la surface irregulière ou l'air déplace par les camions, ne cause des blessures ou des dommages matériels.

AVERTISSEMENT
Les composants d'attelage de remorque ont des valeurs nominales de poids spécifique. Voiture vehicule peut etre en mesure de tirer une remorque plus lourde que la valeur nominale de poids des composants de l'attelage. Ne depassez jamais la valeur nominale de poids des composants de l'attelage, car cela peut cause deraves blessures ou des dommages matériels importants.
Bouled'attelage
Sélectionnez une boule d'attelage de taille et de valeur nominale de poids appropriées pour votre remorque :
-
La taille de boule d'attelage requise est estampée sur la plupart des coupleurs de remorque. La plupart des boules d'attelage ont également leur taille estampée sur la boule.
-
Sélectionnez la boule d'attelage appropriée selon le poids de la remorque.
Le diamètre du goujon fileté de la boule d'attelage doit correspondre au diamètre du trou du support de boule. La différence de taille du goujon de la boule d'attelage et du trou du support de boule ne doit pas dépasser 1,5 mm (1/16 po). - Le goujon fileté de la boule d'attelage doit être assez long pour être correctement fixé au support de boule. Il devrait y avoir au moins deux filts visibles sous la rondelle de frein et l'écrou.
Support de boule
La boule d'attelage est fixée au support de boule et le support de boule est inséré dans le récepteur d'attelage. Sélectionnez un support de boule de classe appropriée selon le poids de la remorque. De plus, le support de boule devrait être sélectionné de sorte que le timon soit parallèle à la route.

Remorquage au moyen du pare-chocs
Le pare-chocs à marchepied d'origine NISSAN permit d'installer une boule d'attelage de remorque et est concu pour tracter des remorques d'un poids maximal de 1588 kg (3500 lb).
Pour installer une boule d'attelage de remorque, découpez un cercle au centre du pare-chocs (A), puis évidez-le pour monter la boule d'attelage.
Attelages porteurs de charge
Un support de boule porteur de charge est concu pour porter toute la charge sur le timon et le poids brut directement sur le support de boule et sur le récepteur.
Attelage à distribution de charge
Ce type d'attelage s'appelle aussi « attelage correcteur d'assiette » ou « attelage à équilibrage de charge ». Un ensemble de barres se fixe au support de boule et à la remorque afin de distribuer la charge du timon (poids de l'attelage) de votre remorque. Plusieurs vehicules ne peuvent pas porter toute la charge du timon de certaines remorques et il faut transférer une partie de la charge du timon au cadre, donc sur les roues avant. Ceci donne plus de stabilité au vehicule tracteur.
Une autre raison d'utiliser un support de boule à distribution de charge est la nécessité d'atteindre la charge nominale sur votre récepteur. La plupart des récepteurs ont une estimation de charge d'un poids brut de 2 273 kg (5 000 lb), de charge sur le timon de 227 kg (500 lb) et une estimation de distribution de charge d'un poids brut de 4 545 kg (10 000 lb), de charge sur le timon de 454 kg (1 000 lb). Ceci signifie que si un support de boule à distribution de charge n'est pas utilisé, le récepteur est seulement concu pour porter 2 273 kg (5 000 lb).
Lorsque you attelez une remorque à l'aide d'un attelage à distribution de charge, consultez plusieurs les instructions fournies par le fabricant de l'attelage.
- Stationnez le vehicule vide sur une surface plane. Une fois le contact établi et toutes les portières fermées, laissez votre vehicule stationnaire pendant quelques minutes pour lui permettre de semettre au niveau.
- Mesurez la hauteur d'un point de reférence sur les pare-chocs avant et arrêté au centre du vehicule.
- Attelez la remorque au vehicule, puis reglez les repartiteurs d'attelage de sorte que la hauteur des pare-chocs soit entre 0 et 13mm (0 et 1 / 2 po) de la hauteur de reference mesuree à l'etape 2. Le parechocs arriere ne doit pas depasser la hauteur mesuree à l'etape 2.
AVERAGEMENT
Réglez correctement l'attelage à distribution de charge pour que l'arrière du parechocs ne soit pas plus haut que la hauteur de référence mesurée lorsque la remorque est attelée. Si le pare-chocs arrêté est plus haut que la hauteur de référence mesurée, le vehicule peut avoir un comportement routier imprévisible, ce qui peut provoquer une perte de la maitrise du vehicule et causeur de graves blessures ou des dommages matériels importants.
Attelage de classe I
L'équipement d'attelage de remorque de classe I (récepteur, support de boule et boule d'attelage) peut être utilisé pour tirer des remorques d'un poids maximal de 909 kg (2 000 lb).
Attelage de classe II
Un équipement d'attelage de remorque de classe II (récepteur, support de boule et boule d'attelage) peut être utilisé pour tirer des remorques d'un poids maximal de 1510 kg (3500 lb).
Le pare-chocs à marchepied NiSSAN d'origine est classé comme support de boule de classe II.
Attelage de classe III
Un équipement d'attelage de remorque de classe III (récepteur, support de boule et boule d'attelage) peut etre utilise pour tirer des remorques d'un poids maximal de 2 272 kg (5 000 lb).
Attelage de classe IV
Un équipement d'attelage de remorque de classe IV (récepteur, support de boule et boule d'attelage) peut etre utilise pour tirer des remorques d'un poids maximal de 4 545 kg (10 000 lb). Un attelage a distribution de charge devant etre utilise pour tirer les remorques pesant plus de 2 272 kg (5 000 lb).
Votre vehicule peut etre equipe d'un d'attelage de remorque de classe IV prevu pour un poids maximal de 4 545 kg (10 000 lb), mais il est en mesure de tracter seulement une remorque dont le poids maximal est indiquedans le Tableau des caractéristiques et des charges de remorquage ci-dessus du present chapitre.
AMISE EN GARDE
- Des attelages spéciaux, qui comportent des renforts de cadre, doivent être utilisés pour tirer une charge dont le poids est supérieur à 907 kg (2 000 lb). Des attelages, des supports d'attelage et des boules d'attelage d'origine NISSAN concus expressement pour les camions légers et les vehicules utilisaires sport sont disponibles auprès de la vente concessionnaire NISSAN.
L'attelage ne doit ni etre fixe au parechocs amortisseur ni nuire au fonctionnement de ce dernier. - N'utilisez pas d'attelages montés sur l'essieu.
-
Ne modifies pas le système d'échévement, le circuit de freinage ni:aucun autre système de votre vehicule au moment de l'installation d'un attelage de remorque.
-
Afin de réduire les risques de dommages supplémentaires à votre vehicule en cas de collision arrière, retirez, dans la mesure du possible, l'attelage et le récepteur lorsque vous ne les utilisez pas.
- Vérifiez périodiquement les boulons de montage de l'attelage de remorque pour vous assurer qu'ils sont installés correctement.
- Pendant le remorquage avec la boule d'attelage montée sur le pare-chocs arrêté, ne prenez pas de virages serrés. La remorque peut entraîr en contact avec le pare-chocs et cause des dommages au pare-chocs ou à la remorque.
Pression de gonflage des pneus
-
Lorsque vous tractez une remorque, gonflez les pneus du vehicule à la pression à froid recommendée sur l'étiquette des pneus et d'information sur la charge.
-
L'etat des pneus de la remorque, les dimensions, la charge nominale et la pression de gonflage doivent être conformes aux specifications du fabricant de la remorque et des pneus.
Chaines de sécurité
Installez toujours des chaînes de sécurité adéquates entre votre vehicule et la remorque. Les chaînes doivent être croisées et attachées à l'attelage, et non au pare-chocs ou à l'essieu du vehicule. Les chaînes de sécurité peuvent être fixées au pare-chocs si la boule d'attelage est installée sur le pare-chocs. Laissez suffisamment de jeu pour permettre au vehicule de prendre les virages.
Éclairage de remorque
AMISE EN GARDE
Au moment de faire l'epissure au circuit électrique du vehicule, il faut utiliser un module-convertisseur d'alimentation pour tous les feuels de la remorque. Un tel dispositif utilise la batterie du vehicule comme source d'alimentation pour tous les feuels de la remorque ainsi que le circuit des feuels arrêté, des feuels d'arrêt et des clignotants comme signal. Le module-convertisseur ne doit pas prélever plus de 15 milliampères des circuits des feuels d'arrêt et arrêté. L'utilisation d'un module-convertisseur excédant ces caractéristiques d'électricité peut endomager le circuit électrique du vehicule. Consultez un marchand de remorques reconnommé pour acheter et faire installer l'équipement approprié.
Les feu des la remorque doivent etre conformes aux reglementations federale, provinciale et locale. Pour obtenir de l'aide pour le branchement des feu de remorque, consultez un concessionnaire NISSAN ou un marchand de remorques renommé. Les vehicules équipés du groupe remorquage optionnel sont munis d'un faisceau de câblage pour remorque à sept broches. Pour les vehicules sans le groupe remorquage, un fais
ceau de câblage pour remorque avec connecteur plat à quatre broches est disponible auprès de votre concessionnaire. Si votre remorque est munie d'un connecteur plat à quatre broches, un adaptateur sera nécessaire pour raccorder les feuels de la remorque au vehicule. Les adaptateurs sont disponibles dans les magasins de pieces d'auto et chez les détaillants d'attelage.
Freins de remorque
Si vous remorque est équipée d'un circuit de freinage, assurez-vous qu'il est conforme aux réglementations fédérale, provinciale et locale, et qu'il est installé correctement.
Les vehicules munis d'un faisceau de cablage pour remorque à sept broches sont précablés pour l'installation eventuelle d'une commande de freins électriques de remorque. Consultez un concessionnaire NISSAN si vous avez besoin d'un adaptateur de faisceau de cablage pour votre commande de freins.
AVERAGEMENT
Ne fixez jamais un circuit de freinage de remorque directement sur le circuit de freinage de votre vehicule.
Commande de freins électriques de remorque
Une remorque munie de freins électriques peut nécessiter l'installation d'une commande de freins électriques offerte sur le marché.
Vouspouvzyouprocurerunfaisceau de cablage deraccordementNISSANspecialementadapta la pose de commandes de freinselectriques du marché.
Installez la commande des freins électriques de remorque selon les directives du fabricant.
Conseils préalables à la traction d'une remorque
Assurez-vous que votre vehicule reste de niveau après qu'une remorque chargée ou déchargée a été fixée au timon. Ne prenez pas la route si votre vehicule est anormalement incliné vers l'avant ou vers l'arrière. Vérifiez les points suivants : charge portée sur le timon, surcharge de la remorque, Usure de la suspension ou toute autre cause possible.
-
Attachez toujours les objets dans la remorque pour éviter qu'ils ne se déplacent pendant la conduite.
-
Maintenez la charge aussi bajo que possible dans la remorque pour conserver un centre de gravité bas.
- Chargez la remorque de façon à ce qu'environ 60 % de la charge soit vers l'avant et 40 % vers l'arrière. Assurez-vous aussi que la charge est bien répartie latéralement.
- Vérifiez votre attelage, la pression des pneus de la remorque, la pression des pneus du vehicule, le fonctionnement des yeux de la remorque et les écrous de roue de la remorque chaque fois que vous attelez une remorque au vehicule.
Assurez-vous que vos rétroviseurs sont conformes à toutes les réglementations fédérales, provinciales et locales. S'ils ne le sont pas, installez les rétroviseurs exigés pour la traction de remorque avant de prendre la route. - Détérince la hauteur hors tout du vehicule et de la remorque pour connaître le dégagement nécessaire.
Conseils sur la traction d'une remorque
Pour vous habituer à conduire avec une remorque et comprendre le comportement du vehicule dans une telle situation, entrainez-vous à prendre des virages, à freiner et à reculer dans un endroit dégagé. La traction d'une remorque nuit légèrement à la stabilité de la direction et au rendement des freins.
- Attachez toujours les objets dans la remorque pour éviter qu'ils ne se déplacent pendant la conduite.
- Verrouillez le coupleur d'attelage de remorque avec une goupille ou un verrou pour prévenir le déverrouillage inopiné du coupleur.
- Evitez les démarrages, les accelerations ou les arrêts brusques.
-
Évitez de prendre un virage serré ou de changer brusquement de voie.
Conduisez toujours le vehicule à une vitesse moderation. -
Lorsque vous recULEz, maintainez la partie inférieure du volant d'une main. Déplacez votre main dans la direction où vous souhai-tez que la remorque se dirige. Effectuez de légers ajustements et reculez lentement. Si possible, demandez à quelqu'un de vous guider lorsque vous reculez.
Lorsque you you stationnez, calez always les roues du vehicule et de la remorque. Il n'est pas recommendé de stationner le vehicule en pente; toutefois, si vous y estes obligé :
AMISE EN GARDE
Si le levier sélecteur est mis à la position P avant de bloquer les roues et de serrer le frein de stationnement, la boite de vitesse peut subir des dommages.
- Maintenez la pedale de frein enfoncée.
- Demandez à une personne de placer des cales contre les pneus du vehicule et de la remorque, du côté descendant de la pente.
- Une fois les cales en place, relâchéz lente-ment la pédale de frein jusqu'à ce que les cales absorbent la charge du vehicule.
- Serrez le frein de stationnement.
-
Placez le levier selecteur à la position P.
-
Assurez-vous que le témoin (selon l'équipement) indique que la boîte de transfert est en position 4H, 4L ou 2H et que le témoin ATP (position de stationnement de la boîte de vitesses automatique) est éteint. Si le témoin clignote ou que le témoin ATP (position de stationnement de la boîte de vitesses automatique) est allumé, assurez-vous que la boîte de vitesses est en position de stationnement (P) (boîte de vitesses automatique), puis tournez le sélecteur des quatre roues motrices en position 2WD ou 4H. Consultez les sections « Témoin de stationnement de boîte de vitesses automatique » du chapitre « Commandes et instruments » et « Utilisation du mode 4 roues motrices » du chapitre « Demarrage et conduite »
-
Coupe le contact.
Pour repartir :
- Démarrez le vehicule.
- Maintenez la pédale de frein enfoncée.
- Engagez la boite de vitesses.
- Desserrez le frein de stationnement.
- Roulez lentement jusqu'à ce que le vehicule et la remorque quittent les cales.
-
Maintenez la pedale de frein enfoncée.
-
Demandez à quelqu'un de récapuérer et de ranger les cales.
Lorsque you descendez une côte, retrograde à un rapport inférieur et utilisez le frein moteur. Lorsque you montez une longue côte, retrograde la boite de vitesses à un rapport inférieur et ralentissez afin de réduire les risques de surcharge ou de surchauffe du moteur. Cependant, en descendant de longues pentes raides, ne restez pas en première vitesse si vous roulez à plus de 56km / h (35 mi/h) ou en deuxieme vitesse si vous roulez à plus de 93km / h (58 mi/h).
- Si la température du liquide de refroidissement est trop élevé pendant que le climatiseur fonctionne, éteignez le climatiseur. Pour dissiper la chaleur du liquide de refroidissement plus rapidement, ouvre les glaces du vehicule, placez la commande du ventilateur à la vitesse maximale et réglez la commande de température à la position de chauffage maximal.
- La traction d'une remorque augmente la consommation de carburant.
- Évitez de tracter une remorque pendant les 800 premiers kilomètres (500 premiers milles) de votre vehicule.
Durant les 800 premiers kilométres (500 milles) de remorquage, ne conduisez pas à plus de 80~km / h (50 mi/h).
- Faites faire l'entretien périodique de votre vehicule plus fréquemment qu'aux intervalles spécifiés dans le « Guide d'entretien et de réparation NISSAN »
- Dans un virage, les roues de la remorque sont plus proches de l'intérieur du virage que celles du vehicule. Pour compenser, prenez les virages plus larges.
- Les vents latéraux et les routes dont la surface est irrégulière ont des répercussions sur la maniabilité d'un vehicule avec remorque, et peuvent cause un balancement du vehicule. Lorsque des camions vous dépassent, le vehicule peut être déstabilisé par des changements soudains des vents latéraux.
Procedez comme suit si la remorque presente un roulis :
- Retirez votre pied de la pedale d'accelerateur pour laisser le vehicule rouler sur l'erre, puis dirigeze le vehicule directement vers l'avant dans la mesure ou les conditions routieres le permettent. Ces manoeuvres contribuient a stabiliser le vehicule - Ne corrigez pas le roulis de la remorque à l'aide de manoeuvres de direction ou de freinage.
- Lorsque le roulis cesse, enoncez doucement la pédale de frein et rangez le vehicule sur l'accotement en un endroit sûr.
- Tentez de réorganiser la charge de la remorque pour qu'elle soit répartie comme il a été décrit précédent dans ce chapitre.
- Faites preuve de prudence lorsque vous dépassez un vehicule. La distance de dépassement d'un vehicule est considérablement plus longue lorsque vous tractez une remorque. N'oubliez pas que la longueur de la remorque doit également dépasser l'autre vehicule avant que vous puissiez changer de voie en toute sécurité.
- Rétrogradez pour produit un freinage moteur lorsqu'le vehicule descend une pente abrupte ou longue. Cela contribue à ralentir
le vehicule sans serrer les freins.
- N'utilisez pas la surmultipliee afin de conserver un frein moteur adequat et d'assurer un meilleur rendement du circuit de charge.
- Évitez de freiner trop longtemps ou trop féquement. Les freins pourraient surchauffer, réduisant ainsi leur efficacité.
- Augmentez la distance qui vous sépare du vehicule devant vous lorsque vous tirez une remorque afin de compenser pour la plus grande distance de freinage requise. Anticipez les arrêts et freinez graduèlement
- N'utilisez pas le régulateur de vitesse lorsqu'youtirez une remorque.
- Certains états et provinces ont des règlements et des limites de vitesse précises pour les vehicules qui tractent une remarge. Respectez les limites de vitesse locales.
- Vérifiez votre attelage, les connexions du faisceau de cablage de la remorque et les écrous de roue de la remorque après 80 km (50 mi) de trajet et à chaque pause.
- Lorsque vous étés immobilisé dans la circulation pour de longues périodes par temps chaud, placez la boîte de vitesses en position P.
Lorsque you mettez un bateau à l'eau, ne laissez pas le niveau d'eau dépasser le tuyau d'échéppement ni le pare-chocs arrêté.
Assurez-vous de débrancher les feuels de la remorque avant de reculer la remorque dans l'eau pour prévenir les dommages aux feuels.
Pendant la traction d'une remorque, l'huile pour engrenages de commande finale doit être replacée et l'huile de la boite de vitesses doit être vidangée plus fréquement. Consultez le chapitre « Entretien et interventions du propriétaire » du present manuel pour obtenir de plus amples renseignements.
REMORQUAGE A PLAT
Le remorquage de votre vehicule avec les quatre roues au sol est parfois appelé « remorquage à plat ». Cette méthode est quelles utilisée pour remorquer un vehicule derrière un vehicule de présence, comme une autocaravane.
A MISE EN GARDE
- Si vous ne respectez pas ces directives, la boîte de vitesses pourrait être gravement endommagée.
- Lorsque vous remorquez votre vehicule à plat, tirez-le vers l'avant, jamais vers l'arrière.
- NE remorquez JAMAIS un vehicule equipope d'une boite de vitesses automatique avec les quatre roues au sol (remorquage a plat). Une telle action ENDOMMAGERAIT les organes de la boite de vitesses, car celle-ci ne serait pas lubrifiée adequatement.
- Pour obtenir de plus amples renseignements relatifs aux procédures de remorquage d'urgence, consultez la section « Méthodes de remorquage recommandées par NiSSAN » du chapitre « En cas d'urgence » de ce manuel.
Boîte de vitesses automatique
Pour remorquer un vehicule équipé d'une boite de vitesses automatique, vous DEVEZ utiliser un diabolo ajustat sous les roues motrices. Suivez toujours les recommendations du fabricant du diabolo utilisé.
CLASSIFICATION UNIFORME DE QUALITE DE PNEUS
Boite de vitesses manuelle
- Les vehicules équipés d'une boîte de vitesse manuelle doivent toujours être remorqués avec le levier de vitesse au point mort.
- Sur les vehicules à quatre roues motrices, mettez le transfert en gamme 2H, sinon le groupe motopropulseur risque de gripper.
- Àprous avoir remorqué le vehicule sur une distance de 800km (500 mi), faites tourner le moteur au ralenti pendant deux minutes en laissant la boîte de vitesses au point mort. Si vous ne faites pas tourner le moteur au ralenti tous les 800 km (500 mi), les organes internes de la boîte de vitesses pourrait être endommages.
Indices de qualité du DOT (Department of Transportation): En plus des classifications enumeratedes ci-après, tous les pneus des voitures de tourisme doivent se conformer aux exigences fédérales en matière de sécurité.
Selon le cas, l'indice de qualite est indiqued sur le flanc du pau, entre I'epaulement de la bande de roulement et la largeur de section maximale du pau. Par exemple :
Usure de la bande de roulement
L'indice d'usure de la bande de roulement est une estimation comparative basée sur le taux d'usure du pau et dans des conditions contrôlées sur une piste d'essai conforme aux normes gouvernementsales. Par exemple, un pau d'indice 150 aura une résistance à l'usure une fois et demie (1 1/2) supérieure, sur la piste d'essai gouvernementale, à celle d'un pau d'indice 100. La performance relative des paués dépend toute fois des conditions réelles d'utilisation et peut dévier grandement de la norme à cause des différentes habitudes de conduite, des pratiques d'entretien et des différences de la chaussée et du climat.
TractionssAA,A,B et C
Les indices d'adherence, du plus élevé au plus bas, sont AA, A, B et C. Ces indices représentent la capacité du pneu de s'arrêter sur une chaussee mouillée dans des conditions contrôlees sur des surfaces d'essai d'asphalte et de béton. Un pneu portant l'indice C peut avoir une mauvaise adhérence.

AVERTISSEMENT
L'indice d'adhérence de ce pneau a été établi à partir d'essais d'adhérence durant un freinage en ligne droite; il ne prend pas en compte les caractéristiques d'accélération, de virage, d'aquplanage ou d'adhérence de pointe.
Température A, B et C
Les indices de température sont A (le plus élevé), B et C. Ils représentent la résistance d'un pau à la chaleur et sa capacité à dissiper la chaleur lorsqu'ils sont testés dans des conditions précises en laboratoire. Des températures élevées constantes peuvent cause une dégradation du matériel du pau et réduire la durée utile du pau; une/température excessive peut cause une défaillance soudaine du pau. L'indice C correspond au rendement exigé pour les paues de voirter de tourisme conformément à la norme 109 de la Federal Motor Safety Standard.
Les indices B et A représentent un rendement plus élevé que le minimum exigé par la loi lors d'essais réalisés en laboratoire.

AVERTISSEMENT
L'indice de température pour ce type de pneus est établi en fonction d'un pneu correctement gonflé et sans surcharge. Des conditions extrêmes telles que des vitesses excessives du vehicule, un sousgonflage des pneus ou une charge excessive, prises séparément ou combinées, peuvent provoquer l'échauffement et la défaillance des pneus.
Votre vehicule NISSAN est couvert par les garanties du dispositif antipollution suivantes :
Aux États-Unis
- Garantie contre les défauts du dispositif antipollution
- Garantie de fonctionnement du dispositif antipollution
Les détails de ces garanties, ainsi que les autres garanties applicables au vehicule, sont fournis dans le Livret d'information sur la garantie livre avec votre vehicule NISSAN. Si vous n'avez pas reçu ce livre ou si vous l'avez perdu, écrire à l'adresse suivante pour enutenir un :
Garantie du dispositif antipollution
Les détails de ces garanties, ainsi que les autres garanties applicables au vehicule, sont fournis dans le Livret d'information sur la garantie livre avec votre vehicule NISSAN. Si vous n'avez pas reçu ce livre ou si vous l'avez perdu, écrire à l'adresse suivante pour en tener un :
- Nissan Canada inc. 5290, Orbitor Drive Mississauga (Ontario) L4W 4Z5
Si vous craignez qu'une défectuosité de votre vehicule puisse entraîner un accident, des blessures ou la mort, informez-en immédiatement la National Highway Traffic Safety Administration (NHTSA) et NISSAN.
Si la NHTSA recoit des plaintes similaires, elle peut ouvrir une enquête, au terme de laquelle elle peut ordonner le lancement d'une campagne de rappel et de service, si elle détermine qu'un défaut compromettant la sécurité touche un groupe de vehicules. Toutefois, la NHTSA ne peut pas intervenir dans le cas d'un différend entre le client et son concessionnaire ou NISSAN.
Pour communiquer avec la NHTSA, composez sans frais le numero de la ligne directe au 1 888 327-4236 (ATS: 1 800 424-9153), visitez le site Web http://www.safercar.gov ou écrire à: Administrator, NHTSA, 400 Seventh Street, SW., Washington, D.C. 20590. Le site Web http://www.safercar.gov permet également d'obtenir d'autres renseignements relatifs à la sécurité automobile.
Vous pouvez averter NISSAN de tout problème concernant votre vehicule en communiquant avec le Service de la protection du consommateur, sans frais, au 1800 NISSAN-1.
PREPARATION AUX CONTROLES D'INSPECTION ET D'ENTRETIER
La réglementation de certaines provinces canadiennes et de certains États américain exige que votre vehicule soit en condition « prét » pour les contrôles d'inspection et d'entretien du dispositif antipollution.
Le vehicule est en condition « prét » après certains types de cycles de conduite. En général, la condition « prét » est obtenue pendant l'utilisation normale du vehicule.
Si un composant du groupe motopropulseur est réparé ou si la batterie est débranchée, le vehicule peut être réinitialisé à une condition « non prét ». Avant de subir le contrôle d'inspection et d'entretien, vérifie que le vehicule est en condition « prét ». Tournez le contacteur d'allumage à la position ON sans faire demarrer le moteur. Si le témoin d'anomalie (MIL) s'allume pendant 20 secondes, puis clignote pendant 10 secondes, le contrôle d'inspection et d'entretien n'est « pas prét ». Si le MIL ne clignote pas après 20 secondes, la condition pour le contrôle d'inspection et d'entretien est « prét ». Si le MIL indique que le vehicule est en condition « non prét », conduisez le vehicule de la façon suivante pour réinitialiser le vehicule à une condition « prét ». Si vous ne pouvez pas ou ne foulez pas le faire, un concessionnaire NISSAN peut le faire pour vous.
AVERAGEMENT
Conduisez toujours d'une façon sécuritaire et prudente selon la circulation routière et respectez en tout temps les règlements du code de la sécurité routière.
- Demarrez le moteur lorsque l'aiguille de l'indicateur de températe du liquide de refroidissement est sur C. Laissez le moteur tourner au ralenti jusqu'à ce que l'aiguille de l'indicateur soit entre C et H (température normale de fonctionnement).
- Accélérez jusqu'à 88 km/h (55 mi/h), puis relâchéz rapidement la pedale d'accélérateur. N'appuyez pas sur la pedale pendant au moins 10 secondes.
- Appuyez rapidement sur la pedale d'accéléateur pendant un moment, puis conduisez le vehicule à une vitesse de 86 à 96 km/h (53 à 60 mi/h) pendant au moins neuf minutes.
- Arretez le vehicule.
-
Accélérez jusqu'à 55 km/h (35 mi/h) et maintenez cette vitesse pendant 20 secondes.
-
Repetez les étapes 4 et 5 au moins 10 fois.
- Accélérez jusqu'à 88 km/h (55 mi/h) et maintenez cette vitesse pendant au moins trois minutes.
- Arrêtez le vehicule. Placez le levier sélecteur de boîte de vitesses en position P ou N.
- Coupez le contact.
- Repetez les étapes 1 à 8 au moins une fois de plus.
S'il y a eu une interruption entre les étapes 1 à 7, repêze l' étape precedant l'interruption. Tout mode de conduite sécuritaire est acceptable entre les étapes. N' arrêtez pas le moteur tant que l' étape 7 n'est pas terminée.
ENREGISTREURS DE DONNÉES D'ÉVénEMENT
Votre vehicule est doté de divers ordinateurs qui surveillent et contrôle différents dispositifs pour optimier le rendement et facilititer le diagnostic et la réparation. Certains des ordinateurs surveillent les dispositifs antipollution, les cir-cuits de freinage, les circuits du moteur, les cir-cuits de transmission, les systèmes de surveillance de la pression des pneus et les systèmes de coussin gonflable. Certaines données au sujet du vehicule sont stockées dans les ordinateurs et sont utilisées pendant l'entretien. D'autres données peuvent être stockées en cas de collision. Par exemple, la vitesse du vehicule, l'application des freins, l'angle de direction, l'état des coussins gonflables, le rendement des coussins gonflables et l'utilisation de la ceinture de sécurité par le conducteur ou le passager peuvent être enregistrés. Ces types de dispositifs sont parfois appelés enregistrres de données d'évenement.
Des apparèils spéciaux peuvent servir à acceder aux données électroniques enregistrées dans les ordinateurs du vehicule (aucun son n'est enregistré). NISSAN et les concessionnaires NISSAN possèdent les apparèils qui permettent d'acceder à ces données. D'autres peuvent aussi posseder
ces apparèils. Les données peuvent être récepúrées pendant l'entretien périodique ou à des fins de recherche spéciale. Elles peuvent aussi être récepúrées, avec le consentement du propriétaire ou du locataire, à la demande d'un organisme chargeé de l'application de la loi, ou dans la mesure où l'exige ou l'autorise la loi.
POUR COMMANDER LE MANUEL DU CONDUCTEUR OU LE MANUEL DE RÉPARATION
Un manuel de réparation NISSAN d'origine est la meilleure source d'information pour l'entretien et la réparation de votre vehicule. Le manuel renferme les schémas de câblage, les illustrations et toutes les étapes détaillées des procédés de diagnostic et de réglage. Ce manuel est également utilisé par les techniciens formés en usine qui travaillent chez votre concessionnaire NISSAN. Des manuels du conducteur d'origine NISSAN ainsi que des manuels de réparation et du conducteur d'origine NISSAN pour des vehicules NISSAN plus anciens sont également disponibles.
Aux Etats-Unis
Pour connaître les prix courants et la disponibilité des manuels de réparation NiSSAN d'origine à partir de l'année-modèle 2000, communiquez avec :
Pour connaître les prix courants et la disponibilité des manuels de réparation NISSAN d'origine pour les années-modeles 1999 et antérieures, adressez-vous à un concessionnaire NISSAN ou communiquez avec :
Resolve Corporation
20770 Westwood Road
Strongsville, OH 44136
1800247-5321
Pour connaître le prix et la disponibilité des manuels du conducteur NISSAN d'origine pour la présente année-modele et les années-modèles antérieurs, adressez-vous à un concessionnaire NISSAN ou communiquez avec :
Resolve Corporation
20770 Westwood Road
Strongsville, OH 44136
1800 247-5321
Au Canada
Pour acheter un manuel de réparation ou un manuel du conducteur NISSAN d'origine, adressé-vous à votre concessionnaire NISSAN. Pour connaître le numéro de téléphone et l'adresse d'un concessionnaire NISSAN local, veuillez appeler le Centre d'information Nissan au 1 800 387-0122. Un représentant NISSAN bilingue pourrait vous renseigner.
Des manuels de réparation et du conducteur NISSAN d'origine pour des vehicules NISSAN plus ancients sont également disponibles.
EN CAS DE COLLISION
Des accidents peuvent se produit. Dans cette éventualité peu probable, il y a certains renseignements importants que vous doivent.
Plusieurs compagnies d'assurance autorisent automatiquement l'utilisation de pieces de réparation autres que des pieces d'origine, et ce, afin de réduire les coûts.
Insistez sur la nécessite d'utiliser des pieces de réparation NiSSAN d'origine!
Si vous foulez que votre vehicule soit réparé avec des pieces d'origine fabriquées selon les spécifications rigoureuses de NiSSAN et si vous foulez que leur vehicule dure et garde sa valeur de revente, la solution est simple. Demandez à votre compagnie d'assurance et à votre atelier de réparation de n'utiliser que des pieces de réparation NiSSAN d'origine. NiSSAN ne garantit que les pieces NiSSAN d'origine et la garantie NiSSAN ne s'applique pas aux dommages causés par des pieces autres que les pieces NiSSAN d'origine.
L'utilisation de pieces NiSSAN d'origine contribue à garantir votre sécurité, à préserver la couverture de votre garantie et à dévelopir la valeur de revente de votre vehicule. De même, si vous louez votre vehicule à bail, l'utilisation de pieces NiSSAN d'origine peut limiter les frais d'usure inutiles à la fin de leur contrat.
NISSAN conçoit ses capots avec des zones de déformation pour éviter que le capot ne déforce le pare-brise en cas d'accident. Les pièces qui ne sont pas d'origine (imitations) risquent de ne pas assurer ces protections intégrées. De plus, les pièces qui ne sont pas d'origine affichent souvent des signes d'usure, de rouille et de corrosion prématurees.
Pourquoi prendre des risques?
Dans plus de 40 États américain, la loi exige que vous soyez informé si des pieces autres que des pieces d'origine sont utilisées pour réparer votre vehicule. Certains États ont même adopté des lois limitant l'utilisation, par les compagnies d'assurance, de pieces qui ne sont pas d'origine au moment de la réparation d'un vehicule sous garantie. Ces lois visent à vous protégérer et vous pouvez donc y avoir recours.
C'est-vous droit!
Pour obtenir de plus amples renseignements à ce sujet, visitez notre site Web à l'adresse suivante: www.nissancanada.com.
10 Index
A
Alimentation
Prise d'alimentation. 2-44
Antenne 4-30
Antivol (système antidémarrage du vehicule
NISSAN), démarrage du moteur .2-29, 3-2, 5-12
Appuie-tete. 1-6
Appuie-tete actif 1-7
Appuie-tete actif 1-7
Assistée
Direction assistée. .5-34
Liquide de direction assistee. . . . . . .8-14
Automatique
Conduite avec une boîte de vitesses
automatique. .5-13
Déverrouillage du levier sélecteur de boite
de vitesse .5-16
Interrupteur automatique de glace
electrique .2-56
Témoin de position de gamme de la boîte
de vitesses automatique 2-22
Avant de démarrer le moteur. .5-12
Avertissement
Coussin gonflable du passager et témoin de
fonctionnement 1-67
Témoin de bas niveau de carburant . . . .2-20
Témoin de charge de la batterie . . . . . .2-19
Témoin de faible pression des pneus . . .2-20
Témoin de frein 2-18
Témoin de frein antiblocage 2-17
Témoin de niveau de lave-glace bas. 2-21
Témoin de portemal fermée. .2-19
Témoin de pression d'huile moteur 2-19
Témoin des ceintures de sécurité . . . . .2-22
Témoin des quatre roues motrices. 2-19
Avertisseur sonore 2-37
B
Bagages (reportez-vous à Information
concernant le chargement du vehicule). . . .9-12
Batterie .8-17
Témoin de charge. 2-19
Boite à gants 2-48
Boite de vitesses
Conduite avec une boîte de vitesses
automatique. .5-13
Conduite avec une boite de vitesses
manuelle. .5-18
Déverrouillage du levier sélecteur 5-16
Bon de commande du manuel de
réparation 9-41
Bon de commande du manuel du
conducteur 9-41
Bouches d'air. 4-2
Bouchon de carburant 3-10
Bouchon du réservoir de carburant . . . . . .3-10
Boussole electronique 2-13
C
Carburant
Bouchon du réservoir de carburant . . . .3-10
Bouchon et trappe de réservoir de carburant .3-10
Contenances, carburants et lubricifants
recommendés. .9-2
Economie de carburant. .5-24
Jauge de carburant. 2-10
Indice d'octane du carburant .9-4
Trappe du réservoir de carburant . . . . .3-10
Carillons, rappels sonores 2-27
Casier de console 2-48
Catalyseur trifonctionnel. .5-3
Ceinture de sécurité à prétendeur. 1-73
Ceintures de sécurité
A trois points, avec enrouleur 1-17
Bébes et jeunes enfants 1-16
Ceinture de sécurité à prétendeur. 1-73
Ceintures de sécurité. 1-12
Enfants plus ages. 1-16
Entretien des ceintures de sécurité 1-23
Femmes enceintes 1-17
Personnes blessées 1-17
Précautions concernant l'utilisation des ceintures de sécurité . . . . . . . . . .1- 12
Rallonges de ceinture de sécurité. 1-22
Réglage de la hauteur du baudrier. 1-22
Sécurité des enfants 1-15
Chaine audio Radio AM/FM avec lecteur de CD. 4-18
Chaine stéreophonique. .4-11
Chargeur de CD 4-27
Interrupteur de commande de la chaine stéréo du volant. .4-29
Lecteur de CD 4-21
Radio 4-11
Radio AM/FM avec lecteur de CD. 4-23
Changement des vitesses Boite de vitesses automatique. .5-14
Boite de vitesses manuelle. .5-18
Charge (reportez-vous à Information concernant le chargement du vehicule). .9-12
Chargement d'autocaravane separable. 9-22
Chargeur de CD (Voir Chaine stéréophonique) 4-27
Chauffage Commandes du chauffage et du climatiseur. .4-2
Fonctionnement du chauffage. 4-4
Classification uniforme de qualite de pneus .9-37
Clé. 3-2
Climatiseur Commandes du chauffage et du climatiseur. .4-2
Étiquette des caractéristiques du climatiseur. .9-11
Entretien du climatiseur. 4-10
Recommendations relatives au frigorigene et à l'huile du climatiseur. .9-6
Utilisation du climatiseur. 4-6
Commande Commande d'essuie-glace et de lave-glace. .2-31
Commande du dispositif de contrôle de l'adherence en descente (HDC). 2-40
Commutateur du dispositif de verrouillage
electronique du différentiel arrêté
(E-Lock) 2-41
Commandedeclignotant.2-36
Commande de dégivreur
Commande de dégivreur de lunette arrière et de rétroviseur extérieur 2-32
Commande de dégivre du lunette arrête et de rétroviseur extérieur .2-32
Commande de lave-glace Commande de lave-glace et d'essuie-glace. 2-31
Commande de luminosité Planche de bord 2-35
Commande deluminosité du tableau de bord. .2-35
Commandedesssue-glace et delave-glace. .2-31
Commande du dispositif de contrôle de l'adherence en descente (HDC). 2-40
Commandes Commandes de la chaîne stéreo (volant). .4-29 Commandes du chauffage et du climatiseur. .4-2
Commutateur de la planche de bord .2-35
Commutateur d'éclairage de l'aire de chargement 2-38
Commutateur du dispositif de verrouillage
électronique du différentiel arrêté (E-Lock). 2-41
Commutateur pour la planche de bord . . .2-35
Comptes-tours. 2-9
Compteurjournalier. .2-7
Compteur kilométrique. 2-7
Conduite Conduite avec une boite de vitesses automatique. .5-13
Conduite avec une boite de vitesses manuelle. .5-18
Conduite par temps froid. .5-41
Précautions à prendre lors du démarrage et de la conduite .5-2
Conduite par temps froid. .5-41
Contacteur de position de la pédale d'embrayage. .2-43
Contacteur d'allumage. .5-10
Contacteur de position de la pedale d'embrayage 2-43
Contenances, carburants et lubricifants
recommendés. .9-2
Courroies d'entrainment 8-19
Courroies (reportez-vous à Courroies d'entrainment) .8-19
Coussin gonflable (reportez-vous à Dispositif de protection complémentaire) 1-57
Coussins gonflables Frontaux (voir Coussins gonflables avant). 1-65
Coussins gonflables frontaux 1-65
Coussins gonflables frontaux (voir Dispositif de protection complémentaire) 1-65
Coussins gonflables lateraux (voir Coussins gonflables lateraux et rideau gonflable contre le renversement) . . .1-71
Crochet de placement de carbette .7-5
Crochets d'arrimage 3-17
D
Défauts compromettant la sécurité (É.-U.) .9-39
Dégagement d'un vehicule immobilisé. .6-17, 7-2
Démarriage
Avant de démarrer le moteur. . . . . . . .5-12
Demarrage du moteur .5-12
Demarrage en poussant .6-12
Demarrage-secours. .6-10
Précautions à prendre pour le démarrage et la conduite . . . . . . . . . . . . . . . . . . . . . . . . . . . . . . . . . . . . . . . . . . . . . . . . . . . . . . . . . . . . . . . . . . . . . . . . . . . . . . . . . .
Demarrage en poussant .6-12
Demarrage-secours. .6-10
Detresse Etiquettes d'advertissement (pour SRS) .1-75
Interrupteur de feu des detresse. 2-37
Système de sécurité du vehicule 2-28
Témoin de coussin gonflable 1-75, 2-22
Témoins et rappels sonores 2-16
Déverrouillage du capot 3-9
Déverrouillage du levier de vitesse 5-16
Diagrammes des bouches d'air 4-7
Dimensions des roues et des pneus .9-8
Dimensions et poids 9-8
Dimensions et poids du vehicule 9-8
Direction Direction assistée. .5-34
Liquide de direction assistée. . . . . . .8-14
Volant inclinable. 3-11
Dispositif d'assistance au démarrage en montée (HSA). .5-40
Dispositif de contrôle d'adherence en descente (HDC) .5-39
Dispositif de protection complémentaire
Précautions à propos du dispositif de protection complémentaire. 1-57
Étiquettes d'advertissement et d'information 1-75
Dispositif de protection complémentaire (coussins gonflables). 1-57
Dispositif de retenue pour enfant avec sangle d'ancrage supérieure 1-29
Dispositif de verrouillage electronique du
differentiel arriere (E-Lock). .5-31
Dispositifs de retenue pour
enfant. .1-15, 1-16, 1-23, 1-26 Emplacements des points d'ancrage pour la sangle d'ancrage supérieure. .1-31
Précautions relatives aux dispositifs de retenue pour enfant. 1-23, 1-37, 1-50
Dispositifs de retenue pour infant ISOFIX . .1-26
E
Éclairage
Ampoules .8-30
Coussin gonflable du passager et témoin de fonctionnement 1-67
Éclairage interieur. 2-59
Feu de freinage (reportez-vous à Feu d'arrêt). 8-32
Interrupteur de commande des phares .2-32
Interrupteur des phares et commande des clignotants. .2-32
Lampes de lecture 2-61
Lampes individuelles .2-60
Phares. .8-30
Remplacement d'ampoule .8-32
Témoin de charge. 2-19
Témoin de niveau de lave-glace bas. 2-21
Témoin de sécurité 2-25
Témoins et rappels sonores 2-16
Vérification d'ampoule ou tableau de bord .2-17
Eclairage interieur. 2-59
Economie de carburant. .5-24
Électrique Glaces arrêté électriques 2-56
Glaces électriques 2-54
Verrouillage electrique des portes. 3-4
Étiquette d'advertissement de SRS. 1-75
Étiquette de renseignements importants sur le vehicule. .9-10
Étiquette d'homologation FMVSS . . . . . . .9-10
Étiquette d'information du dispositif antipollution 9-11
Étiquettes
Etiquette des caractéristiques du climatiseur. .9-11
Étiquette d'homologation F.M.V.S.S. . .9-10
Étiquette d'information du dispositif antipollution . . . . . . . . . . . . . . . . . . . . . . . . . . . . . . . . . . . . . . . . . . . . . . . . . . . . . . . . . . . . . . . . . . . . . . . . . . . . . . . . . . . .
Étiquettes d'avertissement (pour SRS) .1-75
NSVAC étiquette d'homologation 9-10
Numéro de série du moteur 9-10
Plaque de numero d'identification du vehicule (NIV). .9-9
Etiquettes d'avertissement. 1-75
Étiquettes d'avertissement concernant les coussins gonflables. 1-75
Embrayage Liquide d'embrayage. .8-16
Emplacement des points d'ancrage. 1-31
Enregistreurs
Données d'événements 9-41
Enregistreurs de données d'événements. .9-41
Entretien
A l'extérieur du vehicule .8-3
A l'intérieur du vehicule 8-4
Entretien des ceintures de sécurité. 1-23
Entretien general. .8-3
Précautions d'entretien 8-5
Sous le capot et sous le vehicule. . . . . .8-4
Entretien du climatiseur. .4-10
Entretien et nettoyage des disques
compacts 4-29
Entretiengénéral. .8-3
Essuie-glaces
Balais d'essuie-glace. .8-23
Commandedessuie-glace et delave-glace. .2-31
F
Feud'arrêt. .8-32
Feux de détresse (reportez-vous à Interrupteur
desfeudefdetresse). 2-37
Fils-fusibles .8-27
Filtre de boitier de filtrer a air . . . . . . . . . . . . . . . . . . . . . . . . . . . . . . . . . . . . . . . . . . . . . . . . . . . . . . . . . . . . . . . . . . . . . . . . . . . . . . . .
Fonctions dynamiques du vehicule (VDV). .5-37
Freins .8-25
Circuit de freinage 5-34
Feu de freinage (reportez-vous à Feu d'arrêt). . . . . . . .8-32
Freins auto-reglables. .8-25
Indicateurs d'usure de frein . . . . .2-27, 8-25
Liquide de frein .8-15
Système de freinage antiblocage . . . . . .5-35
Témoin de frein 2-18
Utilisation du frein de stationnement. . . .5-20
Freins auto-reglables. .8-25
Fusibles .8-25
G
Garantie relative au dispositif antipollution. .9-38
Gaz d'échévement
(monoxyde carbone) .5-2
Glace coulissante arrere. .2-57
Glaces
Glace coulissante arriere. 2-57
Glaces arrêté électriques 2-56
Glaces electriques 2-54
Glaces manuelles. 2-57
Verrouillage des glaces cote passagers. .2-56
Glaces arriere electriques .2-56
Glaces manuelles. 2-57
H
Huile
Changement du filtré à huile . . . . . . . .8-13
Contenances, carburants et lubricants
recommendés. .9-2
Huile moteur. .8-11
Recommendations concernant l'huile
mateur et le filtré à huile 9-5
Vérification du niveau d'huile moteur . . .8-11
Vidange d'huile moteur. .8-12
Viscosité de l'huile moteur. 9-6
1
Identification du vehicule. .9-9
Immatriculation du vehicule à l'étranger. 9-9
Indicateur de températe
Indicateur de température du liquide de
refroidissement . 2-10
Indicateur de vitesse 2-7
Indicates
Compte-tours. 2-9
Compteurjournalier. 2-7
Compteur kilométrique. 2-7
Indicateur de températe du liquide de refroidissement . 2-10
Indicateur de vitesse 2-7
Manometre de pression d'huile moteur .2-11
Niveau de carburant 2-10
Voltmetre 2-12
Indice d'octane (reportez-vous à Indice
d'octane du carburant). 9-4
Information concerning le chargement du
vécicule 9-12
Instruments et jauges 2-6
Instruments et indicateurs de bord
Commande de luminosité du tableau de
bord .2-35
Interrupteur
Interrupteur de dégivreur de lunette arrière
et des rétroviseurs extérieurs. 2-32
Interrupteur de neutralisation de contrôle
dynamique du vehicule. 2-39
Interrupteur de verrouillage electrique des
portieres. .3-4
Interrupteur des phares antibrouillard . . .2-36
Interrupteur des phares automatique . . .2-33
Interrupteur des phares et commande
des clignotants 2-32
Interrupteur de commande du système audio
du volant. 4-29
Interrupteur de commande des phares . . . .2-32
Interrupteur deieux de détresse. 2-37
Interrupteur de neutralisation de contrôle
dynamique du vehicule. 2-39
Interrupteur de surmultipliee .5-17
Interrupteur des phares antibrouillard . . . . .2-36
Interrupteur des phares automatique 2-33
Interrupteur des phares et commande des
clignotants. 2-32
Interrupteurs
Commandede clignotant .2-36
Contacteur d'allumage. .5-10
Interrupteur automatique de glace
electrique 2-56
Interrupteur de commande des phares . .2-32
Interrupteur de deux de détresse. 2-37
Interrupteur de surmultipliee . . . . . . .5-17
J
Jauge
Ordinateur de bord. 2-8
L
Lampes de lecture 2-61
Lampes individuelles 2-60
Lecteur de CD 4-21
Lecteur de CD
(Voir Chaine stéréophonique) 4-21
Liquide de refroidissement
Changement du liquide de refroidissement . . . . . . . . . . . . . . . . . . . . . . . . . . . . . . . . . . . . . . . . . . . . . . . . . . . . . . . . . . . . . . . . . . . . . . . . . . . . . . . . . . .
Contenances, carburants et lubricifants recommandés. .9-2
Indicateur de températe du liquide de refroidissement . 2-10
Vérification du niveau de liquide de refroidissement. .8-9
Liquide lave-glace 8-16
Liquides
Contenances, carburants et lubricifants recommandés. .9-2
Huile moteur. .8-11
Liquide de direction assistée. . . . . . .8-14
Liquide de frein . .8-15
Liquide de refroidissement. 8-9
Liquide d'embrayage . 8-16
Liquide lave-glace 8-16
Loquet du hayon 3-16
M
Manometre de pression d'huile moteur . . .2-11
Microfiltre d'habitacle. .8-22
Miroir de courtoisie . 3-13
Miroirs
Miroir de courtoisie. .3-13
Montre. 4-19
Moteur
Avant de démarrer le moteur. .5-12
Changement du filtré à huile. .8-13
Changement du liquide de refroidissement . . . . . . . . . . . . . . . . . . . . . . . . . . . . . . . . . . . . . . . . . . . . . . . . . . . . . . . . . . . . . . . . . . . . . . . . . . . . . . . . . . . .
Circuit de refroidissement du moteur. . . .8-9
Contenances, carburants et lubricifants
recommendés. .9-2
Demarrage du moteur .5-12
Huile moteur. .8-11
Indicateur de températe du liquide de refroidissement . 2-10
Numéro de série du moteur 9-10
Points de verification du compartment
moteur. .8-7
Recommendations concerning l'huile moteur et le filtré à huile 9-5
Specifications du moteur 9-7
Témoin de pression d'huile moteur 2-19
Vérification du niveau de liquide de refroidissement. .8-9
Vérification du niveau d'huile moteur . . .8-11
Vidange d'huile moteur. .8-12
Viscosité de l'huile moteur. .9-6
N
Nettoyage de l'intérieur et de l'extérieur du vehicule. .7-2
NSVAC étiquette d'homologation 9-10
Numéro d'identification du vehicule (NIV)
(Numéro du chassis). 9-9
0
Ordinateur de bord. 2-8
Ouvre-portede garageteleccomande universelleHomelinkMD. 2-61
P
Pare-soleil. .3-12
Période de rodage 5-24
Phares. .8-30
Interrupteur des phares antibrouillard . . .2-36
Phares de jour (Canada seulement). 2-35
Plaque de numero d'identification du vehicule (NIV). .9-9
Plaque d'immatriculation Installation de la plaque d'immatriculation 9-12
Plateau derangement. 2-45, 2-47
Pneu à plat . .6-2
Pneus Châines antidérapantes . . . . . . . . . . . . . . . . . . . . . . . . . . . . . . . . . . . . . . . . . . . . . . . . . . . . . . . . . . . . . . . . . . . . 8-43
Classification uniforme de qualités de pneus . .9-37
Dimensions des roues et des pneus . . . .9-8
Etiquette des pneus .9-11
Permutation des pneus. .8-44
Pneu à plat .6-2
Pneus sur vehicule à quatre roues
motrices 8-47
Pression des pneus. .8-35
Roue de secours. .6-4
Roues et pneus. .8-35
Types de pneus. .8-42
Poids (reportez-vous à Dimensions et poids) .9-8
Porte-bagages 2-53
Porte-bagages (reportez-vous à Porte-bagages de toit) . .2-53
Portetasses. 2-51
Pour commander le manuel du conducteur ou le manuel de réparation. .9-41
Précautions
Précautions à prendre pour le démarrage et la conduite . . . . . . . . . . . . . . . . . . . . . . . . . . . . . . . . . . . . . . . . . . . . . . . . . . . . . . . . . . . . . . . . . . . . . . . . . . . . . . . . . . . . . .
Précautions à propos du dispositif de protection complémentaire. 1-57
Précautions concernant l'utilisation des ceintures de sécurité . 1-12
Précautions de conduite sur route et hors route. .5-6
Precautions d'entretien 8-5
Précautions relatives aux dispositifs de retenue pour enfant. 1-23, 1-37, 1-50
Préparation aux contrôles d'inspection et d'entretien 9-40
Pression des pneus Témoin de basse pression des pneus. .2-20
Prises d'entrée auxiliaires. 4-28
Protection contre la corrosion. . . . . . . . . . . . . . . . . . . . . . . . . . . . . . . . . . . . . . . . . . . . . . . . . . . . . . . . . . . . . . . . . . . . . . . . . .
R
Radio
Chargeur de CD 4-27
Interrupteur de commande de la chaine stéréo du volant. .4-29
Radio AM/FM avec lecteur de CD .4-18, 4-23
Telephone de voiture ou radio BP . . . . .4-31
Range-lunettes de soleil .2-49
Rangement 2-45
Rappels sonores 2-27
Réduction de la consommation de carburant .5-24
Réglage de la hauteur du baudrier. 1-22
Réglage des sièges
Réglage des sièges avant à réglage électrique 1-4
Réglage des sièges avant à réglage manuel. 1-2
Réglage électrique
Réglage du siècle avant 1-4
Réglage manuel des sièges avant. 1-2
Regulateur de vitesse. .5-21
Rétroviseur anti-éblouissement interieur automatique .3-13
Retroviseur interieur 3-13
Retroviseurs
Rétroviseur anti-éblouissement interieur automatique. .3-13
Retroviseur interieur 3-13
Retroviseurs extérieurs .3-14
Retroviseursextérieurs. .3-14
Recommendations concerning le réfrigerant. .9-6
Rehausseurs 1-50
Remorquage
Caracteristiques et des charges de remorquage. .9-29
Modèles à deux roues motrices 6-15
Modèles à quatre roues motrices 6-16
Remorquage à l'aide d'une dépanneuse. .6-14
Remorquage du vehicule avec les quatre roues. .9-36
Remorquage d'une remorque . . . . . .9-24
Remplacement d'ampoule . .8-32
Remplacement de la pile de la télécommande . .8-29
Remplacement des bougies d'allumage 8-20
Rideaux gonflables lateraux et coussin gonflable contre le renversement 1-71
Roues et pneus. .8-35
s
Sécurité
Ceintures de sécurité pour enfants. 1-23, 1-37, 1-50
Défauts prompressant la sécurité (É.-U.) .9-39
Verrouillage de portiere arrirée à dispositif de sécurité pour enfant 3-6
Serrures
Serrures de portiere 3-3
Verrouillage de portiere arrirée à dispositif de sécurité pour enfant 3-6
Verrouillage electrique des portes. 3-4
Serrures de portiere 3-3
Sièges
Réglage 1-2
Réglage manuel des sièges avant. 1-2
Sièges avant 1-2
Sièges chauffants. 2-38
Strapontin. 1-6
Sièges avant 1-2
Sièges chauffants. 2-38
Stationnement
Stationnement ou stationnement en pente. .5-33
Utilisation du frein de stationnement. . . .5-20
Strapontin. 1-6
Surchauffe
Si voire vehicule surchauffe . . . . . . . .6-12
Système LATCH (ancrages et fixations inférieures pour siège d'enfant) 1-26
Système antidémarrage 2-29, 3-2, 5-12
Système antidémarrage du vehicule
NISSAN. 2-29, 3-2, 5-12
Système antipatinage actif (selon l'équipment du vehicule). 5-37
Système d'alarme (reportez-vous à Système de sécurité du vehicule) 2-28
Système de freinage antiblocage 5-35
Système de sécurité du vehicule 2-28
Système de sécurité du vehicule (système antidémarrage du vehicule NISSAN), démarrage du moteur 2-29, 3-2, 5-12
Système de sécurité (système antidémarrage du vehicule NISSAN), démarrage du moteur. 2-29, 3-2, 5-12
Système de surveillance de la pression des pneus . .5-3
Système de verrouillage ou déverrouillage sans clé à télécommande 3-6
Système de verrouillage ou déverrouillage sans clé à télécommande (reportez-vous à Système d'entrée sans clé à télécommande). . . . . . .3-6
T
Tableau de bord. . . . . . . . . . . . . . . . . . . . . . . . . . . . . . . . . . . . . . . . . . . . . . . . . . . . . . . . . . . . . . . . . . . . . . . . . . . 0-6, 2-4 Télécommande
Télécommande universelle HomeLink ^MD .2-61
Télécommande multiple (reportez-vous à Systeme de verrouillage ou déverrouillage sans clé à télécommande). .3-6
Télécommande universelle HomeLink ^MD 2-61
Telephone de voiture ou radio BP . . . . . . .4-31 Témoin
Témoin de coussin gonflable . . . .1-75, 2-22
Témoin de faible pression des pneus . . .2-20
Témoin d'anomalie 2-24
Témoin de bas niveau de carburant 2-20
Témoin de coussin gonflable 1-75, 2-22
Témoin de faible pression des pneus . . . . .2-20
Témoin de niveau de lave-glace bas. 2-21
Témoin de portière ouverte. 2-19
Témoin de sécurité 2-25
Témoin des ceintures de sécurité . . . . . . .2-22
Témoin des freins antiblocage 2-17
Témoin des quatre roues motrices. 2-19
Témoin du coussin gonflable 1-75, 2-22
Témoins d'alerte. 2-16
Témoins et rappels sonores (reportez-vous à Témoins et rappels sonores). 2-16
Toit ouvrant 2-57
Trousse de premiers soins. .6-2
V
Vérification d'ampoule ou tableau de bord .2-17
Verrouillage de portiere arrirée à dispositif de sécurité pour enfant 3-6
Vide-poches. 2-49
Vide-poches de dossier de siege . . . . . .2-50
Volant inclinable. 3-11
Voltmetre 2-12
Voyages ou immatriculation du vehicule à l'étranger 9-9
Voyages (reportez-vous à Immatriculation de votre vehicule à l'étranger). 9-9
MÉMENTO
INFORMATION DE STATION- SERVICE
CARBURANT RECOMMANDÉ :
Pour les moteurs 2.5L
Utilisez une essence ordinaire sans plomb à indice d'octane de 87 ou plus (indice d'octane recherche de 91).
Pour les moteurs 4.0L
Pour obltenir un rendement optimal de votre vehicule, NISSAN recommende d'utiliser de l'essence super sans plomb avec un indice d'octane antidétonant de 91 ou plus (indice d'octane recherche de 96). Si de l'essence super sans plomb n'est pas disponible, vous pouvez utiliser de l'essence ordinaire sans plomb d'un indice d'octane antidétonant d'au moins 87 (indice d'octane recherche de 91), mais vous pourriez noter une baisse du rendement.

MISE EN GARDE
L'utilisation de carburant autre que celui qui est prescrit pourrait nuire au fonctionnement du dispositif antipollution et avoir une incidence sur la couverture offerte par la garantie.
- N'utilisez en aucune circonstance de l'essence au plomb dans votre vehicule, car vous pourriez endommager le catalyseur trifonctionnel.
- N'utilisez pas de carburant E-85 dans votre vehicule. Le carburant E-85 ne convient pas à votre vehicule. Le carburant E-85 peut endommager les composants du circuit d'alimentation en carburant et les frais encourus ne seraient pas couverts par la garantie limite de vehicule neuf NiSSAN.
Consultez la section « Contenances, carburants et lubrifiants recommends » du chapitre « Données techniques et information au consommateur » pour obtenir plus de détails à ce sujet.
HUILE MOTEUR RECOMMANDÉE
Huile moteur avec marque de certification API
Viscosité SAE 5W-30
Consultez la section « Recommendations relatives à l'huile moteur et au filtré à huile » du chapitre « Données techniques et information au consommateur » dans leprésent manuel.
PRESSION DE GONFLAGE DES PNEUS À FROID
Voir l'étiquette des pneus et d'information sur la charge.
MÉTHODE DE RODAGE RECOMMANDÉE POUR UN VÉHICULE NEUF
Pendant les 2 000 premiers kilomètres (1 200 milles) d'utilisation du vehicule, suivez les recommendations décrites dans la section « Période de rodage » du chapitre « Démarriage et conduite » du present manuel. Ces recommandations assureront la fiabilité et l'économie d'utilisation de votre vehicule neuf. Si vous ne suivez pas ces recommandations, vous pourriez provoquer des dommages à votre vehicule ou réduire la vie utile de votre moteur.

WGS0025
- Batterie 8-17
- Liquide de direction assistée 8-14
- Liquide de refroidissement 8-9
- Liquide lave-glace 8-16
- Huile pour boîte de vitesses automatique 8-14
- Système de chauffage et de climatisation 4-2; chaine audio 4-11
- Coussin gonflable du côté passager1-57
- Roude secours 6-2
- Bouchon du réservoir de carburant 3-10; recommendations concernant le carburant 9-3
- Ceintures de sécurité 1-12
- Serrures de portière 3-3
- Coussin gonflable du conducteur 1-57
- Déverrouillage du capot 3-9
- Instruments et indicateurs de bord 2-6
- Liquide d'embrayage 8-15
- Liquide de frein 8-15
- Huile moteur 8-11
Notice Facile