DE60UM - Hotte DELONGHI - Notice d'utilisation et mode d'emploi gratuit

Retrouvez gratuitement la notice de l'appareil DE60UM DELONGHI au format PDF.

📄 22 pages Français FR 💬 Question IA 8 questions ⚙️ Specs
Notice DELONGHI DE60UM - page 1
Caractéristiques Techniques Hotte décorative, 60 cm de largeur, moteur puissant, 3 niveaux de puissance d'aspiration
Débit d'air Max 600 m³/h
Niveau sonore Max 65 dB
Filtration Filtres à charbon et filtres métalliques lavables
Éclairage Éclairage LED intégré
Utilisation Idéale pour les cuisines ouvertes, commande tactile pour une utilisation facile
Maintenance Filtres à nettoyer tous les 2-3 mois, remplacement des filtres à charbon selon usage
Sécurité Protection contre la surchauffe, conforme aux normes de sécurité électrique
Informations Générales Design moderne, disponible en plusieurs finitions, garantie constructeur de 2 ans

FOIRE AUX QUESTIONS - DE60UM DELONGHI

Comment nettoyer les filtres de la hotte DELONGHI DE60UM ?
Pour nettoyer les filtres, retirez-les de la hotte et plongez-les dans de l'eau chaude savonneuse pendant environ 15 minutes. Ensuite, frottez doucement avec une éponge non abrasive, rincez à l'eau claire et laissez sécher complètement avant de les remettre en place.
La hotte DELONGHI DE60UM fait du bruit. Est-ce normal ?
Un certain niveau de bruit est normal lors du fonctionnement de la hotte, surtout à des vitesses élevées. Cependant, si le bruit est excessif ou inhabituel, vérifiez que la hotte est correctement installée et que les filtres ne sont pas obstrués.
Comment installer la hotte DELONGHI DE60UM ?
Pour installer la hotte, suivez le manuel d'instructions fourni. Assurez-vous de fixer la hotte à une hauteur appropriée au-dessus de la cuisinière et de la raccorder à une source d'alimentation électrique sécurisée.
Quelles sont les dimensions de la hotte DELONGHI DE60UM ?
Les dimensions de la hotte DELONGHI DE60UM sont 60 cm de largeur, 50 cm de profondeur et 15 cm de hauteur.
Comment changer l'ampoule de la hotte DELONGHI DE60UM ?
Pour changer l'ampoule, débranchez d'abord la hotte. Retirez le couvercle de l'ampoule en le faisant pivoter ou en le dévissant, remplacez l'ampoule par une nouvelle de même type, puis remettez le couvercle en place.
Pourquoi la hotte DELONGHI DE60UM ne s'allume-t-elle pas ?
Si la hotte ne s'allume pas, vérifiez d'abord si elle est correctement branchée et si l'interrupteur est en position 'on'. Si elle ne s'allume toujours pas, il peut y avoir un problème électrique ou un fusible grillé.
Comment régler la vitesse de la hotte DELONGHI DE60UM ?
La hotte DELONGHI DE60UM dispose d'un panneau de contrôle avec plusieurs niveaux de vitesse. Appuyez simplement sur le bouton correspondant à la vitesse souhaitée pour ajuster le débit d'air.
La hotte DELONGHI DE60UM ne filtre pas bien les odeurs. Que faire ?
Si la hotte ne filtre pas bien les odeurs, vérifiez que les filtres sont propres et en bon état. Si nécessaire, remplacez les filtres à charbon actif si votre modèle en est équipé.

Téléchargez la notice de votre Hotte au format PDF gratuitement ! Retrouvez votre notice DE60UM - DELONGHI et reprennez votre appareil électronique en main. Sur cette page sont publiés tous les documents nécessaires à l'utilisation de votre appareil DE60UM de la marque DELONGHI.

MODE D'EMPLOI DE60UM DELONGHI

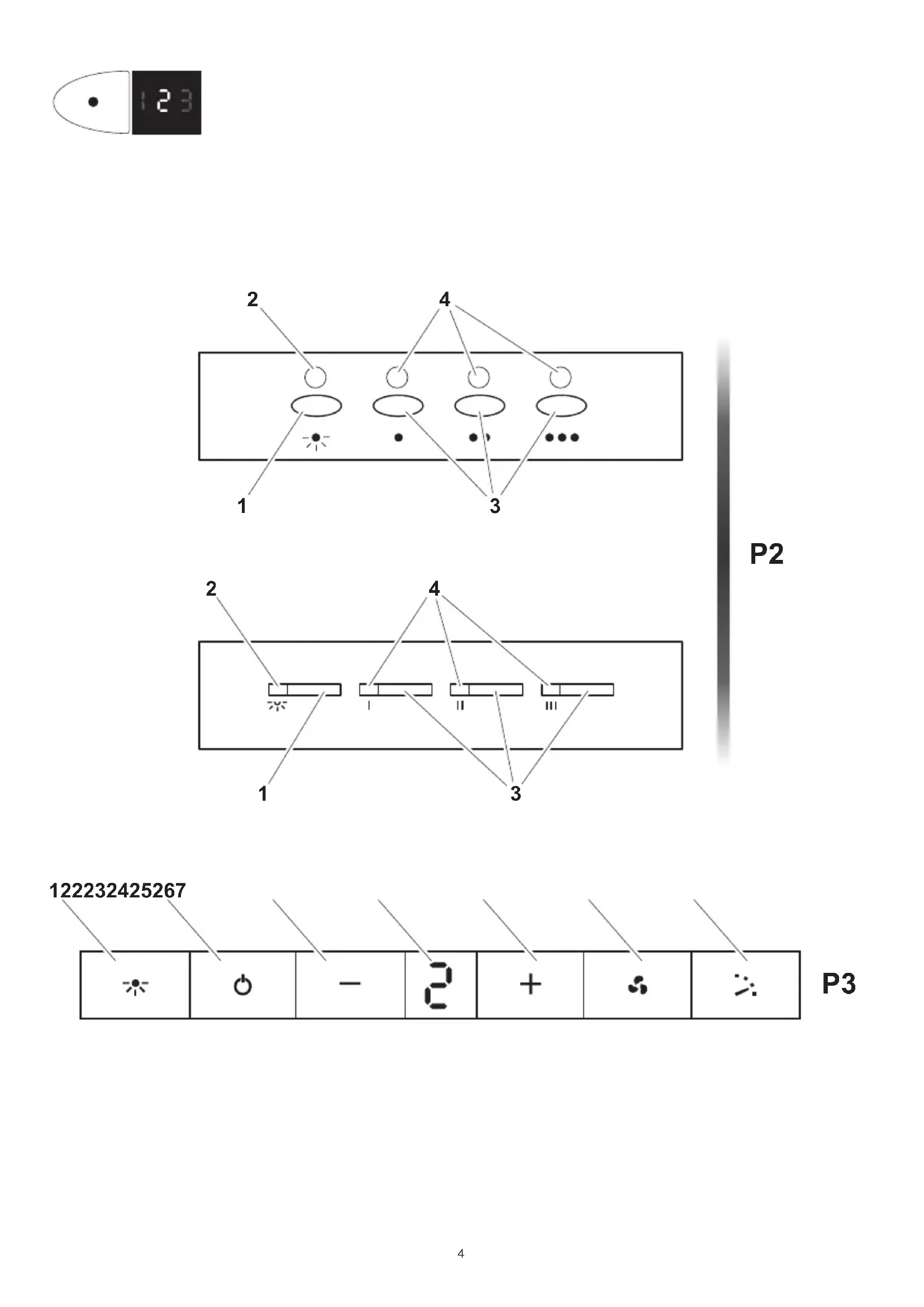
Cher client, Merci d’avoir choisi notre hotte. Veuillez lire attentivement ces instructions qui vous assureront une installation, une utilisation et un entretien optimum de cette hotte. Installation de la hotte (recherchez le symbole sur les illustrations) Attention: appliquez les normes locales relatives à l’évacuation des fumées. Entre autres: ne reliez pas la hotte à un conduit de fumée, d’aération ou d’air chaud déjà utilisé. Conrmez avec l’autorité locale que votre raccordement est conforme. Assurez-vous que le débit maximal d’extraction d’air des appareils environnants ne dépasse pas 4 Pa (0,04 mbar). Une ventilation convenable de la pièce doit être prévue lorsqu’une hotte de cuisine est utilisée simultanément avec des appareils utilisant du gaz ou un autre combustible. Ll’air ne doit pas être envoyé dans un conduit utilisé pour évacuer les fumées d’appareils utilisant du gaz ou un autre combustible. Pour l’évacuation des fumées vers l’extérieur, utiliser un tuyau en PVC rigide d’un diamètre idéal de 150 mm. Les restrictions précédentes ne concernent pas les hottes dépourvues d’évacuation vers l’extérieur (utilisation en recyclage avec ltre à charbon actif). Installez la hotte conformément aux instructions du schéma de montage fourni. - La distance minimale à respecter entre la surface support des récipients de cuisson de la table de cuisson et la partie la plus basse de la hotte de cuisine doit être d’au moins 65 cm. Si les instructions d’installation pour la table de cuisson à gaz spécient une distance plus grande, celle-ci doit être prise en compte.. Branchement électrique de la hotte Attention: avant de brancher la hotte : coupez l’alimentation électrique. Vériez que la tension et la fréquence existantes correspondent à celles indiquées sur la plaque signalétique de la hotte. Si la hotte est équipée d’une prise, raccordez la hotte à une prise homologuée facile d’accès, conformément aux normes en vigueur. Si l’appareil n’est pas équipé de prise, raccordez-le directement à l’installation électrique, sur un circuit protégé par un dispositif omnipolaire de séparation facile d’accès pour pouvoir le déconnecter, conformément à la réglementation locale. Utilisation de la hotte – Sécurité Attention: en cas de décharge électrostatique (par ex. la foudre) la hotte peut cesser de fonctionner. Cela ne suppose aucun risque de dommages. Coupez l’alimentation électrique de la hotte et rebranchez- la une minute plus tard. - Cet appareil n’est pas prévu pour être utilisé par des personnes (y compris les enfants) dont les capacités physiques, sensorielles ou mentales sont réduites, ou des personnes dénuées d’expérience ou de connaissance, sauf si elles ont pu bénécier, par l’intermédiaire d’une personne responsable de leur sécurité, d’une surveillance ou d’instructions préalables concernant l’utilisation de l’appareil. Il convient de surveiller les enfants pour s’assurer qu’ils ne jouent pas avec l’appareil. Les enfants doivent être surveillés pour s’assurer qu’ils ne jouent pas avec l’appareil. Il y a risque d’incendie si le nettoyage n’est pas effectué conformément aux instructions; ne pas amber d’aliments sous la hotte de cuisine. ATTENTION: Les parties accessibles de cet appareil peuvent devenir chaudes lorsqu’il est utilisé avec des appareils de cuisson. Si le câble d’alimentation électrique est endommagé, celui-ci devra être impérativement changé par un service ofciel ou par un agent autorisé. Utilisation de la hotte - Pupitre de commande (recherchez le symbole sur les illustrations) Vous trouverez ci-après la description des différents pupitres de commande possibles. Vériez le modèle du pupitre de commande de votre hotte et reportez-vous à l’illustration correspondante. Pupitre avec bouton électrique (illustration P2)

1- Marche / arrêt de l’éclairage.

2- Témoin de contrôle de fonctionnement de l’éclairage.

3- Vitesse d’extraction - touche : 1ère, 2ème et 3ème vitesses En appuyant de

nouveau sur la vitesse actuelle, l’extracteur s’éteint.

4- Témoin de contrôle de vitesse de fonctionnement de l’extraction.

Minuterie : maintenez appuyée pendant deux secondes la touche de la vitesse choisie, jusqu’à ce que l’indicateur clignote. 15 min plus tard, l’extracteur s’arrête et l’éclairage s’éteint. Pour annuler la minuterie: appuyez une fois sur la touche de la vitesse choisie. Pupitre à quatre vitesses - Afcheur numérique (illustration P3)

1- Marche / arrêt de l’éclairage.

2- Marche / arrêt d’extraction.

3- Réduire la vitesse d’extraction.

4- Pupitre indicateur de la vitesse d’extraction.

5- Augmenter la vitesse d’extraction.

6- Activer la vitesse turbo d’extraction.

7- Activer et désactiver la minuterie d’extraction.

Minuterie: l’extracteur fonctionne 5 min. à la vitesse choisie et 5 min. supplémentaires à chacune des vitesses inférieures jusqu’à ce qu’il s’arrête et que l’éclairage s’éteigne. Pupitre tactile (illustration P5)

1- Témoin indicateur / touche d’avertissement de nettoyage des ltres. Alerte

de remplacement du ltre nécessaire - appuyez pour désactiver une fois le ltre nettoyé ou remplacé.

2- Activer et désactiver la minuterie de l’extracteur.

3- Marche / arrêt de l’éclairage. Maintenez appuyé pour régler l’intensité de

4- Marche / arrêt d’extraction.

5- Vitesse d’extraction - touche: 1ère, 2ème, 3ème et 4ème vitesses

Minuterie: l’extracteur fonctionne 5 min. à la vitesse choisie et 5 min. supplémentaires à chacune des vitesses inférieures jusqu’à ce qu’il s’arrête. Pupitre tactile progressif (illustration P6)

1- Marche / arrêt d’extraction.

2- Pupitre tactile à glissière de contrôle de la vitesse d’extraction. Également

utilisé en combinaison avec la touche -3-.

3- Marche / arrêt de l’éclairage. Appuyez sur la touche et, pendant qu’elle

clignote, réglez l’intensité de l’éclairage avec le pupitre tactile progressif -2-.

4- Active et désactive la minuterie d’extraction.

5- Témoin indicateur / touche d’avertissement de nettoyage des ltres. Alerte

de remplacement du ltre nécessaire - appuyez pour désactiver l’alerte une fois le ltre propre ou remplacé. Minuterie: l’extracteur fonctionne 2 min. à la vitesse choisie et 2 min. supplémentaires à chacune des vitesses inférieures jusqu’à ce qu’il s’arrête et que l’éclairage s’éteigne. Entretien de la hotte Attention: coupez toujours l’alimentation électrique avant d’intervenir sur la hotte. En cas de défaut, contactez un distributeur ofciel ou un agent agréé. Nettoyage externe : utilisez un détergent liquide, non corrosif et n’utilisez pas des produits de nettoyage abrasifs. Filtres à graisse : Il y a risque d’incendie si le nettoyage n’est pas effectué conformément aux instructions Pour cela, démontez les ltres et lavez-les à l’eau chaude et avec du détergent neutre. Si vous utilisez un lave-vaisselle, placez les ltres à la verticale an d’éviter le dépôt de restes solides. Filtres à charbon actif : ils doivent être remplacés tous les trois mois. Important: augmentez la fréquence de nettoyage / remplacement des ltres si la hotte est utilisée plus de 2 heures par jour. Utilisez toujours des ltres d’origine du fabricant. Remplacement des ampoules (recherchez le symbole sur les illustrations) Attention: ne manipulez pas les ampoules avant d’avoir coupé l’alimentation électrique et que leur température n’ait baissé. Important: utilisez des ampoules neuves conformément à ce qui apparaît sur la plaque signalétique de la hotte. Utilisez des ampoules à réecteur en aluminium pour remplacer des ampoules halogènes. N’utilisez pas d’ampoules dichroïques - risque de surchauffe. Informations légales Le fabricant: - Déclare que cet équipement est conforme aux exigences essentielles concernant le matériel électrique basse tension, indiquées dans la directive 2006/95/CEE du 12/12/06, et de compatibilité électromagnétique indiquées par la directive 2004/108/CEE du 15/12/04. - N’est pas responsable du non respect des indications de la présente notice et des normes de sécurité en vigueur pour l’utilisation correcte de l’équipement. - Se réserve le droit d’effectuer toute modication sur l’équipement ou dans la présente notice sans avertissement préalable. Contactez notre distributeur ofciel si vous avez besoin d’assistance technique ou d’informations supplémentaires concernant nos produits. FR10

Assistant notice
Powered by ChatGPT
En attente de votre message
Informations produit

Marque : DELONGHI

Modèle : DE60UM

Catégorie : Hotte