DELONGHI DE90UM - Hotte

DE90UM - Hotte DELONGHI - Notice d'utilisation et mode d'emploi gratuit

Retrouvez gratuitement la notice de l'appareil DE90UM DELONGHI au format PDF.

📄 22 pages Français FR 💬 Question IA 9 questions ⚙️ Specs
Notice DELONGHI DE90UM - page 1
Caractéristiques techniques Hotte décorative, moteur puissant, éclairage LED, plusieurs niveaux de puissance d'aspiration
Dimensions Largeur : 90 cm, Profondeur : 60 cm, Hauteur : réglable
Type de filtre Filtre à graisse en aluminium, filtre à charbon (optionnel)
Niveau sonore Silencieuse, niveau sonore en fonctionnement normal
Utilisation Idéale pour les cuisines ouvertes, facile à utiliser avec des commandes intuitives
Entretien Filtres lavables au lave-vaisselle, nettoyage régulier de la surface
Sécurité Arrêt automatique, protection contre la surchauffe
Informations générales Garantie constructeur, conformité aux normes de sécurité européennes

FOIRE AUX QUESTIONS - DE90UM DELONGHI

Comment nettoyer les filtres de la hotte DELONGHI DE90UM ?
Pour nettoyer les filtres, retirez-les de la hotte et lavez-les à l'eau chaude savonneuse. Assurez-vous qu'ils soient complètement secs avant de les remettre en place.
Que faire si la hotte ne s'allume pas ?
Vérifiez que la hotte est correctement branchée et que le fusible n'est pas grillé. Si le problème persiste, contactez le service client.
Comment régler la puissance d'aspiration de la hotte ?
Utilisez le panneau de contrôle situé à l'avant de la hotte pour sélectionner la puissance d'aspiration souhaitée. Les niveaux sont généralement indiqués par des lumières.
La hotte fait du bruit, est-ce normal ?
Un certain niveau de bruit est normal, surtout à des vitesses d'aspiration élevées. Si le bruit est excessif ou inhabituel, vérifiez que rien n'entrave le ventilateur.
Comment remplacer l'ampoule de la hotte DELONGHI DE90UM ?
Débranchez la hotte, retirez le couvercle de l'ampoule et remplacez l'ampoule par une nouvelle du même type. Remettez ensuite le couvercle en place.
Quelle est la hauteur d'installation recommandée pour la hotte ?
La hauteur d'installation recommandée est généralement entre 65 cm et 75 cm au-dessus de la surface de cuisson.
Comment savoir si le filtre à charbon doit être remplacé ?
Si vous remarquez une diminution de la performance d'aspiration ou des odeurs persistantes, il est temps de remplacer le filtre à charbon.
La hotte dégage une odeur désagréable, que faire ?
Vérifiez si les filtres sont propres et en bon état. Un filtre à charbon usé ou sale peut causer des odeurs. Remplacez-le si nécessaire.
Est-il possible d'utiliser la hotte sans évacuation ?
Oui, la DELONGHI DE90UM peut fonctionner en mode recyclage, en utilisant un filtre à charbon pour purifier l'air avant de le renvoyer dans la pièce.

Téléchargez la notice de votre Hotte au format PDF gratuitement ! Retrouvez votre notice DE90UM - DELONGHI et reprennez votre appareil électronique en main. Sur cette page sont publiés tous les documents nécessaires à l'utilisation de votre appareil DE90UM de la marque DELONGHI.

MODE D'EMPLOI DE90UM DELONGHI

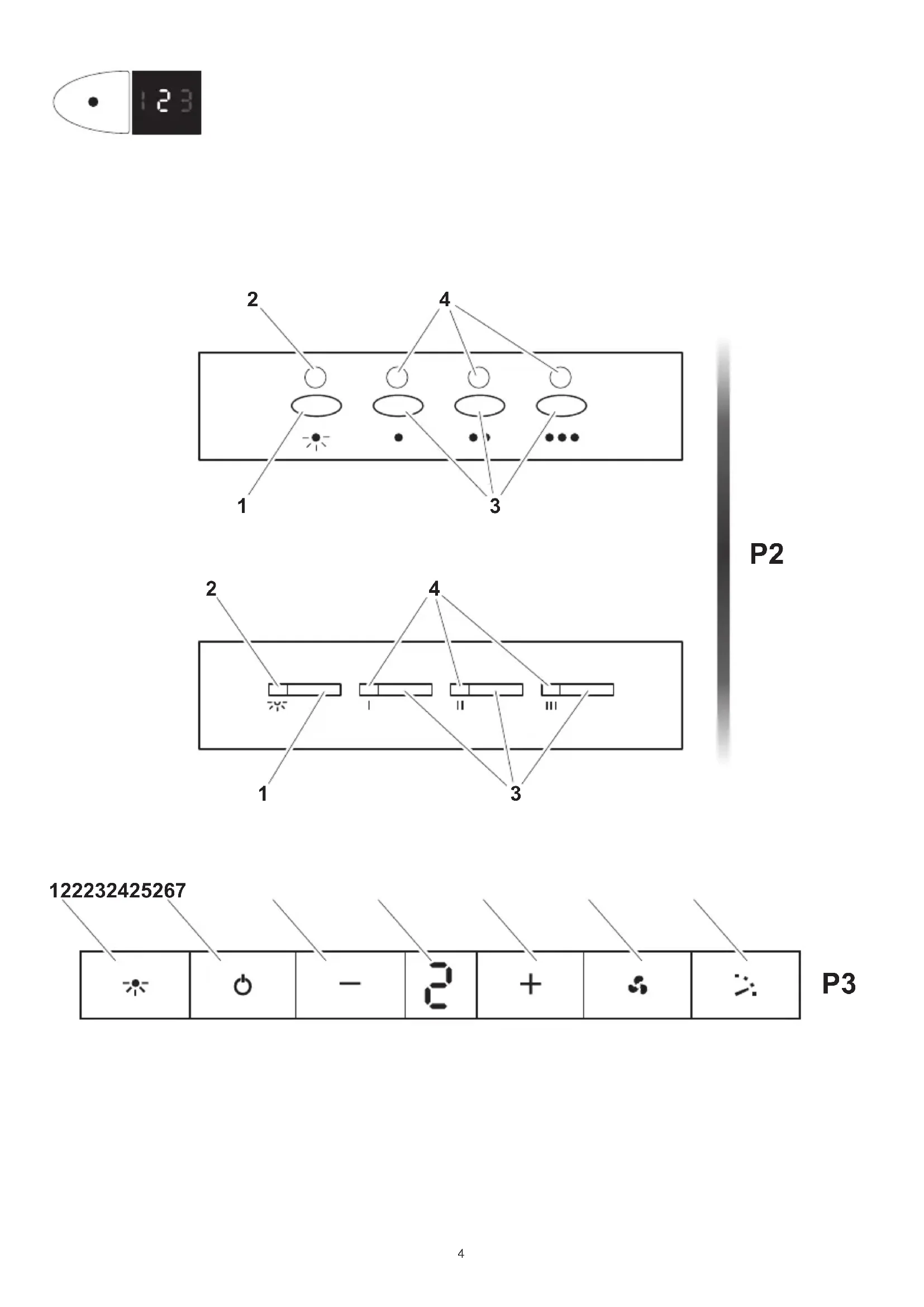
Cher client, Merci d’avoir choisi notre hotte. Veuillez lire attentivement ces instructions qui vous assureront une installation, une utilisation et un entretien optimum de cette hotte. Installation de la hotte (recherchez le symbole sur les illustrations) Attention: appliquez les normes locales relatives à l’évacuation des fumées. Entre autres: ne reliez pas la hotte à un conduit de fumée, d’aération ou d’air chaud déjà utilisé. Conrmez avec l’autorité locale que votre raccordement est conforme. Assurez-vous que le débit maximal d’extraction d’air des appareils environnants ne dépasse pas 4 Pa (0,04 mbar). Une ventilation convenable de la pièce doit être prévue lorsqu’une hotte de cuisine est utilisée simultanément avec des appareils utilisant du gaz ou un autre combustible. Ll’air ne doit pas être envoyé dans un conduit utilisé pour évacuer les fumées d’appareils utilisant du gaz ou un autre combustible. Pour l’évacuation des fumées vers l’extérieur, utiliser un tuyau en PVC rigide d’un diamètre idéal de 150 mm. Les restrictions précédentes ne concernent pas les hottes dépourvues d’évacuation vers l’extérieur (utilisation en recyclage avec ltre à charbon actif). Installez la hotte conformément aux instructions du schéma de montage fourni. - La distance minimale à respecter entre la surface support des récipients de cuisson de la table de cuisson et la partie la plus basse de la hotte de cuisine doit être d’au moins 65 cm. Si les instructions d’installation pour la table de cuisson à gaz spécient une distance plus grande, celle-ci doit être prise en compte.. Branchement électrique de la hotte Attention: avant de brancher la hotte : coupez l’alimentation électrique. Vériez que la tension et la fréquence existantes correspondent à celles indiquées sur la plaque signalétique de la hotte. Si la hotte est équipée d’une prise, raccordez la hotte à une prise homologuée facile d’accès, conformément aux normes en vigueur. Si l’appareil n’est pas équipé de prise, raccordez-le directement à l’installation électrique, sur un circuit protégé par un dispositif omnipolaire de séparation facile d’accès pour pouvoir le déconnecter, conformément à la réglementation locale. Utilisation de la hotte – Sécurité Attention: en cas de décharge électrostatique (par ex. la foudre) la hotte peut cesser de fonctionner. Cela ne suppose aucun risque de dommages. Coupez l’alimentation électrique de la hotte et rebranchez- la une minute plus tard. - Cet appareil n’est pas prévu pour être utilisé par des personnes (y compris les enfants) dont les capacités physiques, sensorielles ou mentales sont réduites, ou des personnes dénuées d’expérience ou de connaissance, sauf si elles ont pu bénécier, par l’intermédiaire d’une personne responsable de leur sécurité, d’une surveillance ou d’instructions préalables concernant l’utilisation de l’appareil. Il convient de surveiller les enfants pour s’assurer qu’ils ne jouent pas avec l’appareil. Les enfants doivent être surveillés pour s’assurer qu’ils ne jouent pas avec l’appareil. Il y a risque d’incendie si le nettoyage n’est pas effectué conformément aux instructions; ne pas amber d’aliments sous la hotte de cuisine. ATTENTION: Les parties accessibles de cet appareil peuvent devenir chaudes lorsqu’il est utilisé avec des appareils de cuisson. Si le câble d’alimentation électrique est endommagé, celui-ci devra être impérativement changé par un service ofciel ou par un agent autorisé. Utilisation de la hotte - Pupitre de commande (recherchez le symbole sur les illustrations) Vous trouverez ci-après la description des différents pupitres de commande possibles. Vériez le modèle du pupitre de commande de votre hotte et reportez-vous à l’illustration correspondante. Pupitre avec bouton électrique (illustration P2)

1- Marche / arrêt de l’éclairage.

2- Témoin de contrôle de fonctionnement de l’éclairage.

3- Vitesse d’extraction - touche : 1ère, 2ème et 3ème vitesses En appuyant de

nouveau sur la vitesse actuelle, l’extracteur s’éteint.

4- Témoin de contrôle de vitesse de fonctionnement de l’extraction.

Minuterie : maintenez appuyée pendant deux secondes la touche de la vitesse choisie, jusqu’à ce que l’indicateur clignote. 15 min plus tard, l’extracteur s’arrête et l’éclairage s’éteint. Pour annuler la minuterie: appuyez une fois sur la touche de la vitesse choisie. Pupitre à quatre vitesses - Afcheur numérique (illustration P3)

1- Marche / arrêt de l’éclairage.

2- Marche / arrêt d’extraction.

3- Réduire la vitesse d’extraction.

4- Pupitre indicateur de la vitesse d’extraction.

5- Augmenter la vitesse d’extraction.

6- Activer la vitesse turbo d’extraction.

7- Activer et désactiver la minuterie d’extraction.

Minuterie: l’extracteur fonctionne 5 min. à la vitesse choisie et 5 min. supplémentaires à chacune des vitesses inférieures jusqu’à ce qu’il s’arrête et que l’éclairage s’éteigne. Pupitre tactile (illustration P5)

1- Témoin indicateur / touche d’avertissement de nettoyage des ltres. Alerte

de remplacement du ltre nécessaire - appuyez pour désactiver une fois le ltre nettoyé ou remplacé.

2- Activer et désactiver la minuterie de l’extracteur.

3- Marche / arrêt de l’éclairage. Maintenez appuyé pour régler l’intensité de

4- Marche / arrêt d’extraction.

5- Vitesse d’extraction - touche: 1ère, 2ème, 3ème et 4ème vitesses

Minuterie: l’extracteur fonctionne 5 min. à la vitesse choisie et 5 min. supplémentaires à chacune des vitesses inférieures jusqu’à ce qu’il s’arrête. Pupitre tactile progressif (illustration P6)

1- Marche / arrêt d’extraction.

2- Pupitre tactile à glissière de contrôle de la vitesse d’extraction. Également

utilisé en combinaison avec la touche -3-.

3- Marche / arrêt de l’éclairage. Appuyez sur la touche et, pendant qu’elle

clignote, réglez l’intensité de l’éclairage avec le pupitre tactile progressif -2-.

4- Active et désactive la minuterie d’extraction.

5- Témoin indicateur / touche d’avertissement de nettoyage des ltres. Alerte

de remplacement du ltre nécessaire - appuyez pour désactiver l’alerte une fois le ltre propre ou remplacé. Minuterie: l’extracteur fonctionne 2 min. à la vitesse choisie et 2 min. supplémentaires à chacune des vitesses inférieures jusqu’à ce qu’il s’arrête et que l’éclairage s’éteigne. Entretien de la hotte Attention: coupez toujours l’alimentation électrique avant d’intervenir sur la hotte. En cas de défaut, contactez un distributeur ofciel ou un agent agréé. Nettoyage externe : utilisez un détergent liquide, non corrosif et n’utilisez pas des produits de nettoyage abrasifs. Filtres à graisse : Il y a risque d’incendie si le nettoyage n’est pas effectué conformément aux instructions Pour cela, démontez les ltres et lavez-les à l’eau chaude et avec du détergent neutre. Si vous utilisez un lave-vaisselle, placez les ltres à la verticale an d’éviter le dépôt de restes solides. Filtres à charbon actif : ils doivent être remplacés tous les trois mois. Important: augmentez la fréquence de nettoyage / remplacement des ltres si la hotte est utilisée plus de 2 heures par jour. Utilisez toujours des ltres d’origine du fabricant. Remplacement des ampoules (recherchez le symbole sur les illustrations) Attention: ne manipulez pas les ampoules avant d’avoir coupé l’alimentation électrique et que leur température n’ait baissé. Important: utilisez des ampoules neuves conformément à ce qui apparaît sur la plaque signalétique de la hotte. Utilisez des ampoules à réecteur en aluminium pour remplacer des ampoules halogènes. N’utilisez pas d’ampoules dichroïques - risque de surchauffe. Informations légales Le fabricant: - Déclare que cet équipement est conforme aux exigences essentielles concernant le matériel électrique basse tension, indiquées dans la directive 2006/95/CEE du 12/12/06, et de compatibilité électromagnétique indiquées par la directive 2004/108/CEE du 15/12/04. - N’est pas responsable du non respect des indications de la présente notice et des normes de sécurité en vigueur pour l’utilisation correcte de l’équipement. - Se réserve le droit d’effectuer toute modication sur l’équipement ou dans la présente notice sans avertissement préalable. Contactez notre distributeur ofciel si vous avez besoin d’assistance technique ou d’informations supplémentaires concernant nos produits. FR10

Assistant notice
Powered by ChatGPT
En attente de votre message
Informations produit

Marque : DELONGHI

Modèle : DE90UM

Catégorie : Hotte