E33012 - Accessoire industriel IFM - Notice d'utilisation et mode d'emploi gratuit
Retrouvez gratuitement la notice de l'appareil E33012 IFM au format PDF.
| Caractéristiques | Détails |
|---|---|
| Type de produit | Capteur |
| Modèle | IFM E33012 |
| Plage de mesure | À confirmer selon le type de capteur |
| Alimentation | À confirmer selon le type de capteur |
| Connectivité | À confirmer selon le type de capteur |
| Utilisation | Applications industrielles, automatisation |
| Maintenance | Vérification régulière de l'état du capteur |
| Sécurité | Respecter les normes de sécurité électrique |
| Informations générales | Consulter le manuel d'utilisation pour les spécifications détaillées |
FOIRE AUX QUESTIONS - E33012 IFM
Questions des utilisateurs sur E33012 IFM
0 question sur cet appareil. Repondez a celles que vous connaissez ou posez la votre.
Poser une nouvelle question sur cet appareil
Téléchargez la notice de votre Accessoire industriel au format PDF gratuitement ! Retrouvez votre notice E33012 - IFM et reprennez votre appareil électronique en main. Sur cette page sont publiés tous les documents nécessaires à l'utilisation de votre appareil E33012 de la marque IFM.
MODE D'EMPLOI E33012 IFM
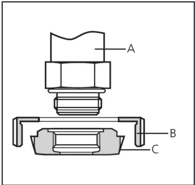
Notice de Montage Adaptateur Aseptoflex
E330xx / E331xx
Monter
d'abord l'adaptateur (C) sur le capteur (A), - ensuite le capteur et l'adaptateur sur le raccord process à l'aide d'un écrou, d'une flasque de serrage ou similaire (B).
Si l'objet de fixation (B) ne peut pas être monté par le haut, il est possible de le monter par le bas avant de visser l'adaptateur.

ATTENTION: Une garantie pour un effet d'étanchéité stable à long terme et ainsi sans entretien, sans fentes, et aseptique du joint métallique (adaptation Aseptoflex) est seulement assumée pour l'appareil monté une seule fois.
Montage de l'adaptateur :
Graisser légèrement les filetages et les zones d'étanchéité du capteur et de l'adaptateur avec la pâte lubrificative (1).
La pâte doit être appropriée et homologuée pour l'application ainsi que compatible avec les élastomères utilisés.
Recommandation: pâte Klüber UH1 84-201 avec homologation USDA-H1 pour l'industrie agroalimentaire.
S'assurer que le joint torque (D) est bien positionné.

Visser le capteur dans l'adaptateur à la main. Éviter des influences mécaniques sur les zones d'étanchéité, les zones aseptiques et la cellule de mesure. Serrer le capteur et l'adaptateur dans un dispositif de serrage (E). Les chanfreins d'étanchéité (F) ne doivent pas être endommagés. Serrer le capteur jusqu'à ce que vous sentiez la butée (ceci correspond à un couple de serrage max. de 25 Nm). Attention : L'étanchéité peut être affectée si vous serrez trop fort.


Notice Facile