DV2510 - Lampe de signalisation IFM - Notice d'utilisation et mode d'emploi gratuit
Retrouvez gratuitement la notice de l'appareil DV2510 IFM au format PDF.
| Caractéristiques | Détails |
|---|---|
| Type de produit | Capteur de pression |
| Plage de mesure | 0 à 10 bar |
| Précision | ± 0,5 % de la pleine échelle |
| Sortie | Signal analogique 4-20 mA |
| Alimentation | 24 V DC |
| Température de fonctionnement | -20 à 85 °C |
| Dimensions | 50 x 50 x 100 mm |
| Poids | 300 g |
| Utilisation | Mesure de pression dans les applications industrielles |
| Maintenance | Vérification périodique recommandée |
| Sécurité | Conforme aux normes CE |
| Garantie | 2 ans |
FOIRE AUX QUESTIONS - DV2510 IFM
Questions des utilisateurs sur DV2510 IFM
0 question sur cet appareil. Repondez a celles que vous connaissez ou posez la votre.
Poser une nouvelle question sur cet appareil
Téléchargez la notice de votre Lampe de signalisation au format PDF gratuitement ! Retrouvez votre notice DV2510 - IFM et reprennez votre appareil électronique en main. Sur cette page sont publiés tous les documents nécessaires à l'utilisation de votre appareil DV2510 de la marque IFM.
MODE D'EMPLOI DV2510 IFM
Notice d'utilisation
Lampe de signalisation à 5 segments
DV15x0
DV25x0

Contenu
1 Remarque préliminaire 4 1.1 Explication des symboles 4 2 Consignes de sécurité 5 3 Fonctionnement et caractéristiques 5 3.1 IO-Link 6 3.1.1 Informations générales 6 3.1.2 Informations spécifiques à l'appareil 6 4 Montage 6 5 Raccordement électrique 7 5.1 Raccordement IO-Link 7 6 Raccordement des broches 8 6.1 Appareil IO-Link (DV25x0) 8 6.2 Appareil standard (DV15x0) 8 7 Éléments de service et d'indication 9 8 Fonctionnement 10 8.1 Fonctionnement de la version IO-Link 10 8.1.1 Généralité 10 8.1.2 Mode on/off 10 8.1.3 Mode RVB 11 8.1.4 Mode analogue 13 8.2 Fonctionnement de la version standard 15 8.3 Mode démo 15 9 Paramétrage 15 9.1 Version IO-Link 15 9.2 Version standard 16 9.2.1 Structure des paramètres 17 10 Schéma d'encombrement 18 10.1 DVx500 18 10.2 DVx510 19 10.3 DVx520 20 10.4 DVx530 21
11Données techniques 22 11.1 Appareil IO-Link 22 12 Maintenance, réparation et élimination 23 12.1 Nettoyage de la surface du boitier 23 13 Homologations/normes 23

1 Remarque préliminaire
Données techniques, homologations, accessoires et informations supplémentaires sur www.ifm.com.
1.1 Explication des symboles
Action à faire
Retour d'information, résultat
Désignation d'une touche, d'un bouton ou d'un affichage
→ Récurrence croisée

Remarque importante
Le non-respect peut aboutir à des dysfonctionnements ou perturbations.

Information
Remarque supplémentaire.

Avertissement
Avertissement de dommages corporels graves.
Danger de mort ou de graves blessures irréversibles.

Attention
Avertissement de dommages corporels.
Danger de blessures légères, réversibles.
Information importante
Avertissement de dommages matériels
2 Consignes de sécurité
- Lire ce document avant la mise en service du produit et le garder pendant le temps d'utilisation du produit.
- Le produit doit être approprié pour les applications et les conditions environnantes concernées sans aucune restriction d'utilisation.
- Utiliser le produit uniquement pour les applications pour lesquelles il a été prévu ( 3 Fonctionnement et caractéristiques).
- Le non-respect des consignes ou des données techniques peut provoquer des dommages matériels et/ou corporels.
- Le fabricant n'assume aucune responsabilité ni garantie pour les conséquences d'une mauvaise utilisation ou de modifications apportées au produit par l'utilisateur.
- Le montage, le raccordement électrique, la mise en service, le fonctionnement et l'entretien du produit doivent être effectués par du personnel qualifié et autorisé par le responsable de l'installation.
- Assurer une protection efficace des appareils et des câbles contre l'endommagement.
3 Fonctionnement et caractéristiques
L'appareil sert à visualiser les états de la machine. Les versions DVx510 et DVx530 disposent également d'un buzzer pour la signalisation sonore.
Les 5 segments à LED et l'avertisseur sonore peuvent être activés et désactivés individuellement.

L'appareil n'est conçu que pour une utilisation en intérieur.
Respecter les conditions d'utilisation ( 11 Données techniques).

L'appareil ne doit pas être utilisé pour des applications de sécurité, par ex. contrôle d'accès.
Les appareils standards sont DV15xx. Les appareils DV25xx sont des appareils IO-Link. La version IO-Link peut être commandée et paramétrée via l'interface IO-Link standardisée. Pour la version standard, les segments LED individuels peuvent être commutés individuellement via des entrées TOR. Le paramétrage s'effectue via un bouton de paramétrage ou via une interface IO-Link supplémentaire.

Si l'appareil est utilisé d'une manière qui n'est pas spécifiée par le fabricant, des caractéristiques importantes de l'appareil peuvent être affectées.
3.1.1 Informations générales
Cet appareil dispose d'une interface de communication IO-Link permettant l'accès direct aux données de process et de diagnostic. De plus, le paramétrage de l'appareil est possible pendant le fonctionnement. L'utilisation de l'appareil via l'interface IO-Link nécessite un maître IO-Link.
3.1.2 Informations spécifiques à l'appareil
Pour une communication hors fonctionnement, il vous suffit d'un PC, d'un logiciel de paramétrage IO-Link adapté et d'un câble adaptateur IO-Link. Les IODD nécessaires pour la configuration de l'ordinateur, des informations détaillées concernant la structure des données process, des informations de diagnostic et les adresses des paramètres ainsi que toutes les informations nécessaires concernant le matériel et logiciel IO-Link sont disponibles sur www.ifm.com.
4 Montage

Mettre l'installation hors tension avant le montage.

Pour le montage, désir une surface de montage plane.

Fixation (vue en bas)
1: Face avant
Monter la fixation sur la surface de montage avec les écrous M4 fournis. Couple de serrage 1,8 Nm.
Seulement pour les modèles DVx500 et DVx510 : Pour le montage sur une surface horizontale, poser le socle sur la fixation (marquages sur le socle et la fixation alignés) et tourner d'env. dans le sens horaire pour le fixer. Pour le montage sur une surface verticale, desserrer la vis dans le socle, tourner la partie supérieure du socle de et desserrer la vis. Poser le socle sur la fixation (marquages sur le socle et la fixation alignés) et tourner d'env. dans le sens horaire pour le fixer.
Passer le câble de raccordement à travers la fixation et, le cas échéant, le socle et raccorder la prise au connecteur M12 dans la lampe de signalisation. Couple de serrage max. 1 Nm. - Poser la lampe de signalisation sur la fixation ou le socle (marquages alignés) et tourner d'env. dans le sens horaire pour la fixer.

Prendre en compte le couple de serrage max. du câble de raccordement.

Des joints d'étanchéité intégrés sur le dessous de la fixation et dans le socle ainsi que des joints toriques sur la fixation et le socle empêchent la pénétration d'humidité.
Plus d'informations sur les accessoires disponibles sur www.ifm.com
5 Raccordement électrique

L'appareil doit être raccordé par un électricien qualifié.
Les règlements nationaux et internationaux relatifs à l'installation de matériel électrique doivent être respectés.
Alimentation selon TBTS, TBTP
Mettre l'installation hors tension. Raccorder l'appareil.
Le port IO-Link doit être raccordé selon la Specification IO-Link.

Connecteur M12 io-link, 4 pôles
(4 × 0,34mm^2 / AWG22)
1: UB+ 2: non raccordé 3: UB- 4: IO-Link

Connecteur M12, 8 pôles
(8 × 0.25 ~mm^2 / AWG 24)
La polarité des entrées est à sélectionner.
Raccorder la broche 5 à +24 V DC pour commander les entrées avec un transistor NPN. Raccorder la broche 5 à GND pour commander les entrées avec un transistor PNP.

En cas de commande via IO-Link (broche 8) sans câble de raccordement E12572:
Raccorder la broche 5 à +24 V DC. Raccorder la broche 3 à GND.
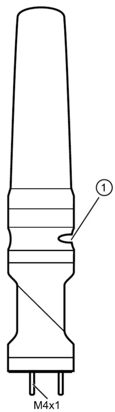
7 Éléments de service et d'indication

1: bouton de paramétrage (seulement DV15x0) 2: segment LED 1 avec 4 LED RVB 3: segment LED 2 avec 4 LED RVB 4: segment LED 3 avec 4 LED RVB 5: segment LED 4 avec 4 LED RVB 6: segment LED 5 avec 4 LED RVB 7: buzzer (seulement DVx510 et DVx530) 8: LED feedback (seulement DV15x0)

8.1.1 Généralités
L'appareil est raccordé à un maître IO-Link (port A) avec un câble de raccordement 4 pôles. Le système de commande active et désactive les segments LED individuels dans les couleurs configurées selon les paramètres régés.
Via le paramètre "Operating mode" les modes suivants peuvent être réglés :
Mode on/off Mode RVB Mode analogue
8.1.2 Mode on/off
Pendant le fonctionnement, le système de commande active et désactive les 5 segments LED ainsi que le buzzer (uniquement pour DVx510 et DVx530) (PDout, communication de données cyclique). La signalisation correspond aux paramètres définis pour les segments LED individuels et le buzzer.
Via le paramétrage cyclique les propriétés suivantes peuvent être régées pour chaque segment LED :
- Couleur (rouge, vert, orange, bleu, violet, turquoise, blanc, jaune, éteint)
- Fréquence (allumé en permanence), clignotement lent/moyen/rapide, flash lent/moyen/rapide
- Luminosité (100%, 75%, 50%, 25%)
Pour les modèles avec signalisation sonore, la puissance du son du buzzer peut être réglée.
| 7 6 5 4 | 3 2 1 0 PDout | |||||||
| Seg. 5 Seg. 4 Seg. 3 | Seg. 2 Seg. 1 Octet 0 | |||||||
| Octet 1 | ||||||||
| Octet 2 | ||||||||
| Octet 3 | ||||||||
| Octet 4 | ||||||||
| Son du buzzer (style buzzer 1...8) | Buzzer Octet 5 | |||||||
8.1.3 Mode RVB
Pendant le fonctionnement, le système de commande active et désactive les 5 segments LED ainsi que le buzzer (uniquement pour DVx510 et DVx530) et détermine les propriétés correspondantes (PDout, communication de données cyclique).
Dans ce mode, 8 différents signaux sonores sont disponibles pour le buzzer.
| 7 6 5 4 | 3 2 1 0 PDout | |||||||
| Propriétés LED segment 1 Seg. | 1 jaune | Seg. 1 rouge | Seg. 1 vert | Seg. 1 bleu | Octet 0 | |||
| Propriétés LED segment 2 Seg. | 2 jaune | Seg. 2 rouge | Seg. 2 vert | Seg. 2 bleu | Octet 1 | |||
| Propriétés LED segment 3 Seg. | 3 jaune | Seg. 3 rouge | Seg. 3 vert | Seg. 3 bleu | Octet 2 | |||
| Propriétés LED segment 4 Seg. | 4 jaune | Seg. 4 rouge | Seg. 4 vert | Seg. 4 bleu | Octet 3 | |||
| Propriétés LED segment 5 Seg. | 5 jaune | Seg. 5 rouge | Seg. 5 vert | Seg. 5 bleu | Octet 4 | |||
| Son du buzzer (style buzzer 1...8) | buzzer Octet 5 | |||||||

Les caractéristiques des segments LED sont définies comme suit :
| 3 2 1 0 couleur | |||
| 0 0 0 0 éteint | |||
| 0 1 0 0 rouge | |||
| 0 0 1 0 vert | |||
| 0 1 1 0 orange | |||
| 0 0 0 1 bleu | |||
| 0 1 0 1 violet | |||
| 0 0 1 1 turquoise | |||
| 0 1 1 1 blanc | |||
| 1 0 0 0 jaune |
| 6 5 4 fréquence | |||
| 0 0 0 allumé en permanence | |||
| 0 0 1 clignotement lent | |||
| 0 1 0 clignotement moyen | |||
| 0 1 1 clignotement rapide | |||
| 1 0 0 | flash lent | ||
| 1 0 1 | flash moyen | ||
| 1 1 0 | flash rapide |
8.1.4 Mode analogue
Pendant le fonctionnement, le système de commande transmet une valeur analogique entre 0 et 100% via PDout dans l'octet 0%. L'octet 1 détermine la représentation de la signalisation visuelle. 9 différentes représentations sont possibles.
L'octet 5 définit le signal sonore (uniquement pour DVx510 et DVx530). 8 différents signaux sonores sont disponibles.
| 7 6 5 4 | 3 2 1 0 | PDout | ||||||
| Valeur analogue 0...100 % Octet 0 | ||||||||
| Représentation LED (style 1...9) Octet 1 | ||||||||
| Octet 2 | ||||||||
| Octet 3 | ||||||||
| Octet 4 | ||||||||
| Son du buzzer (style buzzer 1...8) | Buzzer Octet 5 | |||||||

8.2 Fonctionnement de la version standard
L'appareil est raccordé aux sorties TOR du système de commande via un câble 8 pôles (voir accessoires sur www.ifm.com). Les 6 entrées HTTL de la lampe de signalisation sont commandées avec 24 V DC. Selon le paramétrage réglé, les 5 segments LED sont allumés et le buzzer retentit (uniquement pour DVx510 et DVx530).
Les entrées de signal peuvent être commandées en technologie PNP ou NPN (→ 6.2 Appareil standard (DV15x0)).
Avec le bouton de paramétrage les propriétés suivantes peuvent être réglées pour chaque segment LED :
- Couleur (rouge, vert, orange, bleu, violet, turquoise, blanc, jaune, éteint)
- Fréquence (allumé en permanence), clignotement lent/moyen/rapide, flash lent/moyen/rapide)
- Luminosité (100%, 75%, 50%, 25%)
Un paramétrage via l'interface IO-Link (broche 8 du connecteur M12) est également possible.
Après le paramétrage, l'appareil passe en mode Run.
8.3 Mode démo
En mode démo, l'appareil montre les
- différentes couleurs
- différentes indications visuelles de valeurs analogiques (styles)
- différents sons du buzzer (styles buzzer s'il y a un buzzer)
Régler le paramètre [Mode démo] dans l'outil de paramétrage IO-Link (par. ex. LR DEVICE). Pour le mode SIO et IO-Link, 3 vitesses peuvent être sélectionnées pour la démo.
9.1 Version IO-Link
L'appareil peut être paramétré à l'aide d'un outil de paramétrage IO-Link (par ex. LR DEVICE) (→ 3.1 IO-Link).
Pour plus d'informations voir l'IODD sur www.ifm.com.

9.2 Version standard
Tourner le capuchon protecteur transparent d'env. dans le sens antihoraire et l'enlever. - Appuyer brièvement sur le bouton de paramétrage sur la tête de l'appareil (< 5 s).
La LED feedback est allumée en vert. L'appareil se trouve en mode de paramétrage. - Appuyer brièvement sur le bouton de paramétrage (< 5 s) pour passer au prochain paramètre. Appuyer longtemps sur le bouton de paramétrage (>5s) pour régler le paramètre sélectionné. La LED feedback clignote en vert. L'appareil indique les réglages actuels du segment LED à paramétrer. Appuyer brièvement sur le bouton de paramétrage (< 5s) pour changer la valeur du paramètre sélectionné. Répéter cette opération jusqu'à ce que le réglage souhaité soit sélectionné. L'appareil indique les réglages actuels du segment LED à paramétrer. - Appuyer longtemps sur le bouton de paramétrage (>5 s) pour sauvegarder la valeur de paramètre sélectionnée. La LED feedback clignote en vert. L'appareil sauvegarde la valeur et passe au prochain paramètre. Après la configuration de tous les segments LED, l'appareil indique les réglages actuels de tous les segments LED. - Appuyer brièvement sur le bouton de paramétrage (< 5 s) pour terminer le mode de paramétrage. La LED feedback est éteinte. L'appareil se trouve en mode Run.

Si le bouton de paramétrage n'est pas appuyé pendant plus de 30 secondes, l'appareil sauvegarde les dernières modifications et passe en mode Run.
9.2.1 Structure des paramètres
| Seg.LED | Paramètre Valeur | ||||||||
| 1 Couleur rouge vert orange bleu violet turquoi- | se | blanc jaune éteint | |||||||
| Fréquence allumé cligno-tement lent | cligno-tement moyen | cligno-tement rapide | flash lent | flash moyen | flash rapide | ||||
| Luminosite 100 % 75 % | 50 % | 25 % | |||||||
| 2 Couleur rouge vert orange bleu violet turquoi- | se | blanc jaune éteint | |||||||
| Fréquence allumé cligno-tement lent | cligno-tement moyen | cligno-tement rapide | flash lent | flash moyen | flash rapide | ||||
| Luminosite 100 % 75 % | 50 % | 25 % | |||||||
| 3 Couleur rouge vert orange bleu violet turquoi- | se | blanc jaune éteint | |||||||
| Fréquence allumé cligno-tement lent | cligno-tement moyen | cligno-tement rapide | flash lent | flash moyen | flash rapide | ||||
| Luminosite 100 % 75 % | 50 % | 25 % | se | se | blanc jaune éteint | ||||
| 4 Couleur rouge vert orange bleu violet turquoi- | se | blanc jaune éteint | |||||||
| Fréquence allumé cligno-tement lent | cligno-tement moyen | cligno-tement rapide | flash lent | flash moyen | flash rapide | ||||
| Luminosite 100 % 75 % | 50 % | 25 % | |||||||
| 5 Couleur rouge vert orange bleu violet turquoi- | se | blanc jaune éteint | |||||||
| Fréquence allumé cligno-tement lent | cligno-tement moyen | cligno-tement rapide | flash lent | flash moyen | flash rapide | ||||
| Luminosite 100 % 75 % | 50 % | 25 %. | |||||||
10.1 DVX500


Dimensions [mm]


11 Données techniques
| DV1500 | DV1510 | DV1520 | DV1530 | DV2500 | DV2510 | DV2520 | DV2530 | ||
| Tension d'alimentation DC [V] 18...30 | |||||||||
| Tension nominale DC [V] 24 | |||||||||
| Consommation [mA] ≤ 200 RMS (400 mA pendant 50 ms) | |||||||||
| Courant d'entrée [mA] typ. 6 (24 V DC, signal haut) | |||||||||
| Puisance max. du son du buzzer | [dB] - | 85 - 85 - | 85 | - | 85 | ||||
| Degré de souillure 2 | |||||||||
| Température ambiente [°C] | -25...50 | ||||||||
| Température de stockage | [°C] | -40...75 | |||||||
| Humidité relative de l'air maximale | [%] | 90 | |||||||
| Altitude de fonctionnement maximal | [m] | 2000 au-dessus du niveau de la mer | |||||||
| Pression d'air admissible [hPa] | 1060 | ||||||||
| IO-Link | - | - | - | - | ● | ● | ● | ● | |
| Connecteurs | connecteur M12, 8 pôles | connecteur M12, 4 pôles | |||||||
11.1 Appareil IO-Link
| Type de transmission | COM2 (38,4 kbaud) | |
| Révision IO-Link | 1.1 | |
| Standard SDCI | CEI 61131-9 | |
| ID des apparueils IO-Link | ||
| DV15xx | 850 d / 00 03 52 h | |
| DV25xx | 841 d / 00 03 49 h | |
| Mode SIO | Oui | |
| Courant de charge d'entrée entrée C/Q à V0 (ILL) | [mA] | < 250 |
| Type de port maître requis | A | |
| Temps de cycle de process min. | [ms] | 3,2 |
12 Maintenance, réparation et élimination
L'appareil est sans maintenance.
S'assurer d'une élimination écologique de l'appareil après son usage selon les règlements nationaux en vigueur.
12.1 Nettoyage de la surface du boîtier
Mettre l'appareil hors tension. Enlever les salissures avec un chiffon doux, sec et non traité chimiquement. En cas de salissures tenaces, utiliser un chiffon humide.

Nous recommandons des chiffons en microfibres sans additifs chimiques.

13 Homologations/normes
Les déclarations de conformité CE, homologations, etc. sont disponibles sur www.ifm.com.
Notice Facile