OY5103 - Barrière de mesure IFM - Notice d'utilisation et mode d'emploi gratuit
Retrouvez gratuitement la notice de l'appareil OY5103 IFM au format PDF.
| Caractéristiques techniques | Non spécifiées |
|---|---|
| Utilisation | Non spécifiée |
| Maintenance et réparation | Non spécifiée |
| Sécurité | Non spécifiée |
| Informations générales | Non spécifiées |
FOIRE AUX QUESTIONS - OY5103 IFM
Questions des utilisateurs sur OY5103 IFM
0 question sur cet appareil. Repondez a celles que vous connaissez ou posez la votre.
Poser une nouvelle question sur cet appareil
Téléchargez la notice de votre Barrière de mesure au format PDF gratuitement ! Retrouvez votre notice OY5103 - IFM et reprennez votre appareil électronique en main. Sur cette page sont publiés tous les documents nécessaires à l'utilisation de votre appareil OY5103 de la marque IFM.
MODE D'EMPLOI OY5103 IFM
Notice d'utilisation
Barrière de mesure multifaisceaux (écartement de faisceaux 10 mm)
OY51
Contenu
1 Remarques préliminaires 3
1.1 Symboles utilisés 3 1.2 Avertissements utilisés 3
2 Consignes de sécurité. 4 3 Usage prévu 5 4 Introduction rapide 6 5 Fonctionnement 7
5.1 IO-Link 7
6 Montage 8
6.1 Instructions de montage 8
6.1.1 Fixation 8 6.1.2 Orientation optique 9
6.2 Systèmes multiples 9
7 Raccordement électrique 11
7.1 Schéma de branchement émetteur 11 7.2 Schéma de branchement récepteur 11 7.3 Synchronisation de l'émetteur et du récepteur 11
7.3.1 Synchronisation avec un câble en Y d'ifm (EY5053 et EY5054) 12 7.3.2 Synchronisation avec connecteurs femelles standards 12 7.3.3 Synchronisation optique 12
8 Éléments de service et de visualisation. 14
8.1 États de la LED de l'émetteur 14 8.2 États de la LED du récepteur 14
9 Fonctionnement 15
9.1 Mode commutation (mode SIO) 15 9.2 Fonctionnement avec maître IO-Link 15
9.3 Valeurs process 15
10Données techniques. 18
10.1 Barrière multifaisceaux avec écartement de faisceaux de 10 mm. 18
11 Correction des défauts 19
11.1 Diagnostic de défauts émetteur 19 11.2 Diagnostic de défauts récepteur 19
12 Maintenance, réparation et élimination 20
1 Remarques préliminaires
Notice d'utilisation, données techniques, homologations et informations supplémentaires via le code QR sur l'appareil / l'emballage ou sur www.ifm.com.
1.1 Symboles utilisés
Action à effectuer Réaction, résultat Reference LED allumée LED éteinte
LED clignote

Remarque importante
Le non-respect peut aboutir à des dysfonctionnements ou perturbations

Information
Remarque supplémentaire

Avertissement
Avertissement de dommages corporels graves.
Danger de mort ou de graves blessures irréversibles.
2 Consignes de sécurité
L'appareil décrit ici est un composant à intégrer dans un système. - L'installateur du système est responsable de la sécurité du système. - L'installateur du système est tenu d'effectuer une évaluation des risques et de rédiger, sur la base de cette dernière, une documentation conforme à toutes les exigences prescrites par la loi et par les normes et de la fournir à l'opérateur et à l'utilisateur du système. Cette documentation doit contenir toutes les informations et consignes de sécurité nécessaires à l'opérateur et à l'utilisateur et, le cas échéant, à tout personnel de service autorisé par l'installateur du système. - Lire ce document avant la mise en service du produit et le conserver pendant la durée d'utilisation du produit. - Le produit doit être approprié pour les applications et conditions environnantes concernées sans aucune restriction d'utilisation. Utiliser le produit uniquement pour les applications pour lesquelles il a été prévu ( Usage prévu). - Un non-respect des consignes ou des données techniques peut provoquer des dommages matériels et/ou corporels. - Le fabricant n'assume aucune responsabilité ni garantie pour les conséquences d'une mauvaise utilisation ou de modifications apportées au produit par l'utilisateur. - Le montage, le raccordement électrique, la mise en service, le fonctionnement et l'entretien du produit doivent être effectués par du personnel qualifié et autorisé par le responsable de l'installation. - Assurer une protection efficace des appareils et des câbles contre l'endommagement.
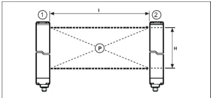
3 Usage prévu

1: Émetteur (T) 2: Récepteur (R) P: Zone de détection I: Largeur du champ de détection H: Hauteur du champ de détection

Les barrières multifaisceaux OY51 sont des dispositifs optoélectroniques multifaisceaux constitués d'un émetteur et d'un récepteur.
4 Introduction rapide
Les étapes suivantes sont nécessaires pour une mise en service rapide de l'appareil :
Monter l'émetteur et le récepteur Montage (→□8). Raccorder le récepteur à un maître IO-Link et établir une connexion avec l'appareil. ▶ Synchroniser l'émetteur et le récepteur Synchronisation de l'émetteur et du récepteur (→ 11). Paramétrer l'appareil via IO-Link
5 Fonctionnement
La zone de détection (P) est située entre l'émetteur et le récepteur et est définie par la hauteur du champ de détection (H) et la largeur du champ de détection (I).
La hauteur du champ de détection est la hauteur mesurée par la barrière multifaisceaux. Elle est dépendante du boîtier.
La largeur du champ de détection est la distance maximale entre l'émetteur et le récepteur.
Dès qu'un objet (O) entre dans la zone de détection, il interrupt les faisceaux en fonction de sa taille et sa position. Selon le nombre de faisceaux adjacents interrompus et en fonction de l'écartement connu des faisceaux (C), il est par exemple possible de tirer des conclusions sur la hauteur de l'objet.
1: Émetteur (T) 2: Récepteur (R) O: Objet C: Écartement des faisceaux B: Diamètre de lentille

Le diamètre de l'objet doit être au moins assez grand pour interrompre deux faisceaux. Des objets plus petits peuvent mener à des résultats de mesures erronés.
Applications :
| Types de détction Description | |
| Détection d'un objet en mouvement | L'objet à détector doitprésenter une forme compacte et afferter un certain nombre de faisceaux adjacents. Le barrage photoélectrique détecte l'objet précédemment sauvégardé, dans n'im-porte celle position. |
| Détection d'un objet stationnaire | L'objet à détector peutprésenter n'importéequelle forme. Le barrage photoélectrique ne détecte l'objet que s'il occupe la même position dans le champ de détction. |
5.1 Io-link
Cet appareil dispose d'une interface de communication IO-Link permettant l'accès direct aux données process et de diagnostic. De plus, le paramétrage de l'appareil est possible pendant le fonctionnement. L'utilisation de l'appareil via l'interface IO-Link nécessite un maître IO-Link.
Pour une communication hors fonctionnement, il vous suffit d'un PC, d'un logiciel de paramétrage IO-Link adapté et d'un câble adaptateur IO-Link.
Les IODD nécessaires pour la configuration de l'appareil, les informations détaillées concernant la structure des données process, les informations de diagnostic et les adresses des paramètres ainsi que toutes les informations nécessaires concernant le matériel et le logiciel IO-Link sont disponibles sur www.ifm.com.
6.1 Instructions de montage
Les conditions environnantes du lieu de montage ne doivent pas affecter la fonction des détecteurs optoélectroniques. A noter particulièrement :
L'émetteur et le récepteur ne doivent pas être affectés par des sources lumineuses intensives (lampe spot, lumière du soleil etc.). - La température ambiante doit être dans la plage indiquée (→ fiche technique). - Un brumisage des lentilles dû à de grandes variations de température peut affecter le fonctionnement des détecteurs optoelectroniques. Prendre des mesures appropriées pour éviter ce phénomène. - Certaines conditions environnantes peuvent influencer la fonction des détecteurs optoelectroniques. Pour les lieux de montage où il y a la possibilité de brouillard, pluie, fumée ou poussière, il est recommandé de prendre des mesures appropriées.
Le calcul de la portée dépend des conditions environnantes.
Facteurs de correction F_c recommandés:
ou Pu est la portée usable et P_ la portée maximale en mètres.
Les facteurs de correction F_c sont indiqués dans le tableau ci-après.
| Conditions environnantes Facteur de correction F | c |
| Brouillard 0,25 | |
| Fumée dense 0,25 | |
| Poudre 0,5 | |
| Vapeur d'eau 0,5 |
6.1.1 Fixation

Une orientation correcte de l'émetteur et du récepteur est décisive pour le bon fonctionnement des détecteurs optoélectroniques.


Monter l'émetteur et le récepteur à l'aide des accessoires de montage fournis de sorte qu'ils se trouvent exactement face à face. Orienter l'émetteur et le récepteur de sorte qu'ils se trouvent en parallèle à la même hauteur et que les connecteurs soient orientés dans la même direction.

S'il faut s'attendre à des vibrations dans l'application, il est recommandé d'utiliser des amortisseurs de vibrations www. ifm. com.

Des équerres réglables peuvent être utilisées pour une orientation optique facile www. ifm. com.
6.1.2 Orientation optique
T : Émetteur R : Récepteur
Les LED du récepteur aident à orienter correctement les détecteurs optoelectroniques.
Orienter l'émetteur de sorte que la LED verte du récepteur soit allumée. Visser l'émetteur et le récepteur.
6.2 Systèmes multiples

L'utilisation de plusieurs barrières multifaisceaux peut aboutir à des défauts de fonctionnement et éliminer la fonction de détention.
Monter les barrières multifaisceaux de sorte que le faisceau émis de l'émetteur d'un système ne puisse être détecté que par le récepteur correspondant.
Les règles de montage importantes suivantes sont à respecter pour éviter une interférence entre plusieurs systèmes :





Fig. 1 : Arrangements possibles :
1: Position des deux émetteurs côte à côte 2: Position de l'émetteur 1 et du récepteur 2 l'un au-dessus de l'autre 3: Combinaison en L T: Émetteur R: Récepteur
7 Raccordement électrique
Mettre l'installation hors tension. Le cas échéant, mettre également hors tension les circuits de charge relais alimentés séparément.

La tension nominale est de 24 V DC, elle peut fluctuer entre 19,2 V et 28,8 V.

En cas d'un unique défaut, la tension d'alimentation ne doit pas dépasser la valeur maximale de 28,8 V DC. Pour cette raison, une séparation sûre de l'alimentation en courant et du transformateur est nécessaire.

Afin de garantir une fiabilité fonctionnelle, il faut s'assurer que la capacité de la sortie est de 2000 F / A min. si une alimentation avec pont de diodes est utilisée.

Raccorder les appareils selon les tableaux suivants :
7.1 Schéma de branchement émetteur
| Disposition des broches | Broche | Nom Type Description | |
| 2 15 3 4 | 1 L+ (24 V DC) - Tension d'alimentation | ||
| 2 Range Entrée Configuration de la largeur du champ de dé-tection 24 V DC → Range 1...10m0 V DC → Range 0...2m | |||
| 3 L- (0 V DC) - Tension d'alimentation | |||
| 4 SYNC Sortie Sortie de synchronisation | |||
| 5 - | - Non utilisées | ||
Informations sur les connecteurs disponibles sur notre site web : www.ifm.com/fr
7.2 Schéma de branchement récepteur
| Disposition des broches | Broche | Nom Type Description | |
| 5 2 13 4 | 1 L+ (24 V DC) - Tension d'alimentation | ||
| 2 SY NC Entrée Entrée de synchronisation | |||
| 3 L- (0 V DC) - Tension d'alimentation | |||
| 4 Q | CEI 61131-3 | Signal de commutation (SIO) | |
| C | CEI 61131-9 | ||
| 5 - | - Non utilisées | ||
Informations sur les connecteurs disponibles sur notre site web à : www.ifm.com/fr
7.3 Synchronisation de l'émetteur et du récepteur
Pour garantir le fonctionnement fiable de la barrière de mesure multifaisceaux, l'émetteur et le récepteur doivent être synchronisés. La synchronisation entre les deux unités peut être effectuée de manière optique Synchronisation optique ( 12) ou au moyen d'un cable en Y Synchronisation avec un cable en Y d'ifm (EY5053 et EY5054) ( 12). Le réglage s'effectue via IO-Link

7.3.1 Synchronisation avec un câble en y d'ifm (EY5053 et EY5054)
La synchronisation de l'émetteur et du récepteur peut être réalisée au moyen de câbles en Y d'ifm (EY5053 ou EY5054). Ils doivent être câblés selon le schéma ci-dessous.

T : Émetteur R : Récepteur 1 : Cable en Y 2 : Raccordement
Une variante peut aussi être de raccorder directement le récepteur au maître IO-Link par un câble standard approprié. L'émetteur peut être raccordé séparément avec un connecteur M12 standard (5 pôles). Dans ce cas, seule une synchronisation optique est possible Synchronisation optique ( 12). Pour les grandes largeurs de champ de détection (portée 1...10m): EY5053 Pour les petites largeurs de champ de détection (portée 0...2m): EY5054
7.3.2 Synchronisation avec connecteurs femelles standards

T: Emetteur
R: Recepteur
Raccordement émetteur
2: Raccordement récepteur
SYNC : Synchronisation
IN: 24VDC → Range1...10m
7.3.3 Synchronisation optique
La synchronisation optique s'effectue par le faisceau supérieur.

T: Émetteur R: Récepteur 1: Raccordement émetteur 2: Raccordement récepteur IN: 24VDC Range 1...10m 0VDC Range 0...2m


En cas de synchronisation optique, il n'est pas possible d'inverser la direction des faisceaux.
8 Éléments de service et de visualisation
1: Affichage LED de l'émetteur 2: Affichage LED du récepteur
8.1 États de la LED de l'émetteur
| Signification Rouge Verte Orange | |||
| Démarrage du système | ● | ○ | ○ |
| Erreur Diagnostic de défauts émetteur (→ □ 19) | ★ | ○ | ○ |
| Pas de synchronisation par cable | ○ | ○ | ★ |
| Disponibilité | ○ | ● | ○ |
| Portée 0...2m (2x clignotement lent) | ○ | ★ | ○ |
| Portée 1...10m (2x clignotement rapide) | ○ | ★ | ○ |
8.2 États de la LED du récepteur
| Signification | LED d'etat LED IO-Link | ||||
| rouge vert jaune rouge vert | |||||
| Champ de détction interrompu | ● | ○ | ○ | ○ | ○ |
| Champ de détction libre | ● | ○ | ○ | ○ | |
| Apprentissage activé | ○ | ○ | ★ | ○ | ○ |
| Objet détecté | ○ | ○ | ● | ○ | ○ |
| Erreur Diagnostic de defaults récepteur (→ 19) | ○ | ○ | ○ | ★ | ○ |
| Connexion établie avec le maître IO-Link. | ○ | ○ | ○ | ○ | ★ |
9 Fonctionnement
En mode commutation, la sortie de commutation est commandée conformément au paramétrage.

À la livraison, le détecteur est réglé sur « 1 » en mode de détection GTBO, ce qui signifie que le détecteur commute dès qu'un ou plusieurs faisceaux de la barrière de mesure sont interrompus.
La valeur du paramètre GTBO (Greater than Beams occupied) déterminant le nombre de faisceaux interrompus à partir duquel le détecteur doit commuter peut être modifiée via IO-Link.

9.2 Fonctionnement avec maître io-link
Si le détecteur est raccordé à un maître IO-Link, le paramétrage, le déclenchement et l'enregistrement des données peuvent être entièrement réalisés via IO-Link.
Plus d'informations sur: www.ifm.com → Référence → Téléchargements → IODD
9.3 Valeurs process

Faisceau lumineux libre Faisceau lumineux interrompu
1: Nombre de faisceaux lumineux 2: Direction de la détection 3: Object

La direction de la détection est aussi le sens du comptage. Le sens du comptage peut être modifié via l'interface IO-Link.
La valeur process [FBO] indique la position/le numéro du premier faisceau interrompu.
Les illustrations ci-après servent d'exemples pour une meilleure compréhension.


Fig. 2: Example - FBO
La valeur process [LBO] indique la position/le numéro du dernier faisceau interrompu. Les illustrations ci-après servent d'exemples pour une meilleure compréhension.


Fig. 3: Exemple - LBO
La valeur process [CBO] indique la position/le numéro du faisceau central occupé. Si plusieurs zones non adjacentes sont interrompues, la valeur process [CBO] se rapporte à la zone représentant le plus grand nombre de faisceaux successifs interrompus.
Les illustrations ci-après seront des exemples pour une meilleure compréhension.



Fig. 4: Exemple - CBO
La valeur process [NBO] indique le nombre de faisceaux interrompus.
Les illustrations ci-après servent d'exemples pour une meilleure compréhension.


Fig. 5: Exemple - NBO
La valeur process [NCBO] indique le nombre de faisceaux successifs / adjacents occupés. Si plusieurs zones non adjacentes sont interrompues, la valeur process [NCBO] se rapporte à la zone représentant le plus grand nombre de faisceaux successifs occupés.
Les illustrations ci-après servent d'exemples pour une meilleure compréhension.



Il est possible de sélectionner via IO-Link une tolérance entre zéro et la valeur max. (dépendant du nombre de faisceaux).

1: Seuil d'enclement [SP1] 2: Tolérance [SSCx TOL] 3: Hors de l'étendue de mesure
10.1 Barrière multifaisceaux avec écartement de faisceaux de 10 mm
| Caracteristiques OY510 | 00 OY5103 OY51 | 06 OY5110 OY51 | 13 OY5116 | |||
| Longueur totale [mm] 21 | 3 663 1113 1713 | 2163 2613 | ||||
| Hauteur du champ de détction [mm] | 140 590 10 | 40 1640 2090 25 | 40 | |||
| Nombre de faisceaux 15 | 60 105 165 210 | 255 |
11 Correction de défauts
Les LED de l'émetteur et du récepteur indiquent les états de fonctionnement défectueux. Éléments de service et de visualisation (→ 14). Voir les tableaux suivants pour une description détaillée des défauts.
11.1 Diagnostic de défauts émetteur
| LED Cause possible Correction de défauts | |||
| rouge | Clignement rouge Erreur interne | Envoyer l'appareil à la filiale | ifm pour réparation. |
11.2 Diagnostic de défauts récepteur
| LED Cause possible Correction de défauts | |||
| rouge | Eclairage constant interrompù par une impulsion | Pas de synchronisation Co | ntr Rodrç les raccordements et l'orientation de la barrière multifaisceaux. |
| rougè | Clignotement rouge Erreur interne | Envoyer l'appareil à la filiale | ifm pour réparation. |
12 Maintenance, réparation et élimination
- Il est recommandé de nettoyer les panneaux avant de l'émetteur et du récepteur régulièrement.
- Les nettoyer avec un torchon propre humide. Dans les environnements très poussiéreux, il est recommandé de nettoyer les panneaux avant avec un produit antistatique.
- Ne pas utiliser de produits de nettoyage agressifs ou abrasifs, car ils peuvent attaquer les surfaces. Afin d'éviter des charges électrostatiques sur la face avant, ne pas utiliser de tissu en laine.

Des rayures sur les panneaux avant des détecteurs optoélectroniques peuvent dévier les faisceaux lumineux et affecter le fonctionnement.
L'appareil ne doit être réparé que par le fabricant. - S'assurer d'une élimination écologique de l'appareil après son usage selon les règlements nationaux en vigueur.
Notice Facile